Визуальные индикаторы потока РИЗУР-ВИП-7 и РИЗУР-ВИП-8
- Рабочее давление до 12 МПа (для РИЗУР-ВИП-8)
- Температура эксплуатации до +260 °C
- Разнообразие вариантов подключения: фланцевое (ВИП-7), резьбовое (ВИП-8)
- Материалы корпуса из нержавеющей и углеродистой стали
- Использование кварцевого и боросиликатного стекла
- Широкий диапазон диаметров под заказ
- Возможность установки в любом положении
- Опции: стеклоочиститель и светодиодный фонарь
Визуальные индикаторы потока (смотровые стекла) серий РИЗУР-ВИП-7 и РИЗУР-ВИП-8 имеют следующие варианты подключения к процессу: фланцевое для РИЗУР-ВИП-7 и резьбовое для РИЗУР-ВИП-8. Данные смотровые стекла отличаются также формой.
Область применения и особенности конструкции
РИЗУР-ВИП-7 и РИЗУР-ВИП-8 производства ООО "НПО РИЗУР" применяются в емкостях и резервуарах в качестве смотровых стекол и используются, как визуальные индикаторы потока в трубопроводах для контроля и наблюдения за потоком, его скоростью, прозрачностью, цветом.
РИЗУР-ВИП-7 и РИЗУР-ВИП-8 широко эксплуатируются на предприятиях химической, нефтехимической, нефтегазовой, металлургической, судостроительной, машиностроительной, фармацевтической, косметической, пищевой и других отраслях промышленности. Визуальные индикаторы потока (смотровые стекла) РИЗУР-ВИП-7 и РИЗУР-ВИП-8 обеспечивают отчетливый просмотр перетекания жидкостей в таких устройствах, как трубопроводы, лабораторные смесители, биологические реакторы, резервуары обработки, гидравлические резервуары, закрытые емкости, насосы, редукторы, компрессоры, промышленное холодильное оборудование, лабораторные смесители, биологические реакторы и др.
| РИЗУР-ВИП-7 | РИЗУР-ВИП-8 |
|
|
|
Данные варианты визуальных индикаторов потока (смотровых стекол) изготавливаются необходимого клиенту диаметра и используются для работы с давлением до 12 МПа (РИЗУР-ВИП-8). Максимальная температура процесса составляет + 260 °C.
РИЗУР-ВИП-7 и РИЗУР-ВИП-8 состоят из смотрового окна и корпуса, изготовленного из следующих материалов:
-
нержавеющей стали 08Х17Н13М2 (аналог AISI 316),
-
нержавеющей стали 08Х18Н10 (аналог AISI 304),
-
углеродистая сталь.
По индивидуальным требованиям заказчика возможна поставка визуальных индикаторов потока РИЗУР-ВИП-7 с ответными фланцами.
Технические характеристики
| Корпус | Нержавеющей стали 03Х16Н15М3 (аналог AISI 316L) Нержавеющей стали 08Х18Н10 (аналог AISI 304) Углеродистая сталь |
| Смотровое окно | Кварцевое стекло Боросиликатное стекло |
| Уплотнение | PTFE NBR (бутадиен-нитрильный каучук) Витон Графит |
| Диаметр условного прохода | 1/4” 1/2" 3/4" 1" 1 1/4" 1 1/2" 2" |
| Присоединение к процессу | Фланцевое, резьбовое |
| Температура процесса | -30 °С + 260 °С |
| Давление | 0,3 МПа 0,6 Мпа 1 Мпа |
| Положение при монтаже | любое |
| Опции | стеклоочиститель светодиодный фонарь |
| Гарантийный срок эксплуатации | 12 месяцев |
| Средний срок эксплуатации | Не менее 25 лет |
Габаритные размеры РИЗУР-ВИП-8 (приварное исполнение)
| SW, мм | A | B | H | C | d | |
| 42 | DN25 | 19 | 36 | 17 | 25 | ![]() |
| 51 | DN32 | 20 | 38 | 18 | 35 | |
| 58 | DN40 | 21 | 40 | 19 | 60 | |
| 68 | DN50 | 24 | 46 | 22 | 50 | |
| 88 | DN65 | 36 | 66 | 30 | 65 | |
| 104 | DN80 | 38 | 70 | 32 | 80 | |
| 124 | DN100 | 40 | 72 | 32 | 100 |
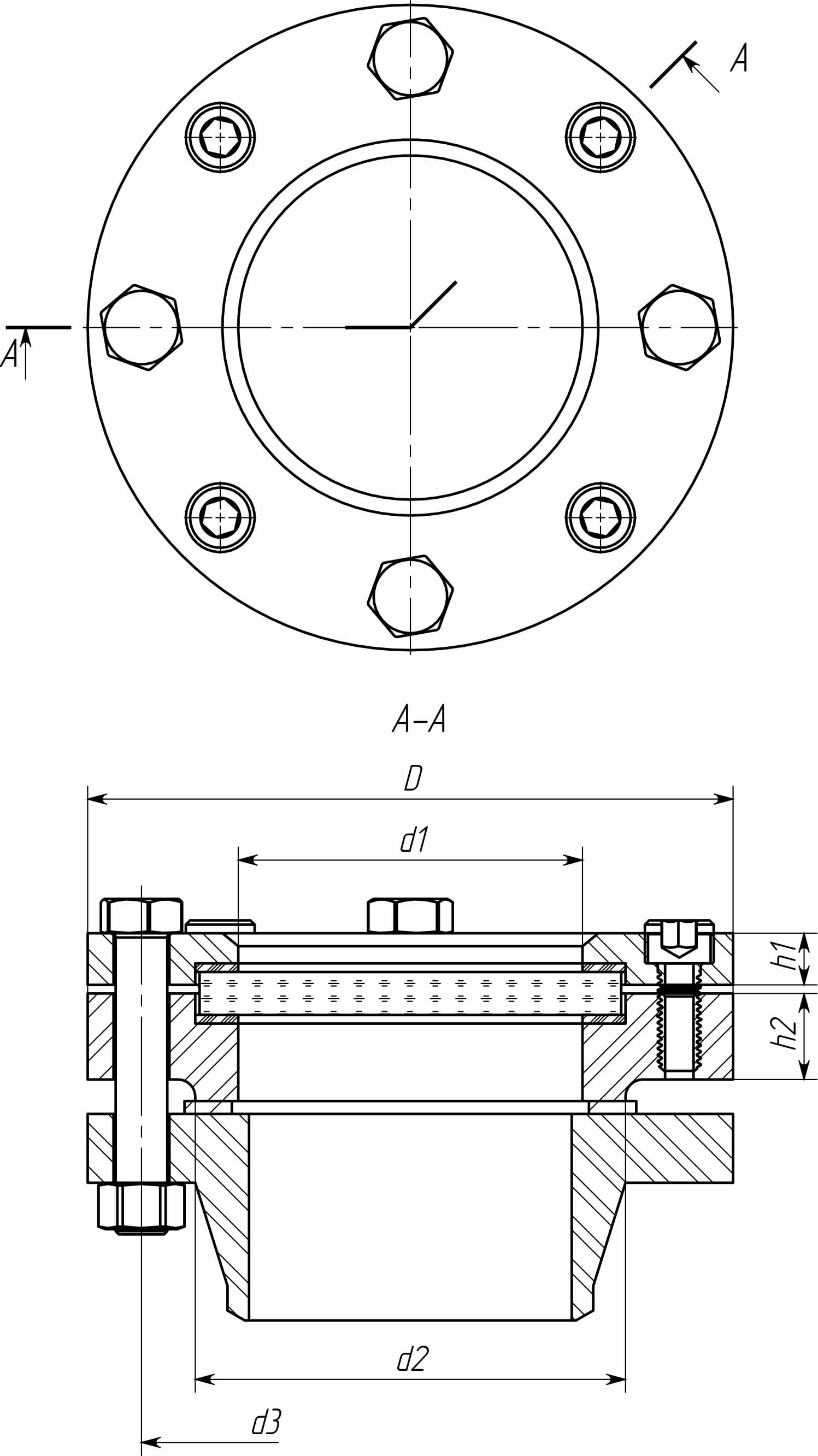
Габаритные размеры РИЗУР-ВИП-7 (смотровое стекло)
| D | d1 | d3 | d4 | S | h1 | h2 | Номи- нальный диаметр болтов или шпилек, кол-во (шт) |
|
| 130 | 50 | 65 | 100 | 12 | 16 | 26 | M12x4 | ![]() |
| 160 | 80 | 95 | 130 | 15 | 20 | 28 | M14x8 | |
| 190 | 100 | 115 | 160 | 20 | 22 | 30 | M16x8 | |
| 215 | 125 | 140 | 185 | 22 | 24 | 32 | M16x8 | |
| 240 | 150 | 165 | 205 | 24 | 24 | 34 | M16x8 | |
| 290 | 200 | 215 | 265 | 25 | 28 | 36 | M16x8 |
Габаритные размеры ВИП-7 (фланцевое исполнение)
| DN | h, мм | D, мм | d1, мм | d2, мм | d3, мм | Номи- нальный диаметр болтов, кол-во (шт) |
||
| 50 | h1 | 14 | 130 | 50 | 65 | 100 | М12х8 | ![]() |
| h2 | 21 | |||||||
| 80 | h1 | 16 | 165 | 80 | 108 | 135 | М12х8 | |
| h2 | 24 | |||||||
| 100 | h1 | 18 | 190 | 100 | 128 | 160 | М14х8 | |
| h2 | 25 | |||||||
| 125 | h1 | 18 | 215 | 125 | 156 | 185 | М14х8 | |
| h2 | 26 | |||||||
| 150 | h1 | 20 | 240 | 150 | 175 | 205 | М16х8 | |
| h2 | 28 | |||||||
| 200 | h1 | 24 | 290 | 200 | 215 | 255 | М16х8 | |
| h2 | 30 | |||||||
Размеры смотровых круглых боросиликатных стекол
| Размеры (диаметр х толщина), в мм | Размер, видимый в оправе, в мм | Максимально допустимое давление, МПа | Наличие | Размеры (диаметр х толщина), в мм | Размер, видимый в оправе, в мм | Максимально допустимое давление, МПа | Наличие |
| 40 x 10 | 30 | 4 | 100 x 25 * | 80 | 4 | в наличии | |
| 40 x 12 | 30 | 5 | 105 x 15 | 85 | 1,6 | ||
| 44 x 10 | 31 | 4 | 110 x 20 | 85 | 2,5 | ||
| 44 x 12 | 31 | 5 | 113 x 15 | 88 | 1 | ||
| 45 x 10 * | 32 | 4 | в наличии | 115 x 15 | 90 | 1 | |
| 45 x 12 * | 32 | 5 | 120 x 10 | 95 | 0,4 | ||
| 50 x 10 * | 35 | 2,5 | 120 x 15 | 95 | 1 | ||
| 50 x 12 * | 35 | 4 | 120 x 18 | 95 | 1,6 | ||
| 55 x 6,5 | 40 | 0,6 | 125 x 15 * | 100 | 1 | в наличии | |
| 55 x 10 | 40 | 2,5 | 125 x 20 * | 100 | 1,6 | ||
| 60 x 10 * | 45 | 1,6 | 125 x 25 * | 100 | 2,5 | ||
| 60 x 12 * | 45 | 2,5 | 125 x 30 | 100 | 4 | в наличии | |
| 60 x 15 * | 45 | 4 | 130 x 15 | 105 | 1 | ||
| 60 x 20 | 45 | 9,5 | 135 x 15 | 110 | 0,8 | ||
| 63 x 10 * | 48 | 1,6 | 135 x 25 * | 110 | 2,5 | ||
| 63 x 12 * | 48 | 2,5 | в наличии | 140 x 15 | 115 | 0,8 | |
| 63 x 15 * | 48 | 4 | 150 x 10 | 125 | 0,2 | ||
| 65 x 10 | 50 | 1,2 | 150 x 15 | 125 | 0,8 | ||
| 65 x 15 | 0 | 4 | в наличии | 150 x 20 * | 125 | 1 | в наличии |
| 70 x 12 | 55 | 1,6 | 150 x 25 * | 125 | 1,6 | ||
| 70 x 15 | 55 | 2,5 | 150 x 30 * | 125 | 2,5 | в наличии | |
| 75 x 12 | 60 | 1,6 | 160 x 20 | 135 | 1,2 | ||
| 80 x 10 | 65 | 1 | 170 x 15 | 145 | 0,5 | ||
| 80 x 12 * | 65 | 1,6 | в наличии | 170 x 20 | 145 | 1 | |
| 80 x 15 * | 65 | 2,5 | 175 x 20 | 150 | 1 | ||
| 80 x 20 * | 65 | 4 | в наличии | 175 x 25 * | 150 | 1,6 | в наличии |
| 86 x 12 | 68 | 1 | 175 x 30 * | 150 | 2,5 | в наличии | |
| 90 x 10 | 70 | 0,8 | 200 x 20 * | 175 | 0,8 | ||
| 92 x 10 | 72 | 0,8 | 200 x 25 * | 175 | 1 | ||
| 94 x 12 | 74 | 1 | 200 x 30 * | 175 | 1,6 | в наличии | |
| 95 x 10 | 75 | 0,6 | 210 x 25 | 185 | 1 | ||
| 95 x 15 | 74 | 1,6 | 250 x 20 | 225 | 0,4 | ||
| 100 x 10 | 80 | 0,7 | 250 x 25 * | 225 | 0,8 | ||
| 100 x 12 | 80 | 1 | 250 x 30 * | 225 | 1 | ||
| 100 x 15 * | 80 | 1,6 | в наличии | 265 x 30 | 240 | 0,8 | |
| 100 x 20 * | 80 | 2,5 |
Чертежи
| РИЗУР-ВИП-7 |
|
|
| РИЗУР-ВИП-8 исполнение под приварку |
|
|
| РИЗУР-ВИП-8 исполнение резьбовое |
|
|







