Колонки топливораздаточные V-line 899x.xxx
| Номер в ГРСИ РФ: | 14074-08 |
|---|---|
| Категория: | Колонки топливораздаточные |
| Производитель / заявитель: | Фирма "Adast Systems, a.s.", Чехия |
|
14074-08: Описание типа
2014-14074-08.pdf
|
Скачать | 274.5 КБ |
Для измерения объема топлива (бензин, керосин, дизельное топливо) с вязкостью 0,55...40 мм2/с (сСт) при выдаче его в топливные баки транспортных средств с учетом требований учетно-расчетных операций.
Информация по Госреестру
| Основные данные | |
|---|---|
| Номер по Госреестру | 14074-08 |
| Действует | по 24.01.2019 |
| Наименование | Колонки топливораздаточные |
| Модель | V-line 899x.xxx |
| Характер производства | Серийное |
| Идентификатор записи ФИФ ОЕИ | 301c5934-8f22-8614-7a32-802ff96df4c6 |
| Год регистрации | 2008 |
| Общие данные | |
|---|---|
| Технические условия на выпуск | тех.документация фирмы |
| Класс СИ | 29.02 |
| Год регистрации | 2008 |
| Страна-производитель | Чехия |
| Примечание | 24.01.2014 продлен срок свидетельстваВзамен № 14074-06 |
| Центр сертификации СИ | |
| Наименование центра | ГЦИ СИ Ростест-Москва |
| Адрес центра | 117418, г.Москва, Нахимовский пр-т, 31 |
| Руководитель центра | Бас Виталий Николаевич |
| Телефон | (8*095) 332-67-77 |
| Факс | 124-99-96 |
| Информация о сертификате | |
| Срок действия сертификата | 24.01.2019 |
| Номер сертификата | 34522 |
| Тип сертификата (C - серия/E - партия) | С |
| Дата протокола | Приказ 42 п. 09 от 24.01.201414д2 от 25.12.08 п.363 |
Производитель / Заявитель
Фирма "Adast Systems, a.s.", ЧЕШСКАЯ РЕСПУБЛИКА
Чехия
Mirova 2, 67904 Adamov, Ceske republika
Поверка
| Методика поверки / информация о поверке | МИ 1864-88 |
| Межповерочный интервал / Периодичность поверки |
1 год
|
| Зарегистрировано поверок | |
| Найдено поверителей | |
| Успешных поверок (СИ пригодно) | 288 (99%) |
| Неуспешных поверок (СИ непригодно) | 4 (1 %) |
| Актуальность информации | 21.12.2025 |
Поверители
Скачать
|
14074-08: Описание типа
2014-14074-08.pdf
|
Скачать | 274.5 КБ |
Описание типа
Назначение
Колонки топливораздаточные V-line 899х.ххх (далее - колонка) предназначены для измерения объема топлива (бензин, керосин, дизельное топливо) с вязкостью от 0,55 до 40 мм2/с (сСт) при выдаче его в топливные баки транспортных средств с учетом требований учетно-расчетных операций.
Описание
Принцип действия колонок состоит в следующем: топливо из резервуара через приемный клапан, фильтр предварительной очистки и моноблок подается в измеритель объема (счетчик) топлива из которого через раздаточный шланг с пистолетом поступает в бак транспортного средства.
В колонках реализован прямой метод измерения объема топлива, проходящего через колонку, измерителем объема топлива.
При протекании топлива через измеритель объема возникает разность давлений на его входе и выходе, под действием которого поршень совершает возвратно-поступательное движение, топливо при этом вытесняется из измерительной камеры.
Поступательное движение поршней вместе с кулисами преобразуется во вращательное движение коленчатого вала, которое через соединительную муфту передается на вал датчика импульсов.
Вращательное движение вала датчика преобразуется в последовательность электрических импульсов, поступающих в электронный блок колонки, на цифровом табло которого индицируется количество отпущенного топлива, его цена и стоимость.
Задание дозы топлива и включение колонок производит оператор на пульте, находящемся непосредственно на колонке или с пульта дистанционного управления c протоколом EASYCALL или через интерфейс IFSF.
Установка показаний на цифровом табло разового учета выданного объема топлива в положение нуля производится автоматически при снятии раздаточного пистолета с колонки.
Основными элементами колонки являются:
- измеритель объема поршневого типа: М403.25Р, М403.32Р, М403.25ЕР, М403.32ЕР (со встроенным датчиком импульсов МЕ-01-05 фирмы «Eltomatic A/S, Дания) или М403.25Р/1, М403.32Р/1, М403.25ЕР/1, М403.32ЕР/1 (со встроенным датчиком импульсов МТХ 075 фирмы «Metra a.s.», Чешская Республика), производства фирмы «Adast Systems a.s.», Чешская Республика, счетчики имеют электронную (ЕР) или механическую (Р) калибровку, счетчики с обозначением В имеют специальное покрытие;
- электронно-вычислительное устройство серии ADP производства фирмы «Beta Control a.s.r.», Чешская Республика, или серии PUMA производства фирмы «Gilbarco S.p.a», Италия (LOGITRON S.r.l.», или TAZ 2000 LCD производства фирмы «Quitec s.r.o.», Чешская Республика, или TTS производства фирмы «UNIDATAZ s.r.o.», Чешская Республика;
- фильтр тонкой очистки 30 мкм для бензина и дизельного топлива (10, 20 и 60 мкм по заказу только для дизеля);
- насосный моноблок Р64Х.50 или 64Х.100;
- сепаратор динамического типа;
- раздаточный пистолет со шлангом длиной не менее 3,5 м
Колонки выпускаются односторонние и двухсторонние и имеют от одного до двух раздаточных шлангов с каждой стороны.
Колонки могут иметь встроенный насос или поставляться без него. В этом случае в резервуар устанавливается погружной насос (модификация. При использовании колонок без насоса давление топлива на входе колонки должно быть не более 0,12Мпа.
Колонки могут быть оснащены устройством отсасывания паров фирмы «Rietschle-Thomas GmbH», Германия, или «Durr Technik GmbH», Германия, с вентилями фирм «DANFOSS», Дания, или «BURKERT», Германия, или « ASCO», Нидерланды, и двигателями фирмы «Elnor», Италия, «Real», Италия, или «Siemens GmbH», Германия.
Колонки безопасны для окружающей среды.
Колонки при заказе имеют следующее обозначение:
V-line 899х.ххх/х,
где V-line 899 - тип колонки;
первый х - модификация;
второй х - вид присоединения шланга;
третий х- тип поршневого счетчика;
четвертый х - дизайн;
пятый х - тип насоса ( всасывающий (S) или напорный (Р).
Общий вид модификаций колонок представлен на рисунке 1.

Рисунок 1 - Примеры общего вида модификаций колонок
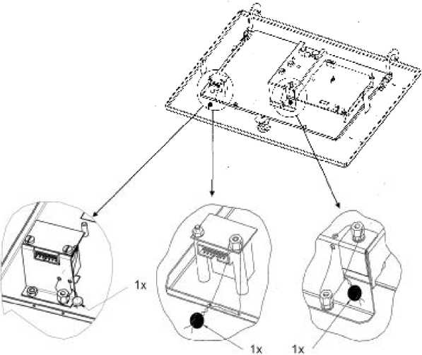
В колонках предусмотрено опломбирование измерителя объема поршневого, защитной крышки электронно-вычислительного устройства и счетчика суммарного учета.
Схемы пломбирования измерителей объема с датчиком импульсов, защитной крышки электронно-вычислительного устройства и счетчика суммарного учета представлены на рисунках 2, 3 и 4 соответственно.
М403.25Р, М403.32Р М403.25Р/1, М403.32Р/1
М403.25ЕР, М403.32ЕР
М403.25ЕР/1, М403.32ЕР/1
Рисунок 2 - Схемы пломбирования поршневых счетчиков
ADP1/T, ADP2/T
ADPMPDx/T
ADP1/L
Рисунок 3 - Схема пломбирования защитной крышки электронно-вычислительного устройства
Рисунок 4 - Схема пломбирования счетчика суммарного учета
Программное обеспечение
Программное обеспечение (ПО) ТРК является встроенным, имеет функции управления насосами, определения объёма выданного топлива, вывода информации об объёме выданного топлива и его стоимости на дисплей и интерфейсы связи, сохранения во внутренней памяти количество выданных доз, количества смен цены топлива, количества и характера отказов, и реализовано в микропроцессоре, размещенном в электронно-вычислительным устройстве колонки, Доступ к микропроцессору и его интерфейсу для загрузки ПО ограничивается корпусом электронно-вычислительного устройства и защитной крышкой, которая пломбируется.
Доступ к изменению параметров работы ПО, влияющих на метрологические характеристики колонки защищен паролем администратора и паролем юстировки.
ПО не может быть модифицировано, считано или загружено через какой-либо другой интерфейс после опломбирования.
Идентификационные данные ПО приведены в таблице 1.
Таблица 1
|
Наименование ПО |
Идентификационное наименование ПО |
Номер версии (идентификационный номер) ПО |
Цифровой идентификатор ПО (контрольная сумма исполняемого кода) |
Алгоритм вычисления цифрового идентификатора ПО |
|
ADP |
ADP1/L |
ADP1/L |
*- |
*- |
|
ADP1/T, ADP2/T |
ADP1/T, ADP2/T |
*- |
*- | |
|
ADP1/T-SMX |
ADP1/T-SMX |
*- |
*- | |
|
ADP2/T-SMX |
ADP2/T-SMX |
*- |
*- | |
|
* - Данные недоступны, так как данное ПО не может быть модифицировано, загружено или прочитано через какой-либо интерфейс после опломбирования | ||||
Защита ПО от непреднамеренных и преднамеренных изменений соответствует уровню «C» по МИ 3286-2010.
Технические характеристики
|
Номинальный расход, ±10 %, л/мин |
40; |
60; |
70; 80; 110; 120; 130; 150; 170 |
|
Наименьший расход, ±10 %, л/мин |
4; |
4; |
5; 5; 10; 10; 10; 10; 15. |
|
Минимальная доза, л |
2; |
2; |
5; 5; 10; 10; 10; 10; 10. |
|
Пределы допускаемой основной относительной | |||
|
погрешности при температуре (20±5) °С, % |
±0,25. | ||
|
Пределы допускаемой основной относительной | |||
|
погрешности при температуре отличной от | |||
|
(20±5) °С, в пределах температур окружающей | |||
|
среды и топлива от минус 40 до плюс 50 °С, %, не | |||
|
более |
±0,5. | ||
|
Сходимость показаний, % |
|0,25|. | ||
|
Емкость счетчика разового учета: | |||
|
- выданного количества топлива, л |
999 999; | ||
|
- цены за 1 л, руб. |
9999; | ||
|
- стоимости за выданную дозу, руб. |
999 999. | ||
|
Емкость несбрасываемого счетчика суммарного | |||
|
учета, л: | |||
|
- электронного |
99 999 999 999; | ||
|
- электромеханического |
9 999 999. | ||
|
Дискретность отсчета счетчика разового учета: | |||
|
- выданного количества топлива, л |
0,01; | ||
|
- цены за 1 л, руб. |
0,01; | ||
|
- стоимости за выданную дозу, руб. |
0,01. | ||
|
Дискретность отсчета счетчика суммарного | |||
|
учета, л, не менее: | |||
|
- электронного |
1; | ||
|
- электромеханического |
1. | ||
|
Электропитание колонки от сети переменного тока: | |||
|
- напряжением, В |
/"\+10% , о ог\+10% 220-15%; 380-15% . | ||
|
- частотой, Гц |
50±1. | ||
|
Мощность привода насоса на один шланг, В-А, не | |||
|
более |
0,55; |
0,75; 1,1. | |
|
Габаритные размеры*, мм, не более |
1180 х 610 х 2300. | ||
|
Масса*, кг, не более |
240. | ||
|
Средний срок службы, лет |
7. |
*- в зависимости от модификации
Колонки предназначены для эксплуатации при температуре окружающего воздуха от минус 40 оС до плюс 50 оС и относительной влажности от 30 % до 100 % и температуре топлива от плюс 35 оС до минус 40 оС для бензина и от плюс 50 оС до минус 40 оС (или до температуры помутнения или кристаллизации) для дизельного топлива и керосина.
Знак утверждения типа
наносится на маркировочную табличку колонки фотографическим способом и на титульные листы эксплуатационной документации типографским способом.
Комплектность
1 Колонка (модификация по заказу) - 1 шт.
2 Запчасти - по заказу
3 Руководство по эксплуатации - 1 экз.
Поверка
осуществляется в соответствии с МИ 1864-88 «Рекомендации. ГСИ. Колонки
топливораздаточные. Методика поверки».
Основное поверочное оборудование:
- при первичной поверке мерники 2 разряда вместимостью 2, 5, 10, 20, 50, 100 или 150 л и основной погрешностью не более ±0,08 % по ГОСТ 8.400-80;
- при периодической поверке мерники 2 разряда вместимостью 10, 20, 50, 100 или 150 л
с основной погрешностью не более ±0,1 % по ГОСТ 8.400-80.
Сведения о методах измерений
изложены в Руководстве по эксплуатации на колонки V-line 899х.ххх.
Нормативные документы
1 ГОСТ 9018-89 «Колонки топливораздаточные. Общие технические условия».
2 ГОСТ 8.510-2002 «ГСИ. Государственная поверочная схема для средств измерений объема и массы жидкости».
3 МИ 1864-88 «Рекомендации. ГСИ. Колонки топливораздаточные. Методика поверки».
4 Техническая документация фирмы «Adast Systems a.s.», Чешская Республика.
Рекомендации к применению
- при осуществлении торговли и товарообменных операций.
Другие Колонки топливораздаточные




