Комплексы для измерения количества газа СГ-ЭК
| Номер в ГРСИ РФ: | 16190-11 |
|---|---|
| Производитель / заявитель: | ООО "РАСКО Газэлектроника", г. Арзамас |
Для измерения объема (расхода) природного газа по ГОСТ 5542, посредством автоматической электронной коррекции показаний турбинных счетчиков типа СГ, TRZ (модификация СГ-ЭК-Т) или ротационного счетчика типа RVG (модификация СГ-ЭК-Р) по температуре, давлению и коэффициенту сжимаемости измеряемойсреды, с учетом вводимых вручную значений относительной плотности газа, содержания в газе азота и углекислого газа. СГ-ЭК имеет взрывозащищенное исполнение СГ-ЭКВз, область применения: коммерческий учет рабочего и приведенного к стандартным условиям объема газа, а также для измерения объема и расхода других неагрессивных, сухих и очищенных газов (воздух, азот, аргон и т.п.) в напорных трубопроводах газораспределительных пунктов и станций (ГРП, ГРС), теплоэнергетических установок и других технологических объектов.
Информация по Госреестру
| Основные данные | |
|---|---|
| Номер по Госреестру | 16190-11 |
| Действует | по 25.04.2016 |
| Наименование | Комплексы для измерения количества газа |
| Модель | СГ-ЭК |
| Характер производства | Серийное |
| Идентификатор записи ФИФ ОЕИ | 2533b14e-3005-5a56-1239-a08c66ad2e85 |
| Год регистрации | 2011 |
| Общие данные | |
|---|---|
| Класс СИ | 29.01.01.01 |
| Год регистрации | 2011 |
| Страна-производитель | Россия |
| Примечание | Взамен № 16190-09 |
| Центр сертификации СИ | |
| Наименование центра | ГЦИ СИ Нижегородского ЦСМ |
| Адрес центра | 603950, г.Нижний Новгород, ул.Республиканская, 1 |
| Руководитель центра | Свешников Александр Григорьевич |
| Телефон | (8*831*2) 18-57-27 |
| Факс | 18-57-48 |
| Информация о сертификате | |
| Срок действия сертификата | 25.04.2016 |
| Номер сертификата | 42564 |
| Тип сертификата (C - серия/E - партия) | С |
| Дата протокола | Приказ 1981 от 25.04.11 п.17 |
Производитель / Заявитель
ООО "Эльстер Газэлектроника", РОССИЯ, г.Арзамас
Россия
607220, Нижегородская обл., ул.50 лет ВЛКСМ, д.8, тел.(83147) 309-19, 338-26, факс 992-27, 354-41, www.gaselectro.ru, E-mail: info@gaselectro.nnov.ru
Поверка
| Методика поверки / информация о поверке | ЛГТИ.407321.001РЭ, Приложение 14 |
| Межповерочный интервал / Периодичность поверки |
5 лет
|
| Зарегистрировано поверок |
10633
|
| Найдено поверителей | |
| Успешных поверок (СИ пригодно) | 10457 (98%) |
| Неуспешных поверок (СИ непригодно) | 176 (2 %) |
| Актуальность информации | 04.01.2026 |
Поверители
Скачать
|
16190-11: Описание типа
2011-16190-11.pdf
|
Скачать | 133 КБ | |
| Свидетельство об утверждении типа СИ | Открыть | ... |
Описание типа
Назначение
Комплекс для измерения количества газа СГ-ЭК (далее по тексту - комплекс СГ-ЭК) предназначен для измерения объема природного газа по ГОСТ 5542-87 в единицах приведенного к стандартным условиям объема (количества) посредством автоматической электронной коррекции показаний турбинного счетчика газа типа TRZ, СГ или ротационного счетчика газа RVG по температуре, давлению и коэффициенту сжимаемости измеряемой среды, с учетом вводимых значений относительной плотности газа, содержания в газе азота, водорода и углекислого газа, удельной теплоты сгорания газа в соответствии с ГОСТ 30319-96.
Описание
Принцип действия комплекса СГ-ЭК основан на одновременном измерении трех параметров потока газа (объема газа, давления и температуры) при рабочих условиях и вычисления с помощью корректора, по полученной информации, приведенного к стандартным условиям (Р с = 0,101325 МПа, Т с = 200С) объема Vc прошедшего газа с учетом коэффициента его сжимаемости.
Комплекс СГ-ЭК состоит из счетчика газа, корректора объема газа и коммутационных элементов.
В зависимости от типа счетчика газа комплекс имеет следующие модификации:
- СГ-ЭК-Т на базе турбинного счетчика TRZ; СГ;
- СГ-ЭК-Р на базе ротационного счетчика RVG.
Комплекс СГ-ЭК имеет два исполнения по типу применяемого корректора: с корректором ЕК260 и с корректором ЕК270.
В турбинных счетчиках газа СГ, TRZ при воздействии потока газа на турбину последняя вращается со скоростью, пропорциональной скорости (объемному расходу) газа. Вращение турбины с помощью механического редуктора передается на счетную головку, показывающую (по нарастающей) суммарный объем газа при рабочих условиях, прошедший через счетчик.
Ротационный счетчик RVG работает по принципу вытеснения строго определенного объема газа вращающимися роторами. Вращательное движение роторов через редуктор и магнитную муфту передается на счетный механизм, показывающий суммарный объем газа при рабочих условиях, прошедший через счетчик.
В счетчиках СГ, TRZ, RVG c помощью магнита, установленного на последнем цифровом ролике счетного механизма и расположенного рядом геркона, формируется импульсный сигнал в корректор объема газа.
В составе корректора преобразователь температуры, установленный в потоке газа, вырабатывает сигнал, пропорциональный текущему значению температуры газа, а преобразователь давления - сигнал, пропорциональный абсолютному (избыточному) давлению газа.
Корректор объема газа ЕК260 или ЕК270 пересчитывает рабочий объем газа в стандартный объем путем вычисления коэффициента сжимаемости по ГОСТ 30319.2-96 в соответствии с составом газа. В корректоре ЕК270 имеются дополнительные функции контроля температуры окружающей среды и перепада давления на счетчике и их архивации, а также высокочастотный вход для подключения дополнительного датчика импульсов различных типов.
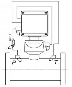
Фотографии общего вида комплекса СГ-ЭК представлены на рис. 1.
Комплекс СГ-ЭК-Р
на базе счетчика RVG
Комплекс СГ-ЭК-Т на базе счетчика TRZ
Рисунок 1
Комплекс СГ-ЭК-Т на базе счетчика СГ
Схема пломбировки комплекса СГ-ЭК
В комплексе СГ-ЭК в различных исполнениях пломбируются место присоединения преобразователя температуры, преобразователя давления, 2-х ходовой кран и место присоединения преобразователя импульсов.

Программное обеспечение
Программное обеспечение комплексов является встроенным в базу корректоров ЕК260, ЕК270.
Идентификационные данные ПО корректоров приведены в таблице 1
Таблица 1
|
Наименование прграмм-ного обеспечения |
Идентификационное наименование программного обеспечения |
Номер версии (идентификационный номер) программного обеспечения |
Цифровой идентификатор программного обеспечения (контрольная сумма исполняемого кода) |
Алгоритм вычисления цифрового идентификатора программного обеспечения |
|
ЕК260 ЕК270 |
Встроенное |
Версия 3.11 Версия 1.46 |
CRC16: 46536 CRC16: 11536 |
Алгоритм вычисления контрольной суммы - CRC16 для сегмента «Code» |
Уровень защиты программного обеспечения от непреднамеренных и преднамеренных изменений - «А», в соответствии с МИ 3286-2010.
Технические характеристики
Основные метрологические и технические характеристики комплекса приведены в таблице 2
Таблица 2
|
Наименование параметра |
ЕК260 |
ЕК270 |
|
Диапазон рабочих расходов комплекса, м3/ч на базе счетчика TRZ |
5 - 25000 | |
|
на базе счетчика СГ |
10 - |
4000 |
|
на базе счетчика RVG |
0,6 — |
650 |
|
Диапазон измерения рабочих давлений, МПа |
0,08 — |
10,0 |
|
Диапазон измерения температуры рабочей среды, °С |
минус 23 - плюс 60 |
минус 30 - плюс 60 |
|
Пределы относительной погрешности измерения объема газа, приведенного к стандартным условиям, с учетом погрешности измерения давления, температуры и вычисления коэффициента сжимаемости, %: для комплекса СГ-ЭК-Т: на базе счетчика TRZ-(G100-G16000) - диапазон расходов от 0,^макс до Qмакс; |
± 1,2 | |
|
- диапазон расходов от Qmuh до 0,^макс; |
± 2,2 | |
|
на базе счетчика TRZ-G65: - диапазон расходов от 0,2 Qмaкс до Qмакс; |
± 1,2 | |
|
- диапазон расходов от Qmuh до 0^макс; |
± 2,2 | |
|
на базе счетчика СГ: - диапазон расходов от 0^макс до Qмакс; |
± 1,2 | |
|
- диапазон расходов от Qmuh до 0^макс; |
± 2,2 | |
|
для комплекса СГ-ЭК-Р: на базе счетчика RVG основное исполнение - диапазон расходов от 0,1 Qмaкс. до Qмакс; |
± 1,2 | |
|
- диапазон расходов от Qmuh до 0,1 Qмaкс. |
± 2,2 | |
|
дополнительное исполнение «У» - диапазон расходов от 0,05Qмaкс до Qмакс; |
± 1,2 | |
|
- диапазон расходов от Qmuh до 0,05Qмaкс. |
± 2,2 | |
|
Температура окружающей среды, °С |
минус 30 - плюс 60 |
минус 40 - плюс 60 |
|
Средняя наработка на отказ, ч |
60000 | |
|
Средний срок службы, лет, не менее |
12 | |
|
Комплекс имеет маркировку взрывозащиты |
1 ExibIIBT4 | |
Знак утверждения типа
наносится на шильдик комплекса методом фотопечати и на титульных листах эксплуатационной документации - типографским способом.
КомплектностьКомплектность
Таблица 3
|
Наименование |
Обозначение |
Кол. |
|
Комплекс СГ-ЭК |
1 | |
|
Руководство по эксплуатации |
ЛГТИ.407321.001 РЭ |
1 |
|
Паспорт |
ЛГТИ.407321.001 ПС |
1 |
|
Комплект монтажных частей (КМЧ) |
По специальному заказу |
1 |
Поверка
осуществляется в соответствии с методикой поверки «Комплексы для измерения количества газа СГ-ЭК. Методика поверки», являющейся приложением 14 к руководству по эксплуатации ЛГТИ.407321.001 РЭ, согласованной руководителем ГЦИ СИ Нижегородского ЦСМ в феврале 2011 г.
Основные средства поверки:
Установка проверки на герметичность. Предел измерения до 10 МПа, класс точности 2.5.
Сведения о методах измерений
Методика выполнения измерений комплекса производится по ПР 50.2.019-2006 ГСОЕИ «Методика выполнения измерений при помощи турбинных, ротационных и вихревых счетчиков».
Нормативные документы
1 ГОСТ 30319.2-96 «Газ природный. Методы расчета физических свойств».
2 ГОСТ Р 52931-2008 «Приборы контроля и регулирования технологических процессов. Общие технические требования».
3 ГОСТ Р 8.618-2006 «Государственная поверочная схема для средств измерений объемного и массового расхода газа».
4 Технические условия ТУ 4213-021-48318941-99 (ЛГТИ.407321.001 ТУ).
Рекомендации к применению
выполнение государственных учетных операций.
Смотрите также