Колонки топливораздаточные Нара 5000
| Номер в ГРСИ РФ: | 18216-11 |
|---|---|
| Категория: | Колонки топливораздаточные |
| Производитель / заявитель: | ЗАО "Нара", г.Серпухов |
Для измерения объема топлива (бензин, керосин, дизельное топливо) с вязкостью 0,55...40 мм2/с (сСт) при выдаче его в топливные баки транспортных средств с учетом требований учетно-расчетных операций.
Информация по Госреестру
| Основные данные | |
|---|---|
| Номер по Госреестру | 18216-11 |
| Действует | по 14.02.2016 |
| Наименование | Колонки топливораздаточные |
| Модель | Нара 5000 |
| Характер производства | Серийное |
| Идентификатор записи ФИФ ОЕИ | 8bd6f3ea-2020-cc02-e426-9f58a28a2edf |
| Год регистрации | 2011 |
| Общие данные | |
|---|---|
| Технические условия на выпуск | ГОСТ 9018-89 |
| Класс СИ | 29.02 |
| Год регистрации | 2011 |
| Страна-производитель | Россия |
| Примечание | Взамен № 18216-04 |
| Центр сертификации СИ | |
| Наименование центра | ГЦИ СИ ООО КИП "МЦЭ" (до 2010 г. "Тест-ПЭ") |
| Адрес центра | 123424, г.Москва, Волоколамское шоссе, д.88, стр.8 |
| Телефон | () |
| Информация о сертификате | |
| Срок действия сертификата | 14.02.2016 |
| Номер сертификата | 42127 |
| Тип сертификата (C - серия/E - партия) | С |
| Дата протокола | Приказ 618 от 14.02.11 п.12 |
Производитель / Заявитель
ЗАО "Нара", РОССИЯ, г.Серпухов
Россия
142207, Московская обл., ул.Полевая, 1. Тел./факс (4967) 75-48-92, E-mail: azt@trknara.ru
Поверка
| Методика поверки / информация о поверке | МИ 1864-88 |
| Межповерочный интервал / Периодичность поверки |
1 год
|
| Зарегистрировано поверок |
3398
|
| Найдено поверителей | |
| Успешных поверок (СИ пригодно) | 3382 (100%) |
| Неуспешных поверок (СИ непригодно) | 16 (0 %) |
| Актуальность информации | 29.03.2026 |
Поверители
Скачать
|
18216-11: Описание типа
2011-18216-11.pdf
|
Скачать | 281 КБ | |
| Свидетельство об утверждении типа СИ | Открыть | ... |
Описание типа
Назначение
Колонки топливораздаточные Нара 5000 (далее - колонка) с электроприводом и дистанционным управлением предназначены для измерения объема топлива (бензин, керосин, дизельное топливо) с вязкостью от 0,55 до 40 мм2/с (сСт) при выдаче его в топливные баки транспортных средств с учетом требований учетно-расчетных операций.
Описание
Колонки Нара 5000 предназначены для эксплуатации при температуре окружающего воздуха от минус 40 оС до плюс 50 оС и относительной влажности от 30 % до 100 % и температуре топлива от плюс 35 оС до минус 40 оС для бензина и от плюс 50 оС до минус 40 оС (или до температуры помутнения или кристаллизации) для дизельного топлива и керосина.
Колонки с гидравликой фирмы «TOMINAGA MFG. CO», Япония применяются для эксплуатации при температуре окружающего воздуха от плюс 40 до минус 25 оС, относительной влажности от 30 % до 100 %.
Колонки состоят из гидравлической системы с отбором паров, включающей клапан электромагнитный фирмы «Danfoss» (Дания), моноблок и расходомер фирмы «TOMINAGA MFG. CO», Япония, или моноблок ЗАО «Нара» г. Серпухов, или моноблок «Dresser Wayne Pignone S.p.a.», Италия, или моноблок фирмы «Gilbarco Itd», Великобритания, два электромагнитных клапана, два датчика расхода с выносным счетчиком, два измерителя объема, два индикатора, два крана раздаточных и устройство дистанционного управления.
Колонки Нара 5000 имеют одну, две, три или четыре гидравлические системы, каждая из которых имеет технические характеристики одинарной колонки, и обеспечивают заправку одновременно с 2-х сторон одним видом топлива.
Принцип действия колонок состоит в следующем:
топливо из резервуара через приемный клапан, фильтр предварительной очистки и моноблок подается в измеритель объема (счетчик) из которого через раздаточный шланг с пистолетом поступает в бак транспортного средства.
В колонках реализован прямой метод непосредственной оценки объема топлива измерителем объема топлива, проходящего через колонку, в единицах объема.
При протекании топлива через измеритель объема возникает разность давлений на его входе и выходе, под действием которого поршень совершает возвратно-поступательное движение, топливо при этом вытесняется из измерительной камеры.
Поступательное движение поршней вместе с кулисами преобразуется во вращательное движение коленчатого вала, которое через соединительную муфту передается на вал датчика расхода топлива.
Вращательное движение вала датчика преобразуется в последовательность электрических импульсов, поступающих в отсчетное устройство.
Колонки осуществляют подачу топлива из хранилища, измерение и индикацию его объема. Задание дозы топлива и включение колонок производится оператором дистанционно от системы управления, в составе которой используется контрольно-кассовая машина, включенная в Государственный реестр ККМ.
Установка показаний на цифровом табло разового учета выданного объема топлива в положение нуля производится автоматически при снятии раздаточного пистолета с колонки.
Вместо моноблока могут использоваться раздельно насос, фильтр и газоотделитель.
Колонки Нара 5000 изготавливаются следующих модификаций*:
По количеству видов заправляемого топлива (5Х00):
1 - одинарные, для заправки одним видом топлива;
2 - двойные, для заправки двумя видами топлива;
3 - тройные, для заправки тремя видами топлива;
4 - четверные, для заправки четырьмя видами топлива.
По способу размещения сборочных единиц (50Х0):
1 - с размещением сборочных единиц в одном корпусе;
2 - с размещением сборочных единиц в нескольких корпусах в виде блоков:
- одного информационно-заправочного блока;
- 1 .. .8 насосно-измерительных блоков;
3 - с размещением сборочных единиц в нескольких корпусах в виде блоков:
- одного измерительного и одного информационно-заправочного блока;
- 1.4 насосных блока.
По применяемой гидравлической системе (применяемому моноблоку) (500Х):
1 - 1 моноблок и расходомер фирмы «TOMINAGA MFG. CO», Япония;
2 - 1 моноблок ЗАО «Нара» на 2 крана;
3 - 1 моноблок фирмы Dresser Wayne Pignonе», Италия на 2 крана;
4 - 1 моноблок фирмы «Gilbarco Itd», Великобритания, на 2 крана;
5
6 - 1 моноблок ЗАО «Нара» на 1 кран;
7 - 1 раздельное использование насоса, газоотделителя и фильтра.
* Х - цифровое обозначение исполнения колонки
Общий вид колонки представлен на рисунке 1
Рисунок 1.1
Общий вид колонки топливораздаточной Нара 5000
Рисунок 1.2
Общий вид колонки топливораздаточной Нара 5000
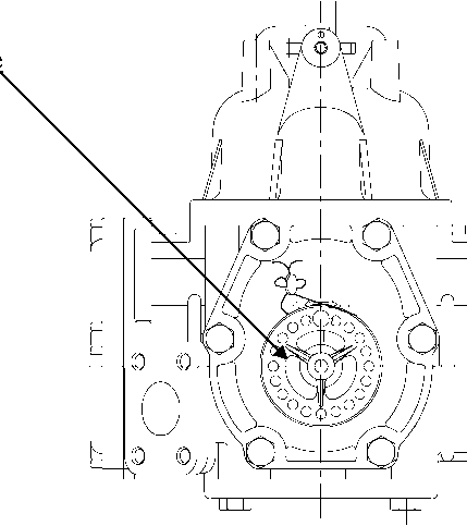
В колонках предусмотрено опломбирование измерителя объема поршневого, микропроцессора электронного отсчетного устройства и указателя суммарного учета.
Схемы пломбирования представлены на рисунках 2.1 - 2.6.
Рисунок 2.1
Схема пломбирования датчика расхода с измерителем объема ЗАО «Нара»
Рисунок 2.2
Схема пломбирования измерителя объема поршневого ПЖ4-25 ЗАО «Нара»
Регулировочное колесико
Рисунок 2.3
Схема пломбирования расходомера FM 1 фирмы «TOMINAGA MFG. CO», Япония

1 - пломба электронной юстировки
(клеймо поверителя);
2 - номерная пломба наклейка «СиЛ-Лэйблз-2 СК 20х38»
Рисунок 2.4
Схема пломбирования микропроцессора отсчетного устройства ЗАО «Нара»
1 - пломба поверителя
Рисунок 2.5
Схема пломбирования микропроцессора отсчетного устройства «Топаз»
Рисунок 2.6
Схема пломбирования датчика расхода ДРТ ЗАО «Нара»
Технические характеристикиНоминальный расход, л/мин Минимальная доза выдачи топлива, л Пределы допускаемой основной относительной погрешности при температуре (20±5) оС, % Пределы допускаемой относительной погрешности при |
50* ± 5 2 ±0,25 |
|
температуре отличной от (20±5) оС, в пределах температур окружающей среды и топлива от минус 40 оС до плюс 50 оС Сходимости показаний, % Верхний предел показаний указателя разового учета: |
±0,50 |0,25| |
|
- выданного количества топлива, л - цены за 1 л, руб. - стоимости выданной дозы топлива, руб. Верхний предел показаний указателя суммарного учета, л Дискретность показаний указателя разового учета: |
999,99 99,99 9 999,99 999 999 |
|
- выданного количества топлива, л - цены за 1 л, руб. - стоимости выданной дозы топлива, руб. Дискретность показаний указателя суммарного учета топлива, л Номинальная тонкость фильтрования, мкм Длина раздаточного рукава, м, не менее Мощность привода каждого насоса, кВт, не более - на 1 кран - на 2 крана Напряжение электропитания, В Габаритные размеры, мм, не более: |
0,01 0,01 0,01 1,0 60 (по заказу 20) 4,0 0,55 1,1 380 |
|
- колонки |
от 1000х580х2140 до 3300х580х2140** |
|
- насосно-измерительного блока |
от 650х430х1030 до 1000х600х1100** |
|
- насосного блока |
от 700х580х1100 до 2800х580х1100** |
|
- информационного, измерительно-заправочного блока |
от 1000х580х2140 до 3300х580х2140** |
|
Масса, кг, не более Средний срок службы, лет, не менее Средняя наработка на отказ, ч |
от 200 до 1160** 12 7000 |
* - при одновременной заправке на две стороны одним видом топлива и для моноблоков номинальный расходом через один кран - (36 ± 4) л/мин;
* * - в зависимости от количества видов заправляемого топлива и способа размещения сборочных единиц колонки.
Знак утверждения типа
Знак утверждения типа наносится на маркировочную табличку колонки фотографическим способом и на титульный лист эксплуатационной документации типографским способом.
Комплектность1 Колонка (модификация по заказу) 2 Запчасти и принадлежности 3 Эксплуатационная документация на колонку 4 Эксплуатационная документация на принадлежности |
- 1 шт. - 1 комплект - 1 комплект - по 1 экз. |
Поверка
осуществляется по МИ 1864-88 «Рекомендации. ГСИ. Колонки топливораздаточные. Методика поверки».
Основное поверочное оборудование:
- при первичной поверке - мерники 2-го разряда вместимостью 2, 5, 10, 20, 50 л с основной погрешностью не более ± 0,08 % по ГОСТ 8.400-80;
- при периодической поверке - мерники 2-го разряда вместимостью 10, 20, 50 л с основной погрешностью не более ± 0,1 % по ГОСТ 8.400-80.
Сведения о методах измерений
В колонках реализован прямой метод непосредственной оценки объема топлива измерителем объема топлива, проходящего через колонку, в единицах объема.
Метод измерения изложен в Руководствах по эксплуатации на колонки.
Нормативные документы
1 ГОСТ 9018-89 «Колонки топливораздаточные. Общие технические условия».
2 ГОСТ 8.510-2002 «ГСИ. Государственная поверочная схема для средств измерений объема и массы жидкости».
3 МИ 1864-88 «Рекомендации. ГСИ. Колонки топливораздаточные. Методика поверки».
Рекомендации к применению
- осуществление торговли и товарообменных операций, выполнение работ по расфасовке товаров в соответствии с ч. 3 Федерального закона «Об обеспечении единства измерений» № 102-ФЗ от 26.06.2008 г., п. 7 статьи 1.
Другие Колонки топливораздаточные

