Колонки раздаточные сжиженного газа V-line 47xx.xxx/LPG, V-line 899x.xxx/LPG
| Номер в ГРСИ РФ: | 18979-08 |
|---|---|
| Категория: | Колонки топливораздаточные |
| Производитель / заявитель: | Фирма "Adast Systems, a.s.", Чехия |
|
18979-08: Описание типа
2014-18979-08.pdf
|
Скачать | 287.1 КБ |
Для измерения объема сжиженного газа (пропана, бутана и пропан-бутановой смеси) при выдаче его в баки транспортных средств на автогазозаправочных станциях с учетом требований учетно-расчетных операций.
Информация по Госреестру
| Основные данные | |
|---|---|
| Номер по Госреестру | 18979-08 |
| Действует | по 24.01.2019 |
| Наименование | Колонки раздаточные сжиженного газа |
| Модель | V-line 47xx.xxx/LPG, V-line 899x.xxx/LPG |
| Характер производства | Серийное |
| Идентификатор записи ФИФ ОЕИ | 614ac5aa-22e2-7f44-50ae-407d4a4b3dc4 |
| Год регистрации | 2008 |
| Общие данные | |
|---|---|
| Технические условия на выпуск | тех.документация фирмы |
| Класс СИ | 29.02 |
| Год регистрации | 2008 |
| Страна-производитель | Чехия |
| Примечание | 24.01.2014 продлен срок свидетельстваВзамен № 18979-06 |
| Центр сертификации СИ | |
| Наименование центра | ГЦИ СИ Ростест-Москва |
| Адрес центра | 117418, г.Москва, Нахимовский пр-т, 31 |
| Руководитель центра | Бас Виталий Николаевич |
| Телефон | (8*095) 332-67-77 |
| Факс | 124-99-96 |
| Информация о сертификате | |
| Срок действия сертификата | 24.01.2019 |
| Номер сертификата | 34523 |
| Тип сертификата (C - серия/E - партия) | С |
| Дата протокола | Приказ 42 п. 13 от 24.01.201414д2 от 25.12.08 п.364 |
Производитель / Заявитель
Фирма "Adast Systems, a.s.", ЧЕШСКАЯ РЕСПУБЛИКА
Чехия
Mirova 2, 67904 Adamov, Ceske republika
Поверка
| Методика поверки / информация о поверке | Раздел "Методика поверки" РЭ |
| Межповерочный интервал / Периодичность поверки |
1 год
|
| Зарегистрировано поверок |
2984
|
| Найдено поверителей | |
| Успешных поверок (СИ пригодно) | 2955 (99%) |
| Неуспешных поверок (СИ непригодно) | 29 (1 %) |
| Актуальность информации | 01.04.2026 |
Поверители
Скачать
|
18979-08: Описание типа
2014-18979-08.pdf
|
Скачать | 287.1 КБ |
Описание типа
Назначение
Колонки раздаточные сжиженного газа V-line 47xx.xxx/LPG, V-line 899x.xxx/LPG (далее - колонка) предназначены для измерения объема сжиженного газа (пропана, бутана, пропан-бутановой смеси) при выдаче его в топливные баки транспортных средств с учетом требований учетно-расчетных операций.
Описание
Принцип действия колонок состоит в следующем: сжиженный газ из резервуара подводится к патрубку жидкой фазы и через механический или электромагнитный клапан, фильтр, сепаратор поступает в поршневой измеритель объема (счетчик), из которого через дифференциальный клапан, визир, разрывную муфту, раздаточный шланг с пистолетом поступает в бак транспортного средства. Газовая фаза после сепаратора поступает обратно в резервуар.
При протекании сжиженного газа через измеритель объема возникает разность давлений на его входе и выходе, под действием которого поршень совершает возвратнопоступательное движение, топливо при этом вытесняется из измерительной камеры.
Поступательное движение поршней вместе с кулисами преобразуется во вращательное движение коленчатого вала, которое через соединительную муфту передается на вал датчика импульсов.
Вращательное движение вала датчика импульсов преобразуется в последовательность электрических импульсов, поступающих в электронный блок колонки, на цифровом табло которого индицируется количество отпущенного топлива, его цена и стоимость.
Для исключения попадания газовой фазы в раздаточный шланг давление сжиженного газа на выходе поршневого счетчика превышает давление газовой фазы не менее, чем на 100 кПа. Это превышение обеспечивается автоматически при помощи дифференциального клапана.
Колонка оснащена манометром для контроля давления жидкой фазы газа на выходе перед раздаточным шлангом.
Задание дозы топлива и включение колонок производит оператор на пульте, находящемся непосредственно на колонке или с пульта дистанционного управления.
Установка показаний на цифровом табло разового учета выданного объема сжиженного газа и стоимости в положение нуля производится после нажатия кнопки СТАРТ.
В состав колонки V-line 47xx.xxx/LPG входит модуль V-line 8960x.xxx/LPG
Основными элементами колонки являются:
- измеритель объема поршневого типа М406.25 (с механической калибровкой и датчиком импульсов 01-08 фирмы «Eltomatic A/S», Дания) или М406.25Р (с механической калибровкой и датчиком импульсов МЕ 01-05 фирмы «Eltomatic A/S, Дания), или М406.25Р/1, (с электронной калибровкой и датчиком импульсов MTX 075 фирмы « Metra a.s.», Чешская Республика), или измеритель объема поршневого типа М406.25Е (с электронной калибровкой и датчиком импульсов 01-08 фирмы «Eltomatic A/S», Дания), или М406.25ЕР (с электронной калибровкой и датчиком импульсов МЕ 01-05 фирмы «Eltomatic A/S, Дания), или М406.25ЕР/1 (с электронной калибровкой и датчиком импульсов MTX 075 фирмы « Metra a.s.», Чешская Республика), производства фирмы «Adast Systems a.s.», Чешская Республика;
- электронно-вычислительное устройство серии ADP производства фирмы «Beta Control s.r.o.», Чешская Республика,
- фильтр тонкой очистки 10 или 20 мкм;
- сепаратор газовой фазы;
- дифференциальный клапан;
- раздаточный шланг с пистолетом длиной не менее 4 м, выдерживающий давление не менее 10 МПа (100 бар).
Колонки безопасны для окружающей среды.
Колонки при заказе имеют следующее обозначение:
V-line 47xx.xxx/LPG, V-line 899x.xxx/LPG
где V - line 47 - тип колонки;
первый х - возвратный или подвесной шланг;
второй, четвертый и шестой х - всегда 0;
третий х - всегда 1;
пятый х - количество шлангов;
V-line 899 - тип колонки;
первый х - модификация;
второй х - вид присоединения шланга;
третий х - тип поршневого счетчика;
четвертое х - дизайн.
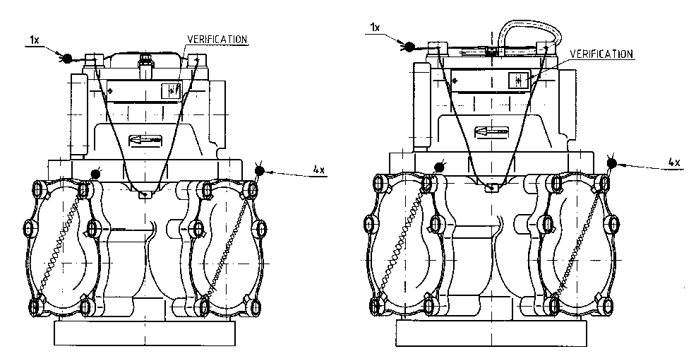
Общий вид модификаций колонок представлен на рисунке 1.
Модификация V-line 899x.xxx/LPG
Модификация V-line 47xx.xxx/LPG
Рисунок 1 - Общий вид модификаций колонок
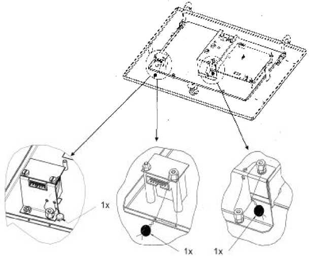
В колонках предусмотрено опломбирование измерителя объема поршневого, защитной крышки электронно-вычислительного устройства и счетчика суммарного учета.
Схемы пломбирования измерителей объема с датчиком импульсов, защитной крышки электронно-вычислительного устройства и счетчика суммарного учета представлены на рисунках 2, 3 и 4.
M406.25
M406.25P
М406.25Е, M406.25EP
M406.25P/1, M406.25EP/1
Рисунок 2 - Схемы пломбировки измерителей объема с датчиком импульсов
ADP1/T, ADP2/T
ADPMPD/T
ADP1/L
Рисунок 3 - Схема пломбирования защитной крышки электронно-вычислительного устройства ADP
Рисунок 4 - Схема пломбирования счетчика суммарного учета
Программное обеспечение
Программное обеспечение (ПО) ТРК является встроенным, имеет функции управления насосами, определения объёма выданного топлива, вывода информации об объёме выданного топлива и его стоимости на дисплей и интерфейсы связи, сохранения во внутренней памяти количество выданных доз, количества смен цены топлива, количества и характера отказов, и реализовано в микропроцессоре, размещенном в электронно-вычислительным устройстве колонки, Доступ к микропроцессору и его интерфейсу для загрузки ПО ограничивается корпусом электронно-вычислительного устройства и защитной крышкой, которая пломбируется.
Доступ к изменению параметров работы ПО, влияющих на метрологические характеристики колонки защищен паролем администратора и паролем юстировки.
ПО не может быть модифицировано, считано или загружено через какой-либо другой интерфейс после опломбирования.
Идентификационные данные ПО приведены в таблице 1.
Таблица 1
|
Наименование ПО |
Идентификационное наименование ПО |
Номер версии (идентификационный номер) ПО |
Цифровой идентификатор ПО (контрольная сумма исполняемого кода) |
Алгоритм вычисления цифрового идентификатора ПО |
|
ADP |
ADP1/L |
ADP1/L |
*- |
*- |
|
ADP |
ADP1/T, ADP2/T |
ADP1/T, ADP2/T |
*- |
*- |
|
ADP |
ADP1/T-SMX |
ADP1/T-SMX |
*- |
*- |
|
ADP |
ADP2/T-SMX |
ADP2/T-SMX |
*- |
*- |
|
ADP |
ADP2/T-LPG |
ADP2/T-LPG |
*- |
*- |
|
* - Данные недоступны, так как данное ПО не может быть модифицировано, загружено или прочитано через какой-либо интерфейс после опломбирования | ||||
Защита ПО от непреднамеренных и преднамеренных изменений соответствует уровню «C» по МИ 3286-2010.
Технические характеристикиНаибольший расход, л/мин Наименьший расход, л/мин Минимальная доза, л Максимальное давление сжиженного газа, МПа Рабочее давление, МПа Пределы допускаемой относительной погрешности измерений объема газа %, не более Сходимость показаний, % Емкость счетчика разового учета: |
30; 40; 50. 5. 5. 2,5. 1,8. ±1,0. |1,0|. |
|
- объема выдачи топлива, л - цены за 1 л, руб. - стоимости выданного топлива, руб. Емкость несбрасываемого счетчика суммарного учета, л: |
999 999; 9 999; 999 999. |
|
- электронного - электромеханического Дискретность отсчета счетчика разового учета: |
99 999 999 999; 9 999 999. |
|
- объема выдачи топлива, л - цены за 1 л, руб. - стоимости выданного топлива, руб. Дискретность отсчета счетчика суммарного учета, л, не менее Параметры электропитания от сети переменного тока: |
0,01; 0,01; 0,01. 1. |
|
- напряжение, В - частота, Гц Габаритные размеры*, мм, не более Масса*, кг, не более Средний срок службы, лет |
220 +10%-15%. 50±1. 1100 х 610 х 2250. 280. 7. |
*- в зависимости от модификации
Колонки предназначены для эксплуатации при температуре окружающего воздуха от минус 20 оС до плюс 50 оС и относительной влажности от 30 % до 100 % .
Знак утверждения типа
наносится на маркировочную табличку колонки электрохимическим способом и на титульные листы эксплуатационной документации типографским способом.
Комплектность
1 Колонка (модификация по заказу)
- 1 шт.
по согласованию с Заказчиком - 1 экз.
2 Запасные части
3 Руководство по эксплуатации
Поверка
осуществляется в соответствии с разделом «Методика поверки» Руководства по эксплуатации, утвержденным ГЦИ СИ ФГУ «Ростест-Москва» 28.12.2008 г.
Основное поверочное оборудование - мерники металлические 2-го разряда для сжиженных газов ММСГ-1 с номинальной вместимостью 10 л (номер в Госреестре средств измерений 22482-07).
Сведения о методах измерений
изложены в Руководстве по эксплуатации на колонки V-line 47xx.xxx/LPG, V-line 899x.xxx/LPG.
Нормативные документы
1 Международная рекомендация OIML R 117 «Измерительные системы для жидкости, кроме воды».
2 Техническая документация фирмы «Adast Systems a.s.», Чешская Республика.
Рекомендации к применению
- при осуществлении торговли и товарообменных операций.
Другие Колонки топливораздаточные



