24219-03: Е858ЭС Преобразователи измерительные частоты переменного тока - Производители, поставщики и поверители

Преобразователи измерительные частоты переменного тока Е858ЭС

ALL-Pribors default picture
Номер в ГРСИ РФ: 24219-03
Производитель / заявитель: ООО "Энерго-Союз", Беларусь, г.Витебск
Скачать
24219-03: Описание типа
2014-24219-03.pdf
Скачать 81.1 КБ
Нет данных о поставщике
Поверка
Преобразователи измерительные частоты переменного тока Е858ЭС поверка на: www.ktopoverit.ru
КтоПоверит
Онлайн-сервис метрологических услуг

Для линейного преобразования частоты переменного тока в унифицированный электрический сигнал постоянного тока, для контроля частоты переменного тока электрических систем и установок при комплексной автоматизации объектов электроэнергетики различных отраслей промышленности.

Информация по Госреестру

Основные данные
Номер по Госреестру 24219-03
Действует по 17.01.2019
Наименование Преобразователи измерительные частоты переменного тока
Модель Е858ЭС
Характер производства Серийное
Идентификатор записи ФИФ ОЕИ 24459174-5a66-9ce4-6cb4-7014854cd25c
Год регистрации 2008
Информация устарела
Общие данные
Источник информации CD 2003г
Технические условия на выпуск ТУ РБ 300521831.003-2002
Класс СИ 33.03
Год регистрации 2008
Страна-производитель  Беларусь 
Примечание 17.01.2014 продлен срок свидетельства
Центр сертификации СИ
Наименование центра Госстандарт Беларуси
Адрес центра Беларусь, 220600, г.Минск, Старовиленский тракт, 93
Руководитель центра Корешков Валерий Николаевич
Телефон (8*0172) 37-52-13
Факс 37-25-88
Информация о сертификате
Срок действия сертификата 17.01.2019
Номер сертификата 13981
Тип сертификата (C - серия/E - партия) С
Дата протокола Приказ 26 п. 16 от 17.01.201408 от 19.06.08 п.24501 от 14.01.03 п.25
Производитель / Заявитель

ООО "Энерго-Союз", БЕЛАРУСЬ, г.Витебск

 Беларусь 

210601, ул.С.Панковой, 6а, Тел. (10375212) 37-03-71, факс 24-62-41, 24-79-84, E-mail: energo@vitebsk.by

Поверка

Методика поверки / информация о поверке МП.ВТ.041-2002
Межповерочный интервал / Периодичность поверки
1 год
4 года с 2008 г.
Зарегистрировано поверок
Найдено поверителей
Успешных поверок (СИ пригодно) 132 (97%)
Неуспешных поверок (СИ непригодно) 4 (3 %)
Актуальность информации 19.04.2026
Найти результаты поверки
Указан в паспорте или на самом приборе

Поверители

КтоПоверит
Онлайн-сервис метрологических услуг
Преобразователи измерительные частоты переменного тока Е858ЭС поверка на: www.ktopoverit.ru
КтоПоверит
Онлайн-сервис метрологических услуг

Скачать

24219-03: Описание типа
2014-24219-03.pdf
Скачать 81.1 КБ

Описание типа

Назначение

Преобразователи измерительные частоты переменного тока Е 858ЭС (далее по тексту - ИП) предназначены для линейного преобразования частоты переменного тока в унифицированный электрический сигнал постоянного тока.

Описание

В ИП используется принцип измерения частоты переменного тока.

ИП выполнены в корпусе из ударопрочного полистирола. Силовой трансформатор крепиться к основанию корпуса. Над трансформатором к корпусу крепятся печатная плата, на которой расположены элементы электрической схемы. Основание с клеммной колодкой, крышка корпуса, крышка клеммной колодки выполнены из изоляционного материала.

ИП Е 858ЭС выпускаются в двенадцати модификациях: Е 858/1ЭС ... Е 858/12ЭС, отличающихся диапазоном измерения преобразуемой частоты и диапазоном изменения выходного сигнала. Общий вид Е 858ЭС приведен на Рисунке 1.

ИП могут применяться для контроля частоты переменного тока в системах и установках, для комплексной автоматизации объектов электроэнергетики различных отраслей промышленности.

Рисунок 1 - Общий вид Е 858ЭС

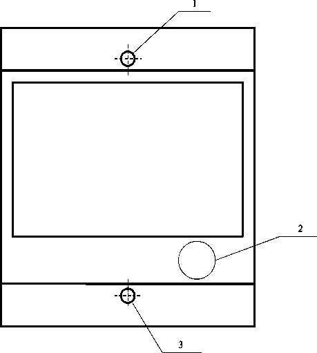
Схема защиты от несанкционированного доступа представлена на рисунке 2.

1 - Место для нанесения оттиска клейма поверителя

2 - Место для нанесения клейма-наклейки поверителя

3 - Место для нанесения оттиска клейма ОТК

Рисунок 2 - Схема защиты от несанкционированного доступа

Технические характеристики

Тип и модификация прибора, номинальное значение входного сигнала, диапазоны измерения частоты, диапазон изменения выходного сигнала, номинальное значение частоты, диапазон изменения сопротивления нагрузки указаны в таблице 1 Таблица 1

Тип, модификация

Номинальное значение входного напряжения, В

Диапазон измерения частоты, Гц

Номинальное значение частоты, Гц

Диапазон изменения выходного сигнала, мА

Диапазон изменения сопротивления нагрузки, кОм

Е858/1ЭС

100, 220

45 - 55

50

0 - 5

0 - 3

Е858/2ЭС

48 - 52

Е858/3ЭС

49 - 51

Е858/4ЭС

59 - 61

60

Е858/5ЭС

58 - 62

Е858/6ЭС

55 - 65

Е858/7ЭС

45 - 55

50

4 - 20

0 - 0,5

Е858/8ЭС

48 - 52

Е858/9ЭС

49 - 51

Е858/10ЭС

59 - 61

60

Е858/11ЭС

58 - 62

Е858/12ЭС

55 - 65

Пределы допускаемой основной приведенной погрешности ИП при сопротивлении нагрузки, указанном в таблице 1, равны ± 0,02 % от нормирующего значения во всем диапазоне изменения сопротивления нагрузки.

Предел допускаемой дополнительной погрешности ИП, вызванной изменением температуры окружающего воздуха от нормальной до любой температуры в пределах рабочих условий применения на каждые 10 °С, не должен превышать предела основной погрешности.

Нормирующее значение равно номинальному значению частоты.

Питание ИП осуществляется от измерительной цепи с номинальным напряжением (100+10-15) или (220+22-33) В.

Рабочие условия применения:

температура окружающего воздуха от минус 30 до плюс 60 °С;

относительная влажность воздуха 95 % при 35 °С.

Потребляемая мощность, В • А, не более

Габаритные размеры, мм, не более                  125 х 110 х 132

Масса, кг, не более

Средний срок службы, лет, не менее

Средняя наработка на отказ, ч

Знак утверждения типа

Знак утверждения типа наносится на лицевую панель ИП фотохимическим способом, а также на титульный лист руководства по эксплуатации и паспорт типографским способом.

Комплектность

В комплект поставки входят:

- ИП Е 858ЭС СКЮИ.411600.003-2002;

- руководство по эксплуатации СКЮИ.411600.003-2002 РЭ;

- паспорт СКЮИ.411600.003-2002;

- методика поверки МП.ВТ.041-2002;

- коробка упаковочная СКЮИ.743832.001.

Примечание - При поставке в один адрес прилагается один экземпляр руководства по эксплуатации и методики поверки на три ИП.

Поверка

осуществляется по документу МП.ВТ.041-2002 «Преобразователи измерительные частоты переменного тока Е 858ЭС. Методика поверки», согласованному с РУП «Витебский ЦСМС» 29.09.2002 г.

Перечень основного оборудования для поверки:

- генератор сигналов Г3-110, погрешность установки частоты ± 5-10’7;

- компаратор напряжений Р3003, кл.т. 0,0005;

- вольтметр В7-65: напряжение переменного тока от 0 до 2 В, основная погрешность ± 0,02 %;

- магазин сопротивлений Р33: величина сопротивлений от 0,1 до 99999,9 Ом, класс точности 0,2;

- мера электрического сопротивления Р331: Rном = 100 Ом, класс точности 0,01.

Сведения о методах измерений

Методы измерений изложены в руководстве по эксплуатации.

Нормативные документы

ГОСТ 24855-81            Преобразователи измерительные тока, напряжения, мощности,

частоты, сопротивления аналоговые. Общие технические условия

ТУ РБ 300521831.003-2002 Преобразователи измерительные частоты переменного тока

Е 858ЭС. Технические условия

Рекомендации к применению

Осуществление производственного контроля за соблюдением установленных законодательством Российской Федерации требований промышленной безопасности к эксплуатации опасного производственного объекта.

Смотрите также

Default ALL-Pribors Device Photo
2422-69
Ч4-25 Частотомеры гетеродинные
П/я А-7859 (ПО им.60-летия Октября), ЛИТВА, г.Вильнюс
Default ALL-Pribors Device Photo
Для линейного преобразования входного сигнала в унифицированный электрический сигнал постоянного тока, для комплексной автоматизации объектов электроэнергетики различных отраслей промышленности.
Default ALL-Pribors Device Photo
Для линейного преобразования входного сигнала в унифицированный электрический сигнал постоянного тока, для комплексной автоматизации объектов электроэнергетики различных отраслей промышленности.
Для линейного преобразования входного сигнала в унифицированный электрический сигнал постоянного тока, для комплексной автоматизации объектов электроэнергетики различных отраслей промышленности.
Default ALL-Pribors Device Photo
Для линейного преобразования напряжения переменного тока в унифицированный электрический сигнал постоянного тока, для контроля напряжения переменного тока электрических систем и установок при комплексной автоматизации объектов электроэнергетики разли...