24913-03: Е848ЭС Преобразователи измерительные активной мощности трехфазного тока - Производители, поставщики и поверители

Преобразователи измерительные активной мощности трехфазного тока Е848ЭС

ALL-Pribors default picture
Номер в ГРСИ РФ: 24913-03
Производитель / заявитель: ООО "Энерго-Союз", Беларусь, г.Витебск
Скачать
24913-03: Описание типа
2014-24913-03.pdf
Скачать 89.8 КБ
Заказ
Поставщик: ЦИТ «Эталонприбор»
Поверка
Преобразователи измерительные активной мощности трехфазного тока Е848ЭС поверка на: www.ktopoverit.ru
КтоПоверит
Онлайн-сервис метрологических услуг

Для линейного преобразования активной мощности трехфазных и однофазных четырехпроводных и трехпроводных цепей переменного тока в унифицированный выходной сигнал постоянного тока или напряжения постоянного тока, для контроля параметров электрических сетей и установок при комплексной автоматизации объектов электроэнергетики, различных отраслей промышленности.

Информация по Госреестру

Основные данные
Номер по Госреестру 24913-03
Действует по 17.01.2019
Наименование Преобразователи измерительные активной мощности трехфазного тока
Модель Е848ЭС
Характер производства Серийное
Идентификатор записи ФИФ ОЕИ 94552348-4ffd-e9ea-e956-f86507f3bb40
Год регистрации 2008
Информация устарела
Общие данные
Источник информации CD 2003г
Технические условия на выпуск ТУ РБ 300521831.008-2002
Класс СИ 35.08
Год регистрации 2008
Страна-производитель  Беларусь 
Примечание 17.01.2014 продлен срок свидетельства
Центр сертификации СИ
Наименование центра Госстандарт Беларуси
Адрес центра Беларусь, 220600, г.Минск, Старовиленский тракт, 93
Руководитель центра Корешков Валерий Николаевич
Телефон (8*0172) 37-52-13
Факс 37-25-88
Информация о сертификате
Срок действия сертификата 17.01.2019
Номер сертификата 14947
Тип сертификата (C - серия/E - партия) С
Дата протокола Приказ 26 п. 19 от 17.01.201409д3 от 11.09.08 п.16006 от 27.05.03 п.46
Производитель / Заявитель

ООО "Энерго-Союз", БЕЛАРУСЬ, г.Витебск

 Беларусь 

210601, ул.С.Панковой, 6а, Тел. (10375212) 37-03-71, факс 24-62-41, 24-79-84, E-mail: energo@vitebsk.by

Поверка

Методика поверки / информация о поверке МП.ВТ.053-2002
Межповерочный интервал / Периодичность поверки
1 год
4 года с 2008 г.
Зарегистрировано поверок
Найдено поверителей
Успешных поверок (СИ пригодно) 35 (90%)
Неуспешных поверок (СИ непригодно) 4 (10 %)
Актуальность информации 29.03.2026
Найти результаты поверки
Указан в паспорте или на самом приборе

Поверители

КтоПоверит
Онлайн-сервис метрологических услуг
Преобразователи измерительные активной мощности трехфазного тока Е848ЭС поверка на: www.ktopoverit.ru
КтоПоверит
Онлайн-сервис метрологических услуг

Скачать

24913-03: Описание типа
2014-24913-03.pdf
Скачать 89.8 КБ

Описание типа

Назначение

Преобразователи измерительные активной мощности трехфазного тока Е 848ЭС (далее по тексту - ИП) предназначены для линейного преобразования активной мощности переменного тока частотой 50 Гц, 60 Гц в унифицированный выходной сигнал постоянного тока или напряжения постоянного тока.

Описание

По способу преобразования ИП относятся к преобразователям, построенным на основе времяимпульсной модуляции.

ИП выполнены в корпусе из ударопрочного полистирола. Силовой трансформатор крепиться к основанию корпуса. Над трансформатором к корпусу крепятся печатные платы, на которых расположены элементы электрической схемы.

ИП выпускаются в 14 (четырнадцати) модификациях: Е 848/1ЭС ... Е 848/14ЭС, отличающихся диапазонами измерений входного и диапазонами изменения выходного сигнала.

ИП Е 848/1ЭС - Е 848/5ЭС относятся к трехэлементным преобразователям мощности, Е 848/6ЭС - Е 848/14ЭС - к двухэлементным.

ИП Е 848/1ЭС, Е 848/2ЭС, Е 848/5ЭС, Е 848/8ЭС, Е 848/10ЭС, Е 848/13ЭС предназначены для работы с питанием от измерительной цепи.

ИП Е 848/3ЭС, Е 848/4ЭС, Е 848/6ЭС, Е 848/7ЭС, Е 848/9ЭС, Е 848/11ЭС,

Е 848/12ЭС, Е 848/14ЭС предназначены для работы с дополнительным питанием 220 В частотой 50 Гц.

Общий вид Е 848ЭС приведен на рисунке 1.

ИП могут применяются для контроля активной мощности трехфазных и однофазных, четырехпроводных и трехпроводных цепей в электрических установках для комплексной автоматизации объектов электроэнергетики.

Рисунок 1 - Общий вид Е 848ЭС

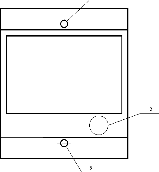
Схема защиты от несанкционированного доступа представлена на рисунке 2.

1 - Место для нанесения оттиска клейма поверителя

2 - Место для нанесения клейма-наклейки поверителя

3 - Место для нанесения оттиска клейма ОТК

Рисунок 2 - Схема защиты от несанкционированного доступа

Технические характеристики

Тип и модификация прибора, диапазоны изменения преобразуемого входного сигнала, номинальные значения преобразуемого входного сигнала, диапазоны изменения выходного сигнала указаны в таблице 1

Таблица 1

Тип, модификаци я

Диапазоны изменения преобразуемого входного сигнала

Номинальные значения преобразуемого входного сигнала

Диапазоны изменения выходного сигнала

IA, IC, А

Uab=Ubc

1 В

cos ф

1н, А

ин, В

cos ф

1вых, мА

ивых, В

Е 848/1 ЭС

0 - 1 (0 - 0,5) или 0 - 5 (0 - 2,5)

80 - 120

0-плюс 1-0

1,0 (0,5) или 5,0 (2,5)

100

1

0 - 5

-

Е 848/2ЭС

0-минус 1-0-плюс1-0

плюс1 минус1

минус5-0-плюс5

Е 848/3 ЭС

0 - 120

0-плюс 1-0

1

0 - 5

Е 848/4ЭС

0-минус 1-0-плюс1-0

плюс1 минус1

минус5-0-плюс5

Е 848/5ЭС

80 - 120

0-плюс 1-0

1

4 - 20

Е 848/6ЭС

0 - 60

0 - 120

0 - 250

0 - 450

0-минус 1-0-плюс1-0

50

100

220

380

плюс1 минус1

минус5-0-плюс5

Е 848/7ЭС

0 - 60

0 - 120

50

100

-

минус 10-0-плюс 10

Е 848/8ЭС

80 - 120

0-плюс 1-0

100

1

0 - 5

-

Е 848/9ЭС

0 - 120

Е 848/10ЭС

80 - 120

0-минус 1-0-плюс1-0

плюс1 минус1

минус5-0-плюс5

Е 848/11ЭС

0 - 120

Е 848/12ЭС

0-2,5-5,0

Е 848/13ЭС

80 - 120

0-плюс 1-0

1

4 - 20

Е 848/14ЭС

0 - 60

0 - 120

0 - 250

0 - 450

50

100

220

380

Примечание - Значения, указанные в скобках, соответствуют дополнительному диапазону

изменения преобразуемого входного сигнала.

Пределы допускаемой основной приведенной погрешности ИП от нормирующего значения выходного сигнала во всем диапазоне сопротивления нагрузки равны (далее -основная погрешность) ± 0,5 %.

Диапазоны изменения сопротивления нагрузки:

от 0 до 3,0 кОм для Е 848/1ЭС - Е 848/4ЭС, Е 848/6ЭС, Е 848/8ЭС - Е 848/12ЭС;

от 0 до 0,5 кОм для Е 848/5ЭС, Е 848/13ЭС, Е 848/14ЭС;

от 2 до 100,0 кОм для Е 848/7ЭС

Нормирующее значение выходного сигнала равно наибольшему значению диапазона изменения выходного сигнала, указанного в таблице 1.

Пределы допускаемой дополнительной погрешности ИП, вызванной изменением температуры окружающего воздуха от нормальной до любой температуры в пределах рабочих условий применения на каждые 10 °С, не превышают 0,8 основной погрешности.

Рабочие условия применения:

температура окружающего воздуха от минус 30 до плюс 60 °С;

относительная влажность воздуха 95 % при 35 °С.

Мощность, потребляемая ИП, не более:

от измеряемой цепи при номинальных значениях преобразуемых сигналов:

0,3 В^ А - для каждой последовательной цепи фазы А, В или С;

0,2 В^ А - для параллельных цепей фазы В;

5,0 В^ А для параллельной цепи фазы А и С для ИП с питанием от измеряемой цепи кроме ИП Е848/5ЭС;

6,0 В^ А - для параллельной цепи фазы А и С для Е848/5ЭС;

0,2 В^ А - для параллельной цепи фазы А и С для ИП с дополнительным питанием;

от дополнительного источника питания, не более 5 В • А для ИП с дополнительным

питанием;

125 *110x132

1,2

33 000

12.

Габаритные размеры, мм, не более

Масса, кг, не более

Средняя наработка на отказ, ч

Средний срок службы, лет, не менее

Знак утверждения типа

Знак утверждения типа наносится фотохимическим способом на табличку, закрепленную на крышке корпуса, а также типографским способом на титульный лист эксплуатационной документации.

Комплектность

Комплект поставки ИП приведен в таблице 2

Таблица 2

Обозначение

Наименование

Количество

УИМЯ.411600.008

Преобразователь измерительный активной мощности трехфазного тока Е 848ЭС

1

УИМЯ.411600.008 ПС

Паспорт

1

УИМЯ.411600.008 РЭ

Руководство по эксплуатации

1*

МП.ВТ.053 - 2002

Методика поверки

1*

* При поставке партии

ИП в один адрес прилагается один экземпляр на 3 ИП.

Поверка

осуществляется по документу МП.ВТ.053-2002 «Преобразователи измерительные активной мощности трехфазного тока Е 848ЭС. Методика поверки», согласованному с РУП «Витебский ЦСМС» 23.12.2002 г.

Перечень основного оборудования для поверки:

- установка для поверки приборов на переменном токе У1134М, от 0 до 150 В, от 0 до 5 А;

- вольтметр В7-65, напряжение переменного тока от 0 до 700 В, основная погрешность ±0,6 % ; напряжение постоянного тока от 0 до 2 В, основная погрешность ± 0,02 %;

- ваттметр Д57, от 0 до 300 В, класс точности 0,1;

- магазин сопротивлений Р33: величина сопротивлений от 0,1 до 99999,9 Ом, класс точности 0,2;

- мера электрического сопротивления Р331: Rном = 100 Ом, класс точности 0,01.

Сведения о методах измерений

Методы измерений изложены в руководстве по эксплуатации.

Нормативные документы

ГОСТ 24855-81           Преобразователи измерительные тока, напряжения,

мощности, частоты, сопротивления аналоговые. Общие технические условия

ТУ РБ 30551831.008-2002 Преобразователи измерительные активной мощности трехфазного тока Е 848ЭС. Технические условия

Рекомендации к применению

Осуществление производственного контроля за соблюдением установленных законодательством Российской Федерации требований промышленной безопасности к эксплуатации опасного производственного объекта.

Смотрите также

Default ALL-Pribors Device Photo
Для линейного преобразования активной и реактивной мощности в два гальванически развязанных между собой унифицированных выходных сигнал постоянного тока, для контроля параметров электрических сетей и установок при комплексной автоматизации объектов э...
Default ALL-Pribors Device Photo
Для определения горизонтальных углов (дирекционных углов), вертикальных углов (зенитных расстояний), наклонных расстояний, горизонтальных проложений, превышений, высот, приращения координат и координат точек земной поверхности (визирных целей) при вы...
Default ALL-Pribors Device Photo
24916-03
GPT-2000 (GPT-2005, GPT-2006) Тахеометры электронные
Фирма "Topcon Corporation", ЯПОНИЯ
Для определения горизонтальных углов (дирекционных углов), вертикальных углов (зенитных расстояний), наклонных расстояний, горизонтальных проложений, превышений, высот, приращения координат и координат точек земной поверхности (визирных целей) при вы...
Default ALL-Pribors Device Photo
24917-03
10 (SET210, SET310, SET510/L, SET610) Тахеометры электронные
Компания "Sokkia Co. Ltd.", ЯПОНИЯ
Для определения горизонтальных углов (дирекционных углов), вертикальных углов (зенитных расстояний), наклонных расстояний, горизонтальных проложений, превышений, высот, приращения координат и координат точек земной поверхности (визирных целей) при вы...
Default ALL-Pribors Device Photo
24918-03
120 (SET1120, SET2120, SET3120, SET4120) Тахеометры электронные
Компания "Sokkia Co. Ltd.", ЯПОНИЯ
Для определения горизонтальных углов (дирекционных углов), вертикальных углов (зенитных расстояний), наклонных расстояний, горизонтальных проложений, превышений, высот, приращения координат и координат точек земной поверхности (визирных целей) при вы...