Газоанализаторы ГТВ-1101ВЗ-А
| Номер в ГРСИ РФ: | 28375-07 |
|---|---|
| Категория: | Газоанализаторы |
| Производитель / заявитель: | ФГУП СПО "Аналитприбор", г.Смоленск |
ГТВ-1101В3-А применяется для измерения объемной доли водорода в азоте или воздухе в технологических процессах атомной энергетики.
Информация по Госреестру
| Основные данные | |
|---|---|
| Номер по Госреестру | 28375-07 |
| Действует | по 15.09.2027 |
| Наименование | Газоанализаторы |
| Модель | ГТВ-1101ВЗ-А |
| Код идентификации производства |
ОС
СИ не соответствует критериям подтверждения производства на территории
РФ в соответствии с постановлением №719
|
| Характер производства | Серийное |
| Идентификатор записи ФИФ ОЕИ | f99d6dec-6c50-d6e3-2e98-47228b89b4e2 |
| Год регистрации | 2007 |
| Общие данные | |
|---|---|
| Технические условия на выпуск | ИБЯЛ.413211.008 ТУ |
| Класс СИ | 31.01 |
| Год регистрации | 2007 |
| Страна-производитель | Россия |
| Примечание | Взамен № 28375-04 |
| Центр сертификации СИ | |
| Наименование центра | ГЦИ СИ ВНИИМ |
| Адрес центра | 198005, г.С.-Петербург, Московский пр., 19 |
| Руководитель центра | Ханов Николай Иванович |
| Телефон | (8*812) 251-76-01 |
| Факс | 113-01-14 |
| Информация о сертификате | |
| Срок действия сертификата | 01.11.2012 |
| Номер сертификата | 29426 |
| Тип сертификата (C - серия/E - партия) | С |
| Дата протокола | 12 от 11.10.07 п.174 |
Производитель / Заявитель
Федеральное государственное унитарное предприятие "Смоленское производственное объединение "Аналитприбор" (ФГУП "СПО "Аналитприбор"), г. Смоленск
Россия
214031, ул.Бабушкина, 3. Тел. (4812) 51-12-49, 51-12-42, 51-30-77, факс 52-51-59, 59-07-48, www.analitpribor-smolensk.ru, E-mail: info@analitpribor-smolensk.ru
Поверка
| Методика поверки / информация о поверке | МП-242-0596-2007 |
| Межповерочный интервал / Периодичность поверки |
1 год
|
| Зарегистрировано поверок | |
| Найдено поверителей | |
| Успешных поверок (СИ пригодно) | 522 (99%) |
| Неуспешных поверок (СИ непригодно) | 6 (1 %) |
| Актуальность информации | 29.03.2026 |
Поверители
Скачать
|
28375-07: Описание типа
2021-28375-07.pdf
|
Скачать | 1.6 MБ | |
|
28375-07: Методика поверки
2021-mp28375-07.pdf
|
Скачать | 418.4 КБ |
Описание типа
Назначение
Газоанализаторы ГТВ-1101ВЗ-А (далее - газоанализаторы) предназначены для измерения объемной доли водорода в технологических газовых смесях, в азоте и в воздухе.
Описание
Принцип действия газоанализаторов - термокондуктометрический, основан на использовании зависимости теплопроводности анализируемой газовой смеси от содержания в ней измеряемого компонента при условии, если его теплопроводность значительно отличается от теплопроводности остальных компонентов.
Газоанализаторы состоят из преобразователя измерительного (в дальнейшем - ИП) и преобразователя первичного (в дальнейшем - ПИП).
Газоанализаторы выпускаются в следующих модификациях в соответствии с таблицей 1, которые отличаются климатическим исполнением, диапазоном измерения, составом анализируемой среды, пределами допускаемой основной приведенной погрешности и диапазоном давления анализируемой среды.
Таблица 1 - Модификации газоанализаторов
|
Обозначение модификаций |
Климатическое исполнение |
Диапазон измерений, объемная доля, % |
Состав анализируемой среды |
Количество каналов |
Пределы допускаемой основной приведенной погрешности, % |
Диапазон рабочих давлений анализируемой газовой смеси, кПа (мм рт. ст.) |
|
ИБЯЛ.413211.008 |
ТМ3 |
от 0 до 1 |
Н2 - N2 (прим.1) |
1 |
±4 |
от 84,0 до 106,7 (от 630 до 800) |
|
-01 |
от 0 до 2 | |||||
|
-02 |
от 0 до 3 | |||||
|
-03 |
от 0 до 1 |
Н2 - воздух (прим.2) | ||||
|
-04 |
от 0 до 2 | |||||
|
-05 |
от 0 до 3 | |||||
|
-06 |
от 0 до 5 |
Н2 - N2 (прим.1) | ||||
|
-07 |
от 0 до 20 | |||||
|
-08 |
от 0 до 10 | |||||
|
-10 |
от 0 до 1 |
2 | ||||
|
-11 |
от 0 до 2 | |||||
|
-12 |
от 0 до 3 | |||||
|
-13 |
от 0 до 1 |
Н2 - воздух (прим.2) | ||||
|
-14 |
от 0 до 2 | |||||
|
-15 |
от 0 до 3 | |||||
|
-16 |
от 0 до 5 |
Н2 - N2 (прим.1) | ||||
|
-17 |
от 0 до 20 | |||||
|
-18 |
от 0 до 10 | |||||
|
-20 |
от 0 до 1 |
Н2 - N2 (прим.1) |
3 | |||
|
-21 |
от 0 до 2 | |||||
|
-22 |
от 0 до 3 |
|
Обозначение модификаций |
Климатическое исполнение |
Диапазон измерений, объемная доля, % |
Состав анализируемой среды |
Количество каналов |
Пределы допускаемой основной приведенной погрешности, % |
Диапазон рабочих давлений анализируемой газовой смеси, кПа (мм рт. ст.) |
|
-23 |
от 0 до 1 |
Н2 - воздух (прим.2) | ||||
|
-24 |
от 0 до 2 | |||||
|
-25 |
от 0 до 3 | |||||
|
-26 |
от 0 до 5 |
Н2 - N2 (прим.1) | ||||
|
-27 |
от 0 до 20 | |||||
|
-28 |
от 0 до 10 | |||||
|
-30 |
от 0 до 1 |
4 | ||||
|
-31 |
от 0 до 2 | |||||
|
-32 |
от 0 до 3 | |||||
|
-33 |
от 0 до 1 |
Н2 - воздух (прим.2) | ||||
|
-34 |
от 0 до 2 | |||||
|
-35 |
от 0 до 3 | |||||
|
-36 |
от 0 до 5 |
Н2 - N2 (прим.1) | ||||
|
-37 |
от 0 до 20 | |||||
|
-38 |
от 0 до 10 | |||||
|
ИБЯЛ.413211.008-50 |
ТМ3 (экспортное) |
от 0 до 1 |
Н2 - N2 (прим.1) |
1 |
±4 |
от 84,0 до 106,7 (от 630 до 800) |
|
-51 |
от 0 до 2 | |||||
|
-52 |
от 0 до 3 | |||||
|
-53 |
от 0 до 1 |
Н2 - воздух (прим.2) | ||||
|
-54 |
от 0 до 2 | |||||
|
-55 |
от 0 до 3 | |||||
|
-56 |
от 0 до 5 |
Н2 - N2 (прим.1) | ||||
|
-57 |
от 0 до 20 | |||||
|
-58 |
от 0 до 10 | |||||
|
-60 |
от 0 до 1 |
2 | ||||
|
-61 |
от 0 до 2 | |||||
|
-62 |
от 0 до 3 | |||||
|
-63 |
от 0 до 1 |
Н2 - воздух (прим.2) | ||||
|
-64 |
от 0 до 2 | |||||
|
-65 |
от 0 до 3 | |||||
|
-66 |
от 0 до 5 |
Н2 - N2 (прим.1) | ||||
|
-67 |
от 0 до 20 | |||||
|
-68 |
от 0 до 10 | |||||
|
-70 |
от 0 до 1 |
3 | ||||
|
-71 |
от 0 до 2 | |||||
|
-72 |
от 0 до 3 | |||||
|
-73 |
от 0 до 1 |
Н2 - воздух (прим.2) | ||||
|
-74 |
от 0 до 2 | |||||
|
-75 |
от 0 до 3 | |||||
|
-76 |
от 0 до 5 |
Н2 - N2 (прим.1) | ||||
|
-77 |
от 0 до 20 |
|
Обозначение модификаций |
Климатическое исполнение |
Диапазон измерений, объемная доля, % |
Состав анализируемой среды |
Количество каналов |
Пределы допускаемой основной приведенной погрешности, % |
Диапазон рабочих давлений анализируемой газовой смеси, кПа (мм рт. ст.) |
|
-78 |
от 0 до 10 | |||||
|
-80 |
от 0 до 1 |
4 | ||||
|
-81 |
от 0 до 2 | |||||
|
-82 |
от 0 до 3 | |||||
|
-83 |
от 0 до 1 |
Н2 - воздух (прим.2) | ||||
|
-84 |
от 0 до 2 | |||||
|
-85 |
от 0 до 3 | |||||
|
-86 |
от 0 до 5 |
Н2 - N2 (прим.1) | ||||
|
-87 |
от 0 до 20 | |||||
|
-88 |
от 0 до 10 | |||||
|
ИБЯЛ.413211.008-100 |
УХЛ4 |
от 0 до 1 |
Н2 - N2 (прим.1) |
1 |
±4 |
от 84,0 до 106,7 (от 630 до 800) |
|
-101 |
от 0 до 2 | |||||
|
-102 |
от 0 до 3 | |||||
|
-103 |
от 0 до 1 |
Н2 - воздух (прим.2) | ||||
|
-104 |
от 0 до 2 | |||||
|
-105 |
от 0 до 3 | |||||
|
-106 |
от 0 до 5 |
Н2 - N2 (прим.1) | ||||
|
-107 |
от 0 до 20 | |||||
|
-108 |
от 0 до 10 | |||||
|
-110 |
от 0 до 1 |
2 | ||||
|
-111 |
от 0 до 2 | |||||
|
-112 |
от 0 до 3 | |||||
|
-113 |
от 0 до 1 |
Н2 - воздух (прим.2) | ||||
|
-114 |
от 0 до 2 | |||||
|
-115 |
от 0 до 3 | |||||
|
-116 |
от 0 до 5 |
Н2 - N2 (прим.1) | ||||
|
-117 |
от 0 до 20 | |||||
|
-118 |
от 0 до 10 | |||||
|
-120 |
от 0 до 1 |
3 | ||||
|
-121 |
от 0 до 2 | |||||
|
-122 |
от 0 до 3 | |||||
|
-123 |
от 0 до 1 |
Н2 - воздух (прим.2) | ||||
|
-124 |
от 0 до 2 | |||||
|
-125 |
от 0 до 3 | |||||
|
-126 |
от 0 до 5 |
Н2 - N2 (прим.1) | ||||
|
-127 |
от 0 до 20 | |||||
|
-128 |
от 0 до 10 | |||||
|
-130 |
от 0 до 1 |
4 | ||||
|
-131 |
от 0 до 2 | |||||
|
-132 |
от 0 до 3 | |||||
|
-133 |
от 0 до 1 |
Н2 - воздух (прим.2) |
|
Обозначение модификаций |
Климатическое исполнение |
Диапазон измерений, объемная доля, % |
Состав анализируемой среды |
Количество каналов |
Пределы допускаемой основной приведенной погрешности, % |
Диапазон рабочих давлений анализируемой газовой смеси, кПа (мм рт. ст.) |
|
-134 |
от 0 до 2 | |||||
|
-135 |
от 0 до 3 | |||||
|
-136 |
от 0 до 5 |
Н2 - N2 (прим.1) | ||||
|
-137 |
от 0 до 20 | |||||
|
-138 |
от 0 до 10 | |||||
|
ИБЯЛ.413211.008-140 |
ТВ3 (экспортное) |
от 0 до 1 |
Н2 - N2 (прим.1) |
1 |
±4 |
от 84,0 до 106,7 (от 630 до 800) |
|
-141 |
от 0 до 2 | |||||
|
-142 |
от 0 до 3 | |||||
|
-143 |
от 0 до 1 |
Н2 - воздух (прим.2) | ||||
|
-144 |
от 0 до 2 | |||||
|
-145 |
от 0 до 3 | |||||
|
-146 |
от 0 до 5 |
Н2 - N2 (прим.1) | ||||
|
-147 |
от 0 до 20 | |||||
|
-148 |
от 0 до 10 | |||||
|
-150 |
от 0 до 1 |
2 | ||||
|
-151 |
от 0 до 2 | |||||
|
-152 |
от 0 до 3 | |||||
|
-153 |
от 0 до 1 |
Н2 - воздух (прим.2) | ||||
|
-154 |
от 0 до 2 | |||||
|
-155 |
от 0 до 3 | |||||
|
-156 |
от 0 до 5 |
Н2 - N2 (прим.1) | ||||
|
-157 |
от 0 до 20 | |||||
|
-158 |
от 0 до 10 | |||||
|
-160 |
от 0 до 1 |
3 | ||||
|
-161 |
от 0 до 2 | |||||
|
-162 |
от 0 до 3 | |||||
|
-163 |
от 0 до 1 |
Н2 - воздух (прим.2) | ||||
|
-164 |
от 0 до 2 | |||||
|
-165 |
от 0 до 3 | |||||
|
-166 |
от 0 до 5 |
Н2 - N2 (прим.1) | ||||
|
-167 |
от 0 до 20 | |||||
|
-168 |
от 0 до 10 | |||||
|
-170 |
от 0 до 1 |
4 | ||||
|
-171 |
от 0 до 2 | |||||
|
-172 |
от 0 до 3 | |||||
|
-173 |
от 0 до 1 |
Н2 - воздух (прим.2) | ||||
|
-174 |
от 0 до 2 | |||||
|
-175 |
от 0 до 3 | |||||
|
-176 |
от 0 до 5 |
Н2 - N2 (прим.1) | ||||
|
-177 |
от 0 до 20 | |||||
|
-178 |
от 0 до 10 |
|
Обозначение модификаций |
Климатическое исполнение |
Диапазон измерений, объемная доля, % |
Состав анализируемой среды |
Количество каналов |
Пределы допускаемой основной приведенной погрешности, % |
Диапазон рабочих давлений анализируемой газовой смеси, кПа (мм рт. ст.) |
|
ИБЯЛ.413211.008-180 |
ТМ3 (экспортное) |
от 0 до 1 |
Н2 - N2 (прим.1) |
1 |
±4 |
от 50,6 до 152,0 (от 380 до 1140) |
|
-181 |
от 0 до 2 | |||||
|
-182 |
от 0 до 3 | |||||
|
-183 |
от 0 до 5 | |||||
|
-184 |
от 0 до 10 | |||||
|
-185 |
от 0 до 20 | |||||
|
-190 |
от 0 до 1 |
2 | ||||
|
-191 |
от 0 до 2 | |||||
|
-192 |
от 0 до 3 | |||||
|
-193 |
от 0 до 5 | |||||
|
-194 |
от 0 до 10 | |||||
|
-195 |
от 0 до 20 | |||||
|
-200 |
от 0 до 1 |
3 | ||||
|
-201 |
от 0 до 2 | |||||
|
-202 |
от 0 до 3 | |||||
|
-203 |
от 0 до 5 | |||||
|
-204 |
от 0 до 10 | |||||
|
-205 |
от 0 до 20 | |||||
|
-210 |
от 0 до 1 |
4 | ||||
|
-211 |
от 0 до 2 | |||||
|
-212 |
от 0 до 3 | |||||
|
-213 |
от 0 до 5 | |||||
|
-214 |
от 0 до 10 | |||||
|
-215 |
от 0 до 20 | |||||
|
-220 |
УХЛ4 |
от 0 до 1 |
1 | |||
|
-221 |
от 0 до 2 | |||||
|
-222 |
от 0 до 3 | |||||
|
-223 |
от 0 до 5 | |||||
|
-224 |
от 0 до 10 | |||||
|
-225 |
от 0 до 20 | |||||
|
-230 |
от 0 до 1 |
2 | ||||
|
-231 |
от 0 до 2 | |||||
|
-232 |
от 0 до 3 | |||||
|
-233 |
от 0 до 5 | |||||
|
-234 |
от 0 до 10 | |||||
|
-235 |
от 0 до 20 | |||||
|
-240 |
от 0 до 1 |
3 | ||||
|
-241 |
от 0 до 2 | |||||
|
-242 |
от 0 до 3 | |||||
|
-243 |
от 0 до 5 | |||||
|
-244 |
от 0 до 10 | |||||
|
-245 |
от 0 до 20 |
|
Обозначение модификаций |
Климатическое исполнение |
Диапазон измерений, объемная доля, % |
Состав анализируемой среды |
Количество каналов |
Пределы допускаемой основной приведенной погрешности, % |
Диапазон рабочих давлений анализируемой газовой смеси, кПа (мм рт. ст.) |
|
ИБЯЛ.413211.008-250 |
УХЛ4 |
от 0 до 1 |
Н2 - N2 (прим.1) |
4 |
±4 |
от 50,6 до 152,0 (от 380 до 1140) |
|
-251 |
от 0 до 2 | |||||
|
-252 |
от 0 до 3 | |||||
|
-253 |
от 0 до 5 | |||||
|
-254 |
от 0 до 10 | |||||
|
-255 |
от 0 до 20 | |||||
|
-260 |
ТВ3 (экспортное) |
от 0 до 1 |
1 | |||
|
-261 |
от 0 до 2 | |||||
|
-262 |
от 0 до 3 | |||||
|
-263 |
от 0 до 5 | |||||
|
-264 |
от 0 до 10 | |||||
|
-265 |
от 0 до 20 | |||||
|
-270 |
от 0 до 1 |
2 | ||||
|
-271 |
от 0 до 2 | |||||
|
-272 |
от 0 до 3 | |||||
|
-273 |
от 0 до 5 | |||||
|
-274 |
от 0 до 10 | |||||
|
-275 |
от 0 до 20 | |||||
|
-280 |
от 0 до 1 |
3 | ||||
|
-281 |
от 0 до 2 | |||||
|
-282 |
от 0 до 3 | |||||
|
-283 |
от 0 до 5 | |||||
|
-284 |
от 0 до 10 | |||||
|
-285 |
от 0 до 20 | |||||
|
-290 |
от 0 до 1 |
4 | ||||
|
-291 |
от 0 до 2 | |||||
|
-292 |
от 0 до 3 | |||||
|
-293 |
от 0 до 5 | |||||
|
-294 |
от 0 до 10 | |||||
|
-295 |
от 0 до 20 | |||||
|
-300 |
ТМ3 (экспортное) |
от 60 до 100 |
1 |
от 84,0 до 106,7 (от 630 до 800) | ||
|
-301 |
от 80 до 100 | |||||
|
-302 |
от 90 до 100 | |||||
|
-303 |
от 95 до 100 | |||||
|
-310 |
от 60 до 100 |
2 | ||||
|
-311 |
от 80 до 100 | |||||
|
-312 |
от 90 до 100 | |||||
|
-313 |
от 95 до 100 | |||||
|
-320 |
от 60 до 100 |
3 | ||||
|
-321 |
от 80 до 100 | |||||
|
-322 |
от 90 до 100 | |||||
|
-323 |
от 95 до 100 |
|
Обозначение модификаций |
Климатическое исполнение |
Диапазон измерений, объемная доля, % |
Состав анализируемой среды |
Количество каналов |
Пределы допускаемой основной приведенной погрешности, % |
Диапазон рабочих давлений анализируемой газовой смеси, кПа (мм рт. ст.) |
|
ИБЯЛ.413211.008-330 |
ТМ3 (экспортное) |
от 60 до 100 |
Н2 - N2 (прим.1) |
4 |
±4 |
от 84,0 до 106,7 (от 630 до 800) |
|
-331 |
от 80 до 100 | |||||
|
-332 |
от 90 до 100 | |||||
|
-333 |
от 95 до 100 | |||||
|
-340 |
УХЛ4 |
от 60 до 100 |
1 | |||
|
-341 |
от 80 до 100 | |||||
|
-342 |
от 90 до 100 | |||||
|
-343 |
от 95 до 100 | |||||
|
-350 |
от 60 до 100 |
2 | ||||
|
-351 |
от 80 до 100 | |||||
|
-352 |
от 90 до 100 | |||||
|
-353 |
от 95 до 100 | |||||
|
-360 |
от 60 до 100 |
3 | ||||
|
-361 |
от 80 до 100 | |||||
|
-362 |
от 90 до 100 | |||||
|
-363 |
от 95 до 100 | |||||
|
-370 |
от 60 до 100 |
4 | ||||
|
-371 |
от 80 до 100 | |||||
|
-372 |
от 90 до 100 | |||||
|
-373 |
от 95 до 100 | |||||
|
-380 |
ТВ3 (экспортное) |
от 60 до 100 |
1 | |||
|
-381 |
от 80 до 100 | |||||
|
-382 |
от 90 до 100 | |||||
|
-383 |
от 95 до 100 | |||||
|
-390 |
от 60 до 100 |
2 | ||||
|
-391 |
от 80 до 100 | |||||
|
-392 |
от 90 до 100 | |||||
|
-393 |
от 95 до 100 | |||||
|
-400 |
от 60 до 100 |
3 | ||||
|
-401 |
от 80 до 100 | |||||
|
-402 |
от 90 до 100 | |||||
|
-403 |
от 95 до 100 | |||||
|
-410 |
от 60 до 100 |
4 | ||||
|
-411 |
от 80 до 100 | |||||
|
-412 |
от 90 до 100 | |||||
|
-413 |
от 95 до 100 |
|
Обозначение модификаций |
Климатическое исполнение |
Диапазон измерений, объемная доля, % |
Состав анализируемой среды |
Количество каналов |
Пределы допускаемой основной приведенной погрешности, % |
Диапазон рабочих давлений анализируемой газовой смеси, кПа (мм рт. ст.) |
|
ИБЯЛ.413211.008-420 |
ТМ3 |
от 0 до 3 |
Н2 - N2 (прим.1) |
1 |
±2,5 |
от 84,0 до 106,7 (от 630 до 800) |
|
-421 |
от 0 до 5 | |||||
|
-422 |
от 0 до 10 | |||||
|
-423 |
от 0 до 20 | |||||
|
-424 |
от 0 до 3 |
Н2 - воздух (прим.2) | ||||
|
-430 |
от 0 до 3 |
Н2 - N2 (прим.1) |
2 | |||
|
-431 |
от 0 до 5 | |||||
|
-432 |
от 0 до 10 | |||||
|
-433 |
от 0 до 20 | |||||
|
-434 |
от 0 до 3 |
Н2 - воздух (прим.2) | ||||
|
-440 |
от 0 до 3 |
Н2 - N2 (прим.1) |
3 | |||
|
-441 |
от 0 до 5 | |||||
|
-442 |
от 0 до 10 | |||||
|
-443 |
от 0 до 20 | |||||
|
-444 |
от 0 до 3 |
Н2 - воздух (прим.2) | ||||
|
-450 |
от 0 до 3 |
Н2 - N2 (прим.1) |
4 | |||
|
-451 |
от 0 до 5 | |||||
|
-452 |
от 0 до 10 | |||||
|
-453 |
от 0 до 20 | |||||
|
-454 |
от 0 до 3 |
Н2 - воздух (прим.2) | ||||
|
-460 |
ТМ3 (экспортное) |
от 0 до 3 |
Н2 - N2 (прим.1) |
1 | ||
|
-461 |
от 0 до 5 | |||||
|
-462 |
от 0 до 10 | |||||
|
-463 |
от 0 до 20 | |||||
|
-464 |
от 0 до 3 |
Н2 - воздух (прим.2) | ||||
|
-470 |
от 0 до 3 |
Н2 - N2 (прим.1) |
2 | |||
|
-471 |
от 0 до 5 | |||||
|
-472 |
от 0 до 10 | |||||
|
-473 |
от 0 до 20 | |||||
|
-474 |
от 0 до 3 |
Н2 - воздух (прим.2) | ||||
|
-480 |
от 0 до 3 |
Н2 - N2 (прим.1) |
3 | |||
|
-481 |
от 0 до 5 | |||||
|
-482 |
от 0 до 10 | |||||
|
-483 |
от 0 до 20 | |||||
|
-484 |
от 0 до 3 |
Н2 - воздух (прим.2) |
|
Обозначение модификаций |
Климатическое исполнение |
Диапазон измерений, объемная доля, % |
Состав анализируемой среды |
Количество каналов |
Пределы допускаемой основной приведенной погрешности, % |
Диапазон рабочих давлений анализируемой газовой смеси, кПа (мм рт. ст.) |
|
ИБЯЛ.413211.008-490 |
ТМ3 (экспортное) |
от 0 до 3 |
Н2 - N2 (прим.1) |
4 |
±2,5 |
от 84,0 до 106,7 (от 630 до 800) |
|
-491 |
от 0 до 5 | |||||
|
-492 |
от 0 до 10 | |||||
|
-493 |
от 0 до 20 | |||||
|
-494 |
от 0 до 3 |
Н2 - воздух (прим.2) | ||||
|
-500 |
УХЛ4 |
от 0 до 3 |
Н2 - N2 (прим.1) |
1 | ||
|
-501 |
от 0 до 5 | |||||
|
-502 |
от 0 до 10 | |||||
|
-503 |
от 0 до 20 | |||||
|
-504 |
от 0 до 3 |
Н2 - воздух (прим.2) | ||||
|
-510 |
от 0 до 3 |
Н2 - N2 (прим.1) |
2 | |||
|
-511 |
от 0 до 5 | |||||
|
-512 |
от 0 до 10 | |||||
|
-513 |
от 0 до 20 | |||||
|
-514 |
от 0 до 3 |
Н2 - воздух (прим.2) | ||||
|
-520 |
от 0 до 3 |
Н2 - N2 (прим.1) |
3 | |||
|
-521 |
от 0 до 5 | |||||
|
-522 |
от 0 до 10 | |||||
|
-523 |
от 0 до 20 | |||||
|
-524 |
от 0 до 3 |
Н2 - воздух (прим.2) | ||||
|
-530 |
от 0 до 3 |
Н2 - N2 (прим.1) |
4 | |||
|
-531 |
от 0 до 5 | |||||
|
-532 |
от 0 до 10 | |||||
|
-533 |
от 0 до 20 | |||||
|
-534 |
от 0 до 3 |
Н2 - воздух (прим.2) | ||||
|
-540 |
ТВ3 (экспортное) |
от 0 до 3 |
Н2 - N2 (прим.1) |
1 | ||
|
-541 |
от 0 до 5 | |||||
|
-542 |
от 0 до 10 | |||||
|
-543 |
от 0 до 20 | |||||
|
-544 |
от 0 до 3 |
Н2 - воздух (прим.2) | ||||
|
-550 |
от 0 до 3 |
Н2 - N2 (прим.1) |
2 | |||
|
-551 |
от 0 до 5 | |||||
|
-552 |
от 0 до 10 | |||||
|
-553 |
от 0 до 20 | |||||
|
-554 |
от 0 до 3 |
Н2 - воздух (прим.2) |
|
Обозначение модификаций |
Климатическое исполнение |
Диапазон измерений, объемная доля, % |
Состав анализируемой среды |
Количество каналов |
Пределы допускаемой основной приведенной погрешности, % |
Диапазон рабочих давлений анализируемой газовой смеси, кПа (мм рт. ст.) |
|
ИБЯЛ.413211.008-560 |
ТВ3 (экспортное) |
от 0 до 3 |
Н2 - N2 (прим.1) |
3 |
±2,5 |
от 84,0 до 106,7 (от 630 до 800) |
|
-561 |
от 0 до 5 | |||||
|
-562 |
от 0 до 10 | |||||
|
-563 |
от 0 до 20 | |||||
|
-564 |
от 0 до 3 |
Н2 - воздух (прим.2) | ||||
|
-570 |
от 0 до 3 |
Н2 - N2 (прим.1) |
4 | |||
|
-571 |
от 0 до 5 | |||||
|
-572 |
от 0 до 10 | |||||
|
-573 |
от 0 до 20 | |||||
|
-574 |
от 0 до 3 |
Н2 - воздух (прим.2) |
Примечания:
1 Состав анализируемой среды:
- объемная доля кислорода (О2) % - от 0 до 5;
- объемная доля аммиака (NH3), % - от 0 до 5;
- массовая концентрация сероводорода (H2S), мг/м3 - от 0 до 10;
- водород (Н2) и азот (N2) остальное.
2 Воздух рабочей зоны с содержанием вредных веществ согласно ГОСТ 12.1.005-88.
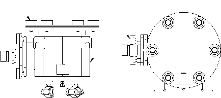
Общий вид средства измерений представлен на рисунке 1.
а) преобразователь измерительный
б) преобразователь первичный
Рисунок 1 - Общий вид средства измерений
Схема пломбировки от несанкционированного доступа представлена на рисунке 2.
канал 4
г) газоанализатор четырехканальный
Рисунок 2 - Схема пломбировки от несанкционированного доступа
д) ПИП газоанализатора
Программное обеспечение отсутствует.
Технические характеристики
Таблица 2 - Метрологические характеристики
|
Наименование характеристики |
Значение |
|
Диапазон измерений, объемная доля, % |
В соответствии с таблицей 1 |
|
Пределы допускаемой основной приведенной погрешности, % |
В соответствии с таблицей 1 |
|
Пределы допускаемой вариации показаний, в долях от пределов допускаемой основной приведенной погрешности |
0,5 |
|
Номинальная функция преобразования по выходному сигналу постоянного тока I, мА |
A-Ai i=и +----— (ia-и) * Aa - Ai |
|
Диапазон изменений значения выходного сигнала постоянного тока, мА: - для выходного сигнала (4 - 20) - для выходного сигнала (0 - 5) |
от 3 до 23 от 0 до 6 |
|
Пределы допускаемой дополнительной погрешности при изменении температуры окружающего воздуха от 5 до 50 °С на каждые 10 °С от температуры определения основной приведенной погрешности в долях от пределов допускаемой основной приведенной погрешности |
0,6 |
|
Пределы допускаемой дополнительной приведенной погрешности при изменении температуры окружающей среды от рабочей до предельной (от 1 до 5 °С и от 50 до 60 °С в течение 6 ч) на каждые 10 °С в долях от пределов допускаемой основной приведенной погрешности |
1,0 |
|
Пределы допускаемой дополнительной приведенной погрешности при изменении давления анализируемой газовой смеси (пробы): а) для газоанализаторов с диапазоном давления анализируемой газовой смеси (пробы) от 84,0 до 106,7 кПа (от 630 до 800 мм рт. ст.) на каждые 10 кПа (75 мм рт. ст.) от давления при корректировке газоанализаторов в долях от пределов допускаемой основной приведенной погрешности б) для газоанализаторов с диапазоном давления анализируемой газовой смеси (пробы) от 84 до 152 кПа (от 630 до 1140 мм рт. ст.) и от 50,6 до 152,0 кПа (от 380 до 1140 мм рт. ст.) на каждые 10 кПа (75 мм рт. ст.) от давления при корректировке газоанализаторов в долях от пределов допускаемой основной приведенной погрешности |
0,5 0,25 |
|
Пределы допускаемой дополнительной погрешности при воздействии синусоидальной вибрации частотой от 1 до 120 Гц ускорением 9,8 м/с2 в долях от пределов допускаемой основной приведенной погрешности |
0,5 |
|
Время прогрева газоанализаторов, мин, не более |
180 |
|
Предел допускаемого времени установления показаний То,9ном, с |
180 |
|
Предел допускаемого интервала времени непрерывной работы газоанализаторов без корректировки показаний по ГСО-ПГС, суток |
30 |
|
Погрешность срабатывания сигнализации, в долях от пределов допускаемой основной приведенной погрешности, не более |
0,5 |
|
Наименование характеристики |
Значение |
|
Нормальные условия измерений - температура окружающей среды, °С - относительная влажность, % - атмосферное давление, кПа |
от 15 до 25 от 45 до 75 от 97,3 до 105,3 |
|
* где 1в, 1н - значение верхнего и нижнего пределов диапазона выходного сигнала, мА; А - содержание определяемого компонента в анализируемой газовой смеси, объемная доля, %; Ав, Ан - верхний и нижний пределы диапазона измерений, объемная доля, %. | |
Таблица 3 - Основные технические характеристики
|
Наименование характеристики |
Значение |
|
Параметры электрического питания: |
220+22-33 |
|
- напряжение переменного тока, В | |
|
- частота переменного тока, Гц: | |
|
а) длительно в диапазоне частот, Гц |
от 49,0 до 50,5 |
|
б) до 5 мин однократно, но не более 750 мин в течение срока | |
|
эксплуатации в диапазонах частот, Гц |
от 47,5 до 49,0 от 50,5 до 52,5 |
|
в) до 30 с однократно, но не более 300 мин в течение срока | |
|
эксплуатации в диапазоне частот, Гц |
от 46,0 до 47,5 |
|
Потребляемая мощность на 1 канал, ВА, не более |
22 |
|
Габаритные размеры средства измерений, мм, не более: | |
|
- ИП одноканальный |
160 |
|
а) высота |
215 |
|
б) ширина |
285 |
|
в) длина - ИП двухканальный | |
|
а) высота |
160 |
|
б) ширина |
300 |
|
в) длина |
285 |
|
- ИП трехканальный | |
|
а) высота |
160 |
|
б) ширина |
400 |
|
в) длина |
285 |
|
- ИП четырехканальный | |
|
а) высота |
160 |
|
б) ширина |
480 |
|
в) длина |
285 |
|
- ПИП | |
|
а) высота |
195 |
|
б) ширина |
200 |
|
в)длина |
260 |
|
Масса, кг, не более: | |
|
- ИП одноканальный |
5 |
|
- ИП двухканальный |
6 |
|
- ИП трехканальный |
7 |
|
- ИП четырехканальный |
8 |
|
- ПИП |
10 |
|
Наименование характеристики |
Значение |
|
Условия эксплуатации: - диапазон температуры окружающей среды, °С - предельные рабочие значения температуры окружающей среды в течение не более 6 ч, °С - диапазон относительной влажности окружающей среды при температуре 35 °С и более низких температурах без конденсации влаги, %, не более - атмосферное давление кПа (мм рт. ст.) - синусоидальная вибрация: а) частотой, Гц б) ускорением, м/с2 - напряженность внешнего однородного переменного магнитного поля, А/м, не более - напряженность внешнего однородного переменного электрического поля, кВ/м, не более - рабочее положение ПИП вертикальное, угол наклона в любом направлении, °, не более |
от +5 до +50 от +1 до +5 от +50 до +60 98 от 84,0 до 106,7 (от 630 до 800) от 1 до 120 9,8 400 10 5 |
|
Назначенный срок службы, лет, не менее Средняя наработка на отказ, ч |
10 50000 |
|
Класс защиты человека от поражения электрическим током по ГОСТ 12.2.007.0-75 |
I |
|
Газоанализаторы соответствуют требованиям к электромагнитной совместимости по ТР ТС 020/2011, группа исполнения по ГОСТ 32137-2013 |
IV |
|
Степень защиты газоанализаторов по ГОСТ 14254-2015: - ИП - ПИП |
IP20 IP65 |
|
Маркировка взрывозащиты ПИП |
1ExdIICT6 |
Знак утверждения типа
наносится на табличку, расположенную на газоанализаторах, методом фотохимпечати, и на титульный лист руководства по эксплуатации типографским способом.
Комплектность
Таблица 4 - Комплектность средства измерений
|
Наименование |
Обозначение |
Количество |
|
Газоанализатор ГТВ-1101ВЗ-А |
1 - |
1 шт. |
|
Комплект ЗИП |
2 - |
1 компл. |
|
Ведомость эксплуатационных документов |
1 - |
1 экз. |
|
Ведомость ЗИП |
ИБЯЛ.413211.008 ЗИ |
1 экз. |
|
Монтажный чертеж |
ИБЯЛ.413211.008 МЧ |
1 экз. |
|
Монтажный чертеж |
ИБЯЛ.413211.008-01 МЧ |
1 экз. |
|
Руководство по эксплуатации |
3 - |
1 экз. |
|
Формуляр |
3 - |
1 экз. |
|
Наименование |
Обозначение |
Количество |
|
Методика поверки |
МП-242-0596-2007 |
1 экз. |
|
Примечания 1 Согласно исполнению. 2 Согласно ведомости ЗИП. 3 Согласно ведомости эксплуатационных документов. | ||
Поверка
осуществляется по документу МП-242-0596-2007 «Газоанализаторы ГТВ-1101ВЗ-А. Методика
поверки», утвержденному ГЦИ СИ ФГУП «ВНИИМ им. Д.И. Менделеева» 19 июля 2007 г.
Основные средства поверки:
- стандартные образцы состава газовых смесей № 10465-2014 H2 в азоте;
- азот газообразный особой (или повышенной) чистоты ГОСТ 9293-74;
- водород технический ГОСТ 3022-80.
Допускается применение аналогичных средств поверки, обеспечивающих определение метрологических характеристик поверяемых СИ с требуемой точностью.
Знак поверки наносится на свидетельство о поверке.
Сведения о методах измерений
приведены в эксплуатационном документе.
Нормативные документы
ГОСТ 13320-81 Газоанализаторы промышленные автоматические. Общие технические
условия
ГОСТ 25804.1-83-ГОСТ 25804.8-83 Аппаратура, приборы, устройства и оборудования систем управления технологическими процессами атомных электростанций
ГОСТ 8.578-2002 ГСИ. Государственная поверочная схема для средств измерений
содержания компонентов в газовых средах
ИБЯЛ.413211.008 ТУ Газоанализаторы ГТВ-1101ВЗ-А. Технические условия
ОТТ 08042462 Приборы и средства автоматизации для атомных станций. Общие технические требования
ТР ТС 012/2011. Технический регламент Таможенного союза. О безопасности оборудования для работы во взрывоопасных средах
ТР ТС 020/2011. Технический регламент Таможенного союза. Электромагнитная
совместимость технических средств
Другие Газоанализаторы