Пирометры прецизионные ПД-4 модификаций ПД-4-01, ПД-4-02, ПД-4-03, ПД-4-04, ПД-4-05, ПД-4-06
| Номер в ГРСИ РФ: | 29468-05 |
|---|---|
| Категория: | Пирометры |
| Производитель / заявитель: | ОАО "НПП "Эталон", г.Омск |
|
29468-05: Описание типа
2020-29468-05.pdf
|
Скачать | 98 КБ |
Для бесконтактного измерения температуры объектов в диапазоне 800...2500 °С (мод. ПД-4-01. ПД-4-02. ПД-4-03, ПД-4-04. ПД-4-05. ПД-4-06, для высокоточного измерения, контроля и регулирования температуры объектов по их собственному излучению (мод. ПД-4-01, ПД-4-02. ПД-4-03, ПД-4-04. ПД-4-05,ПД-4-06) в различных отраслях промышленности, а также при проведении научных исследований.
Информация по Госреестру
| Основные данные | |
|---|---|
| Номер по Госреестру | 29468-05 |
| Действует | по 21.08.2030 |
| Наименование | Пирометры прецизионные |
| Модель | ПД-4 модификаций ПД-4-01, ПД-4-02, ПД-4-03, ПД-4-04, ПД-4-05, ПД-4-06 |
| Характер производства | Серийное |
| Идентификатор записи ФИФ ОЕИ | bc5cbb3c-5291-1a0f-5826-e913dba95651 |
| Год регистрации | 2010 |
| Общие данные | |
|---|---|
| Технические условия на выпуск | ТУ 4211-012-02566540-2004 |
| Класс СИ | 32.02 |
| Год регистрации | 2010 |
| Страна-производитель | Россия |
| Центр сертификации СИ | |
| Наименование центра | Экспертиза Росстандарта |
| Телефон | () |
| Информация о сертификате | |
| Срок действия сертификата | 01.08.2015 |
| Номер сертификата | 21097 |
| Тип сертификата (C - серия/E - партия) | С |
| Дата протокола | 03д2 от 29.07.10 п.59310 от 30.06.05 п.24 |
Производитель / Заявитель
Открытое акционерное общество «Научно-производственное предприятие «Эталон» (ОАО «НПП «Эталон»), г. Омск
Россия
644009, ул.Лермонтова, 175, тел. (381-2) 33 8400, факс 33 7882, E-mail: fgup@omsketalon.ru, etalon@omskelecom.ru
Поверка
| Методика поверки / информация о поверке | МП ВНИИМ |
| Межповерочный интервал / Периодичность поверки |
1 год
|
| Зарегистрировано поверок | |
| Найдено поверителей | |
| Успешных поверок (СИ пригодно) | 256 (98%) |
| Неуспешных поверок (СИ непригодно) | 6 (2 %) |
| Актуальность информации | 29.03.2026 |
Поверители
Скачать
|
29468-05: Описание типа
2020-29468-05.pdf
|
Скачать | 98 КБ |
Описание типа
Назначение
Пирометры прецизионные ПД-4 модификаций ПД-4-01, ПД-4-02, ПД-4-03, ПД-4-04, ПД-4-05, ПД-4-06 предназначен для бесконтактного измерения температуры объектов в диапазоне от 800°С до 2 500 °С.
Описание
Принцип действия пирометров прецизионных ПД-4 модификаций ПД-4-01, ПД-4-02, ПД-4-03, ПД-4-04, ПД-4-05, ПД-4-06 (далее - пирометры) основан на преобразовании излучения нагретых поверхностей на длинах волн (650±200), (950±200), (656,3±10), (950±10) и (1550±200) нм (в зависимости от исполнения) в унифицированный электрический сигнал постоянного тока.
Информация о температурном состоянии объекта выдается на линейный токовый выход (4...20) мА, (0...20) мА, (0...5) мА. По последовательному каналу RS-232 возможно подключение к персональному компьютеру.
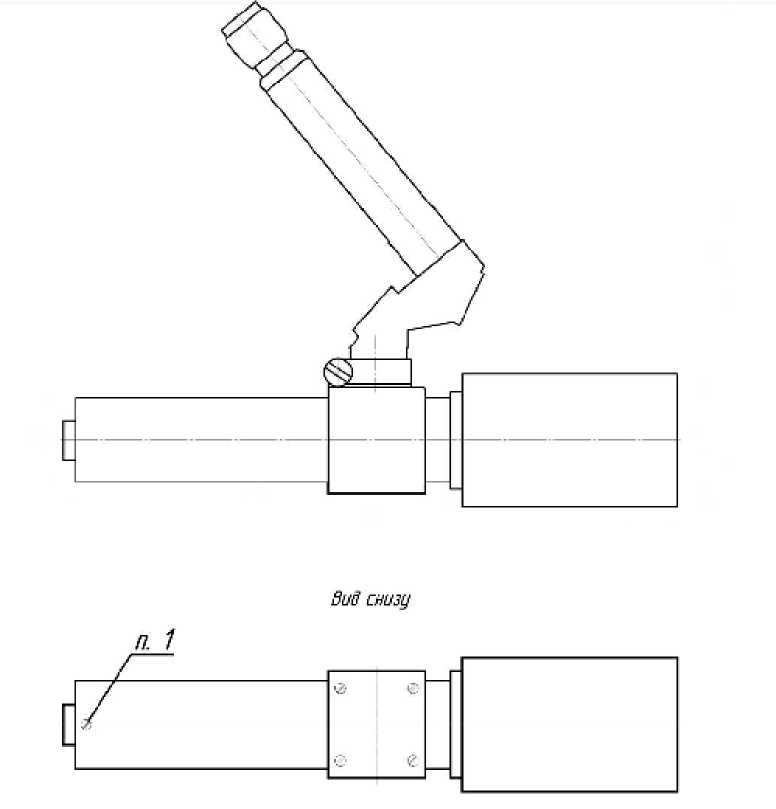
Внешний вид и схема пломбирования пирометров приведены на рисунках 1 и 2 соответственно.
Рисунок 1 - Внешний вид
Рисунок 2 - Схема пломбирования:
п.1 - Место установки пломбы для защиты от несанкционированного доступа.
Программное обеспечение
Внутреннее программное обеспечение записано в блок цифровой обработки, выполняющий следующие функции:
- вычисление температуры объекта;
- формирование выходных сигналов контроллера;
- реализация алгоритмов обработки;
- организация связи с компьютером.
Уровень защиты программного обеспечения и измерительной информации в соответствии с Р 50.2.077-2011 - «высокий».
Идентификационные данные программного обеспечения приведены в таблице 1. Таблица 1
|
Идентификационные данные (признаки) |
Значение |
|
Идентификационное наименование ПО |
Сервисное ПО «Piro Visual»: PiroVisual.exe |
|
Номер версии (идентификационный номер ПО) |
1.1 |
|
Цифровой идентификатор ПО |
MD5 (RFC1321): 9e941b8781d435cf2121ce58d4d52cc9 |
|
Другие идентификационные данные (если имеются) |
- |
Технические характеристики
Основные метрологические технические характеристики пирометров приведены в
таблице 2.
Таблица 2
|
Наименование характеристики |
Значение |
|
Диапазон измерений температуры, °С: - для ПД-4-01 - для ПД-4-02 - для ПД-4-03, ПД-4-06 - для ПД-4-04 - для ПД-4-05 |
от 1 000 до 2 500 от 800 до 2 300 от 1 200 до 2 500 от 1 000 до 2 300 от 800 до 2 500 |
|
Пределы допускаемой основной приведенной погрешности, %: - для ПД-4-01, ПД-4-02, ПД-4-05 - для ПД-4-03, ПД-4-04 - для ПД-4-06 |
±0,50 ±0,25 ±0,20 |
|
Показатель визирования: - для ПД-4-01, ПД-4-02, ПД-4-05 - для ПД-4-03, ПД-4-04 - для ПД-4-06 |
1:100 1:300 1:500 |
|
Эффективная длина волны, нм: - для ПД-4-01 - для ПД-4-02 - для ПД-4-03, ПД-4-06 - для ПД-4-04 - для ПД-4-05 |
650,0±200,0 950,0±200,0 656,3±10,0* 950,0±10,0* 1550,0±200,0 |
|
Время установления рабочего режима, с |
900 |
|
Время установления показаний, с |
0,05 |
|
Пределы допускаемой дополнительной погрешности, вызванной изменением температуры окружающей среды в пределах рабочего диапазона температур, в долях от основной погрешности на каждые 10 °С |
0,5 |
|
Габаритные размеры, мм, не более: - для ПД-4-01, ПД-4-02, ПД-4-03, ПД-4-04, ПД-4-05 - для ПД-4-06 |
57x300x257 82x310x379 |
|
Масса, кг, не более |
1,5 |
|
Напряжение питания, В |
18,0±0,5 |
|
Потребляемая мощность, ВА, не более |
10 |
|
Условия эксплуатации: - температура окружающей среды, °С: - ПД-4-01, ПД-4-02, ПД-4-05 - ПД-4-03, ПД-4-04, ПД-4-06 - относительная влажность окружающего воздуха, % |
от 5 до 40 от 18 до 22 от 10 до 80 |
|
Условия транспортирования и хранения: - температура окружающей среды, °С - относительная влажность окружающего воздуха, % |
от минус 50 до плюс 50 от 10 до 90 |
|
Средний срок службы, лет, не менее |
9 |
|
Примечание: * - обеспечивается интерференционным фильтром. Значение эффективной длины волны приводится в паспорте прибора. | |
Знак утверждения типа
наносится на титульный лист паспорта и руководства по эксплуатации типографическим способом и на прибор в виде наклейки.
Комплектность
Комплектность приведена в таблице 3.
Таблица 3
|
Наименование |
Количество |
|
Пирометр прецизионный ПД-4 |
1 шт. |
|
Кабель |
1 шт. |
|
Труба визирная |
1 шт. |
|
Фотообъектив |
1 шт. |
|
Светофильтр |
1 шт. |
|
Блок питания |
1 шт. |
|
Монтажная арматура (держатель)* |
1 шт. |
|
Программное обеспечение |
1 компл. |
|
Руководство по эксплуатации |
1 экз. |
|
Паспорт |
1 экз. |
|
Методика поверки |
1 экз. |
|
Примечание: * - поставляется по отдельному заказу | |
Поверка
осуществляется по методике поверки МП 29468-05 «Пирометр прецизионный ПД-4 модификаций ПД-4-01, ПД-4-02, ПД-4-03, ПД-4-04, ПД-4-05, ПД-4-06. Методика поверки», утвержденной ГЦИ СИ «ВНИИМ им Д.И. Менделеева» 20.04.2005 г.
Основные средства поверки:
- эталонный излучатель I-го разряда в виде модели АЧТ в соответствии с ГОСТ 8.558-2009;
- рабочий эталон температуры (набор температурных ламп) калиброванный в эффективных длинах волн 650 и 950 нм;
- миллиамперметр постоянного тока: от 0 до 20 мА; КТ 0,025;
- пробойная установка УПУ-1М: 500 В; 50 Гц; 0,25 кВт;
- мегаомметр: 20 МОм; КТ 2,5;
- установка для определения показателя визирования по МИ 1200-86;
- компьютер IBM совместимый СОМ-портом.
Сведения о методах измерений
ДДШ 2.820.011 ПС «Пирометр прецизионный ПД-4. Паспорт».
Нормативные документы
1. ГОСТ 8.558-2009 «ГСИ. Государственная поверочная схема для средств измерений температуры»;
2. ГОСТ 28243-96 «Пирометры. Общие технические требования»;
3. ТУ 4211-012-02566540-2004 «Пирометр прецизионный ПД-4. Технические условия»
Другие Пирометры
