Дозиметры-радиометры МКС-АТ1117М
| Номер в ГРСИ РФ: | 29551-13 |
|---|---|
| Категория: | Радиометры |
| Производитель / заявитель: | УП "Атомтех", Беларусь, г.Минск |
Для измерения: амбиентного эквивалента дозы и мощности амбиентного эквивалента дозы рентгеновского и гамма-излучения в широком диапазоне; экспозиционной дозы и мощности экспозиционной дозы рентгеновского и гамма-излучения; плотности потока и флюенса альфа-частиц 239 Pu и бета-частиц с загрязненных поверхностей; поверхностной активности 239Pu и 90Sr+90Y; амбиентного эквивалента дозы и мощности амбиентного эквивалента дозы нейтронного излучения; плотности потока и флюенса тепловых, промежуточных и быстрых нейтронов с известным энергетическим распределением, а также оперативного поискаисточников ионизирующих излучений и радиоактивных материалов. Относятся к носимым средствам измерения и может эксплуатироваться в лабораторных и полевых условиях службами радиационной безопасности, на предприятиях, применяющих источники ионизирующего излучения, для контроля уровней облучения медицинского персонала, работающего с источниками ионизирующего излучения.
Информация по Госреестру
| Основные данные | |
|---|---|
| Номер по Госреестру | 29551-13 |
| Действует | по 29.09.2020 |
| Наименование | Дозиметры-радиометры |
| Модель | МКС-АТ1117М |
| Характер производства | Серийное |
| Идентификатор записи ФИФ ОЕИ | f4d98e47-0b2f-8bbf-7dc4-af889aac1643 |
| Год регистрации | 2013 |
| Общие данные | |
|---|---|
| Класс СИ | 38.02 |
| Год регистрации | 2013 |
| Страна-производитель | Беларусь |
| Примечание | 18.12.2013 утвержден вместо 29551-08 |
| Информация о сертификате | |
| Срок действия сертификата | 18.12.2018 |
| Тип сертификата (C - серия/E - партия) | C |
| Дата протокола | Приказ 1482 п. 12 от 18.12.201305 от 18.04.08 п.258 |
Производитель / Заявитель
НПУП "Атомтех" ОАО "МНИПИ" (УП "Атомтех"), Беларусь, г.Минск
Беларусь
220040, ул.Гикало, 5, тел. +375 17 284-40-16, 232-82-42, факс +375 17 232-81-42, E-mail: atomtex@belsonet.net, info@atomtex.com
Поверка
| Методика поверки / информация о поверке | Раздел 6 Руководства по эксплуатации |
| Межповерочный интервал / Периодичность поверки |
1 год
|
| Зарегистрировано поверок |
4488
|
| Найдено поверителей | |
| Успешных поверок (СИ пригодно) | 4354 (97%) |
| Неуспешных поверок (СИ непригодно) | 134 (3 %) |
| Актуальность информации | 10.04.2026 |
Поверители
Скачать
|
29551-13: Описание типа
2016-29551-13.pdf
|
Скачать | 424.4 КБ | |
|
29551-13: Методика поверки
2022-mp29551-13.pdf
|
Скачать | 91.9 КБ |
Описание типа
Назначение
Дозиметры-радиометры МКС-АТ1117М (далее по тексту - приборы) предназначены для измерений:
- амбиентного эквивалента дозы и мощности амбиентного эквивалента дозы рентгеновского и гамма-излучения;
- кермы в воздухе и мощности кермы в воздухе рентгеновского и гамма-излучения;
- амбиентного эквивалента дозы и мощности амбиентного эквивалента дозы нейтронного излучения;
- направленного эквивалента дозы и мощности направленного эквивалента дозы рентгеновского и гамма-излучения;
- плотности потока и флюенса альфа-частиц 239Pu и бета-частиц с загрязненных поверхностей;
- плотности потока и флюенса нейтронного излучения с известным энергетическим распределением;
- поверхностной активности и числа распадов 239Pu и 90 Sr + 90Y, а также для оперативного поиска источников ионизирующих излучений и радиоактивных материалов.
Описание
Принцип действия дозиметров - радиометров МКС-АТ1117 основан на взаимодействии излучения с веществом детекторов блоков детектирования и возникновении сцинтилляций (сцинтилляционные детекторы) или носителей заряда (газоразрядные счетчики), которые затем преобразуются в электрические импульсы, амплитуда которых пропорциональна энергии излучения, а скорость счета пропорциональна потоку частиц, попадающих в детектор. Преобразование этих данных в измеряемые величины (мощность дозы, дозу, плотность потока, флюенс, поверхностную активность) производится прибором автоматически с учетом предварительно сделанной градуировки по эталонам, воспроизводящим соответствующую физическую величину.
Прибор состоит из блоков обработки информации (БОИ, БОИ2) и набора блоков детектирования (БД), выполняющих различные функции.
Принцип действия БД, предназначенных для измерений малых уровней рентгеновского, гамма-, альфа-, бета-излучения (БДКГ-03, БДКГ-04, БДКГ-05, БДКГ-11, БДКГ-24, БДКГ-30, БДКР-01, БДПА-01, БДПА-02, БДПБ-01, БДПБ-02), основан на использовании высокочувствительного метода сцинтилляционных измерений с применением детекторов NaI(Tl) размерами диаметр 25 х 40 мм (БДКГ-03), диаметр 40 х 40 мм (БДКГ-05), диаметр 63х63 мм (БДКГ-11), диаметр 9 х 2 мм (БДКР-01), ZnS(Ag) диаметр 60 мм (БДПА-01), диаметр 119 мм (БДПА-02), пластмассовых детекторов размерами диаметр 30 х 15 мм
(БДКГ-04), диаметр 50 х 40 мм (БДКГ-24, БДКГ-30), диаметр 60 х 1 мм (БДПБ-01), диаметр 119 х 1 мм (БДПБ-02) и фотоэлектронных умножителей (ФЭУ). Для повышения стабильности измерений в БД применена система светодиодной стабилизации измерительного тракта, которая одновременно обеспечивает проверку работоспособности всего тракта в процессе работы.
В БДКГ-03, БДКГ-05, БДКГ-11 и БДКР-01 при измерении мощности дозы и дозы использован спектрометрический метод, при котором энергетический диапазон разбит на 512 каналов, сгруппированных в 13 окон.
В БДПА-01, БДПА-02, БДПБ-01, БДПБ-02 при измерении плотности потока и флюенса также использован спектрометрический метод, при котором энергетический диапазон разбит на 256 каналов.
В БДКГ-01, БДКГ-09, БДКГ-17, БДКН-01, БДКН-03, БДПС-02, БОИ и БОИ2 используются газоразрядные счетчики. Благодаря энергокомпенсирующим фильтрам эффективно реализуется коррекция энергетической зависимости во всем диапазоне регистрируемых энергий.
Алгоритм работы обеспечивает непрерывность процесса измерения, вычисление "скользящих" средних значений и оперативное представление получаемой информации на табло, статистическую обработку результатов измерений и оценку статистических флуктуаций в темпе поступления сигналов от детектора, быструю адаптацию к изменению уровней радиации.
Преобразование временных распределений в непосредственно измеряемые физические величины (мощность дозы, дозу, плотность потока, флюенс, поверхностную активность) осуществляется автоматически.
Управление режимами работы прибора, выполнение вычислений, хранение и индикация результатов измерения, самодиагностика осуществляется микропроцессорными устройствами блоков.
Обмен данными между БД и БОИ (БОИ2) осуществляется по интерфейсу RS232.
Приборы обеспечивают возможность передачи результатов измерений в персональный компьютер (ПК) по интерфейсу RS232 через COM-порт или через порт USB.
Подключение блоков детектирования БДКГ-03, БДКГ-05, БДКГ-11, БДКР-01, БДПА-01, БДПА-02, БДПБ-01, БДПБ-02 непосредственно к ПК позволяет наблюдать аппаратурные спектры регистрируемого излучения.
Приборы обеспечивают возможность передачи результатов измерений по радиоканалу Bluetooth в КПК, записи их в память с указанием даты, времени и координат точек измерений.
Прибор относится к носимым средствам измерения и может эксплуатироваться в лабораторных и полевых условиях службами радиационной безопасности, на предприятиях, применяющих источники ионизирующего излучения, для контроля уровней облучения медицинского персонала, работающего с источниками ионизирующего излучения.
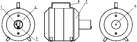
Общий вид блоков обработки информации (БОИ и БОИ2) приведен на рисунке 1, блоков детектирования - на рисунке 2.
П— Пломба
Рисунок 1 - Общий вид блоков обработки информации
Пломба
БДКГ-03
(1 -корпус; 2 - риска центра детектора;
3 - соединитель;4 - пломба; 5 - шильдик)
БДКГ-01, БДКГ-09
(1 - корпус; 2 - риски, обозначающие центры детекторов; 3 - пломба; 4 - соединитель;
5 - шильдик)
1 2 3 4 5
БДКГ-04
(1 - соединитель; 2 - шильдик; 3 - пломба;
4- колпачок; 5 - экран)
1 2 3 4
БДКГ-05
(1 - соединитель; 2 - пломба; 3 - шильдик;
4 - риска центра детектора; 5 - метка центра детектора)
БДКГ-11
(1 - соединитель; 2 - пломба; 3 - шильдик;
4 - корпус БД)
БДПА-01, БДПБ-01
(1 - крышка; 2 -корпус БД; 3 - соединитель;
4 - пломба; 5 - шильдик)
БДКГ-17
(1- корпус; 2- пломба; 3 - соединитель;
4 - шильдик; 5 - риска, обозначающая центр детектора)
БДПА-02, БДПБ-02
(1 - крышка; 2 - корпус БД; 3 - соединитель; 4 - пломба; 5 - шильдик)
БДПС-02
(1 - корпус БД; 2 - соединитель ; 3 - шарнир ;
4 - съемная ручка; 5 - шильдик; 6 - крышка-фильтр; 7 - фиксатор положения ручки)
БДКН-01
(1 - корпус; 2 - съемная ручка;
3 - соединитель; 4 - фиксатор ручки;
5 - шильдик; 6 - пломба)
БДКН-03
(1 - пломба; 2 - шильдик; 3 -соединитель;
4 - ручка; 5 - корпус БД;
6 - метка для градуировки)
БДКР-01
(1 -корпус; 2 - риска центра детектора;
3 - соединитель;4 - пломба; 5 - шильдик)
Рисунок 2 - Общий вид блоков детектирования
Программное обеспечение
Программное обеспечение (ПО) дозиметра-радиометра МКС-АТ1117М состоит из встроенного и прикладного.
Встроенное ПО размещается в энергонезависимой части памяти микропроцессора, запись которой осуществляется на стадии производства в БОИ (БОИ2), БД, адаптер BT-DU4, УС. Встроенное ПО обеспечивает взаимодействие БОИ (БОИ2) с БД, отображение на их дисплее результатов измерений и сообщений о неисправностях, управление режимами работы прибора. Доступа к цифровому идентификатору нет.
Внешнее ПО состоит из программ «ATexch», «AT1117M_mobile» и «GARM».
Внешнее ПО «ATexch» предназначено для обмена данными с ПК, позволяет получать и отображать на экране компьютера полученные результаты измерений, а также сохранять их.
Внешнее ПО «АТ1117М_тоЫ1е» предназначено для обмена данными с КПК и позволяет получать, отображать и сохранять полученные данные с указанием даты, времени и координат точек измерений в КПК.
Программа «GARM» предназначена для отображения на ПК данных, полученных и обработанных прибором с привязкой к местности. Программа «GARM» не является метрологически значимой.
Таблица 1 - Идентификационные данные метрологически значимого ПО
|
Идентификационные данные (признаки) |
Значение |
|
Идентификационное наименование ПО |
ATexch.exe |
|
Номер версии (идентификационный номер) ПО |
1.1.6.107 l.x.y.z 1) |
|
Цифровой идентификатор ПО (MD5) |
b78b4712e5ee7b37798eee83d6d109232) |
|
Идентификационное наименование ПО |
АТ1117М_тоЫ1е |
|
Идентификационные данные (признаки) |
Значение |
|
Номер версии (идентификационный номер) ПО |
1.1.0.127 l.x.y.z 1) |
|
Цифровой идентификатор ПО (MD5) |
F1fff30066d30eec8e74e5394f658f942) |
|
1) x = [от 0 до 9], у = [от 0 до 9], z = [от 1 до 999]; 2) Цифровой идентификатор ПО дан только для текущей версий ПО. Актуальный номер версии и идентификационные данные ПО вносятся в раздел «Свидетельство о приемке» РЭ и в протокол поверки при первичной поверке. | |
Влияние ПО учтено при нормировании метрологических характеристик.
В соответствии с Р 50.2.077-2014 уровень защиты встроенного ПО дозиметров - радиометров МКС-АТ1117М от непреднамеренных и преднамеренных изменений соответствует уровню «высокий», уровень защиты прикладного ПО соответствует уровню «средний».
Технические характеристики
Таблица 2 - Основные метрологические и технические характеристики дозиметров-радиометров МКС-АТ1117М
|
Характеристика |
Значение |
|
Диапазон измерений мощности амбиентного эквивалента дозы рентгеновского и гамма-излучения: - БОИ - БОИ2 - БДКГ-01 - БДКГ-03 - БДКГ-04 - БДКГ-05 - БДКГ-09 - БДКГ-11 - БДКГ-17 - БДКГ-24 - БДПС-02 |
от 1,00 мкЗв/ч до 10 мЗв/ч от 1,00 мкЗв/ч до 10 мЗв/ч от 0,10 мкЗв/ч до 10 Зв/ч от 0,03 мкЗв/ч до 300 мкЗв/ч от 0,05 мкЗв/ч до 10 Зв/ч от 0,03 мкЗв/ч до 300 мкЗв/ч от 0,10 мкЗв/ч до 5 Зв/ч от 0,01 мкЗв/ч до 100 мкЗв/ч от 1,00 мЗв/ч до 100 Зв/ч от 0,02 мкЗв/ч до 1 Зв/ч от 0,10 мкЗв/ч до 30 мЗв/ч |
|
Пределы допускаемой основной относительной погрешности измерений мощности амбиентного эквивалента дозы рентгеновского и гамма - излучения, % |
±20 |
|
Диапазон измерений мощности кермы в воздухе рентгеновского и гамма-излучения с блоком БДКГ-30 |
от 0,02 мкГр/ч до 1 Гр/ч |
|
Пределы допускаемой основной относительной погрешности измерений мощности кермы в воздухе рентгеновского и гамма-излучения с блоком БДКГ-30 |
±20 |
|
Диапазон измерений амбиентного эквивалента дозы рентгеновского и гамма-излучения: - БОИ - БОИ2 - БДКГ-01 - БДКГ-03 - БДКГ-04 - БДКГ-05 - БДКГ-09 - БДКГ-11 |
от 1 мкЗв до1 Зв от 1 мкЗв до1 Зв от 0,10 мкЗв до10 Зв от 0,03 мкЗв до 1 Зв от 0,05 мкЗв до10 Зв от 0,03 мкЗв до 0,3 Зв от 0,10 мкЗв до 10 Зв от 0,01 мкЗв до 10 мЗв |
|
Характеристика |
Значение |
|
- БДКГ-17 - БДКГ-24 - БДПС-02 |
от 1,00 мЗв до 100 Зв от 0,001 мкЗв до 100 Зв от 0,10 мкЗв до 1 Зв |
|
Пределы допускаемой основной относительной погрешности измерений амбиентного эквивалента дозы рентгеновского и гамма - излучения, % |
±20 |
|
Диапазон измерений кермы в воздухе рентгеновского и гамма-излучения с блоком БДКГ-30 |
от 0,001 мкГр до 100 Гр |
|
Пределы допускаемой основной относительной погрешности измерений кермы в воздухе рентгеновского и гамма-излучения с блоком БДКГ-30 |
±20 |
|
Диапазон измерений мощности направленного эквивалента дозы с блоком БДКР-01 |
от 50 нЗв/ч до 100 мкЗв/ч |
|
Пределы допускаемой основной относительной погрешности измерений мощности направленного эквивалента дозы с блоком БДКР-01, % |
±20 |
|
Диапазон измерений направленного эквивалента дозы с блоком БДКР-01 |
от 50 нЗв до 5 мЗв |
|
Пределы допускаемой основной относительной погрешности измерений направленного эквивалента дозы с блоком БДКР-01, % |
±20 |
|
Диапазон измерений плотности потока альфа-частиц 239Pu с блоками, мин-1-см-2: - БДПА-01 - БДПА-02 - БДПС-02 |
от 0,10 до 105 от 0,05 до 5-104 от 2,4 до 30 от 30 до 106 |
|
Пределы допускаемой основной относительной погрешности измерений плотности потока альфа-частиц 239Pu с блоками, % - БДПА-01 - БДПА-02 - БДПС-02 о ля диапазона от 2,4 до 30 мин-1-см-2; о ля диапазона от 30 до 106 мин-1-см-2. |
±20 ±20 ±30 ±20 |
|
Диапазон измерений флюенса альфа-частиц 239Pu с блоками, см-2: - БДПА-01 - БДПА-02 - БДПС-02 |
от 1 до 3-106 от 1 до 3-106 от 1 до 3-106 |
|
Пределы допускаемой основной относительной погрешности измерений флюенса альфа-частиц 239Pu с блоками, % - БДПА-01 - БДПА-02 |
±20 ±20 |
|
- БДПС-02 |
±20 |
|
Характеристика |
Значение |
|
Диапазон измерений поверхностной активности 239Pu с блоками, Бк/см2: - БДПА-01 |
от 3,4-10-3 до 3,4-103 |
|
- БДПА-02 |
от 1,7-10-3 до 1,7-103 |
|
Пределы допускаемой основной относительной погрешности измерений поверхностной активности 239Pu с блоками, % - БДПА-01 |
±20 |
|
- БДПА-02 |
±20 |
|
Диапазон измерений плотности потока бета-частиц 90Sr + 90Y с блоками, мин-1-см-2: - БДПБ-01 |
от 1 до 5-105 |
|
- БДПБ-02 |
от 0,5 до 1,5-105 |
|
- БДПС-02 |
от 6 до 106 |
|
Пределы допускаемой основной относительной погрешности измерений плотности потока бета-частиц 9 Sr + 90Y с блоками, % - БДПБ-01 |
±20 |
|
- БДПБ-02 |
±20 |
|
- БДПС-02 |
±20 |
|
Диапазон измерений флюенса бета-частиц 90Sr + 90Y с блоками, см-2: - БДПБ-01 |
от 1 до 3-106 |
|
- БДПБ-02 |
от 1 до 3-106 |
|
- БДПС-02 |
от 1 до 3-106 |
|
Пределы допускаемой основной относительной погрешности измерений флюенса бета-частиц 90Sr + 90Y с блоками, % - БДПБ-01 |
±20 |
|
- БДПБ-02 |
±20 |
|
- БДПС-02 |
±20 |
|
Диапазон измерений поверхностной активности 90 Sr + 90Y с блоками, Бк-см-2: - БДПБ-01 |
от 4,4-10-2 до 2,2-104 |
|
- БДПБ-02 |
от 2,2-10-2 до 0,66-104 |
|
Пределы допускаемой основной относительной погрешности измерений поверхностной активности 90Sr + 90Y с блоками, % - БДПБ-01 |
±20 |
|
- БДПБ-02 |
±20 |
|
Диапазон измерений мощности амбиентного эквивалента дозы нейтронного излучения плутонийбериллиевых источников (с блоком БДКН-01) |
от 0,1 мкЗв/ч до 10 мЗв/ч |
|
Пределы допускаемой основной относительной погрешности измерений мощности амбиентного эквивалента дозы нейтронного излучения плутонийбериллиевых источников (с блоком БДКН-01), % |
±35 |
|
Характеристика |
Значение |
|
Диапазон измерений амбиентного эквивалента дозы нейтронного излучения плутоний-бериллиевых источников (с блоком БДКН-01) |
от 0,1 мкЗв до 10 Зв |
|
Пределы допускаемой основной относительной погрешности измерений амбиентного эквивалента дозы нейтронного излучения плутоний-бериллиевых источников (с блоком БДКН-01), % |
±35 |
|
Диапазон измерений мощности амбиентного эквивалента дозы нейтронного излучения (с блоком БДКН-03) |
от 0,1 мкЗв/ч до 10 мЗв/ч |
|
Пределы допускаемой основной относительной погрешности измерений мощности амбиентного эквивалента дозы нейтронного излучения (с блоком БДКН-03), % |
±20 |
|
Диапазон измерений амбиентного эквивалента дозы нейтронного излучения (с блоком БДКН-03) |
от 0,1 мкЗв до 10 Зв |
|
Пределы допускаемой основной относительной погрешности измерений амбиентного эквивалента дозы нейтронного излучения (с блоком БДКН-03), % |
±20 |
|
Диапазон измерений плотности потока нейтронного излучения с известным энергетическим распределением (с блоком БДКН-01), с-1-см-2 |
от 0,1 до 104 |
|
Пределы допускаемой основной относительной погрешности измерений плотности потока нейтронного излучения с известным энергетическим распределением (с блоком БДКН-01), % |
±20 |
|
Диапазон измерений плотности потока нейтронного излучения с известным энергетическим распределением (с блоком БДКН-03), с-1-см-2 |
от 0,1 до 104 |
|
Пределы допускаемой основной относительной погрешности измерений плотности потока нейтронного излучения с известным энергетическим распределением (с блоком БДКН-03), % |
±30 |
|
Диапазон измерений флюенса нейтронов с известным энергетическим распределением (с блоком БДКН-01), „ -2 см |
от 1 до 3-106 |
|
Пределы допускаемой основной относительной погрешности измерений флюенса нейтронов с известным энергетическим распределением (с блоком БДКН-01), % |
±20 |
|
Диапазон измерений флюенса нейтронов с известным энергетическим распределением (с блоком БДКН-03), -2 см |
от 1 до 3-106 |
|
Пределы допускаемой основной относительной погрешности измерений флюенса нейтронов с известным энергетическим распределением (с блоком БДКН-03), % |
±30 |
|
Диапазон энергий регистрируемого рентгеновского и гамма-излучения для блоков: - БОИ |
от 60 кэВ до 3 МэВ |
|
- БОИ2 |
от 60 кэВ до 3 МэВ |
|
- БДКГ-01 |
от 60 кэВ до 3 МэВ |
|
- БДКГ-03 |
от 50 кэВ до 3 МэВ |
|
Характеристика |
Значение |
|
- БДКГ-04 |
от 15 кэВ до 60 кэВ |
|
от 60 кэВ до 3 МэВ | |
|
- БДКГ-05 |
от 50 кэВ до 3 МэВ |
|
- БДКГ-09 |
от 60 кэВ до 3 МэВ |
|
- БДКГ-11 |
от 50 кэВ до 3 МэВ |
|
- БДКГ-17 |
от 60 кэВ до 3 МэВ |
|
- БДКГ-24 |
от 25 кэВ до 3 МэВ |
|
- БДКГ-30 |
от 50 кэВ до 3 МэВ |
|
- БДПС-02 |
от 20 кэВ до 3 МэВ |
|
Энергетическая зависимость показаний относительно энергии 0,662 МэВ гамма-излучения радионуклида 137Cs для блоков, %: - БОИ |
+35 -25 |
|
- БОИ2 |
+35 -25 |
|
- БДКГ-01 |
+35 -25 |
|
- БДКГ-03 |
±20 |
|
- БДКГ-04 • диапазоне от 15 до 60 кэВ • диапазоне от 60 кэВ до 3 МэВ |
±35 ±20 |
|
- БДКГ-05 |
±20 |
|
- БДКГ-09 |
+35 -25 |
|
- БДКГ-11 |
±20 |
|
- БДКГ-17 |
+35 -25 |
|
- БДКГ-24 |
±25 |
|
- БДКГ-30 |
±25 |
|
- БДПС-02 |
±30 |
|
Диапазон энергий регистрируемого рентгеновского и гамма - излучения (с блоком БДКР-01), кэВ |
от 5 до 160 |
|
Энергетическая зависимость (зависимость чувствительности с блоком БДКР-01 относительно энергии 59,5 кэВ гамма-излучения радионуклида 241Am) в диапазоне энергий, % - от 5 до 60 кэВ - от 60 до 160 кэВ |
±35 ±30 |
|
Диапазон максимальных энергий спектра регистрируемых бета-частиц (с блоками БДПБ-01, БДПС-02), кэВ |
от 155 до 3540 |
|
Характеристика |
Значение | ||||
|
Чувствительность к бета-излучению радионуклида относительно его чувствительности к бета-излучению 90Sr + 90Y (относительная чувствительность) |
БДПБ-01 |
БДПБ-02 |
БДПС-02 | ||
|
14С |
Ершах = 156,5 кэВ |
0,36+0,09 |
0,36+0,09 |
0,15+0,08 | |
|
l47Pm |
Ершах = 224,5 кэВ |
0,75+0,18 |
1,00+0,20 |
0,45+0,15 | |
|
60Co |
Ершах = 317,9 кэВ |
0,94+0,15 |
1,00+0,20 |
0,65+0,15 | |
|
204T1 |
Ершах = 763,4 кэВ |
1,05+0,15 |
1,00+0,20 |
1,00+0,20 | |
|
90Sr + 90y |
Ершах = 546 (90Sr) кэВ Ершах = 2274 (90Y) кэВ |
1,0 |
1,0 |
1,0 | |
|
106Ru+106Rh |
Ершах = 39,4 (106Ru) кэВ Ершах = 3540 (106Rh) кэВ |
1,05+0,15 |
1,00+0,20 |
1,00+0,20 | |
|
Диапазон энергий регистрируемого нейтронного излучения (с блоками БДКН-01, БДКН-03) |
от 0,025 эВ до 14 МэВ | ||||
|
Относительные коэффициенты чувствительности для типовых источников нейтронного излучения различных энергий при измерении мощности дозы |
БДКН-01 |
БДКН-03 | |||
|
Тепловые |
Ен = 0,025 эВ |
51,3±10,30 |
0,225±0,045 | ||
|
Ra -y - Be |
Ен = 100 кэВ |
12,20±1,20 |
0,810±0,080 | ||
|
252Cf |
Ен = 2,13 МэВ |
1,17±0,12 |
1,020±0,100 | ||
|
Pu-a-Be |
Ен = 4,1 МэВ |
1,00 |
1,00 | ||
|
Ен = 4,5 МэВ |
0,83±0,08 |
1,00±0,10 | |||
|
Относительные коэффициенты чувствительности для типовых источников нейтронного излучения различных энергий при измерении плотности потока |
БДКН-01 |
БДКН-03 | |||
|
Тепловые |
Ен = 0,025 эВ |
1,57±0,30 |
0,0070±0,0014 | ||
|
Ra - y - Be |
Ен = 100 кэВ |
2,98±0,30 |
0,20±0,02 | ||
|
252Cf |
Ен = 2,13 МэВ |
1,25±0,125 |
1,10±0,11 | ||
|
Pu-a-Be |
Ен = 4,1 МэВ |
1,0 |
1,0 | ||
|
Ен = 4,5 МэВ |
0,90±0,09 |
1,09±0,11 | |||
|
Время установления рабочего режима, мин, не более |
1 | ||||
|
Время непрерывной работы с любым БД при автономном питании от полностью заряженного блока аккумуляторов, ч, не менее |
24 | ||||
|
Нестабильность показаний за время непрерывной работы, %, не более |
5 | ||||
|
Пределы допускаемой дополнительной относительной погрешности измерений мощности дозы, дозы, мощности кермы в воздухе, кермы в воздухе, плотности потока альфа-, бета- и нейтронного излучения, поверхностной активности и числа распадов на l см2 239Pu и 90Sr + 90Y, %: - при изменении температуры окружающего воздуха в рабочем диапазоне температур относительно нормальных условий; - при изменении относительной влажности до 95 % от нормальных условий; |
+10 +10 | ||||
|
Характеристика |
Значение |
|
- при изменении напряженности постоянных магнитных полей и переменных полей сетевой частоты до 400 А/м с блоками БДПА-01, БДПА-02, БДПБ-01, БДПБ-02, БДКГ-03, БДКГ-04, БДКГ-05, БДКГ-11, | |
|
БДКГ-24, БДКГ-30, БДКР-01; |
±10 |
|
- при воздействии синусоидальной вибрации в диапа- | |
|
зоне частот от 10 до 55 Гц. |
±5 |
|
- при воздействии одиночных ударов |
±5 |
|
Электропитание осуществляется от перезаряжаемого встроенного блока аккумуляторов: | |
|
- номинальным напряжением, В |
6 |
|
- номинальной емкостью, А-ч |
1,2 |
|
Наработка на отказ, ч |
20000 |
|
Средний срок службы, лет |
15 |
|
Среднее время восстановления прибора, ч |
12 |
|
Габаритные размеры, мм, не более: | |
|
-БОИ (длина; ширина; высота) |
177;85;124 |
|
-БОИ2 (длина; ширина; высота) |
200;85;36 |
|
- БДКГ-01 (диаметр; высота) |
54;255 |
|
- БДКГ-03 (диаметр; высота) |
60;295 |
|
- БДКГ-04 (диаметр; высота) |
60;200 |
|
- БДКГ-05 (диаметр; высота) |
60;320 |
|
- БДКГ-09 (диаметр; высота) |
54;255 |
|
- БДКГ-11 (диаметр; высота) |
78;350 |
|
- БДКГ-17 (диаметр; высота) |
54;167 |
|
- БДКГ-24 (диаметр; высота) |
60;200 |
|
- БДКГ-30 (диаметр; высота) |
60;200 |
|
- БДКН-01 (диаметр; высота) |
90;290 |
|
-БДКН-03 (длина; ширина; высота) |
314;220;263 |
|
- БДКР-01 (диаметр; высота) |
60;260 |
|
- БДПА-01 (диаметр; высота) |
80;196 |
|
-БДПА-02 (диаметр; высота) |
136;230 |
|
- БДПБ-01 (диаметр; высота) |
80;196 |
|
-БДПБ-02 (диаметр; высота) |
136;235 |
|
-БДПС-02 (длина; ширина; высота) |
138;86;60 |
|
- сетевой адаптер (длина; ширина; высота) |
110;60;85 |
|
-КПК (длина; ширина; высота) |
191;80;35 |
|
- адаптер BT-DU4 (длина; ширина; высота) |
145;40;85 |
|
- адаптер БД (длина; ширина; высота) |
95;48;33 |
|
- адаптер USB (длина; ширина; высота) |
95;48;33 |
|
Масса, кг, не более | |
|
-БОИ |
1,10 |
|
-БОИ2 |
0,50 |
|
- БДКГ-01 |
0,42 |
|
-БДКГ-03 |
0,60 |
|
-БДКГ-04 |
0,45 |
|
-БДКГ-05 |
1,20 |
|
-БДКГ-09 |
0,50 |
|
- БДКГ-11 |
1,90 |
|
- БДКГ-17 |
0,27 |
|
-БДКГ-24 |
0,50 |
|
Характеристика |
Значение |
|
- БДКГ-30 |
0,60 |
|
- БДКН-01 |
2,00 |
|
-БДКН-03 |
8,00 |
|
- БДКР-01 |
0,55 |
|
- БДПА-01 |
0,50 |
|
-БДПА-02 |
0,70 |
|
- БДПБ-01 |
0,55 |
|
-БДПБ-02 |
0,80 |
|
-БДПС-02 |
0,30 |
|
- сетевой адаптер |
0,50 |
|
-КПК |
0,50 |
|
- адаптер BT-DU4 |
0,40 |
|
- адаптер БД |
0,07 |
|
- адаптер USB |
0,07 |
|
Рабочие условия эксплуатации: - температура окружающего воздуха, °С: | |
|
без блока БДКГ-01; |
от -40 до +50 |
|
• блоком БДКР-01. |
от 0 до +40 |
|
- относительная влажность воздуха при температуре 35 °С и более низких температурах без конденсации | |
|
влаги, %: |
до 95 |
|
- атмосферное давление, кПа |
от 84 до 106,7 |
|
- напряженность постоянных магнитных полей и пе- | |
|
ременных полей сетевой частоты, А/м |
до 400 |
|
Нормальные условия эксплуатации: | |
|
- температура окружающего воздуха, °С |
20+5 |
|
- относительная влажность воздуха, % |
от 30 до 80 |
|
- атмосферное давление, кПа |
от 86 до 106,7 |
|
- внешний фон гамма - излучения, мкЗв/ч, не более |
20 |
Знак утверждения типа
наносится на этикетку, расположенную на задней стенке корпуса БОИ (БОИ2), БД, адаптера
BT-DU4 и на титульный лист руководства по эксплуатации методом компьютерной графики.
Комплектность
|
Таблица 3 - Комплект поставки дозиметра-радиометра МКС-АТ1117М | ||
|
Наименование |
Количество |
Примечание |
|
1 Дозиметр - радиометр МКС-АТ1117М в составе: |
1 | |
|
- БОИ |
1 | |
|
- БОИ2 |
1 | |
|
- блок детектирования гамма - излучения БДКГ-01 |
1 | |
|
- блок детектирования гамма - излучения БДКГ-03 |
1 | |
|
- блок детектирования гамма - излучения БДКГ-04 |
1 | |
|
- блок детектирования гамма - излучения БДКГ-05 |
1 | |
|
- блок детектирования гамма - излучения БДКГ-09 |
1 | |
|
- блок детектирования гамма - излучения БДКГ-11 |
1 | |
|
Наименование |
Количество |
Примечание |
|
- блок детектирования гамма - излучения БДКГ-17 |
1 | |
|
- блок детектирования гамма - излучения БДКГ-24 |
1 | |
|
- блок детектирования гамма - излучения БДКГ-30 |
1 | |
|
- блок детектирования нейтронного излучения БДКН-01 |
1 | |
|
- блок детектирования нейтронного излучения БДКН-03 |
1 | |
|
- блок детектирования рентгеновского излучения БДКР-01 |
1 | |
|
- блок детектирования альфа - излучения БДПА-01 |
1 | |
|
- блок детектирования альфа - излучения БДПА-02 |
1 | |
|
- блок детектирования бета - излучения БДПБ-01 |
1 | |
|
- блок детектирования бета - излучения БДПБ-02 |
1 | |
|
- блок детектирования альфа - и бета - излучения БДПС-02 |
1 | |
|
- КПК |
1 | |
|
- Адаптер BT-DU4 |
1 | |
|
- Адаптер сетевой SA110C-12GS-I |
1 |
Допускается замена на сетевой адаптер |
|
с аналогичными | ||
|
техническими ха- | ||
|
рактеристиками | ||
|
2 Комплект принадлежностей |
1 |
Поставляется |
|
по заказу | ||
|
3 Паспорт БД |
1 |
Поставляется |
|
по заказу | ||
|
4 Руководство по эксплуатации |
1 |
Содержит раздел “Поверка” |
|
5 «Дозиметр-радиометр МКС-АТ1117М. Методика поверки». МП.МН 1396-2004 |
1 | |
|
6 У паковка |
1 | |
|
Примечания: 1 Прибор может поставляться с любым набором блоков. | ||
|
2 Паспорт БД поставляется при доукомплектовании ранее выпущенных приборов отдельными БД. 3 Комплект принадлежностей может поставляться полностью или отдельные его части. 4 В зависимости от комплекта поставки прибор может быть упакован в одну или несколько | ||
|
упаковок. | ||
Поверка
осуществляется по документу МП.МН 1396-2004 «Дозиметр-радиометр МКС-АТ1117М.
Методика поверки», утвержденному БелГИМ 12 июля 2004 года.
Основные средства поверки:
- эталонные 2-го разряда по ГОСТ 8.031-82 поверочные установки типов УКПН-1, УКПН-1М и аналогичные им по метрологическим параметрам с комплектом плутонийбериллиевых источников быстрых нейтронов типа ИБН при поверке в коллимированном пучке или установки на основе градуировочной линейки с набором аналогичных источников при поверке в открытой геометрии. Плотность потока быстрых нейтронов от 1,0 до 104 с-1 •см-2, мощность дозы нейтронного излучения от 1,0 до 104 мкЗв/ч, погрешность аттестации установки не более ±8 %;
- рабочий эталон 2 разряда по ГОСТ 8.804-2012 - установка поверочная дозиметрическая гамма-излучения с набором источников гамма - излучения из радионуклида 137Cs. Диапазон измерений мощности дозы от 0,07 мкЗв/ч до 30 Зв/ч, диапазон измерений мощности кермы в воздухе от 0,07 мкГр/ч до 1 Гр/ч, погрешностью аттестации установки не более ±5 %;
- рабочий эталон 2 разряда по ГОСТ 8.804-2012 - установка поверочная дозиметрическая гамма-излучения эталонная с источником гамма - излучения из радионуклида 241Am. Диапазон измерений мощности кермы в воздухе от 44 нГр/ч до 62,9 мкГр/ч или мощности экспозиционной дозы от 5 мкР/ч до 7,19 мР/ч, погрешностью аттестации установки не более ±5 %;
- источники альфа-излучения эталонные 2-го разряда по ГОСТ 8.033-96 c радионуклидом 239Pu одного из типов 4П9, 5П9, 6П9 с площадью рабочей поверхности 40, 100 и 160 см2, соответственно, плотность потока от 30 до 106 мин-^см-2, погрешность аттестации источников не более ±7 %;
- источники бета-излучения эталонные 2-го разряда по ГОСТ 8.033-96 c радионуклидом 90Sr + 90Y одного из типов 4СО, 5СО, 6СО с площадью рабочей поверхности 40, 100 и 160 см2, соответственно, плотность потока от 5 до 106 мин-1^см-2, погрешность аттестации источников не более ±7 %;
Допускается применение аналогичных средств поверки, обеспечивающих определение метрологических характеристик поверяемых СИ с требуемой точностью.
Знак поверки (оттиск поверительного клейма) наносится на свидетельство о поверке.
Сведения о методах измерений
приведены в эксплуатационном документе.
Нормативные документы
ГОСТ 27451-87 Средства измерений ионизирующих излучений. Общие технические условия
ГОСТ 28271-89 Приборы радиометрические и дозиметрические носимые. Общие технические требования и методы испытаний
ГОСТ 17225-85 Радиометры загрязненности поверхностей альфа- и бета-активными веществами. Общие технические требования и методы испытаний
ГОСТ Р 8.804-2012 ГСИ. Государственная поверочная схема для средств измерений кермы в воздухе, мощности кермы в воздухе, экспозиционной дозы, мощности экспозиционной дозы, амбиентного, направленного и индивидуального эквивалентов дозы, мощностей амбиентного, направленного и индивидуального эквивалентов дозы и потока энергии рентгеновского и гамма-излучений
ГОСТ 8.033-96 ГСИ. Государственная поверочная схема для средств измерений активности радионуклидов, потока и плотности потока альфа-, бета-частиц и фотонов радионуклидных источников
ГОСТ 8.031-82 ГСИ. Государственный первичный эталон и государственная поверочная схема для средств измерений потока и плотности потока нейтронов
РД 50-458-84 Дозиметры нейтронного излучения. Методы и средства поверки
МИ 1788-87 Приборы дозиметрические для измерения экспозиционной дозы и мощности экспозиционной дозы, поглощенной дозы и мощности поглощенной дозы в воздухе фотонного излучения. Методика поверки
МИ 2513-99 Радиометры нейтронов. Методика поверки на установках типа УКПН (КИС НРД МБм)
ТУ РБ 100865348.014-2004 Дозиметр-радиометр МКС-АТ1117М.» Технические условия
Другие Радиометры




