Счетчики газа турбинные TRZ
| Номер в ГРСИ РФ: | 31141-13 |
|---|---|
| Категория: | Счетчики газа |
| Производитель / заявитель: | ООО "РАСКО Газэлектроника", г. Арзамас |
Для измерения объемов плавно меняющихся потоков очищенного и осушенного природного газа, городского газа, пропана, водорода, воздуха, азота, инертных газов, область применения - измерение объема в промышленных установках, магистральных газопроводах, системах энергосбережения, коммунальных хозяйствах, предприятиях других отраслей промышленности и в системах коммерческого учета.
Информация по Госреестру
| Основные данные | |
|---|---|
| Номер по Госреестру | 31141-13 |
| Действует | по 14.12.2022 |
| Наименование | Счетчики газа турбинные |
| Модель | TRZ |
| Характер производства | Серийное |
| Идентификатор записи ФИФ ОЕИ | af3a2352-d561-2872-eb7d-cd2f2f761a2c |
| Год регистрации | 2013 |
| Общие данные | |
|---|---|
| Класс СИ | 29.01.01.01 |
| Год регистрации | 2013 |
| Страна-производитель | Россия |
| Примечание | 28.02.2013 утвержден вместо 31141-08 |
| Информация о сертификате | |
| Срок действия сертификата | 28.02.2018 |
| Тип сертификата (C - серия/E - партия) | C |
| Дата протокола | Приказ 170 п. 49 от 28.02.201310 от 25.09.08 п.204 |
Производитель / Заявитель
Общество с ограниченной ответственностью «РАСКО Газэлектроника» (ООО «РАСКО Газэлектроника»), г. Арзамас Нижегородской обл.
Россия
607220, Нижегородская обл., ул.50 лет ВЛКСМ, д.8, тел.(83147) 309-19, 338-26, факс 992-27, 354-41, www.gaselectro.ru, E-mail: info@gaselectro.nnov.ru
Поверка
| Методика поверки / информация о поверке | ЛГТИ.407221.007 МП |
| Межповерочный интервал / Периодичность поверки |
10 лет
|
| Зарегистрировано поверок |
7339
|
| Найдено поверителей | |
| Успешных поверок (СИ пригодно) | 7262 (99%) |
| Неуспешных поверок (СИ непригодно) | 77 (1 %) |
| Актуальность информации | 21.04.2026 |
Поверители
Скачать
|
31141-13: Описание типа
2022-31141-13.pdf
|
Скачать | 623.9 КБ | |
|
31141-13: Методика поверки
2020-mp31141-13.pdf
|
Скачать | 2.2 MБ | |
| Свидетельство об утверждении типа СИ | Открыть | ... |
Описание типа
Назначение
Счетчики газа турбинные TRZ (далее - счетчики) предназначены для измерений (учета) объемов плавно меняющегося потока, очищенного неагрессивного, неоднородного по химическому составу природного газа по ГОСТ 5542-2014, а также воздуха, азота и других неагрессивных газов.
Описание
Принцип действия счетчиков основан на зависимости частоты вращения турбины, установленной внутри корпуса, от объемного расхода газа, протекающего через счетчик.
Счетчик состоит из корпуса, устройства измерительного (УИ), счетного механизма, масляного насоса с системой маслопровода (стандартное исполнение для типоразмеров DN200 - DN300, по специальному заказу для типоразмеров DN80 - DN150, типоразмер DN50 исполнение с масляным насосом не имеет).
УИ включает в себя:
- внутренний корпус, в котором установлена турбина с жесткими, профилированными специальным образом лопатками;
- редуктор, передающий вращательное движение турбины на счетный механизм;
- струевыпрямитель, служащий для выпрямления потока газа.
Конструкция счетчика сделана таким образом, что УИ может целиком извлекаться из корпуса прибора. При этом корпус не оказывает влияния на метрологические характеристики счетчика, так как вся измеряемая среда проходит через проточную часть УИ. Поэтому можно производить замену УИ на аналогичное, при этом метрологические характеристики счетчика будут соответствовать характеристикам нового УИ.
Счетчик имеет следующие исполнения:
"1" - соответствует диапазону 1/20 (1/30 - по спецзаказу);
"2" - соответствует диапазону расходов 1/20 (1/30 - по спецзаказу), а также 1/50 и 1/80 в зависимости от давления рабочей среды;
"2У" - соответствует диапазону расходов 1/20 (1/30 - по спецзаказу), а также 1/50 и 1/80 в зависимости от давления рабочей среды с улучшенными метрологическими характеристиками.
Длина прямого участка перед счетчиком не менее 2 DN. Если до счетчика установлен регулятор давления, то длина прямого участка перед счетчиком для DN80- DN150 не менее 2 DN, для DN50, DN200- DN300 не менее 5 DN. Прямой участок после счетчика не требуется.
В зависимости от объемного расхода газа, проходящего через счетчик, меняется частота вращения турбины. Число оборотов турбины посредством механического редуктора передается на счетный механизм, показывающий объемное количество газа, прошедшее через счетчик за время измерения.
Конструкция счетного механизма предусматривает возможность как визуального считывания информации непосредственно со счетного механизма, так и дистанционной передачи информации о значении измеренного счетчиком объема газа для ее последующего использования в системах коррекции объема.
Для дистанционной передачи данных турбинный счетчик газа TRZ может подключаться к искробезопасным цепям корректоров объема газа и устанавливаться во взрывоопасных зонах с низкочастотным датчиком импульсов Е1 IN-S10, IN-S11, IN-S12, среднечастотным R300 и высокочастотными A1S и A1R датчиками импульсов.
Фотография общего вида представлена на рисунке 1.
Рисунок 1
Счетчик газа турбинный TRZ с демонтированным устройством измерительным приведен на рисунке 2.
Рисунок 2
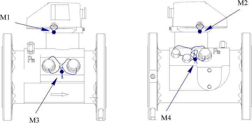
Схема пломбировки приведена на рисунке 3 (М1, М2 - знаки поверки, М3, М4 -пломба завода-изготовителя или организации, выполнявшей ремонт).
Рисунок 3
Программное обеспечение отсутствует
Технические характеристики
Основные параметры счетчиков приведены в таблицах 1, 2.
Таблица 1
|
Типоразмер |
Условный проход DN, мм |
Макс. расход Qmax, м3/ч |
Минимальный расход Qmin, м3/ч и диапазон измерений расхода (Qmin/Qmax) при избыточном давлении Риз6, МПа | |||
|
исполнение "1" |
исполнение "2"и исполнение "2У" | |||||
|
Ризб | ||||||
|
Ризб < 0,3 |
0,3 < Ризб < 1 |
Ризб > 1 | ||||
|
G65 |
50 |
100 |
5 (1/20) |
5 (1/20) | ||
|
G100 |
80 |
160 |
8 (1/20) |
8 (1/20) | ||
|
G160 |
80 |
250 |
13 (1/20) |
13 (1/20) |
5 (1/50) | |
|
G250 |
80 |
400 |
20 (1/20) 13 (1/30)* |
20 (1/20) 13 (1/30)** |
8(1/50) |
5 (1/80) |
|
G160 |
100 |
250 |
13 (1/20) |
13 (1/20) | ||
|
G250 |
100 |
400 |
20 (1/20) |
20 (1/20) |
13 (1/30) |
8(1/50) |
|
G400 |
100 |
650 |
32 (1/20) 20 (1/30)* |
32 (1/20) 20 (1/30)** |
13 (1/50) |
8 (1/80) |
|
G250 |
150 |
400 |
20 (1/20) |
20 (1/20) | ||
|
G400 |
150 |
650 |
32 (1/20) |
32 (1/20) |
20 (1/30) |
13 (1/50) |
|
G650 |
150 |
1000 |
50 (1/20) 32 (1/30)* |
50 (1/20) 32 (1/30)** |
20 (1/50) |
13 (1/80) |
|
G1000 |
150 |
1600 |
80 (1/20) 50 (1/30)* |
80 (1/20) 50 (1/30)** |
32 (1/50) |
20 (1/80) |
|
G650 |
200 |
1000 |
50 (1/20) |
50 (1/20) | ||
|
G1000 |
200 |
1600 |
80 (1/20) |
80 (1/20) |
50 (1/30) |
32 (1/50) |
|
G1600 |
200 |
2500 |
130 (1/20) 80 (1/30)* |
130 (1/20) 80 (1/30)** |
50 (1/50) |
32 (1/80) |
|
G1000 |
250 |
1600 |
80 (1/20) |
80 (1/20) | ||
|
G1600 |
250 |
2500 |
130 (1/20) |
130 (1/20) |
80 (1/30) |
50 (1/50) |
|
G2500 |
250 |
4000 |
200 (1/20) 130 (1/30)* |
200 (1/20) 130 (1/30)** |
80 (1/50) |
50 (1/80) |
|
G2500 |
300 |
4000 |
200 (1/20) |
200 (1/20) |
130 (1/30) |
80 (1/50) |
|
G4000 |
300 |
6500 |
320 (1/20) 200 (1/30)* |
320 (1/20) 200 (1/30)** |
130 (1/50) |
80 (1/80) |
* Поставляется по специальному заказу.
** Поставляется по специальному заказу; не имеет исполнения "2У".
Примечание: Счетчик TRZ G65 DN50 исполнение "2У" не имеет.
Таблица 2
|
Наименование параметра |
Значение параметра | ||
|
исполнение "1" |
исполнение "2" |
исполнение "2У" | |
|
Пределы допускаемой относительной погрешности измерений объема газа в диапазоне расходов, %: от Qmin до Qt от Qt до Qmax От Qmin До Qmax |
2,0 1,0 - |
2,0 1,0 - |
- -0,9 |
|
Наименование параметра |
Значение параметра | ||
|
исполнение "1" |
исполнение "2" |
исполнение "2У" | |
|
Точка перехода Qt , м3/ч: для TRZ G100-G4000 для TRZ G65 |
0,1Qmax 0,2Qmax |
0,1Qmax 0,2Qmax |
-- |
|
Рабочее давление измеряемого газа, не более, МПа (в зависимости от исполнения) |
1,6; 6,3; 10 | ||
|
Счетный механизм |
8-разрядный | ||
|
Цена деления младшего разряда, м3: - G65 - G100-G650 - G1000-G4000 |
0,01 0,1 1 | ||
|
Диапазон температур измеряемой среды, °С |
от -30 до +60 | ||
|
Диапазон температур окружающей среды, °С |
от -40 до +70 | ||
|
Средняя наработка на отказ, ч |
100000 | ||
|
Средний срок службы, лет |
12 | ||
Знак утверждения типа
наносится на титульный лист эксплуатационной документации типографским способом и на шильдик счетчика.
Комплектность
Таблица 3
|
Наименование |
Обозначение |
Количество |
|
Счетчик газа турбинный |
TRZ |
1 шт. |
|
Руководство по эксплуатации* |
ЛГТИ.407221.007 РЭ |
1 экз. |
|
Паспорт |
ЛГТИ.407221.007 ПС |
1 экз. |
|
Методика поверки* |
ЛГТИ.407221.007 МП с изменением №1 |
1 экз. |
|
Емкость с маслом |
(1...4)** | |
|
* поставляется по заказу * * только для счетчиков с масляным насосом, количество зависит от типоразмера счетчика | ||
Сведения о методиках (методах) измерений приведены в эксплуатационном документе.
Нормативные документы
Приказ Росстандарта от 28 декабря 2019 г. №2825 «Об утверждении Государственной поверочной схемы для средств измерений объемного и массового расходов газа»;
ГОСТ 28724-90 Счетчики газа скоростные. Общие технические требования и методы испытания;
ТУ 4213-029-48318941-2005 (ЛГТИ.407221.007 ТУ) «Счетчики газа турбинные TRZ. Технические условия».
Другие Счетчики газа


