Преобразователи измерительные ЭП2720
| Номер в ГРСИ РФ: | 31657-12 |
|---|---|
| Производитель / заявитель: | ПО "Старт", г.Заречный |
Для измерительного преобразования тока датчиков разности давлений при измерении расхода, а также для электрического питания датчиков давления напряжением 24 В в системах автоматизации технологических процессов АЭС.
Информация по Госреестру
| Основные данные | |
|---|---|
| Номер по Госреестру | 31657-12 |
| Действует | по 20.07.2017 |
| Наименование | Преобразователи измерительные |
| Модель | ЭП2720 |
| Характер производства | Серийное |
| Идентификатор записи ФИФ ОЕИ | ec7b1a40-a3fd-635d-8442-7ac89844eac3 |
| Год регистрации | 2012 |
| Общие данные | |
|---|---|
| Класс СИ | 34.01.05 |
| Год регистрации | 2012 |
| Страна-производитель | Россия |
| Примечание | 20.07.2012 утвержден вместо 31657-06 |
| Информация о сертификате | |
| Срок действия сертификата | 20.07.2017 |
| Номер сертификата | 47322 |
| Тип сертификата (C - серия/E - партия) | C |
| Дата протокола | Приказ 505 п. 103 от 20.07.201204д2 от 14.05.09 п.132 |
Производитель / Заявитель
ФГУП ФНПЦ "ПО "Старт" им.М.В.Проценко", РОССИЯ, г.Заречный
Россия
442960, Пензенская обл., пр.Мира, 1. тел. (8412) 58-27-55, факс 65-17-58, www.startatom.ru, E-mail: info@startatom.ru, bvi97@startatom.ru
Поверка
| Методика поверки / информация о поверке | ДАКЖ.411521.001 РЭ1. Часть II |
| Межповерочный интервал / Периодичность поверки |
1 год
|
| Зарегистрировано поверок | |
| Найдено поверителей | |
| Успешных поверок (СИ пригодно) | 16 (100%) |
| Неуспешных поверок (СИ непригодно) | 0 (0 %) |
| Актуальность информации | 15.03.2026 |
Поверители
Скачать
|
31657-12: Описание типа
2012-31657-12.pdf
|
Скачать | 152 КБ | |
| Свидетельство об утверждении типа СИ | Открыть | ... |
Описание типа
Назначение
Преобразователи измерительные ЭП2720 (далее - преобразователи) предназначены для измерительных преобразований постоянного тока.
Описание
Принцип действия преобразователей основан на преобразовании входного сигнала, поступающего с датчика, в унифицированный выходной сигнал постоянного тока.
Конструкция преобразователей состоит из:
- модуля ДАКЖ.411521.002;
- корпуса ДАКЖ.301241.027;
- элементов крепления преобразователя на месте эксплуатации.
Корпус ДАКЖ.301241.027 предназначен для установки в вырез приборного щита и подключения внешних цепей. На внутренней стороне корпуса установлена ответная часть разъема модуля. На внешней стороне корпуса расположены винт подключения защитного заземления, выходная колодка для подключения внешних цепей и цепей питания.
Модуль ДАКЖ.411521.002 представляет собой измерительный блок со встроенной электрической схемой преобразователя. На передней панели модуля расположены:
- ручка для извлечения модуля из корпуса;
- световые индикаторы контроля питания и питания датчика;
- держатель предохранителя;
- розетка «ТЕСТ»;
- два отверстия для обеспечения доступа к подстроечным резисторам корректировки нуля и подстройки усиления (закрытые накладкой и опломбированные поверителями).
На задней части модуля расположен ответный разъем корпуса и два стержня предназначенные для правильной ориентации блока при установке в корпус.
Модуль с двух сторон закрыт крышками и опломбирован.
Фотография общего вида представлена на рисунке 1.
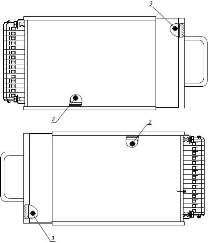
Схема пломбирования от несанкционированного доступа приведена на рисунке 2.
7. TCneiLxo
2. Клеймо яредсюйителя &O "Безопасность"
3. Клеймо ОГК забсгда-изготобьт^ля
Рисунок 2
Преобразователи выполнены в виде автономного устройства, имеющее щитовое исполнение, предназначенное для утопленного монтажа в вырезах панели.
В зависимости от диапазонов входных и выходных токов преобразователи имеют 4 варианта исполнения, приведённые в таблице 1.
Таблица 1
|
Обозначение варианта исполнения |
Диапазон изменения входного сигнала, мА |
Диапазон изменения выходного сигнала, мА |
Нагрузочное сопротивление не более, кОм |
|
ДАКЖ.411521.001 |
4 - 20 |
0 - 5 |
2,5 |
|
ДАКЖ.411521.001-01 |
4 -20 |
4 - 20 |
0,6 |
|
ДАКЖ.411521.001-02 |
0 - 5 |
4 - 20 |
0,6 |
|
ДАКЖ.411521.001-03 |
0 - 5 |
0 - 5 |
2,5 |
Технические характеристики
Номинальная функция преобразования имеет следующий вид:
I вх. min) ,
I вых. I вых. min +
AIвых. y(t
A AIвх вх-
вх.
где Iвых - значение выходного сигнала, мА;
Iвых min — номинальное значение начала диапазона изменения выходного сигнала, мА;
AIвых - нормирующее значение выходного сигнала, мА;
AIвх - нормирующее значение входного сигнала, мА;
I -значение входного сигнала, мА;
вх.
Iвх min — номинальное значение начала диапазона изменения входного сигнала, мА.
Пределы допускаемой основной приведенной погрешности приведены в таблице 2.
Таблица 2
|
Диапазон изменения, мА |
Нормирующие значения сигнала, мА |
Пределы допускаемой основной приведенной погрешности, %, при изменении входного сигнала в диапазоне | |||
|
Входного сигнала |
Выходного сигнала |
Входного |
Выходного |
от 2 до 15 % вкл. |
от 15 до 100 % |
|
4 - 20 4 - 20 0 - 5 0 - 5 |
0 - 5 4 - 20 4 - 20 0 - 5 |
16 |
5 |
± 0,5 |
± 0,25 |
|
16 |
16 | ||||
|
5 |
16 | ||||
|
5 |
5 | ||||
Пределы допускаемой дополнительной погрешности преобразований, вызванной изменением температуры окружающей среды от нормальной до любой температуры в пределах рабочих условий применения, на каждые 10 °С составляют:
- 0,9 пределов допускаемой основной приведенной погрешности - при изменении входного сигнала от 2 до 15 % включительно;
- 1,0 пределов допускаемой основной приведенной погрешности - при изменении входного сигнала от 15 до 100 % включительно.
Пределы допускаемой дополнительной погрешности преобразований вызванной изменением сопротивления нагрузки:
- в диапазоне от 2500 до 1820 Ом для преобразователей с выходным сигналом 0 - 5 мА;
- в диапазоне от 600 до 375 Ом для преобразователей с выходным сигналом 4 - 20 мА; составляют 0,5 пределов допускаемой основной приведенной погрешности.
Пределы допускаемой дополнительной погрешности, вызванной отклонением напряжения питания от номинального (220,0 ± 4,4) В в диапазоне от 187 до 242 В, не превышают 0,5 пределов допускаемой основной погрешности.
Значение пульсаций выходного сигнала преобразователей, определяемое максимальным отклонением мгновенного значения выходного сигнала от его среднего значения, не превышает 0,6 % от диапазона изменения выходного сигнала.
Преобразователи имеют встроенный блок питания, обеспечивающий стабилизированное номинальное выходное напряжение 24 В для питания датчиков давления с максимальным током нагрузки 30 мА. Пределы допускаемого отклонения выходного напряжения питания от номинального значения составляют ± 0,5 %.
Встроенный блок питания преобразователей имеет защиту от перегрузок и короткого замыкания:
- ток срабатывания защиты от перегрузки по току не более 60 мА;
- ток короткого замыкания не более 15 мА.
Изменение выходного напряжения питания датчиков при изменении напряжения питающей сети преобразователей в диапазоне от 187 до 242 В составляет ± 0,5 % от номинального выходного напряжения.
Изменение выходного напряжения питания датчиков, вызванное плавным изменением тока нагрузки в диапазоне от 10 до 100 % при неизменных других внешних воздействиях составляет ± 0,5 % от номинального выходного напряжения.
Питание преобразователей осуществляется от однофазной сети переменного тока напряжением от 187 до 242 В с частотой от 49 до 51 Гц.
Преобразователи в упаковке сохраняют свои характеристики после воздействия следующих факторов:
- температуры окружающего воздуха от минус 50 до плюс 50 °С;
- относительной влажности воздуха 95 % при температуре 35 °С.
Корпус преобразователей заземлен. Значение сопротивления между винтом заземления «А» и ручкой преобразователя не более 0,1 Ом.
Сопротивление изоляции не менее 40 МОм.
Потребляемая мощность не более 14 В •А.
Масса не более 3,5 кг.
Средняя наработка на отказ не менее 100 000 ч.
Нормальные условия применения:
- температура окружающего воздуха (20 ± 2) °С;
- относительная влажность воздуха от 45 до 75 %;
- атмосферное давление от 86 до 106,7 кПа (от 645 до 800 мм рт.ст.);
- напряжение питания (220,0 ± 4,4) В;
- частота питающей сети (50 ± 1) Гц.
Рабочие условия применения:
- температуры окружающего воздуха от плюс 5 до плюс 50 °С;
- относительная влажность 80 % при температуре окружающего воздуха плюс 35 °С.
В транспортной таре преобразователи выдерживают воздействие вибрации в диапазоне частот от 10 до 500 Гц с частотой перехода в пределах от 57 до 62 Гц с амплитудой смещения 0,35 мм для частоты ниже частоты перехода и ускорением 49 м/с2 для частоты выше частоты перехода.
Преобразователи по сейсмостойкости должны соответствовать I категории согласно НП-031-01. Преобразователи должны быть сейсмостойкими по группе В исполнения I в соответствии с РД 25-818-87 при интенсивности землетрясения 8 баллов по шкале MSK-64 и уровне установки над нулевой отметкой 41 м.
Знак утверждения типа
Знак утверждения типа наносится на переднюю панель с наименованием преобразователей фотохимическим способом или методом шелкографии. На титульном листе паспорта знак наносится в правом верхнем углу типографским способом.
Комплектность
|
1. Преобразователь измерительный ЭП2720 |
- 1 шт. |
|
2. Вставка плавкая ВП1-1-0,5А 250 В ОЮО.480.003ТУ-Р |
- 2 шт. |
|
3. Паспорт ДАКЖ.411521.001 ПС |
- 1 шт. |
|
4. Руководство по эксплуатации ДАКЖ.411521.001 РЭ |
- 1 шт. на партию. (партия - не более 10 шт.) |
Поверка
документу «Преобразователь измерительный ЭП2720. Руководство по эксплуатации. ДАКЖ.411521.001 РЭ1. Часть II», утверждённому руководителем ГЦИ СИ ФГУ «Пензенский ЦСМ» 29 декабря 2011 г.
Перечень основных средств поверки приведен в таблице 3.
Таблица 3
|
Наименование |
Метрологические характеристики |
|
Мегаомметр Ф4101 |
Измерение сопротивления до 100 МОм с номинальным напряжением постоянного тока 500 В с погрешностью измерений ± 10 % |
|
Вольтметр Э533 |
Измерение переменного напряжения до 300 В. Класс точности 0,5 |
|
Вольтметр универсальный цифровой В7-34А |
Измерение постоянного напряжения до 30 В с погрешностью ± 0,03 % |
|
Вольтамперметр М2038 |
Измерение постоянного тока до 30 А с погрешностью ± 0,05 % |
|
Осциллограф универсальный TDS 2022 |
Измерение амплитуды до 10 В и интервалов времени до 5 с, погрешность ± 10 % |
|
Прибор для поверки вольтметров программируемый В1-13 |
Задание значения калиброванного тока до 100 мА с погрешностью ± 0,02 % |
|
Катушка электрического сопротивления Р331 |
Номинальное значение сопротивления 100 Ом класс точности 0,01 |
|
Катушка электрического сопротивления Р331 |
Номинальное значение сопротивления 1000 Ом класс точности 0,01 |
|
Амперметр Э524 |
Измерение переменного тока до 50 мА. Класс точности 0,5 |
Сведения о методах измерений
Методика измерений приведена в разделе 2 руководства по эксплуатации.
Нормативные документы
1. ГОСТ 22261-94 Средства измерений электрических и магнитных величин. Общие технические условия.
2. ГОСТ 8.022-91 ГСИ. Государственный первичный эталон и государственная поверочная схема для средств измерения силы постоянного электрического тока в диапазоне от 1Х10-16 до 30 А.
Рекомендации к применению
Вне сферы государственного регулирования обеспечения единства измерений.
Смотрите также

