Датчики перемещения ДП-И
| Номер в ГРСИ РФ: | 34132-11 |
|---|---|
| Категория: | Датчики перемещений |
| Производитель / заявитель: | ФГУП "РФЯЦ-ВНИИЭФ", г.Саров |
Для бесконтактного измерения зазора (осевого сдвига), размаха и амплитуды виброперемещения, модуля векторной суммы амплитуды виброперемещения каналов "X" и "Y", мгновенного значения виброперемещения, область применения - контроль за положением и виброперемещением элементов конструкции паровых игазовых турбин, насосов, двигателей и другого механического оборудования в составе измерительных систем на основе полевой шины стандарта IEA RS-485 и/или унифицированных электрических аналоговых сигналов.
Информация по Госреестру
| Основные данные | |
|---|---|
| Номер по Госреестру | 34132-11 |
| Действует | по 25.11.2016 |
| Наименование | Датчики перемещения |
| Модель | ДП-И |
| Характер производства | Серийное |
| Идентификатор записи ФИФ ОЕИ | 48359598-f8be-0216-0c59-acce5cc48f8a |
| Год регистрации | 2011 |
| Общие данные | |
|---|---|
| Класс СИ | 27.01 |
| Год регистрации | 2011 |
| Страна-производитель | Россия |
| Примечание | 05.09.2014 Изменения в названии организацииВзамен № 34132-07 |
| Центр сертификации СИ | |
| Наименование центра | ГЦИ СИ Нижегородского ЦСМ |
| Адрес центра | 603950, г.Нижний Новгород, ул.Республиканская, 1 |
| Руководитель центра | Свешников Александр Григорьевич |
| Телефон | (8*831*2) 18-57-27 |
| Факс | 18-57-48 |
| Информация о сертификате | |
| Срок действия сертификата | 25.11.2016 |
| Номер сертификата | 44488 |
| Тип сертификата (C - серия/E - партия) | С |
| Дата протокола | Приказ 1324 п. 01 от 05.09.2014Приказ 6335 от 25.11.11 п.03 |
Производитель / Заявитель
ФГУП "РФЯЦ-ВНИИЭФ", г.Саров; ООО "НПО ВНИИЭФ-ВОЛГОГАЗ", г.Саров; ООО "НПО САРОВ-ВОЛГОГАЗ", г.Саров
Россия
Поверка
| Методика поверки / информация о поверке | ИЦФР.402248.001РЭ I (Приложение к ИЦФР.402248.001РЭ) |
| Межповерочный интервал / Периодичность поверки |
1 год и 6 месяцев
|
| Зарегистрировано поверок |
1559
|
| Найдено поверителей | |
| Успешных поверок (СИ пригодно) | 1497 (96%) |
| Неуспешных поверок (СИ непригодно) | 62 (4 %) |
| Актуальность информации | 16.04.2026 |
Поверители
Скачать
|
34132-11: Описание типа
2011-34132-11.pdf
|
Скачать | 163.1 КБ | |
|
34132-11: Методика поверки
2022-mp34132-11.pdf
|
Скачать | 1.1 MБ |
Описание типа
Назначение
Датчики перемещения ДП-И предназначены для измерения зазора (смещения относительно середины рабочего диапазона), размаха, амплитуды, мгновенного значения вибропере-мещения, размаха векторной суммы виброперемещения каналов "Х" и "Y", частоты вращения с формированием фазовой отметки.
Датчики перемещения ДП-И применяются для контроля за положением, виброперемещением, частотой вращения элементов конструкции паровых и газовых турбин, насосов, двигателей и другого механического оборудования, контроля величины прогиба (искривления) вращающегося вала в составе измерительных систем на основе полевой шины стандарта IEA RS-485 и/или унифицированных электрических аналоговых сигналов.
Описание
ДП-И состоит из преобразователя нормирующего (ПН) и двух (или одного) преобразователей вихретоковых (ПВ), соединенных жгутами с ПН. ДП-И изготавливается с разными исполнениями составных частей, представленными в таблицах 1 - 3.
ДП-И, в зависимости от исполнения ПН, выполняет разные режимы измерения и может иметь один или два канала измерения (условное обозначение каналов - "Х" и "Y") с выходами: цифровым, токовым и напряжения.
В зависимости от применяемого ПН, ДП-И осуществляет измерения:
- с ПН1-ПН6 - зазора (смещения относительно середины рабочего диапазона); размаха и амплитуды (пиковое значение) виброперемещения; мгновенного значения виброперемещения; с ПН3 - размаха векторной суммы виброперемещения каналов (опция);
- с ПН7Б - зазора (смещения относительно середины рабочего диапазона); размаха (пиковое значение) виброперемещения; мгновенного значения виброперемещения;
- с ПН7Н - зазора (смещения относительно середины рабочего диапазона); размаха (пиковое значение) виброперемещения; размаха виброперемещения на инфранизких и низких частотах (НЧ); мгновенного значения виброперемещения;
- с ПН8, ПН9 - частоты вращения с формированием фазовой метки;
- с ПН10 - смещения, размаха и мгновенного значения виброперемещения.
ПН различаются конструкцией корпуса, для реализации однотипных режимов измерения или функций (контроль выходных сигналов, буферы, фильтры) используются однотипные программные и схемные блоки. ДП-И обеспечивает обмен данными (цифровой выход) по интерфейсу RS-485 в диапазоне скоростей: 1200, 2400, 4800, 9600, 19200, 38400, 57600 бит/с.
ДП-И осуществляет при измерении частоты вращения формирование фазовой отметки - импульса напряжения прямоугольной формы по выходу напряжения. ДП-И осуществляет непрерывный контроль обрыва линии связи между ПВ и ПН с выдачей сигнала об обрыве по цифровому и токовому выходам.
Таблица 1 - Исполнения ПН
|
Обозначение |
Код |
Маркировка взрывозащиты |
Кол. каналов измерения |
|
ИЦФР.411135.002 |
ПН1 |
1Ех[1Ь]тПВТ6 |
2 |
|
ИЦФР.411135.002-01 |
ПН2 |
1Ех[1Ь]тПВТ6 |
1 |
|
ИЦФР.411135.005 |
ПН3 |
1Ex[ib]dnbT6 |
2 |
|
ИЦФР.411135.005-01 |
ПН4 |
1Ex[ib]dnbT6 |
1 |
|
ИЦФР.411135.002-02 |
ПН5 |
2 | |
|
ИЦФР.411135.002-03 |
ПН6 |
1 | |
|
ИЦФР.411135.002-04 |
ПН7Б |
1 |
|
Обозначение |
Код |
Маркировка взрывозащиты |
Кол. каналов измерения |
|
ИЦФР.411135.002-06 |
ПН7Н |
1 | |
|
ИЦФР.411135.002-05 |
ПН8 |
1 | |
|
ИЦФР.411135.002-07 |
1 | ||
|
ИЦФР.411135.005-02 |
ПН9 |
1Ex[ib]dIIBT6 |
1 |
|
ИЦФР.411135.005-03 |
ПН10 |
1Ех[1Ь]апВТб |
1 |
Таблица 2 - Исполнения ПВ
|
Обозначение |
Код |
Конструкция |
Установочная резьба |
|
ИКЛЖ.408113.003 |
ПВ1 |
металлорукав |
М10х1 |
|
ИЦФР.408113.005 |
ПВ2 | ||
|
ИКЛЖ.408113.011 |
ПВ3 |
штанга |
М12х1 |
|
ИКЛЖ.408113.011-01 |
ПВ4 | ||
|
ИКЛЖ.408113.012 |
ПВ5 |
кабель |
М10х1 |
|
ИКЛЖ.408113.011-02 |
ПВ6 |
штанга |
М12х1 |
|
ИЦФР.408113.007 |
ПВ10 |
кабель |
3/8''-шаг 24 нитки на дюйм |
|
ИЦФР.408113.007-01 |
ПВ11 | ||
|
ИЦФР.408113.003 |
ПВ12 | ||
|
ИЦФР.408113.007-02 |
ПВ13 | ||
|
ИЦФР.408113.012 |
ПВ18 | ||
|
ИЦФР.408113.013 |
ПВ19 | ||
|
ИЦФР.408113.007-03 |
ПВ20 | ||
|
ИЦФР.408113.007-04 |
ПВ21 | ||
|
ИКЛЖ.408113.012-03 |
ПВ14 |
кабель |
М10х1 |
|
ИЦФР.408113.010 |
ПВ15 |
металлорукав | |
|
ИЦФР.408113.011 |
ПВ16 |
кабель | |
|
ИКЛЖ.408113.012-04 |
ПВ30 | ||
|
ИКЛЖ.408113.012-05 |
ПВ23 | ||
|
ИКЛЖ.408113.012-06 |
ПВ24 | ||
|
ИЦФР.408113.014 |
ПВ22 |
штанга | |
|
ИЦФР.408113.015 |
ПВ25 |
кабель |
3/8''-шаг 24 нитки на дюйм |
|
ИЦФР.408113.015-01 |
ПВ26 | ||
|
ИЦФР.408113.017 |
ПВ27 | ||
|
ИЦФР.408113.017-01 |
ПВ28 | ||
|
ИЦФР.408113.018 |
ПВ29 | ||
|
ИЦФР.408113.021 |
ПВ17 | ||
|
ИЦФР.408113.019 |
ПВ31 |
кабель со вставкой |
М10х1 |
|
ИЦФР.408113.019-01 |
ПВ32 | ||
|
ИЦФР.408113.022 |
ПВ33 |
штанга | |
|
ИЦФР.408113.023 |
ПВ34 |
кабель со вставкой | |
|
ИЦФР.408113.023-01 |
ПВ35 | ||
|
ИЦФР.408113.007-05 |
ПВ36 |
кабель |
3/8'', шаг-24 нитки на дюйм |
|
ИЦФР.408113.007-06 |
ПВ37 | ||
|
ИЦФР.408113.019-02 |
ПВ38 |
кабель со вставкой |
М10х1 |
|
ИКЛЖ.408113.011-03 |
ПВ39 |
штанга |
М12х1 |
|
ИЦФР.408113.029 |
ПВ40 |
кабель |
М10х1 |
|
ИЦФР.408113.028, ИЦФР.408113.028-01, ИЦФР.408113.028-23 |
ПВ41-ПВ57, ПВ65-ПВ71 |
кабель с гермопереходом |
М10х1 |
|
ИКЛЖ.408113.011-04 |
ПВ58 |
штанга |
М12х1 |
|
Обозначение |
Код |
Конструкция |
Установочная резьба |
|
ИКЛЖ.408113.011-05 |
ПВ59 | ||
|
ИКЛЖ.408113.012-07 |
ПВ60 |
кабель |
М10х1 |
|
ИЦФР.408113.022-01 |
ПВ61 |
штанга |
М10х1 |
|
ИЦФР.408113.031 |
ПВ62 |
металлорукав в трубке |
М10х1 |
|
ИКЛЖ.408113.011-06 |
ПВ63 |
штанга |
М12х1 |
|
ИЦФР.408113.009-02 |
ПВ64 |
кабель с гермопереходом |
М10х1 |
|
ИЦФР.408113.032 |
ПВ72 |
кабель |
М10х1 |
|
ИЦФР.408113.034 |
ПВ73 |
металлорукав с трубкой |
М10х1 |
|
ИЦФР.408113.034-01 |
ПВ74 | ||
|
ИЦФР.408113.035 |
ПВ75 |
металлорукав в трубке |
М10х1 |
|
ИЦФР.408113.033 |
ПВ76 |
металлорукав |
М10х1 |
|
ИЦФР.408113.036 |
ПВ77 |
металлорукав |
М10х1 |
Таблица 3 - Исполнения жгутов
|
Обозначение |
Код |
Конструкция |
|
ИКЛЖ.685621.027 |
L1 |
металлорукав |
|
ИКЛЖ.685621.027-01 |
L2 | |
|
ИКЛЖ.685621.027-02 |
L3 | |
|
ИКЛЖ.685621.027-03 |
L4 | |
|
ИКЛЖ.685621.029 |
L5 |
частично металлорукав |
|
ИЦФР.685661.007 |
L6 | |
|
ИЦФР.685661.007-01 |
L13 | |
|
ИЦФР.685661.007-02 |
L14 | |
|
ИЦФР.685661.007-04 |
L17 | |
|
ИЦФР.685621.053 |
L9 |
металлорукав, соединитель угловой (к ПВ) |
|
ИЦФР.685621.053-01 |
L10 | |
|
ИЦФР.685621.053-02 |
L11 | |
|
ИЦФР.685621.053-03 |
L12 | |
|
ИЦФР.685661.015 |
L15 |
металлорукав |
|
ИЦФР.685661.015-01 |
L16 |
металлорукав с трубкой |
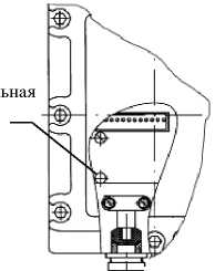
Конструктивно ПН (все исполнения) выполнен в металлическом сборном корпусе. В соответствующих местах на ПН предусмотрены элементы ограничения доступа: табличка контроля вскрытия и место для пломбирования.
Схема пломбировки от несанкционированного доступа
|
m Тб ! Табличка ЫЫ контроля 1 \ ______ffl-, + । / "“Контроль /К / Ьскрытия 'Я7 ф й 1 § Н й ПН1, ПН2 ПН7Б, ПН7Н, ПН8 |
Контрольная | пломба ---) О ПН3, ПН4, ПН9, ПН10 |
Фотографии общего вида датчиков

Программное обеспечение
ДП-И имеет встроенное энергонезависимое программное обеспечение (ПО). Идентификационные данные ПО определяются исполнением ПН. Функции встроенного ПО заключаются в обработке измерительной информации. Встроенное ПО датчика является метрологически значимым, в память при изготовлении записываются измерительные коэффициенты, изменение которых в процессе эксплуатации пользователем не предусмотрено.
Предусмотрены меры защиты ПО от преднамеренного и непреднамеренного изменения:
- пользователь не имеет возможность обновления или загрузки новых версий ПО;
- без нарушения целостности конструкции и заводских пломб невозможно удаление запоминающего устройства, или его замена другим устройством;
- в процессе работы невозможно ввести данные измерений, полученные вне датчика, данные результатов измерения не могут быть подвергнуты искажению в процессе хранения, так как происходит их обновление в каждом измерительном цикле, и отсутствуют требования по их хранению после окончания цикла измерения.
ДП-И имеет ПО с уровнем защиты С по МИ 3268-2010 и идентификационными данными в соответствии с таблицей 4.
Т аблица 4
|
Обозначение (код) ПН |
Наименование ПО |
Идентификационное наименование ПО |
Номер версии (идентификационный номер) ПО |
Цифровой идентификатор ПО (контрольная сумма исполняемого кода) |
Алгоритм вычисления цифрового идентификатора ПО |
|
1 |
2 |
3 |
4 |
5 |
6 |
|
ПН1 |
dpi 2 3 |
643.07623615.44006 |
2.3 |
8EC5 |
CRC16 |
|
ПН2 |
dpi 2 3 |
643.07623615.44006 |
2.3 |
8EC5 |
CRC16 |
|
ПН3 |
dpi 2 3 |
643.07623615.44006 |
2.3 |
8EC5 |
CRC16 |
|
ПН4 |
dpi 2 3 |
643.07623615.44006 |
2.3 |
8EC5 |
CRC16 |
|
ПН5 |
dpi 2 3 |
643.07623615.44006 |
2.3 |
8EC5 |
CRC16 |
|
ПН6 |
dpi_2_3 |
643.07623615.44006 |
2.3 |
8EC5 |
CRC16 |
|
1 |
2 |
3 |
4 |
5 |
6 |
|
ПН7Б |
dpi 5 0 |
643.07623615.44004 |
5.0 |
DA6F |
CRC16 |
|
ПН7Н |
dpi 6 1 |
643.07623615.44005 |
6.1 |
371C |
CRC16 |
|
ПН8 |
dpi 7 0 |
643.07623615.44003 |
7.0 |
17ЕВ |
CRC16 |
|
ПН8 |
dpi 7 0 |
643.07623615.44003 |
7.0 |
17ЕВ |
CRC16 |
|
ПН9 |
dpi 3 4 |
643.07623615.44002 |
3.4 |
А350 |
CRC16 |
|
ПН10 |
dpi_4_7 |
643.07623615.44001 |
4.7 |
4А78 |
CRC16 |
Технические характеристики
Диапазоны измерений ДП-И в соответствии с таблицей 5.
Таблица 5
|
Режим измерения |
Рабочий диапазон измерения |
|
"Зазор" L, мм для ПН1-ПН6, ПН7Б для ПН7Н |
от Lmin до Lmax , где Lmin > 0; Lmax < 2,35 мм, при условии Lmax - Lmin > 1,2 мм от Lmin до Lmax , где Lmin > 0; Lmax < 2,35 мм, при условиях: Lmax - Lmin > 1,2 мм (Lmax - Lmin) / Sr max < 4 мкм |
|
"Размах виброперемещения", Sr, мкм, с постоянной времени т = 0.3 с для ПН1-ПН6 для ПН7Б для ПН7Н | |
|
от 0,TSr max до Sr max при Sr max от 125 до 250 мкм | |
|
от 25 мкм до Sr max* при Sr max от 250 до 350 мкм | |
|
от 0,07^Sr max до Sr max при Sr max от 350 до 1000 мкм | |
|
"Амплитуда виброперемещения", Sa, мкм с постоянной времени т = 0.3 с |
Sа = Sr/2 |
|
"Векторная сумма виброперемещения каналов, Se, мкм, с постоянной времени т = 0.3 с |
от (ITS, max до Sr max при Sr max от 125 до 250 мкм |
|
"Виброперемещение НЧ", Sr нч, мкм с постоянной времени т = 10 мин, для ПН7Н |
от 20 до 400 мкм |
|
"Частота вращения", n, об/мин для ПН8, ПН9 |
от 60/ Kn до 2,4Ч05/ Kn, рде Kn - количество зубьев колеса |
|
для ПН10 смещение Lcm, мм размах виброперемещения S, мкм |
от минус 0,6 до плюс 0,6 мм; от минус 0,85 до плюс 0,85 мм Lmin > 0; Lmax < 2,35 мм; (Lmax - Lmin) > 1,2 мм от 0 до 350 мкм при смещении ± 0,6 мм от 0 до 500 мкм при смещении ± 0,85 мм |
Диапазон частот ДП-И (ПН1-ПН6, ПН7Б, ПН10) при измерении размаха, амплитуды,
мгновенного значения виброперемещения, размаха векторной суммы виброперемещения каналов от 10 до 1000 Гц, с ПН7Н - от 5 до 1000 Гц.
Пределы допускаемой основной абсолютной погрешности ДП-И при измерении зазора: по цифровому выходу ± 40 мкм; по токовому выходу ± 50 мкм.
Пределы допускаемой основной относительной погрешности ДП-И при измерении размаха, амплитуды виброперемещения на базовой частоте 160 Гц составляют ±(0,06 + 0,5/ Si) -100 %, где Si - измеренное значение виброперемещения, мкм.
Пределы допускаемой основной относительной погрешности ДП-И при измерении размаха векторной суммы виброперемещения каналов на базовой частоте 160 Гц составляют ±8 %.
Пределы допускаемой неравномерности АЧХ ДП-И при измерении размаха, амплитуды, размаха векторной суммы виброперемещения каналов составляют ± 10 %.
Диапазон частот ДП-И при измерении размаха виброперемещения НЧ от 1,67-10’3 до 250 Гц.
Пределы допускаемой основной абсолютной погрешности ДП-И при измерении размаха виброперемещения НЧ ± 10 мкм.
Пределы допускаемой основной погрешности ДП-И (ПН8, ПН9) при измерении частоты вращения:
- по цифровому выходу (абсолютная погрешность) ± 1 • 10’^nmax, об/мин;
- по токовому выходу (относительная погрешность) ± (0,03 + 0,02/(1вых -4))-100 %, где 1вых - измеренное значение выходного тока, мА.
Частота следования зубьев зубчатого колеса от 1 до 4000 Гц.
Пределы допускаемой основной абсолютной погрешности ДП-И (ПН10) при измерении смещения ± 25 мкм и основной относительной погрешности при измерении размаха и мгновенного значения виброперемещения на базовой частоте 160 Гц в диапазоне рабочих установочных зазоров ± (0,06 + 0,5/ Si + 3Ч0’4^ |AL уст| )400 %, где Si - измеренное значение виброперемещения, мкм; AL^ - отклонение от номинального зазора 1,35 мм.
ДП-И работоспособен при питании от источника постоянного тока напряжением от 18 до 36 В. Номинальное напряжение питания 24 В.
Потребляемая мощность и ток потребления ДП-И, не более:
- 2,3 Вт и 100 мА соответственно для ДП-И с двумя каналами;
- 2,0 Вт и 75 мА соответственно для ДП-И с одним каналом.
ПН1 и ПН2 ДП-И имеют уровень взрывозащиты "Взрывобезопасный" согласно ГОСТ Р 51330.0-99, обеспечиваемый видами взрывозащиты "Герметизация компаундом" по ГОСТ Р 51330.17-99 и "Искробезопасная электрическая цепь" по ГОСТ Р 51330.10-99.
ПН3, ПН4, ПН9, ПН10 ДП-И имеют уровень взрывозащиты "Взрывобезопасный" согласно ГОСТ Р 51330.0-99, обеспечиваемый видами взрывозащиты "Взрывонепроницаемая оболочка" по ГОСТ Р 51330.1-99 и "Искробезопасная электрическая цепь" по ГОСТ Р 51330.10-99.
ПВ ДП-И имеет уровень взрывозащиты "Взрывобезопасный" согласно ГОСТ Р 51330.0-99, обеспечиваемый видом взрывозащиты "Искробезопасная электрическая цепь" по ГОСТ Р 51330.10-99.
ДП-И устойчив к воздействию пониженной температуры минус 40 °С и прочен к воздействию температуры минус 60 °С.
ДП-И устойчив к воздействию повышенной температуры 70 °С на ПН, 100 °С на ПВ, 150 °С на ПВ41-ПВ57 и ПВ65-ПВ77.
ДП-И устойчив и прочен к воздействию повышенной влажности 95 % при температуре 35 °С.
Режим работы ДП-И - непрерывный круглосуточный.
Габаритные размеры:
- ПН1, ПН2, ПН5, ПН6 - не более 166 х 122 х 87 мм;
- ПН3, ПН4, ПН9, ПН10 - не более 284 х 188 х 71,5 мм;
- ПН7, ПН8 - не более 80 х 45 х 65 мм.
Масса ДП-И со жгутами не более 13,5 кг, в том числе:
- ПВ - не более 1,0 кг,
- жгут - не более 3,0 кг;
- ПН1, ПН2, ПН5, ПН6 - не более 2,0 кг;
- ПН3, ПН4, ПН9, ПН10 - не более 5,5 кг;
- ПН7, ПН8 - не более 0,3 кг.
Средняя наработка на отказ ДП-И не менее 50000 ч.
Назначенный срок службы ДП-И 12 лет.
Рабочие условия эксплуатации ДП-И:
- температура окружающего воздуха:
от минус 40 до плюс 70 °С для ПН;
от минус 40 до плюс 100 °С для ПВ;
от минус 40 до плюс 150 °С для ПВ41-ПВ57 и ПВ65-ПВ77;
- относительная влажность воздуха- до 95 % при температуре 35 ° С;
- атмосферное давление - от 84,0 до 106,7 кПа.
Знак утверждения типа
Знак утверждения типа наносится на корпус ПН согласно ИЦФР.402248.001СБ и на титульный лист руководства по эксплуатации ИЦФР.402248.001РЭ в центре страницы типографским способом.
Комплектность
Комплектность ДП-И соответствует указанной в таблице 6. Таблица 6
|
Наименование |
Обозначение |
Кол. |
|
Датчик перемещения ДП-И |
ИЦФР.402248.001 |
1 шт. |
|
Паспорт |
ИЦФР.402248.001ПС |
1 шт. |
|
Руководство по эксплуатации |
ИЦФР.402248.001РЭ |
1 шт. |
|
Компакт-диск |
ИЦФР.467371.012 |
1 шт. |
Поверка
осуществляется по методике, приведенной в приложении к Руководству по эксплуатации ИЦФР.402248.001РЭ I и утвержденной руководителем ГЦИ СИ ФБУ «Нижегородский ЦСМ» в III кв. 2011 г.
Основные средства поверки:
- поверочная вибрационная установка второго разряда по МИ 2070-90;
- устройство задания перемещений ИЦФР.442261.001 с головкой микрометрической серии MICROMASTER, тип 60.30039, погрешность задания смещения не более 3 мкм, зазора -не более 10 мкм.
- источник питания постоянного тока Б5-45, иВЫХ от 0 до 36 В, 1НАГР от 0 до 0,5 А;
- вольтметр универсальный цифровой В7-38, погрешность измерения: постоянный ток не более 0,25 %;
- вольтметр универсальный цифровой В7-78/1, погрешность измерения: пост. напряжение не более 0,5 %, переменное напряжение не более 0,5 %;
- генератор сигналов специальной формы ГСС-05, задание частоты от 0,001 до 500 Гц, погрешность задания частоты не менее 1-10-5 Гц, погрешность задания напряжения не более 4 %;
- генератор сигналов низкочастотный прецизионный Г3-122, задание частоты от 1 до 4000 Гц, погрешность задания частоты не более Г10’5 Гц.;
- осциллограф универсальные C1-96;
- персональный компьютер с интерфейсом RS-485, пользовательская программа UserProgDPI, устанавливаемая с компакт-диска ИЦФР.467371.012.
Сведения о методах измерений
Методы измерений содержатся в Руководстве по эксплуатации ИЦФР.402248.001РЭ.
Нормативные документы
ИЦФР.402248.001ТУ. Датчик перемещения ДП-И Технические условия
Рекомендации к применению
Датчики могут применяться при о существлении производственного контроля за соблюдением установленных законодательством Ро ссийской Федерации требований промышленной безопасно сти к эксплуатации опасного производственного объекта.
Другие Датчики перемещений
