42379-09: Система автоматизированная информационно-измерительная коммерческого учета электрической энергии ПС 220/6 кВ "КС-19" - АИИС КУЭ ПС 220/6 кВ "КС-19" - Производители, поставщики и поверители

Система автоматизированная информационно-измерительная коммерческого учета электрической энергии ПС 220/6 кВ "КС-19" - АИИС КУЭ ПС 220/6 кВ "КС-19"

ALL-Pribors default picture
Номер в ГРСИ РФ: 42379-09
Производитель / заявитель: ЗАО "Метростандарт", г.Москва
Скачать
42379-09: Описание типа
2009-42379-09.pdf
Скачать 540 КБ
Нет данных о поставщике
Поверка
Система автоматизированная информационно-измерительная коммерческого учета электрической энергии ПС 220/6 кВ "КС-19" - АИИС КУЭ ПС 220/6 кВ "КС-19" поверка на: www.ktopoverit.ru
КтоПоверит
Онлайн-сервис метрологических услуг

Для измерений активной и реактивной электрической энергии, времени и интервалов времени. Область применения - коммерческий учёт электрической энергии на ПС 220/6 кВ "КС-19" ОАО "ФСК ЕЭС", в том числе для взаимных расчетов на оптовом рынке электрической энергии (ОРЭ).

Информация по Госреестру

Основные данные
Номер по Госреестру 42379-09
Наименование Система автоматизированная информационно-измерительная коммерческого учета электрической энергии ПС 220/6 кВ "КС-19" - АИИС КУЭ ПС 220/6 кВ "КС-19"
Характер производства Единичное
Идентификатор записи ФИФ ОЕИ 0eef26e6-9219-e040-2ca2-340ea5c29975
Испытания
Дата Модель Заводской номер
зав.№ ЕМНК.466454.030-049
Год регистрации 2009
Информация устарела
Общие данные
Технические условия на выпуск тех.документация ЗАО
Класс СИ 34.01.04
Год регистрации 2009
Страна-производитель  Россия 
Центр сертификации СИ
Наименование центра ГЦИ СИ Челябинского ЦСМ
Адрес центра 454048, г.Челябинск, ул.Энгельса, 101
Руководитель центра Михайлов Анатолий Иванович
Телефон (8*351*2) 34-12-14
Факс 34-28-03, 34-12-14
Информация о сертификате
Срок действия сертификата . .
Номер сертификата 37383
Тип сертификата (C - серия/E - партия) Е
Дата протокола 12 от 03.12.09 п.433
Производитель / Заявитель

ЗАО "Метростандарт", РОССИЯ, г.Москва

 Россия 

117997, ул.Профсоюзная, д.65, стр.1 Тел. 8(495)745-21-70, Факс 705-97-50 Сайт: www.metrostandart.ru

Поверка

Методика поверки / информация о поверке МИ 3000-06
Межповерочный интервал / Периодичность поверки
4 года
Зарегистрировано поверок
Актуальность информации 22.03.2026
Найти результаты поверки
Указан в паспорте или на самом приборе

Поверители

КтоПоверит
Онлайн-сервис метрологических услуг
Система автоматизированная информационно-измерительная коммерческого учета электрической энергии ПС 220/6 кВ "КС-19" - АИИС КУЭ ПС 220/6 кВ "КС-19" поверка на: www.ktopoverit.ru
КтоПоверит
Онлайн-сервис метрологических услуг

Скачать

42379-09: Описание типа
2009-42379-09.pdf
Скачать 540 КБ

Описание типа

Назначение

Система автоматизированная информационно-измерительная коммерческого учета электрической энергии ПС 220/6 кВ «КС-19» (далее АИИС КУЭ ПС 220/6 кВ «КС-19» ) предназначена для измерений активной и реактивной электрической энергии, времени и интервалов времени.

Область применения АИИС КУЭ ПС 220/6 кВ «КС-19» - коммерческий учёт электрической энергии на ПС 220/6 кВ «КС-19» ОАО «ФСК ЕЭС», в том числе для взаимных расчетов на оптовом рынке электрической энергии (ОРЭ).

Описание

АИИС КУЭ ПС 220/6 кВ «КС-19» представляет собой многофункциональную, двухуровневую систему, которая состоит из измерительных каналов (далее - ИК), измерительно-вычислительного комплекса электроустановки (далее - ИВКЭ), выполняющего функции информационно-вычислительного комплекса (далее - ИВК), и системы обеспечения единого времени (далее - СОЕВ).

АИИС КУЭ ПС 220/6 кВ «КС-19» решает следующие задачи:

- измерение 30-минутных приращений активной и реактивной электрической энергии и автоматический сбор привязанных к единому календарному времени результатов измерений приращений электрической энергии с заданной дискретностью учета (30 мин);

- предоставление пользователям и эксплуатационному персоналу регламентированной информации в форме отображения, печатной форме, форме электронного документа (файла);

- ведение журналов событий ИК и ИВКЭ;

- контроль достоверности измерений на основе анализа пропуска данных и анализ журнала событий ИК;

- формирование защищенного от несанкционированных изменений архива результатов измерений, с указанием времени проведения измерения и времени поступления данных в электронный архив, формирование архива технической и служебной информации;

- передача в организации - участники ОРЭ результатов измерений (1 раз в сутки);

- предоставление по запросу контрольного доступа к результатам измерений,

данных о состоянии объектов и средств измерений со стороны организаций - участников ОРЭ (1 раз в сутки);

- организация доступа к технической и служебной информации (1 раз в 30 мин);

- синхронизация времени в автоматическом режиме всех элементов ИК и ИВКЭ (счетчик, шлюз Е-422, сервер АРМ ПС, УСПД) с помощью СОЕВ, соподчиненной национальной шкале времени безотносительно к интервалу времени с погрешностью не более ± 5 с;

- автоматизированный (1 раз в сутки) контроль работоспособности программнотехнических средств ИК и ИВКЭ;

- обеспечение защиты оборудования, программного обеспечения и данных от несанкционированного доступа на физическом и программном уровне (установка паролей и т.п.).

АИИС КУЭ ПС 220/6 кВ «КС-19» включает в себя следующие уровни:

1 -й уровень - ИК, включающие измерительные трансформаторы тока (ТТ) класса точности 0,2; 0,5, измерительные трансформаторы напряжения (ТН) класса точности 0,2; 0,5 и счетчики электрической энергии многофункциональные EPQS и СЭТ-4ТМ.03 класса точности 0,2S/0,5; вторичные электрические цепи; технические средства каналов передачи данных.

2 -й уровень - ИВКЭ включает в себя:

- шкаф технологического коммутационного устройства (далее - ТКУ), в состав которого входит два шлюза E-422, WiFi модем AWK 1100, сетевой концентратор, блоки резервного питания счетчиков, блок питания шкафа, коммутационное оборудование;

- шкаф устройства центральной коммутации (далее - ЦКУ), в состав которого входит WiFi модем AWK 1100, оптический конвертор, сетевой концентратор D-Link, спутниковая станция «SkyEdge PRO», сервер АРМ ПС;

- шкаф УСПД, в состав которого входит УСПД ЭКОМ-3000, блок

бесперебойного питания;

- устройство синхронизации системного времени (УССВ) на базе GPS-

приемника (в составе УСПД ЭКОМ-3000).

Первичные фазные токи и напряжения преобразуются измерительными трансформаторами в аналоговые сигналы низкого уровня, которые по проводным линиям связи поступают на соответствующие входы электронного счетчика электрической энергии. В счетчике мгновенные значения аналоговых сигналов преобразуются в цифровой сигнал. По мгновенным значениям силы электрического тока и напряжения в микропроцессоре счетчика вычисляются мгновенные значения активной и полной электрической мощности, которые усредняются за период 0,02 с. Средняя за период реактивная электрическая мощность вычисляется по средним за период значениям активной и полной электрической мощности.

Электрическая энергия вычисляется для интервалов времени 30 мин, как интеграл от средней электрической мощности, получаемой периодически за 0,02 с.

Средняя активная (реактивная) электрическая мощность вычисляется как среднее значение электрической мощности на интервалах времени 3 или 30 мин. В памяти счетчиков ведутся профили нагрузки.

Каналы связи не вносят дополнительных погрешностей в измеренные значения энергии и мощности, которые передаются от счетчиков в ИВКЭ, поскольку используется цифровой метод передачи данных.

Для обеспечения единого времени в АИИС КУЭ ПС 220/6 кВ «КС-19» в состав ИВКЭ входит УССВ на базе GPS приемника. УССВ осуществляет прием сигналов точного времени и синхронизацию времени в УСПД.

Контроль меток времени во всех элементах АИИС КУЭ ПС 220/6 кВ «КС-19» осуществляется УСПД каждые 30 мин. Синхронизация (коррекция) времени в счетчиках ИК производится при расхождении времени внутренних таймеров счетчиков и УССВ на

значение более 2 с. Синхронизация времени в шлюзах Е-422 и сервере АРМ ПС производится также УССВ при расхождении значений времени в этих устройствах и УССВ на значение более 2 с.

Таким образом, СОЕВ АИИС КУЭ ПС 220/6 кВ «КС-19» обеспечивает измерение

времени в системе с погрешностью не хуже ± 5 с.

Защита от несанкционированного доступа предусмотрена на всех передачи и хранения коммерческой информации и обеспечивается технических и организационных мероприятий.

уровнях сбора, совокупностью

ОСНОВНЫЕ ТЕХНИЧЕСКИЕ ХАРАКТЕРИСТИКИ

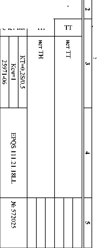
Состав измерительных каналов и их метрологические характеристики приведены в таблице 1

Таблица 1 - Состав измерительных каналов и их метрологические характеристики ______________

Канал измерений

Состав измерительного канала

Ктт •Ктн •Ксч

Наименование измеряемой величины

Вид электрической энергии

Метрологические характеристики Доверительные границы относительной погрешности результата измерений количества активной и реактивной электрической энергии и мощности при доверительной вероятности Р=0,95:

Номер ИК, код точки измерений

Наименование объекта учета, диспетчерское наименование присоединения

Вид СИ, класс точности, коэффициент трансформации, № Госреестра СИ или свидетельства о поверке

Обозначение, тип

Заводской номер

Основная погрешность ИК, ± %

Погрешность ИК в рабочих условиях эксплуатации, ± %

cos ф = 0,87 sin ф = 0,5

cos ф = 0,5 sin ф = 0,87

1

2

3

4

5

6

7

8

9

10

ЮУГРЭС - КС 19

ТТ

КТ=0,5

А

ТФЗМ-220Б-1УУ1

№ 8984

О о о о

Мощность и энергия активная Мощность и энергия реактивная

Активная Реактивная

± 1,1%

± 2,2%

± 5,0%

± 2,4%

Ктт=1000/5

В

ТФЗМ-220Б-1УУ1

№ 9412

6540-78

С

ТФЗМ-220Б-ГУУ1

№ 9149

ТН

КТ=0,5

А

НКФ 220-58 У1

№ 25649

Ктн=220000:^3/100:^3

В

НКФ 220-58 У1

№ 25242

1382-60

С

НКФ 220-58 У1

№ 25629

Счетчик

КТ=0,2Б/0,5

Ксч=1 25971-06

EPQS 111.21.18LL

№ 472376

4

3

Т 1 вв. 3 ст. 6 кВ

Т 1 вв. 1 ст. 6 кВ

Счетчик

TH

тт

Счетчик

TH

ТТ

25971-06

о Л

II н—

KT=0,2S/0,5

11094-87

%

И

II

о о о

о о

н II

о io

3972-03

Ктт=2000/5

н II

о io

25971-06

о л

II

н—

KT=0,2S/0,5

11094-87

%

И

II

о о о

о о

н II

о io

3972-03

Ктт=2000/5

н II

о io

EPQS 111.21.18LL

О

м

>

О

м

>

EPQS 111.21.18LL

О

м

>

О

м

>

НАМИ-10У2

ТШЛ-10-1-УЗ

ТШЛ-10-1-УЗ

НАМИ-10У2

ТШЛ-10-1-УЗ

ТШЛ-10-1-УЗ

№471319

№3160

№ 2096

№ 2095

№471600

№ 3297

№2113

№2109

24000

24000

Мощность и энергия активная Мощность и энергия реактивная

Мощность и энергия активная Мощность и энергия реактивная

Активная Реактивная

Активная Реактивная

± 0,6%

± 1,0%

± 0,6%

± 1,0%

± 1,9%

± 1,5%

± 1,9%

± 1,5%

Счетчик

TH

ВЛ 10кВ Спиркино-Сухорыш

Таблица 1 Продолжение

-

Мощность и энергия активная Мощность и энергия реактивная

Активная Реактивная

00

не нормируется *

не нормируется *

©

Таблица 1. Продолжение

1

2

3

4

5

6

7

8

9

10

■Г;

Т 2 вв. 2 ст. 6 кВ

ТТ

КТ=0,2

А

ТШЛ-10-1-У3

№ 2067

24000

Мощность и энергия активная Мощность и энергия реактивная

Активная Реактивная

± 0,6%

± 1,0%

± 1,9%

± 1,5%

Ктт=2000/5

В

-

-

3972-03

С

ТШЛ-10-1-У3

№ 2064

ТН

КТ=0,2

А

НАМИ-10У2

№ 3208

Ктн=6000/100

В

11094-87

С

Счетчик

KT=0,2S/0,5

EPQS 111.21.18LL

№ 471982

Ксч=1

25971-06

40

Т 2 вв. 4 ст. 6 кВ

ТТ

КТ=0,2

А

ТШЛ-10-1-У3

№ 2111

24000

Мощность и энергия активная Мощность и энергия реактивная

Активная Реактивная

± 0,6%

± 1,0%

± 1,9%

± 1,5%

Ктт=2000/5

В

-

-

3972-03

С

ТШЛ-10-1-У3

№ 2112

ТН

КТ=0,2

А

НАМИ-10У2

№ 3120

Ктн=6000/100

В

11094-87

С

Счетчик

KT=0,2S/0,5

EPQS 111.21.18LL

№ 471321

Ксч=1

25971-06

г-

ТСН 3

ТТ

КТ=0,5

А

Т-0,66 У3

№ ТСН-3 фА

80

Мощность и энергия активная Мощность и энергия реактивная

Активная Реактивная

± 0,8%

± 1,8%

± 4,0%

± 2,3%

Ктт=400/5

В

Т-0,66 У3

№ ТСН-3 фВ

15698-96

С

Т-0,66 У3

№ ТСН-3 фС

ТН

нет ТН

Счетчик

KT=0,2S/0,5

СЭТ-4ТМ.03.08

№ 0105077238

Ксч=1

27524-04

Примечания:

1. В Таблице 1 приведены метрологические характеристики основной погрешности ИК (нормальные условия эксплуатации) и погрешности ИК в рабочих условиях эксплуатации для измерения электрической энергии и средней мощности (получасовых);

2. В Таблице 1 в графе «Основная погрешность ИК, ± %» приведены границы погрешности результата измерений посредством ИК при доверительной вероятности

Р=0,95, cosy=0,87 (siny=0,5) и токе ТТ, равном 1ном .

3. В Таблице 1 в графе «Погрешность ИК в рабочих условиях эксплуатации, ± %» приведены границы погрешности результата измерений посредством ИК при доверительной вероятности Р=0,95, cosф=0,5 (siny=0,87) ) и токе ТТ, равном 10 % от 1ном.

4. Нормальные условия эксплуатации:

- параметры питающей сети: напряжение - (220±4,4) В; частота - (50 ± 0,5) Гц;

- параметры сети: диапазон напряжения - (0,99 ^ 1,01)Uh; диапазон силы тока - (1,0 ^ 1,2)1н; диапазон коэффициента мощности cosp (sinp) - 0,87(0,5); частота - (50 ± 0,5) Гц;

- температура окружающего воздуха: ТТ- от +15°С до +35°С;ТН- от +10°С до +35°С; счетчиков: в части активной энергии - от +21 °С до +25°С,

в части реактивной энергии - от +18°С до +22 °C; УСПД - от +15°С до +25 °C;

- относительная влажность воздуха - (70±5) %;

- атмосферное давление - (750±30) мм рт.ст.

5. Рабочие условия эксплуатации:

для ТТ и ТН:

- параметры сети: диапазон первичного напряжения - (0,9 ^ 1,1)Uh1; диапазон силы первичного тока (0,01 + 1,2)Ih1; коэффициент мощности cosp (sinp) - 0,5 ^ 1,0(0,6 ^ 0,87); частота - (50 ± 0,5) Гц;

- температура окружающего воздуха - от -30°C до +35°C;

- относительная влажность воздуха - (70±5) %;

- атмосферное давление - (750±30) ммрт.ст.

Для электросчетчиков:

- параметры сети:   диапазон вторичного напряжения -   (0,9 ^   1,1)Uh2;   диапазон силы вторичного тока - тока (0,01   ^   1,2)1н2;

диапазон коэффициента мощности cosp (sinp) - 0,5 ^ 1,0(0,6 ^ 0,87); частота - (50 ± 0,5) Гц;

- магнитная индукция внешнего происхождения - 0,5 мТл;

- температура окружающего воздуха - от +15°C до +30°C;

- относительная влажность воздуха - (40-60) %;

- атмосферное давление - (750±30) ммрт.ст.

Для аппаратуры передачи и обработки данных:

- параметры питающей сети: напряжение - (220±10) В; частота - (50 ± 1) Гц;

- температура окружающего воздуха - от +15 °С до +30°С;

- относительная влажность воздуха - (70±5) %;

- атмосферное давление - (750±30) ммрт.ст.

6. Допускается замена измерительных трансформаторов и счетчиков на аналогичные утвержденных типов с метрологическими характеристиками не хуже, чем у перечисленных в Таблице 1, УСПД на однотипный утвержденного типа. Замена оформляется актом в установленном порядке. Акт хранится совместно с настоящим описанием типа АИИС КУЭ ПС 220/6 кВ «КС-19» как его неотъемлемая часть.

Надежность применяемых в системе компонентов:

• счетчик электрической энергии - средняя наработка на отказ не менее 120 000 ч, время восстановления работоспособности не более 168 ч;

• ИВКЭ - средняя наработка на отказ не менее 35 000 ч, время восстановления работоспособности не более 168 ч;

• шлюз Е-422 - средняя наработка на отказ не менее 50 000 ч;

• УСПД - средняя наработка на отказ не менее 35 000 ч, среднее время восстановления работоспособности 24 ч;

• СОЕВ - коэффициент готовности Кг не менее 0,95, среднее время восстановления не более 168 ч.

Установленный полный срок службы АИИС КУЭ ПС 220/6 кВ «КС-19» - не менее 20 лет.

В АИИС КУЭ ПС 220/6 кВ «КС-19» используются следующие виды резервирования:

- резервирование по двум интерфейсам опроса счетчиков;

- резервирование питания счетчиков, шлюзов Е-422, сервера АРМ ПС, УСПД;

- предусмотрена возможность автономного считывания измерительной информации со счетчиков и визуальный контроль информации на счетчике;

- контроль достоверности и восстановление данных;

- наличие резервных баз данных;

- наличие перезапуска и средств контроля зависания;

- наличие ЗИП.

Регистрация событий:

• журнал событий ИК:

- отключение и включение питания;

- корректировка времени;

- удаленная и местная параметризация;

- включение и выключение режима тестирования.

• журнал событий ИВКЭ:

- дата начала регистрации измерений;

- перерывы электропитания;

- потери и восстановления связи со счётчиками;

- программные и аппаратные перезапуски;

- корректировки времени в каждом счетчике.

Защищенность применяемых компонентов:

• механическая защита от несанкционированного доступа и пломбирование:

- привод разъединителя трансформаторов напряжения;

- корпус (или кожух) автоматического выключателя в цепи трансформатора напряжения, а так же его рукоятка (или прозрачная крышка);

- клеммы вторичной обмотки трансформаторов тока;

- промежуточные клеммники, через которые проходят цепи тока и напряжения;

- испытательная коробка (специализированный клеммник);

- крышки клеммных отсеков счетчиков;

- крышки клеммного отсека УСПД.

• защита информации на программном уровне:

- установка двухуровневого пароля на счетчик;

- установка пароля на УСПД;

- защита результатов измерений при передаче информации  (возможность

использования цифровой подписи).

Глубина хранения информации:

• электросчетчик - тридцатиминутный профиль нагрузки в двух направлениях, журнал событий - не менее 35 суток;

• ИВКЭ - результаты измерений, состояние объектов и средств измерений - не менее 35 суток;

• Сервер АРМ ПС - результаты измерений, состояние объектов и средств измерений - не менее 4 лет.

Знак утверждения типа

Знак утверждения типа наносится на титульные листы эксплуатационной документации на систему автоматизированную информационно-измерительную коммерческого учета электрической энергии ПС 220/6 кВ «КС-19» АИИС КУЭ ПС 220/6 кВ «КС-19»

Комплектность

Комплектность АИИС КУЭ ПС 220/6 кВ «КС-19» определяется проектной документацией на систему. В комплект поставки входит техническая документация на систему и на комплектующие средства измерений.

Поверка

Поверка АИИС КУЭ ПС 220/6 кВ «КС-19» проводится по документу МИ 3000-2006 «ГСИ. Системы автоматизированные информационно-измерительные коммерческого учета электрической энергии. Типовая методика поверки».

Перечень основных средств поверки:

- трансформаторы напряжения - в соответствии с ГОСТ 8.216-88 «ГСИ. Трансформаторы напряжения. Методика поверки» и/или МИ 2845-2003 «Измерительные трансформаторы напряжения 6/^3... 35 кВ. Методика поверки на месте эксплуатации», МИ 2925-2005 «ГСИ. Измерительные трансформаторы напряжения 35 ... 330/^3 кВ. Методика поверки на месте эксплуатации с помощью эталонного делителя»;

- трансформаторы тока - в соответствии с ГОСТ 8.217-2003 «ГСИ. Трансформаторы тока. Методика поверки»;

- счетчики EPQS - в соответствии с методикой поверки РМ 1039597-26:2002 «Счетчики электрической энергии многофункциональные EPQS», утвержденной Государственной службой метрологии Литовской Республики.;

- счетчики типа СЭТ-4ТМ.03 - в соответствии с методикой поверки ИГЛШ.411152.124 РЭ1, являющейся приложением к руководству по эксплуатации ИГЛШ.411152.124 РЭ;

- средства поверки УСПД в соответствии с разделом 8 «поверка» Руководства по эксплуатации 106-АТХ-000 РЭ, согласованным с ФГУП «УНИИМ» в апреле 2005 г.;

- переносной компьютер с ПО и оптический преобразователь для работы со счетчиками системы и с ПО для работы с радиочасами МИР РЧ-01;

- радиочасы МИР РЧ-01, принимающие сигналы спутниковой навигационной системы Global Positioning System (GPS).

Межповерочный интервал - 4 года.

Нормативные документы

ГОСТ 1983-2001 «Трансформаторы напряжения. Общие технические условия».

ГОСТ 7746-2001 «Трансформаторы тока. Общие технические условия».

ГОСТ Р 52323-2005 (МЭК 62053-22:2003) «Статические счетчики активной энергии классов точности 0,2S и 0,5S».

ГОСТ Р 52425-2005 (МЭК 62053-23:2003) «Статические счетчики реактивной энергии».

ГОСТ 22261-94 «Средства измерений электрических и магнитных величин. Общие технические условия».

ГОСТ Р 8.596-2002 «ГСИ. Метрологическое обеспечение измерительных систем. Основные положения».

МИ 3000-2006 «Системы автоматизированные информационно-измерительные коммерческого учета электрической энергии. Типовая методика поверки».

Техническая документация на систему автоматизированную информационноизмерительную коммерческого учета электрической энергии ПС 220/6 кВ «КС-19» - АИИС КУЭ ПС 220/6 кВ «КС-19».

Заключение

Тип системы автоматизированной информационно-измерительной коммерческого учета электрической энергии ПС 220/6 кВ «КС-19» - АИИС КУЭ ПС 220/6 кВ «КС-19», утвержден с техническими и метрологическими характеристиками, приведенными в настоящем описании типа, метрологически обеспечен при выпуске и в эксплуатации согласно государственным поверочным схемам.

Смотрите также

Default ALL-Pribors Device Photo
Для измерений активной и реактивной электрической энергии, времени и интервалов времени. Область применения - коммерческий учёт электрической энергии на ПС 220/110/10 кВ "Исаково" ОАО "ФСК ЕЭС", в том числе для взаимных расчетов на оптовом рынке элек...
Default ALL-Pribors Device Photo
Для измерений активной и реактивной электрической энергии, времени и интервалов времени. Область применения - коммерческий учёт электрической энергии на ПС 110/35/27,5/10 кВ Карталы-районная ОАО "ФСК ЕЭС", в том числе для взаимных расчетов на оптовом...
Default ALL-Pribors Device Photo
Для измерений активной и реактивной электрической энергии, времени и интервалов времени. Область применения - коммерческий учёт электрической энергии на ПС 110/35/10 кВ "Ракитная" ОАО "ФСК ЕЭС", в том числе для взаимных расчетов на оптовом рынке элек...
Default ALL-Pribors Device Photo
Для измерений активной и реактивной электрической энергии, времени и интервалов времени. Область применения - коммерческий учёт электрической энергии на ПС 110/10 кВ "Восточная" ОАО "ФСК ЕЭС", в том числе для взаимных расчетов на оптовом рынке электр...