Счетчики газа ротационные РГ-К-Ех
| Номер в ГРСИ РФ: | 46094-11 |
|---|---|
| Категория: | Счетчики газа |
| Производитель / заявитель: | ОАО "Ивано-Франковский завод "Промприбор", Украина, г.Ивано-Франковск |
Для измерения объема природного газа по ГОСТ 5542-87.
Информация по Госреестру
| Основные данные | |
|---|---|
| Номер по Госреестру | 46094-11 |
| Действует | по 10.02.2016 |
| Наименование | Счетчики газа ротационные |
| Модель | РГ-К-Ех |
| Характер производства | Серийное |
| Идентификатор записи ФИФ ОЕИ | 8aacd44d-938c-5e7e-12e8-0dc68c8807e7 |
| Год регистрации | 2011 |
| Общие данные | |
|---|---|
| Технические условия на выпуск | ТУ У 3.48-05782912-048-97 |
| Класс СИ | 29.01.01.01 |
| Год регистрации | 2011 |
| Страна-производитель | Украина |
| Центр сертификации СИ | |
| Наименование центра | Госстандарт Украины |
| Адрес центра | Украина, 252650, г.Киев, ул.Горького, 174 |
| Руководитель центра | Киселева Татьяна Николаевна |
| Телефон | (8*044) 226-29-71 |
| Факс | 226-29-70, 268-56-00 |
| Информация о сертификате | |
| Срок действия сертификата | 10.02.2016 |
| Номер сертификата | 42118 |
| Тип сертификата (C - серия/E - партия) | С |
| Дата протокола | Приказ 491 от 10.02.11 п.05 |
Производитель / Заявитель
ОАО "Ивано-Франковский завод "Промприбор", УКРАИНА, г.Ивано-Франковск
Украина
76000, ул.акад.Сахарова, 23, факс (03422) 3-22-05
Поверка
| Методика поверки / информация о поверке | 2.784.001 Д1 |
| Межповерочный интервал / Периодичность поверки |
2 года
|
| Зарегистрировано поверок | |
| Найдено поверителей | |
| Успешных поверок (СИ пригодно) | 537 (92%) |
| Неуспешных поверок (СИ непригодно) | 47 (8 %) |
| Актуальность информации | 31.03.2026 |
Поверители
Скачать
|
46094-11: Описание типа
2011-46094-11.pdf
|
Скачать | 178.3 КБ | |
| Свидетельство об утверждении типа СИ | Открыть | ... |
Описание типа
Назначение
Счетчики газа ротационные РГ-К-Ех, (в дальнейшем - счетчики) предназначены для измерения объема природного газа по ГОСТ 5542-87.
Описание
Счетчики состоят из измерителя и отсчетного устройства. В корпусе измерителя размещены два ротора восьмиобразной формы. С обеих сторон корпус закрыт стенками, в которых вмонтированы подшипники - опоры роторов. На валах роторов установлены синхронизирующие шестерни, которые обеспечивают надлежащее положение одного ротора относительно другого при их вращении.
Принцип действия - поток газа, протекающий через счетчики, вследствие разницы давлений на входе и выходе измерителя, вращает роторы, вращательное движение одного из роторов с помощью зубчатой передачи передается на барабаны отсчетного устройства. Отсчетное устройство показывает объем измеряемого газа непосредственно в кубических метрах и долях кубического метра.
Отсчетное устройство оборудовано низкочастотным датчиком, формирующим выходной низкочастотный сигнал типа "сухой контакт".
Счетчики предназначены для работы с электронными корректорами и могут устанавливаться во взрывоопасных зонах. Искро-защита электрических цепей обеспечивается барьерами искроэа-щиты.
Счетчики выпускаются следующих типоразмеров:
G25, G40, G65, G100, G250, G400, G650, G1000;
Корпус счетчиков изготавливается из чугунного литья.
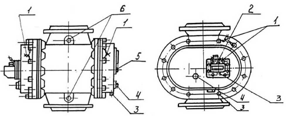
На фото 1 изображен счетчик газа ротационный РГ-К-Ех (общий вид).
Фото 1
Места пломбировки показаны в рисунке 1
Рисунок 1
1 - места установления пломб при выпуске из производства
2 ^ 6 - места установки пломб при сдаче в эксплуатацию
Технические характеристики
1. Пределы основной относительной погрешности при объемных расходах счетчиков составляют:
- ±2,0 % в диапазоне расходов Qmin < Q < Qt;
- ±1,0 % в диапазоне расходов Qt < Q < Qm^;
где Qt - переходной расход, который составляет:
- 0,2 Qmax для счетчиков при соотношении расходов 1:20;
- 0,15 ртах для счетчиков при соотношении расходов 1:30.
2. Емкость отсчетного устройства составляет, м3, для счетчиков:
- типоразмеров G25, G40, G65, G100 - 99999,99;
- типоразмеров G250, G400, G650, G1000 - 999999,9;
3. Порог чувствительности счетчиков не превышает 1/3 Qmin.
4. Основные технические характеристики счетчиков приведены в таблице 1.
Таблица 1
|
Наименование параметра |
Нормированные значения для исполнений и типоразмеров | |||||||||
|
РГ-К-Ех | ||||||||||
|
Типорозмер |
G25 |
G40 |
G65 |
G100 |
G250 |
G400 |
G650 |
G1000 | ||
|
Расход в рабочих условиях, м3/ч максимальный, С)„,ах |
40 |
65 |
100 |
160 |
400 |
650 |
1000 |
1250 |
1600 | |
|
номинальный, Qnom |
25 |
40 |
65 |
100 |
250 |
400 |
650 |
1000 | ||
|
минимальный Qmin при соотношении расхода: Qmin/Qmax 1:20 1:30 | ||||||||||
|
2 |
3 |
5 |
8 |
20 |
32 |
50 |
62 |
80 | ||
|
1,3 |
2 |
3 |
5 |
13 |
20 |
32 |
40 |
50 | ||
|
Максимальное рабочее давление, МПа |
0,1 | |||||||||
|
Потеря давления на Qmах, Па |
700 |
1050 | ||||||||
|
Номинальный диаметр, DN |
50 |
80 |
100 125 |
150 |
150 |
200 |
200 | |||
|
Г абаритные размеры, мм, не более длина ширина высота |
281 |
340 |
425 |
560 |
680 |
710 | ||||
|
160 |
240 |
380 |
380 |
470 |
548 | |||||
|
175 |
240 |
360 |
360 |
440 |
500 | |||||
|
Масса счетчиков, кг, не более | ||||||||||
|
-ротора стальные |
12 |
28,5 |
75 |
98 |
145 |
205 | ||||
|
-ротора из алюминиевого сплава |
11 |
20 |
23 |
52 |
60 |
103 |
160 | |||
5. Значение импульса преобразователя импульсов низкой частоты для счетчиков :выходного импульсного сигнала, имп/м3, для
РГ-К-Ех типоразмеров G250; G400; G650; G1000 - 1 имп=1м3;
РГ-К-Ех типоразмеров G25; G40; G65; G100 - 1 имп=0,1м3;
6. Масса комплекта ЗИП и комплекта монтажных частей, кг, не более - 1,5
7. Средний срок службы счетчиков, не менее 20 лет.
Знак утверждения типа
Знак утверждения типа наносят на планке отсчетного устройства и на титульном листе паспорта и руководства, по центру листа.
Комплектность
Комплект поставки счетчиков газа приведен в таблице 2.
Таблица 2
|
Наименование |
Количество |
Примечание |
|
1 Счетчик газа ротационный |
1 шт. |
Исполнение и типоразмер согласно заказа |
|
2 Паспорт |
1 экз. |
Согласно исполнения |
|
3 Руководство по эксплуатации |
1 экз. |
Согласно исполнения |
|
4 Методика поверки |
1 экз. |
По требованию потребителя |
|
5 Комплект монтажных частей |
1 компл. |
Согласно исполнения |
|
6 Комплект запасных частей |
1 компл. |
Согласно исполнения |
|
7 Комплект инструмента и принадлежностей |
1 компл. |
Согласно исполнения |
|
8 Фильтр газа |
1 шт. |
Согласно заказа |
|
9 Упаковка |
1 компл. |
Согласно исполнения |
Поверка
осуществляется по инструкции 2.784.001 Д1 "Счетчики газа ротационные РГ-К-Ех. Методика поверки", утвержденной Ивано-Франковским ЦСМ в июне 2002 г.
Основные средства поверки после ремонта и в эксплуатации: установки с пределами допускаемой относительной погрешности воспроизведения объема газа ±0,33%.
Сведения о методах измерений
"Государственная система обеспечения единства измерений. Методика выполнения измерений при помощи турбинных, ротационных и вихревых счетчиков" Правила по метрологии ПР 50.2.019-2006.
Нормативные документы
ТУ У 3.48-05782912-048-97 "Счетчики газа ротационные РГ-К-Ех, РГА, РГА-Ех, РС-Ех Технические условия".
Рекомендации к применению
- осуществлении торговли и товарообменных операций
Другие Счетчики газа
