Периодомеры цифровые специализированные ПЦС-1
| Номер в ГРСИ РФ: | 46573-11 |
|---|---|
| Категория: | Периодомеры |
| Производитель / заявитель: | АО "НПО "Прибор", г.С.-Петербург |
Для измерения периода собственных колебаний струны измерительного струнного преобразователя.
Информация по Госреестру
| Основные данные | |
|---|---|
| Номер по Госреестру | 46573-11 |
| Действует | по 31.03.2016 |
| Наименование | Периодомеры цифровые специализированные |
| Модель | ПЦС-1 |
| Характер производства | Серийное |
| Идентификатор записи ФИФ ОЕИ | 6bb60379-d356-cef3-5939-c1e3282da971 |
| Год регистрации | 2011 |
| Общие данные | |
|---|---|
| Технические условия на выпуск | ИСУЯ.468214.002 ТУ |
| Класс СИ | 33.02 |
| Год регистрации | 2011 |
| Страна-производитель | Россия |
| Центр сертификации СИ | |
| Наименование центра | ГЦИ СИ ФБУ "Тест-Санкт-Петербург" |
| Адрес центра | 198103, г.С.-Петербург, ул.Курляндская, 1 |
| Руководитель центра | Окрепилов Владимир Валентинович |
| Телефон | (8*812) 251-39-50 |
| Факс | 251-41-08 |
| Информация о сертификате | |
| Срок действия сертификата | 31.03.2016 |
| Номер сертификата | 42352 |
| Тип сертификата (C - серия/E - партия) | С |
| Дата протокола | Приказ 1425 от 31.03.11 п.03 |
Производитель / Заявитель
ОАО "НПО "Прибор", РОССИЯ, г.С.-Петербург
Россия
199034, 17-я линия В.О., д.4-6. Тел. +7(812) 323-24-57, факс 321-75-07, E-mail: info@npo-pribor.ru
Поверка
| Методика поверки / информация о поверке | МП 46573-11 |
| Межповерочный интервал / Периодичность поверки |
1 год
|
| Зарегистрировано поверок | |
| Найдено поверителей | |
| Успешных поверок (СИ пригодно) | 35 (100%) |
| Неуспешных поверок (СИ непригодно) | 0 (0 %) |
| Актуальность информации | 29.03.2026 |
Поверители
Скачать
|
46573-11: Описание типа
2011-46573-11.pdf
|
Скачать | 173.6 КБ | |
| Свидетельство об утверждении типа СИ | Открыть | ... |
Описание типа
Назначение
Периодомеры цифровые специализированные ПЦС-1 (далее - периодомеры) предназначены для измерения периода собственных колебаний струны измерительного струнного преобразователя.
Описание
Принцип действия периодомеров основан на возбуждении струнного преобразователя с электромагнитным импульсным возбуждением путем подачи импульсов напряжения специальной формы. После установления свободных затухающих колебаний струны периодомер измеряет период колебаний.
Периодомер является портативным средством измерения с автономным питанием от аккумуляторов или питанием от внешнего источника. Результаты измерений периодов собственных колебаний измерительного струнного преобразователя выводится на жидкокристаллический экран и сохраняются в энергонезависимой памяти.
Рис. 1 Общий вид периодомера
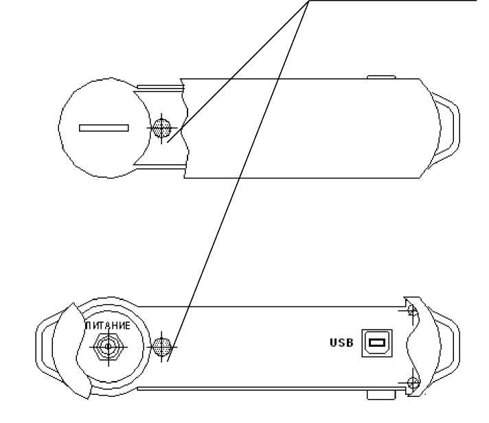
Схема опломбирования периодомера
Места для пломбирования
вид сверху
вид снизу
Программное обеспечение
Периодомер позволяет осуществлять передачу результатов измерений из внутреннего запоминающего устройства в ПЭВМ по интерфейсу USB-2.0 с помощью программы копирования данных ПЦС-1.
|
Наименование программного обеспечения |
Идентификационное наименование программного обеспечения |
Номер версии программного обеспечения |
Цифровой идентификатор программного обеспечения |
Алгоритм вычисления цифрового идентификатора программного обеспечения |
|
Программа копирования данных ПЦС-1 |
Программа копирования данных ПЦС-1 ПКД_ПЦС (75.45314.00320-01) |
1.2 |
3D09 |
идентификация CRC16/CCITT |
Технические характеристики
Параметры выходного сигнала импульсов возбуждения:
- диапазон амплитудных значений измеряемого напряжения, мВ
- задержка начала измерения относительно импульса возбуждения, мс
- амплитудное значение импульса возбуждения, В
- пределы допускаемой абсолютной погрешности амплитуды импульса возбуждения, В
- длительность импульса на уровне 0,1 от амплитудного значения, мс
Диапазон измерений периода колебаний струны, мкс
от 5 до 40
от 10 до 250
130, 150
±15
0,5 ± 0,2
от 400 до 2000
|
лист № 3 всего листов 4 | |
|
Пределы допускаемой относительной погрешности измерения периода, % Количество измерительных каналов Период сигнала самоконтроля, мкс Потребляемая мощность, В^А, не более Напряжение питания, В: |
±0,125 один 1000,0 ± 0,2 0,5 |
|
- от внешнего источника постоянного тока - от двух аккумуляторов (тип АА) Габаритные размеры, мм, не более Масса, кг, не более Рабочие условия эксплуатации: |
от 9 до 15 2-1,2 196x158x43 1,5 |
|
- диапазон рабочих температур, °С - относительная влажность при температуре воздуха 35 °С, % |
от минус 20 до 50 до 98 |
Знак утверждения типа
Знак утверждения типа наносится на заднюю панель периодомера методом металлографии и на титульные листы сопроводительных документов типографским способом.
Комплектность1. Периодомер цифровой специализированный ПЦС-1 2. Паспорт 3. Руководство по эксплуатации с методикой поверки 4. Жгут 5. Жгут USB 2.0 А-В 1,5 м 6. Блок питания АС/DC преобразователь ES18E09-P1J 7. Программа копирования данных ПЦС-1 75.45314.00320-01 8. Формуляр программы копирования данных |
- 1. - 1. - 1. - 2. - 1. - 1. - 1. - 1. |
Поверка
осуществляется в соответствии с методикой поверки, изложенной в Приложении к Руководству по эксплуатации ИСУЯ.468214.002 РЭ1, утвержденной ГЦИ СИ ФГУ «Тест-С.-Петер-бург» 20 января 2011 г.
Перечень эталонов, применяемых для поверки периодомера:
- осциллограф цифровой TDS2012B, полоса пропускания 0 - 100 МГц, диапазон коэффициента отклонения 10 мВ/дел - 5 В/дел, ПГ ±3 %;
- генератор сигналов произвольной формы 33250А, диапазон частот 1 мкГц - 80 МГц, ПГ ±1-10-6.
Сведения о методах измерений
Методы измерений содержатся в разделе 2 Руководства по эксплуатации ИСУЯ.468214.002 РЭ.
Нормативные документы
1. ГОСТ 8.129-99 «Государственная поверочная схема для средств измерений времени и частоты».
2. Периодомер цифровой специализированный ПЦС-1. Технические условия ИСУЯ.468214.002 ТУ.
лист № 4
всего листов 4
3. Периодомер цифровой специализированный ПЦС-1. Методика поверки. Приложение к Руководству по эксплуатации ИСУЯ.468214.002 РЭ1.
Рекомендации к применению
выполнение работ по обеспечению безопасных условий и охраны труда.
Другие Периодомеры
