Мерники технические вертикальные и горизонтальные 1-го класса SV, SH
| Номер в ГРСИ РФ: | 46580-11 |
|---|---|
| Категория: | Мерники |
| Производитель / заявитель: | АО Машиностроительный завод "ASTRA", Литва, г.Алитус |
Для измерений объема жидкостей.
Информация по Госреестру
| Основные данные | |
|---|---|
| Номер по Госреестру | 46580-11 |
| Действует | по 01.04.2016 |
| Наименование | Мерники технические вертикальные и горизонтальные 1-го класса |
| Модель | SV, SH |
| Характер производства | Серийное |
| Идентификатор записи ФИФ ОЕИ | d959f718-cb17-f4a2-5ecf-7e5039d93be2 |
| Год регистрации | 2011 |
| Общие данные | |
|---|---|
| Технические условия на выпуск | IST 4967 946-015-1997 |
| Класс СИ | 29.02 |
| Год регистрации | 2011 |
| Страна-производитель | Литва |
| Центр сертификации СИ | |
| Наименование центра | ГЦИ СИ ВНИИР |
| Адрес центра | 420088, г.Казань, ул.2-я Азинская, 7а |
| Руководитель центра | Иванов Валерий Павлович |
| Телефон | (8*843*2) 72-70-62 |
| Факс | 72-00-32 |
| Информация о сертификате | |
| Срок действия сертификата | 01.04.2016 |
| Номер сертификата | 42364 |
| Тип сертификата (C - серия/E - партия) | С |
| Дата протокола | Приказ 1548 от 01.04.11 п.01 |
Производитель / Заявитель
АО Машиностроительный завод "ASTRA", ЛИТВА, г.Алитус
Литва
код 149679465, Ulonu str.33, LT-62161, Alytus. Тел.: +37031575251. Факс +37031552265 (ул.Улону, 33), E-mail: viktoras@astramachinery.lt
Поверка
| Методика поверки / информация о поверке | ГОСТ 13844-68 |
| Межповерочный интервал / Периодичность поверки |
1 год
|
| Зарегистрировано поверок | |
| Найдено поверителей | |
| Успешных поверок (СИ пригодно) | 29 (100%) |
| Неуспешных поверок (СИ непригодно) | 0 (0 %) |
| Актуальность информации | 29.03.2026 |
Поверители
Скачать
|
46580-11: Описание типа
2011-46580-11.pdf
|
Скачать | 1.2 MБ | |
| Свидетельство об утверждении типа СИ | Открыть | ... |
Описание типа
Назначение
Мерники технические вертикальные и горизонтальные 1-го класса SV, SH (далее - мерники) предназначены для измерений объема жидкостей.
Описание
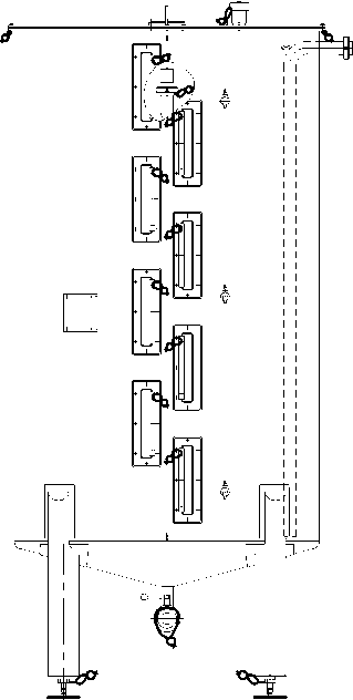
Корпуса мерников вертикальных - это вертикальные цилиндры с конусообразными днищами, в низших точках которых находятся выпускные патрубки с закрываемыми задвижками. В корпусе мерников вертикальных вмонтированы смотровые стекла со шкальными пластинами. Внутри нижних смотровых стекол вмонтированы держатели для термометров.
Мерники горизонтальные состоят из корпусов цилиндрической формы с конусообразными днищами. Оси корпусов мерников горизонтальных находятся под углами от горизонтальных плоскостей около 4-х градусов, что обеспечивает полные сливы жидкостей. В нижних точках корпусов мерников горизонтальных находятся выпускные патрубки с закрываемыми задвижками. В передней части мерников горизонтальных смонтированы окна, внутри которых вмонтированы держатели для термометров. Для контроля уровней жидкостей передние части мерников горизонтальных оборудованы стеклянными трубками с градуированными шкалами.
Мерники устанавливаются строго вертикально с помощью грузил. Регулировки вертикальных мерников производятся с помощью винтов, установленных на опорах.
Мерники вертикальные в зависимости от номинальных вместимостей, в декалитрах, выпускаются следующими исполнениями: SV - 75, SV - 250, SV - 500, SV - 1000.
Исполнение мерников горизонтальных - SH - 250.
Фотографии мерников.

SV-250
Схема пломбировки мерников
SV-75
SV-1000
Технические характеристикиНоминальные значения вместимости, дм3 (л) Диапазон показаний |
750, 2500, 5000, 10000 от 20% до 100% номинального |
|
Цена деления шкалы, дм3 (л) Класс точности |
значения вместимости 5, 10, 20, 40 1 |
Пределы допускаемой приведенной погрешности, % номинальной вместимости ± 0,2
Габаритные размеры, мм:
мерников вертикальных:
|
диаметр: |
786±4, 1267±4, 1706±4, 2008±4 |
|
высота: |
2250±20, 2890±20, 3760±20, 4650±20 |
мерников горизонтальных:
|
длина: |
2350±30 |
|
ширина: |
1310±20 |
|
высота: |
2300±20 |
|
масса, кг: |
240±20, 320±20 или 400±20 530±20, 900±20 |
Условия эксплуатации:
|
Температура окружающего воздуха, °С: |
20±10 |
Температура жидкости, объем которой измеряется, °С 20±10
|
Средний срок службы, лет |
20 |
|
Требования безопасности |
инструкции безопасности труда в соответствующем производстве |
Знак утверждения типа
наносят на этикетки, установленные на корпусе мерников и на титульные листы паспортов типо графическим способом.
Комплектность
Мерник вертикальный SV или
горизонтальный SH 1 шт.
|
Опорная пластина |
4 шт. (3 шт. для SV-75) |
|
Лестница |
1 шт. (для SV-1000) |
|
Паспорт |
1 шт. |
|
ГОСТ 13844-68 (копия) |
1 экз. |
Поверка
осуществляется по ГОСТ 13844-68 «Мерники металлические технические. Методы и средства поверки».
Перечень основных средств поверки (эталонов):
мерники эталонные 1 -го разряда;
колбы стеклянные эталонные 1-го разряда;
пипетки 1-го класса по ГОСТ 29227-91;
термометры лабораторные с ценой деления 0,5 °C по ГОСТ 215-73;
уровень контрольный по ГОСТ 3059-75
Сведения о методах измерений
Методика измерений объема жидкостей мерниками приведена в паспортах мерников.
Нормативные документы
1.. ГОСТ 8.470-82 «Государственная поверочная схема для средств измерений объема жидкости
2. ГОСТ 13844-68 «Мерники металлические технические. Методы и средства поверки»
3. Стандарт предприятия Мерники технические (металлические). Технические
условия 1ST 4967 946-015-1997, Литовская Республика
Рекомендации к применению
Осуществление торговли и товарообменных операций.
Другие Мерники