Система автоматизированная информационно-измерительная коммерческого учета электрической энергии ПС 35/6 кВ "Байтуган-2" ООО "БайТекс"
| Номер в ГРСИ РФ: | 46701-11 |
|---|---|
| Производитель / заявитель: | ООО "Трансэнергосервис", г.Самара |
Для измерения активной и реактивной электрической энергии, потребленной за установленные интервалы времени отдельными технологическими объектами ПС 35/6 кВ "Байтуган-2" ООО "БайТекс", автоматического сбора, хранения и обработки полученной информации. Выходные данные системы могут быть использованы для коммерческих расчетов.
Информация по Госреестру
| Основные данные | |||||||
|---|---|---|---|---|---|---|---|
| Номер по Госреестру | 46701-11 | ||||||
| Наименование | Система автоматизированная информационно-измерительная коммерческого учета электрической энергии ПС 35/6 кВ "Байтуган-2" ООО "БайТекс" | ||||||
| Характер производства | Единичное | ||||||
| Идентификатор записи ФИФ ОЕИ | 9d59f7ac-e52f-17b7-299a-1c980642bf26 | ||||||
| Испытания |
|
||||||
| Год регистрации | 2011 | ||||||
| Общие данные | |
|---|---|
| Технические условия на выпуск | ГОСТ 22261-94, ГОСТ 7746-2001, ГОСТ 1983-2001 |
| Класс СИ | 34.01.04 |
| Год регистрации | 2011 |
| Страна-производитель | Россия |
| Центр сертификации СИ | |
| Наименование центра | ГЦИ СИ Самарского ЦСМ |
| Адрес центра | 443013, г.Самара, пр-т К.Маркса, 134 |
| Руководитель центра | Стрельников Е.А. |
| Телефон | (8*846) 236-08-27 |
| Факс | 236-15-54 |
| Информация о сертификате | |
| Срок действия сертификата | . . |
| Номер сертификата | 42500 |
| Тип сертификата (C - серия/E - партия) | Е |
| Дата протокола | Приказ 1872 от 21.04.11 п.32 |
Производитель / Заявитель
ООО "Трансэнергосервис", РОССИЯ, г.Самара
Россия
443029, ул.Ново-Садовая, 224, кор.А, Почт. адрес: 443086, а/я 16474, Тел. (846) 372-28-97, Тел./факс: 372-27-10, 372-28-08, E-mail: info@tes-samara.ru
Поверка
| Методика поверки / информация о поверке | МП 4222-06.1-6315565301 -2010 |
| Межповерочный интервал / Периодичность поверки |
4 года
|
| Зарегистрировано поверок | |
| Актуальность информации | 30.11.2025 |
Поверители
Скачать
|
46701-11: Описание типа
2011-46701-11.pdf
|
Скачать | 159 КБ | |
| Свидетельство об утверждении типа СИ | Открыть | ... |
Описание типа
Назначение
Автоматизированная информационно- измерительная система коммерческого учета электрической энергии ПС 35/6 кВ «Байтуган-2» ООО «БайТекс» (далее АИИС КУЭ ПС35/6 кВ «Байтуган-2» ООО «БайТекс») заводской №05 предназначена для измерения активной и реактивной электрической энергии, потребленной за установленные интервалы времени отдельными технологическими объектами ПС 35/6 кВ «Байтуган-2» ООО «БайТекс», автоматического сбора, хранения и обработки полученной информации. Выходные данные системы могут быть использованы для коммерческих расчетов.
Описание
АИИС КУЭ ПС 35/6 кВ «Байтуган-2» ООО «БайТекс» представляет собой двухуровневую систему с централизованным управлением и распределенной функцией измерения.
АИИС КУЭ ПС 35/6 кВ «Байтуган-2» ООО «БайТекс» выполняет следующие функции:
■ измерение с нарастающим итогом активной и реактивной электроэнергии с дискретностью во времени 30 минут в точках учета;
■ вычисление приращений активной и реактивной электроэнергии за учетный период;
■ вычисление средней активной и реактивной мощности на интервале времени 30 минут;
■ периодический или по запросу автоматический сбор и суммирование привязанных к единому календарному времени измеренных данных от отдельных точек учета;
■ хранение данных об измеренных величинах в специализированной базе данных, отвечающей требованию повышенной защищенности от потери информации (резервирование баз данных, энергонезависимая память) и от несанкционированного доступа;
■ предоставление по запросу контрольного доступа к результатам измерений, данным о состоянии средств измерений со стороны энергосбытовых организаций;
■ обеспечение защиты оборудования (включая средства измерений и присоединения линий связи), программного обеспечения и базы данных от несанкционированного доступа на физическом и программном уровне;
■ конфигурирование и настройка параметров АИИС КУЭ ПС35/6кВ «Байтуган-2» ООО «БайТекс»;
■ диагностика и мониторинг состояния технических и программных средств АИИС КУЭ ПС 35/6 кВ «Байтуган-2» ООО «БайТекс»;
■ ведение системы единого времени АИИС КУЭ ПС 35/6 кВ Байтуган-2» ООО «БайТекс»(коррекция времени).
1-ый уровень системы включает в себя: измерительные трансформаторы тока (ТТ) КТ 0,5s по ГОСТ 7746 - 01 и трансформаторы напряжения (ТН) КТ 0,5 ГОСТ 1983 - 01, счетчики активной и реактивной электроэнергии СЭТ-4ТМ.03М, КТ. 0,2s/0,5 в ГР № 31974-08 по ГОСТ Р 52323-05 при измерении активной электроэнергии и ГОСТ Р 52425-05 при измерении реактивной электроэнергии. В виду отсутствия в указанном стандарте класса точности 0,5, пределы погрешностей при измерении реактивной энергии для данного типа счетчиков не превышают значений аналогичных погрешностей для счетчиков класса точности 0,5S для ГОСТ Р 52323-05. Вторичные электрические цепи. Технические средства каналов передачи данных.
2-ой уровень - (ИВКЭ)- представляет собой устройство сбора и передачи данных на базе УСПД RTU-325L-E2-M2-B2-1 шт., ГР № 37288-08(далее УСПД), система обеспечения единого времени.
Первичные токи и напряжения преобразуются измерительными трансформаторами в аналоговые унифицированные сигналы, которые по проводным линиям связи поступают на измерительные входы счетчика электроэнергии. В счетчике мгновенные значения аналоговых сигналов преобразуются в цифровой сигнал. По мгновенным значениям силы электрического тока и напряжения в микропроцессоре счетчика вычисляются соответствующие мгновенные значения активной, реактивной и полной мощности без учета коэффициентов трансформации. Электрическая энергия, как интеграл по времени от мощности, вычисляется для интервалов времени 30 мин.
Средняя активная (реактивная) электрическая мощность вычисляется как среднее значение вычисленных мгновенных значений мощности на интервале времени усреднения 30 мин. Цифровой сигнал с выходов счетчиков при помощи технических средств приема-передачи данных поступает на входы УСПД (где выполняется дальнейшая обработка измерительной информации, в частности вычисление электроэнергии и мощности с учетом коэффициентов трансформации ТТ и ТН, формирование и хранение поступающей информации оформление справочных и отчетных документов.
Программное обеспечение
В АИИС КУЭ ПС 35/6 кВ «Байтуган-2» ООО «БайТекс» использовано ПО (программное обеспечение) УСПД RTU-325. УСПД реализовано на базе промышленного PC-совместимого компьютера, содержащих в себе процессор, оперативную память, диск на основе флэш-памяти, энергонезависимые часы и интерфейсы ввода-вывода, встроенные средства управления. УСПД имеет встроенное программное обеспечение версии 2.12D/3.11OT 05.07.2010
Микропрограмма заносится в программируемое постоянное запоминающее устройство (диск на основе флэш-памяти) контроллеров предприятием-изготовителем, защищена от несанкционированного вмешательства средствами разграничения доступа в виде паролей и недоступна для потребителя. Встроенная операционная система QNX позволяет настраивать УСПД под конкретные задачи пользователя. Программирование и отладка устройств производится через COM-порт, который подключается к терминалу персонального компьютера через модемный кабель.
На метрологические характеристики модуля вычислений УСПД оказывают влияние пересчётные коэффициенты, которые используются для пересчёта токов, и напряжений считанных из измерительных каналов счётчика, в результирующий параметр (потребляемую мощность). Пересчётные коэффициенты задаются при программировании УСПД и записываются в его флэш-память. Значения пересчетных коэффициентов защищены от изменения путём ограничения доступа паролем и фиксацией изменений в журнале событий. Интерфейс ПО содержит в себе средства предупреждения пользователя, если его действия могут повлечь изменение или удаление результатов измерений. Метрологически значимая часть ПО содержит специальные средства защиты, исключающие возможность несанкционированной модификации, загрузки (в том числе загрузки фальсифицированного ПО и данных), считывания из памяти УСПД, удаления или иных преднамеренных изменений метрологически значимой части ПО и измеренных данных. специальными средствами защиты метрологически значимой части ПО.
Специальными средствами защиты метрологически значимой части ПО и измеренных данных от преднамеренных изменений являются:
- средства проверки целостности ПО (несанкционированная модификация метрологически значимой части ПО проверяется расчётом контрольной суммы для метрологически значимой части ПО и сравнением ее с действительным значением);
- средства обнаружения и фиксации событий (журнал событий);
- средства управления доступом (пароли).
Программное обеспечение и конструкция УСПД после конфигурирования и настройки обеспечивают защиту от несанкционированного доступа и изменения его параметров.
Идентификационные данные программного обеспечения приведены в табл.1
Таблица 1
|
Наименование ПО |
Идентификацион ное название ПО |
Номер версии (идентификационный номер) ПО |
Цифровой идентификатор ПО (контрольная сумма исполняемого кода) |
Алгоритм вычисления цифрового идентификат ора ПО |
|
ПО УСПД RTU-325L |
ПО УСПД RTU-325L |
2.12D/3.11OT 05.07.2010 |
установка времени счетчика по времени УСПД-141DB648 сервер для хранения и обработки данных- 67B7C6C3 протокол УСПД для работы с верхним уровнем-EB541CF9 настройка времени УСПД по GPS, тест GPS-0E26CEA2 запись параметров электросети, событий в журнал событий и авточтений в БД-2E897FBC протокол УСПД для работы с верхним уровнем (TCP, Serial)-0B5B548C просмотр параметров счетчика- 508ECE95 Обновление версий ПО- B9063C07 программа конфигурации УСПД-EC8FB0CF |
утилита CheckCRC (http://www 34.brinkster. com/dizzyk/ crc32.asp). |
Уровень защиты программного обеспечения от непреднамеренных и преднамеренных изменений С по МИ 3286
АИИС КУЭ ПС 35/6 кВ «Байтуган-2» ООО «БайТекс» оснащена системой обеспечения единого времени (СОЕВ), созданной на основе устройства синхронизации системного времени УССВ-35HVS, включающее в себя приемник сигналов точного времени от спутников глобальной системы позиционирования (GPS). Время УСПД синхронизировано с временем GPS-приемника, сличение ежесекундное, погрешность синхронизации не более 16 мс.. Синхронизация времени происходит при старте УСПД и в 00-00 часов. Синхронизация времени в ИИК осуществляется при старте контроллера, а затем при каждом сеансе связи. УСПД осуществляет коррекцию времени счетчиков. Сличение времени счетчиков со временем УСПД осуществляется 1 раз в сутки и корректировка времени выполняется при расхождении времени счетчиков со временем УСПД ±1 с. Погрешность системного времени ±5 с/сутки. Журналы событий счетчиков электроэнергии и УСПД отражают: время (дата, часы, минуты) коррекции часов и расхождение времени в секундах корректируемого и корректирующего устройств момент непосредственно предшествующий коррекции.
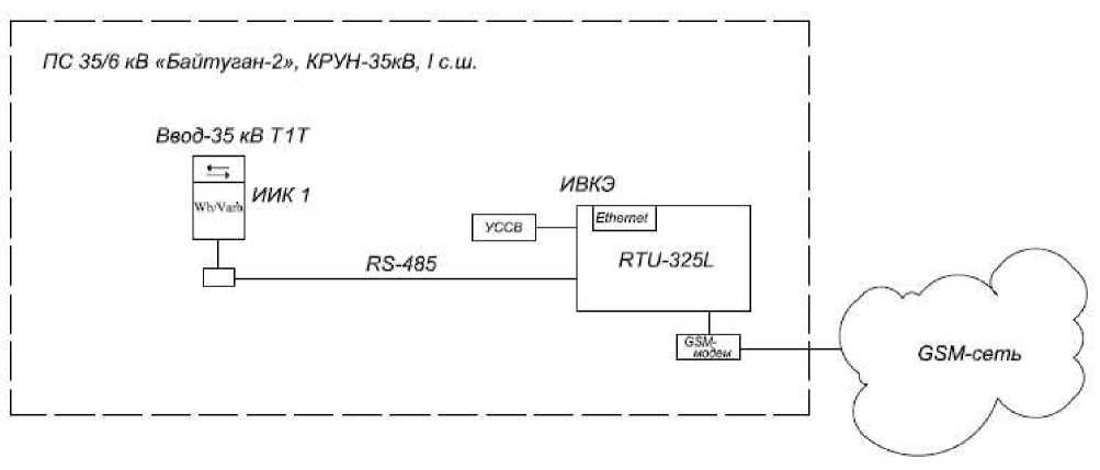
Блок-схема АИИС КУЭ-1 приведена на рис 1.
Рисунок 1
Перечень измерительных каналов, входящих в состав АИИС КУЭ ПС 35/6 кВ «Байтуган-2» ООО «БайТекс», с указанием непосредственно измеряемой величины, наименования присоединений, типов и классов точности средств измерений, входящих в состав ИК, представлен в таблице 1
Таблица №1.Метрологические характеристики.
|
Номер канала |
Наименование объекта |
Состав измерительного канала |
Вид эл. энергии |
Основ. погр.ИК при1 от I ном 100%; U=1,0; Cos<p=0,8 (%) |
Погрешность ИК в рабочих условиях при I (0,01...1,2) I ном U=(0,9..1,01 )*ином Cos<p=0,8 (%) | ||||
|
Трансформатор Тока, Тип, Класс точности, Зав. номер |
Т рансформатор Напряжения, Тип, Класс точности, Зав. номер |
Постоянная счетчика, имп/кВтч |
Счетчик трехфазный переменного тока активной и реактивной энергии |
УСПД | |||||
|
1 |
2 |
3 |
4 |
5 |
6 |
7 |
8 |
9 |
10 |
|
1 |
ПС 35/6 кВ "Байтуган-2", КРУН-35кВ, 1с.ш. Ввод-35 кВ Т1Т (ВЛ-35 кВ "Северная -Байтуган") |
ТОЛ-СЭЩ-35-01; 100/5, КТ 0,5S; фаза А зав.№00129-09, поверка 05.09.2009г., фаза В зав.№00134-09; поверка 05.09.2009г., фаза С зав.№00130-09; поверка 05.09.2009г. |
ЗНОЛ-СЭЩ-35; 35000/100, КТ 0,5; фаза А зав.№00037-09, поверка 09.09.2009г., фаза В зав.№00034-09; поверка 09.09.2009г., фаза С зав.№00035-09; поверка 09.09.2009г. |
5000 |
СЭТ-4ТМ.03М; КТ 0,2S/0,5 зав.№ 0807090831; поверка 10.08.2010г. |
RTU-325L-E2-M2-B2 Зав.№. 005536. поверка10.09.10г. |
А Р |
±1,2 ±2,1 |
±3,2 ±6,7 |
Примечание к таблице 1
1. Погрешность измерений для ТТ класса точности 0,5S нормируется для тока в диапазоне 1(2)-120% от номинального значения.
2. Характеристики основной погрешности ИК даны для измерения электроэнергии и средней мощности (получасовая).
3. В качестве характеристик основной относительной погрешности указаны границы интервала, соответствующие вероятности 0.95.
4. Нормальные условия.
Параметры сети:
напряжение (0,99...1,01) Uhom, cos ф =0,8 инд;
температура окружающей среды (23±2) °С;
частота 50Гц ±3%;
сила тока (0,01...1,20) Ihom.
5. Рабочие условия.
Параметры сети:
напряжение (0,9...1,1) Uhom;
ток (0,01...1,2) Ihom, cos ф =0,8инд;
частота 50 Гц ± 2%;
допускаемая температура окружающей среды для измерительных трансформаторов тока и напряжения от минус 40 °С до + 50 °С, для счетчиков СЭТ-4ТМ.03М от минус 40 °С до +60°С; для УСПД типа RTU-32 RTU-325L 5L-E2-M2-B2 от -10 °С до плюс 55°С;
6. Технические параметры и метрологические характеристики трансформаторов тока отвечают требованиям ГОСТ 7746, трансформаторов напряжения - ГОСТ 1983-01, счетчиков электроэнергии - ГОСТ Р 52323-05 при измерении активной электроэнергии и ГОСТ Р 52425-05 при измерении реактивной электроэнергии. В виду отсутствия в указанном стандарте класса точности 0,5, пределы погрешностей при измерении реактивной энергии для данного типа счетчиков не превышают значений аналогичных погрешностей для счетчиков класса точности 0,5S для ГОСТ Р 52323-05. В виду отсутствия в указанном стандарте класса точности 0,5, пределы погрешностей при измерении реактивной энергии для данного типа счетчиков не превышают значений аналогичных погрешностей для счетчиков класса точности 0,5S для ГОСТ Р 52323-05.
7. Допускается замена измерительных трансформаторов и счетчиков на аналогичные утвержденных типов с метрологическими характеристиками не хуже, чем у перечисленных в таблице 1. Допускается замена УСПД на однотипный утвержденного типа. Замена оформляется актом в установленном ООО «БайТекс» порядке. Акт хранится совместно с настоящим описанием типа АИИС КУЭ как его неотъемлемая часть
Таблица 2. Основные технические характеристики
|
№ ИК |
Наименование характеристики |
Значение | |
|
1 |
Номинальный ток: |
первичный (1н1) вторичный (1н2) |
100 А 5 А |
|
Диапазон тока: |
первичного (I1) вторичного (I2) |
5...120 А 0,25...6 А | |
|
Номинальное напряжение: |
первичное (Uh1) вторичное (Uh2) |
35000/\3 В 100/V3 в | |
|
Диапазон напряжения: |
первичного (U1) вторичного (U2) |
31500/^3^38500/^3 В 90/V3...110/V3 В | |
|
Коэффициент мощности cos ф |
0,5_1,0 | ||
|
Номинальная нагрузка ТТ |
15 В^А | ||
|
Допустимый диапазон нагрузки ТТ |
3,75... 15 В^А | ||
|
Допустимое значение ^s ф2 во вторичной цепи нагрузки ТТ |
0,8_1,0 | ||
|
№ ИК |
Наименование характеристики |
Значение | ||
|
Номинальная нагрузка ТН |
50 В^А | |||
|
Допустимый диапазон нагрузки ТН |
12,5...50 В^А | |||
|
Допустимое значение oos ф2 во вторичной цепи нагрузки ТН |
0,8_1,0 | |||
|
Доверительные границы относительной погрешности результата измерений количества активной электрической энергии при доверительной вероятности Р = 0,95: - в диапазоне тока 0,01 -11н < I1 < 0,05-11н - в диапазоне тока 0,05-11н < I1 < 0,2-11н - в диапазоне тока 0,2-11н < I1 < 1,0-11н - в диапазоне тока 1,0-11н < I1 < 1,2-11н |
cos ф = 1 |
cos ф = 0,8 |
cos ф = 0,5 | |
|
± 1,8 % ± 1,1 % ± 0,9 % ± 0,9 % |
± 2,9 % ± 1,7 % ± 1,2 % ± 1,2 % |
± 5,4 % ± 3,0 % ± 2,2 % ± 2,2 % | ||
|
Доверительные границы относительной погрешности результата измерений количества реактивной электрической энергии при доверительной вероятности Р = 0,95: - в диапазоне тока 0,01 -11н < I1 < 0,05-11н - в диапазоне тока 0,05-11н < I1 < 0,2-11н - в диапазоне тока 0,2-11н < I1 < 1,0-11н - в диапазоне тока 1,0-11н < I1 < 1,2-11н |
- |
sin ф = 0,6 |
sinф= 0,866 | |
|
± 4,6 % ± 2,8 % ± 2,1 % ± 2,1 % |
± 2,7 % ± 1,9 % ± 1,5 % ± 1,5 % | |||
Надежность применяемых в системе компонентов.
Электросчетчик СЭТ-4ТМ.03М:
среднее время наработки на отказ не менее 140000 часов;
срок службы 30 лет.
УСПД -RTU 325L—E2-M2-B2:
средняя наработка до отказа, не менее 100000 часов;
срок службы 30 лет.
для трансформаторов тока и напряжения в соответствии с ГОСТ 7746-2001 и 1983-2001:
средняя наработка на отказ - не менее 40 10 5 часов;
средний срок службы -25 лет.
Надежность системных решений:
резервирование питания УСПД реализовано с помощью источника бесперебойного питания и устройства АВР;
резервирование электрического питания счетчиков электрической энергии с помощью резервного источника питания ~220В.
Регистрация событий.
В журналах событий счетчика, УСПД фиксируются факты: параметрирования;
пропадания напряжения, коррекция времени
Защищенность применяемых компонентов.
Наличие механической защиты от несанкционированного доступа и пломбирование: электросчетчика;
промежуточных клеммников вторичных цепей напряжения;
испытательной коробки;
УСПД;
Наличие защиты на программном уровне:
пароль на счетчике;
пароль на УСПД ;
Глубина хранения информации:
электросчетчик СЭТ- 4ТМ.03М - каждый массив профиля при времени интегрирования 30 мин составляет113 суток (3,7 лет);
УСПД- хранение результатов измерений и информации состояний средств измерений при отключенном питании - не менее 5 лет.
Знак утверждения типа
Знак утверждения типа наносится на титульные листы эксплуатационной документации АИИС КУЭ ПС 35/6 кВ «Байтуган-2» ООО «БайТекс» типографским способом.
Комплектность
Комплектность АИИС КУЭ ПС 35/6 кВ «Байтуган-2» ООО «БайТекс» приведена в табл. 4.
Таблица 4
|
Трансформаторы тока |
3 |
|
Трансформаторы напряжения |
3 |
|
Электросчетчики - СЭТ-4ТМ.03М. |
1 |
|
Шкаф НКУ МЕТРОНИКА MC-240L в составе: УСПД RTU-325L-E2-M2-B2, УССВ |
1 комплект |
|
ПР-3 Разветвители интерфейса RS- МП 4222-05422/485 |
2 |
|
Модем Siemens Terminal MC35i + модемный кабель RS-232 DB9F-DB9M + Блок питания для модема + антенна GSM для модема |
1 |
Методика поверки -МП 4222-06.1-6315565301 -2010
Формуляр - ФО 4222-06.1-6315565301 -2010
Руководство по эксплуатации РЭ 4222-06.1-6315565301 -2010
Терминальная программа ZOC
Поверка
осуществляется в соответствии с документом - «Автоматизированная информационноизмерительная система коммерческого учета электрической энергии ПС 35/6 кВ «Байтуган-2» ООО «БайТекс» Методика поверки. МП 4222-06.1-6315565301 -2010, утвержденной ГЦИ СИ - ФГУ «Самарский ЦСМ» 12.09.2010г.
Основные средства поверки:
- средства поверки измерительных трансформаторов тока по ГОСТ 8.217-2003;
- средства поверки измерительных трансформаторов напряжения по ГОСТ 8.216-88;
- средства поверки многофункциональных счетчиков электрической энергии СЭТ-4ТМ.03М в соответствии с методикой поверки, являющейся приложением к руководству по эксплуатации ИЛГШ.41152.145 РЭ1;
- средства поверки УСПД RTU 325L и устройств синхронизации времени УССВ (поверяется в составе УСПД) по документу «Устройства сбора и передачи данных RTU 325 и RTU 325L». Методика поверки ДИЯМ.466.453.005МП. Утверждена ГЦИ СИ ФГУП ВНИИМС в 2008г.
Сведения о методах измерений
Методы измерений, которые используются в АИИС КУЭ ПС35/6 кВ «Байтуган-2» ООО «БайТекс» приведены в документе - «Методика (метод) измерений электрической энергии с использованием автоматизированной информационно-измерительной системы коммерческого учета электрической энергии ПС35/6 кВ «Байтуган-2» ООО «БайТекс» (МИ 4222-06.1-6315565301 -2010). Методика измерений - МИ 4222-06.1-6315565301 -2010 аттестована ГЦИ СИ - ФГУ «Самарский ЦСМ» по ГОСТ Р 8.563-2009 .Свидетельство об аттестации №016/01.00181-2008/2010 от 06.09.2010т.
Нормативные документы
ГОСТ 22261-94 Средства измерений электрических и магнитных величин. Общие технические условия.
ГОСТ Р 8.596-2002 ГСИ. Метрологическое обеспечение измерительных систем. Основные положения.
ГОСТ 7746-2001.Трансформаторы тока. Общие технические условия.
ГОСТ 1983-2001.Трансформаторы напряжения, Общие технические условия.
ГОСТ Р 52323-2005. (МЭК 62053-22:2003) «Аппаратура для измерений электрической энергии переменного тока. Частные требования. Часть 22. Статистические счетчики активной энергии классов точности 0,2S и 0,5S».
ГОСТ Р 52425-2005. (МЭК 62053-23:2003) «Аппаратура для измерения электрической энергии переменного тока. Частные требования. Часть 23. Статические счетчики реактивной энергии».
Рекомендации к применению
-осуществление торговли и товарообменных операций
Смотрите также
