Система автоматизированная информационно-измерительная коммерческого учета электрической энергии ОАО "Сургутнефтегаз" АИИС КУЭ ОАО "Сургутнефтегаз"
| Номер в ГРСИ РФ: | 46735-11 |
|---|---|
| Производитель / заявитель: | ООО "Эльстер Метроника", г.Москва |
Для измерений активной и реактивной электрической энергии, времени и интервалов времени.
Информация по Госреестру
| Основные данные | |||||||
|---|---|---|---|---|---|---|---|
| Номер по Госреестру | 46735-11 | ||||||
| Наименование | Система автоматизированная информационно-измерительная коммерческого учета электрической энергии ОАО "Сургутнефтегаз" АИИС КУЭ ОАО "Сургутнефтегаз" | ||||||
| Характер производства | Единичное | ||||||
| Идентификатор записи ФИФ ОЕИ | 79445804-fd5c-bb85-2623-3b36c48db900 | ||||||
| Испытания |
|
||||||
| Год регистрации | 2011 | ||||||
| Общие данные | |
|---|---|
| Технические условия на выпуск | тех.документация ООО |
| Класс СИ | 34.01.04 |
| Год регистрации | 2011 |
| Страна-производитель | Россия |
| Примечание | 06.09.2012 заменен на 46735-12 |
| Центр сертификации СИ | |
| Наименование центра | ГЦИ СИ Пензенского ЦСМ |
| Адрес центра | 440028, г.Пенза, ул.Комсомольская, д.20 |
| Руководитель центра | Катышкин Юрий Григорьевич |
| Телефон | (8*841*2) 62-02-63 |
| Факс | 49-82-63 |
| Информация о сертификате | |
| Срок действия сертификата | . . |
| Номер сертификата | 42520 |
| Тип сертификата (C - серия/E - партия) | Е |
| Дата протокола | Приказ 1891 от 22.04.11 п.15 |
Производитель / Заявитель
ООО "Эльстер Метроника", РОССИЯ, г.Москва
Россия
111141, 1-й пр-д Перова Поля, д.9, стр.3, Тел./факс. (495) 730-02-85/ 730-02-81; 111250, ул.Красноказарменная, д.12/45; тел. (495) 956-05-43, факс 956-05-42, Тел./факс 956-25-11/956-25-10, www.elster.ru; www.izmerenie.ru, E-mail: metronica@ru.elster.com
Поверка
| Методика поверки / информация о поверке | ДЯИМ.422231.221.МП |
| Межповерочный интервал / Периодичность поверки |
4 года
|
| Зарегистрировано поверок | |
| Актуальность информации | 29.03.2026 |
Поверители
Скачать
|
46735-11: Описание типа
2011-46735-11.pdf
|
Скачать | 906.7 КБ | |
| Свидетельство об утверждении типа СИ | Открыть | ... |
Описание типа
Назначение
Система автоматизированная информационно-измерительная коммерческого учета электрической энергии ОАО «Сургутнефтегаз» (далее АИИС КУЭ ОАО «Сургутнефтегаз») предназначена для измерений активной и реактивной электрической энергии, времени и интервалов времени.
Заводской номер ДЯИМ.422231.221.
Описание
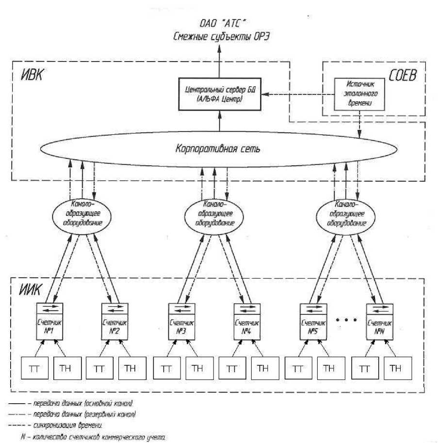
АИИС КУЭ ОАО «Сургутнефтегаз» является двухуровневой системой с иерархической распределенной обработкой информации:
- первый - уровень измерительных каналов (далее - ИК);
- второй - уровень измерительно-вычислительного комплекса.
В состав АИИС КУЭ ОАО «Сургутнефтегаз» входит система обеспечения единого времени (далее - СОЕВ), формируемая на всех уровнях иерархии.
АИИС КУЭ ОАО «Сургутнефтегаз» решает следующие задачи:
- измерение 30-минутных приращений активной и реактивной электрической энергии и автоматический сбор результатов измерений приращений электрической энергии с заданной дискретностью учета (30 мин), привязанных к шкале UTC;
- автоматическое выполнение измерений;
- автоматическое ведение системы единого времени.
Система состоит из следующих уровней:
1-й уровень состоит из 341 ИК и включает в себя измерительные трансформаторы тока (ТТ) классов точности 0,2 и 0,2S, 0,5 и 0,5S; измерительные трансформаторы напряжения (ТН) классов точности 0,2 и 0,5; счетчики электрической энергии трехфазные многофункциональные Альфа А1800 и ЕвроАльфа и Меркурий 230 ART03 класса точности 0,2S/0,5 и 0,5S/1,0 и вторичные измерительные цепи.
2 -й уровень ИВК включает в себя:
- технические средства приемо-передачи данных (каналообразующая аппаратура);
- центральный сервер «Альфа ЦЕНТР»;
Структурная схема АИИС КУЭ ОАО «Сургутнефтегаз»
Первичные фазные токи и напряжения трансформируются измерительными трансформаторами в аналоговые сигналы низкого уровня, которые по проводным линиям связи поступают на соответствующие входы электронного счетчика электрической энергии. В счетчике производятся аналого-цифровое преобразование входных сигналов с частотой выборок 4000 Гц и разрешающей способностью 21 бит. По мгновенным значениям силы электрического тока и напряжения в микропроцессоре счетчика вычисляются мгновенные значения активной и полной мощности, которые усредняются за период 0,02 с. Средняя за период реактивная мощность вычисляется по средним за период значениям активной и полной мощности. Электрическая энергия, как интеграл по времени от средней за период 0,02 с мощности, вычисляется для интервалов времени 30 мин. Средняя активная (реактивная) электрическая мощность вычисляется как среднее значение мощности на интервале времени усреднения 30 мин.
Счетчики электрической энергии получают метки времени (команды коррекции времени) от ПТК «Космотроника» каждые 30 мин с привязкой к началу интервала. ПТК «Космотро-ника» зарегистрирован в Государственном реестре средств измерений под номером 29916-05. ПТК «Космотроника» автоматически синхронизирует свое системное время с серверами времени ОАО «Сургутнефтегаз» по протоколу NTP (Net Time Protokol).
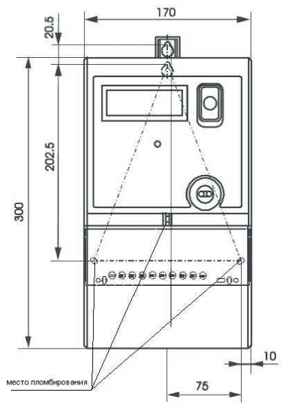
Механическая защита от несанкционированного доступа обеспечивается пломбированием:
- испытательной коробки (специализированного клеммника);
- крышки клеммных отсеков счетчиков.
Схема пломбирования счетчик электрической энергии Альфа А1800
Схема пломбирования счетчика электрической энергии Евро Альфа
Схема пломбирования счетчика электрической энергии Меркурий 230
Схема пломбирования испытательной коробки
Программное обеспечение
Функции программного обеспечения (метрологически не значимая часть программного обеспечения):
- периодический (1 раз в 30 минут) и/или по запросу автоматический сбор результатов измерений с заданной дискретностью учета (30 минут), привязанных к шкале UTC;
- автоматическая регистрация событий в «Журнале событий»;
- хранение результатов измерений и информации о состоянии средств измерений в специализированной базе данных;
- автоматическое получение отчетов, формирование макетов согласно требованиям получателей информации, предоставление результатов измерений и расчетов в виде таблиц, графиков с возможностью получения печатной копии;
- использование средств электронной цифровой подписи для передачи результатов измерений в интегрированную автоматизированную систему управления коммерческим учетом (ИАСУ КУ (КО));
- конфигурирование и параметрирование технических средств программного обеспечения;
- предоставление пользователям и эксплуатационному персоналу регламентированного доступа к данным;
- сбор недостающих данных после восстановления работы каналов связи, восстановления питания;
- передача в автоматизированном режиме в ИАСУ КУ (КО), Региональное диспетчерское управление «Системный оператор - центральное диспетчерское управление Единой электрической сети» (РДУ «СО-ЦДУ ЕЭС») и другим заинтересованным субъектам ОРЭ результатов измерений;
- автоматический сбор данных о состоянии средств измерений;
- обеспечение защиты оборудования, программного обеспечения и данных от несанкционированного доступа на физическом и программном уровне (установка паролей и т.д.);
- диагностика и мониторинг функционирования технических и программных средств АИИС КУЭ ОАО «Сургутнефтегаз», событий в АИИС КУЭ ОАО «Сургутнефтегаз»;
- конфигурирование и настройка параметров АИИС КУЭ ОАО «Сургутнефтегаз»;
Функции программного обеспечения (метрологически значимая часть программного обеспечения):
- обработка результатов измерений;
- автоматическая синхронизация времени (внутренних часов).
Идентификационные данные программного обеспечения приведены в таблице 1.
Таблица 1. Идентификационные данные программного обеспечения
|
Наименование програмного модуля (Идентификационное наименование программы и номер версии) |
Наименование файла |
Контрольная сумма (по алгоритму md5 (RFC 1321)) |
|
Программа планировщик опроса и передачи данных (стандартный каталог для всех модулей C:\alphacenter\exe) |
Amrserver.exe |
bd51720d3fb1247ff8745241dc6aace9 |
|
Драйвер ручного опроса счетчиков |
Amrc.exe |
B3bf6e3e5100c068b9647d2f9bfde8dd |
|
Драйвер автоматического опроса счетчиков |
Amra.exe |
764bbe1ed87851a0154dba8844f3bb6b |
|
Драйвер работы с БД |
Cdbora2.dll |
7dfc3b73d1d1f209cc4727c965a92f3b |
|
Библиотека шифрования пароля счетчиков |
Encryptdll.dll |
0939ce05295fbcbbba400eeae8d0572c |
|
Библиотека сообщений планировщика опросов |
Alphamess.dll |
b8c331abb5e34444170ee9317d635cd |
Защита программного обеспечения от непреднамеренных и преднамеренных изменений соответствует уровню С по МИ 3286-2010 и обеспечивается:
- установкой пароля на счетчик;
- установкой пароля на сервер;
- защитой результатов измерений при передаче информации (использованием электронной цифровой подписи).
Технические характеристики
Состав измерительных каналов и их метрологические характеристики приведены в таблице 2.
Таблица 2 - Состав измерительных каналов и их метрологические характеристики
|
Канал измерений |
Состав измерительного канала |
Ктт •Ктн •Ксч |
Доверительные границы относительной погрешности измерений активной и реактивной электрической энергии и мощности при доверительной вероятности Р=0,95: | ||||||
|
Номер ИК, код точки измерений |
Наименование объекта учета, диспетчерское наименование присоединения |
Вид СИ, класс точности, коэффициент трансформации, № Госреестра СИ |
Обозначение, тип |
Заводской номер |
Основная погрешность ИК |
Погрешность ИК в рабочих условиях эксплуатации | |||
|
cos ф = 0,87 sin ф = 0,5 |
cos ф = 0,5 sin ф = 0,87 | ||||||||
|
1 |
2 |
3 |
4 |
5 |
6 |
7 |
8 | ||
|
-н |
ПС 220/10/10 кВ "Искра" ВЛ-220 "СГРЭС1-Полоцкая1" |
11 |
КТ=0,5 |
А |
ТФНД-220-IV |
№ 4210 |
440000 |
± 1,2% ± 2,4% |
± 5,0% ± 3,0% |
|
Ктт=1000/5 |
В |
ТФНД-220-IV |
№ 4836 | ||||||
|
3694-73 |
С |
ТФНД-220-IV |
№ 4837 | ||||||
|
ТН |
КТ=0,5 |
А |
НКФ-220-58 У1 |
№ 1087683 | |||||
|
Ктн=220000:73/100:73 |
В |
НКФ-220-58 У1 |
№ 1125333 | ||||||
|
1382-60 |
С |
НКФ-220-58 У1 |
№ 1087685 | ||||||
|
Счетчик |
КТ=0,58/1 |
A1805RAL-P4GB- DW-4 |
1209927 | ||||||
|
Ксч=1 | |||||||||
|
31857-06 | |||||||||
|
сч |
ПС 220/10/10 кВ "Искра" ВЛ-220 "Сургут- Полоцкая" |
11 |
КТ=0,5 |
А |
ТФНД-220-IV |
№ 4862 |
440000 |
± 1,2% ± 2,4% |
± 5,0% ± 3,0% |
|
Ктт=1000/5 |
В |
ТФНД-220-IV |
№ 4182 | ||||||
|
3694-73 |
С |
ТФНД-220-IV |
№ 4215 | ||||||
|
ТН |
КТ=0,5 |
А |
НКФ-220-58 У1 |
№ 1087684 | |||||
|
Ктн=220000:^3/100:^3 |
В |
НКФ-220-58 У1 |
№ 1131282 | ||||||
|
1382-60 |
С |
НКФ-220-58 У1 |
№ 1131280 | ||||||
|
Счетчик |
КТ=0,58/1 |
A1805RAL-P4GB- DW-4 |
1208771 | ||||||
|
Ксч=1 | |||||||||
|
31857-06 | |||||||||
|
Г-) |
220/110/10 кВ "Сургут" ВЛ-110кВ Полоцкая-1 |
11 |
КТ=0,2 |
А |
MR-110 |
№ 941А025- 01/А |
132000 |
± 0,8% ± 1,5% |
± 2,2% ± 1,6% |
|
Ктт=600/5 |
В |
MR-110 |
№ 941А025-01/В | ||||||
|
32391-06 |
С |
MR-110 |
№ 941А025-01/С | ||||||
|
ТН |
КТ=0,5 |
А |
OTCF-123-110 |
№ 671396201 | |||||
|
Ктн=110000:73/100:73 |
В |
OTCF-123-110 |
№ 671396204 | ||||||
|
30290-05 |
С |
OTCF-123-110 |
№ 671396207 | ||||||
|
Счетчик |
КТ=0,28/0,5 |
EA02RAL-B-4 |
1113159 | ||||||
|
Ксч=1 | |||||||||
|
16666-97 | |||||||||
|
220/110/10 кВ "Сургут" ВЛ-110кВ Полоцкая-2 |
11 |
КТ=0,5 |
А |
ТФЗМ-110Б-ГУ-ХЛ1 |
№ 10493 |
132000 |
± 1,1% ± 2,2% |
± 5,0% ± 2,3% | |
|
Ктт=600/5 |
В |
ТФЗМ-110Б-ГУ-ХЛ1 |
№ 10735 | ||||||
|
2793-88 |
С |
ТФЗМ-110Б-ГУ-ХЛ1 |
№ 10748 | ||||||
|
ТН |
КТ=0,5 |
А |
OTCF-123-110 |
№ 671396202 | |||||
|
Ктн=110000:^3/100^3 |
В |
OTCF-123-110 |
№ 671396205 | ||||||
|
30290-05 |
С |
OTCF-123-110 |
№ 671396206 | ||||||
|
Счетчик |
КТ=0,28/0,5 |
EA02RAL-B-4 |
1113288 | ||||||
|
Ксч=1 | |||||||||
|
16666-97 | |||||||||
|
9 |
8 |
7 |
6 |
5 |
1—‘ | ||||||||||||||||||||||||||||||||||||||||
|
ПС 110/35/6 кВ "КНС-17" ВЛ-110 кВ "Пимская Контур-2" |
ПС 110/35/6 кВ "КНС-17" ВЛ-110 кВ "Пимская Контур-1" |
ПС 110/35/6 кВ "КНС-14" ВЛ-110кВ "Имилор-Восточно-Моховая-4" |
ПС 110/35/6 кВ "КНС-14" ВЛ-ПОкВ "Имилор-Восточно-Моховая-3" |
ПС 110/35/6 кВ "Ай-Пимская" ВЛ-ПО кВ "Контур-Ай-Пимская 1" |
Ю | ||||||||||||||||||||||||||||||||||||||||
|
Счетчик |
TH |
тт |
Счетчик |
TH |
ТТ |
Счетчик |
TH |
TT |
Счетчик |
TH |
TT |
Счетчик |
TH |
ТТ |
ио | ||||||||||||||||||||||||||||||
|
31857-06 |
Я 05 д |
KT=0,5S/l |
00 00 00 |
Kth=110000:V3/100:V3 |
Я 7 |
я 3 II W |
я 7 |
00 |
Я 05 д |
KT=0,5S/l |
00 00 00 |
Kth=110000:V3/100:V3 |
я 7 |
я 3 II W |
я 7 |
00 |
Я 05 д |
KT=0,5S/l |
ОО |
Kth=110000:V3/100:V3 |
Я 7 |
о |
я 3 II w |
я 7 |
00 |
£ OS д |
KT=0,5S/l |
<Х) |
Kth=110000:x/3/100:V3 |
Я 7 |
о |
я 3 II w |
я 7 |
00 |
£ 05 Д |
KT=0,5S/l |
00 00 00 |
Kth=110000:x/3/100:V3 |
я 7 |
Ьо |
Ктт=600/5 |
я 7 | |||
|
A1805RAL-P4GB- DW-4 |
о |
ГО |
> |
о |
ГО |
> |
A1805RAL-P4GB- DW-4 |
о |
ГО |
> |
о |
ГО |
> |
A1805RALQ-P4GB- DW-4 |
О |
td |
> |
О |
го |
> |
A1805RALQ-P4GB- DW-4 |
О |
ГО |
> |
О |
ГО |
> |
A1805RAL-P4GB- DW-4 |
о |
ГО |
> |
о |
ГО |
> |
-U | ||||||||||
|
НКФ-110-83ХЛ1 |
НКФ-110-83ХЛ1 |
НКФ-110-83ХЛ1 |
ТФЗМ-ПОБ1ХЛ1 |
ТФЗМ-ПОБ 1ХЛ1 |
| ТФЗМ-ПОБ 1ХЛ1 |
НКФ-110-83ХЛ1 |
НКФ-110-83 ХЛ1 |
НКФ-110-83 ХЛ1 |
ТФЗМ-110Б-1ХЛ1 |
ТФЗМ-110Б-1ХЛ1 |
| ТФЗМ-110Б-1ХЛ1 |
П > Ьо |
n > bo |
n > bo |
о 21 |
о 2 |
о 2 |
П > Ьо |
n > bo |
n > bo |
о 2 |
о 2 |
о 2 |
НКФ-110-ПХЛ1 |
НКФ-П0-ПХЛ1 |
НКФ-110-ПХЛ1 |
ТФЗМ-110Б-1УХЛ1 |
ТФЗМ-110Б-1УХЛ1 |
| ТФЗМ-110Б-1УХЛ1 | ||||||||||||||||
|
1208767 |
ю» w |
ю» So |
ю» |
ю» Ьо 00 |
ю» Ьо 00 |
ю» Ьо |
0 |
ю» 00 |
ю» |
ю» So |
ю» Ьо |
ю» § |
ю» Ьо 00 |
U0 |
№ 8735725 |
№ 8735724 |
№ 8735727 |
ю» W 00 w |
ю» W 00 |
ю» W 00 |
ио |
№ 8735723 |
№ 8735728 |
№ 8735726 |
ю» W 00 |
Г? |
Г? (>о О |
0 |
ю» |
ю» |
ю» |
ю» £о |
ю» 00 00 |
ю» | |||||||||||
|
66000 |
66000 |
66000 |
66000 |
132000 |
о> | ||||||||||||||||||||||||||||||||||||||||
|
1+ Ьр 6''- О'- |
1+ О'-- о''- |
1+ ф'-- о''- |
1+ ь? О4- о''- |
1+ ь? О4- о''- |
<1 | ||||||||||||||||||||||||||||||||||||||||
|
ьн н- W ЦА 6'-- 6''- |
Н- н- W ЦА 6'-- 6''- |
Н- н- W ЦА Ф'-- 6''- |
н- 5*о .У1 о4- 6''- |
н- 5*о 5^ о4- 6''- |
ОО | ||||||||||||||||||||||||||||||||||||||||
Продолжение таблицы 2
|
14 |
13 |
12 |
11 |
10 |
1—‘ | ||||||||||||||||||||||||||||||||||||||||
|
ПС 110/35/6 кВ "Прометей" ВЛ-110 кВ "Пачетлор-Прометей" |
ПС 110/35/6 кВ "Прометей" ВЛ-110 кВ "Контур-Прометей" |
ПС 110/35/6 кВ "Лукъявинская" ОВ-ПОкВ |
ПС 110/35/6 кВ "Лукъявинская" ВЛ-110 кВ "Лукъявинская-2-Контур" |
ПС 110/35/6 кВ "Лукъявинская" ВЛ-110 кВ "Лукъявинская-1-Контур" |
ю | ||||||||||||||||||||||||||||||||||||||||
|
Счетчик |
TH |
ТТ |
Счетчик |
TH |
ТТ |
Счетчик |
TH |
ТТ |
Счетчик |
TH |
ТТ |
Счетчик |
TH |
ТТ | |||||||||||||||||||||||||||||||
|
31857-06 |
Ксч=1 |
KT=0,5S/l |
26452-04 |
Kth=110000:V3/100:V3 |
КТ=0,5 |
2793-88 |
Ктг=600/5 |
| КТ=0,5 | |
31857-06 |
Ксч=1 |
KT=0,5S/l |
26452-04 |
Kth=110000:V3/100:V3 |
КТ=0,5 |
2793-88 |
Ктг=600/5 |
| КТ=0,5 | |
31857-06 |
Ксч=1 |
KT=0,5S/l |
14205-94 |
Kth=110000:V3/100:V3 |
КТ=0,5 |
16023-97 |
Ктг=600/5 |
| КТ=0,5 | |
31857-06 |
Ксч=1 |
KT=0,5S/l |
14205-94 |
Kth=110000:V3/100:V3 |
КТ=0,5 |
16023-97 |
Ктг=600/5 |
| КТ=0,5 | |
31857-06 |
Ксч=1 |
KT=0,5S/l |
14205-94 |
Kth=110000:V3/100:V3 |
КТ=0,5 |
16023-97 |
Ктг=600/5 |
| КТ=0,5 | | |
|
A1805RAL-P4GB- DW-4 |
О |
td |
> |
О |
ГО |
> |
A1805RAL-P4GB- DW-4 |
О |
ГО |
> |
О |
ГО |
> |
A1805RAL-P4GB- DW-4 |
О |
ГО |
> |
О |
ГО |
> |
A1805RAL-P4GB- DW-4 |
О |
ГО |
> |
О |
ГО |
> |
A1805RAL-P4GB- DW-4 |
О |
ГО |
> |
О |
ГО |
> |
-U | ||||||||||
|
НКФ-110-ПХЛ1 |
НКФ-110-ПХЛ1 |
НКФ-110-ПХЛ1 |
ТФЗМ-110Б-1УХЛ1 |
ТФЗМ-110Б-1УХЛ1 |
| ТФЗМ-110Б-1УХЛ1 |
НКФ-110-ПХЛ1 |
НКФ-110-ПХЛ1 |
НКФ-110-ПХЛ1 |
ТФЗМ-110Б-1УХЛ1 |
ТФЗМ-110Б-1УХЛ1 |
| ТФЗМ-110Б-1УХЛ1 |
НКФ-110-57У1 |
НКФ-110-57У1 |
НКФ-110-57У1 |
ТФМ-110-ПУ1 |
ТФМ-110-ПУ1 |
I ТФМ-110-ПУ1 |
НКФ-110-57У1 |
НКФ-110-57У1 |
НКФ-110-57У1 |
ТФМ-110-ПУ1 |
ТФМ-110-ПУ1 |
I ТФМ-110-ПУ1 |
НКФ-110-57У1 |
НКФ-110-57У1 |
НКФ-110-57У1 |
ТФМ-110-ПУ1 |
ТФМ-110-ПУ1 |
1 ТФМ-110-ПУ1 | ||||||||||||||||
|
1208786 |
№ 2831 |
№ 2832 |
№ 2833 |
№ 11983 |
№ 12019 |
| № 12015 |
1208790 |
№ 2824 |
№2818 |
№ 2822 |
№ 12014 |
№ 12018 |
| №61828 |
1208716 |
№ 1479991 |
№ 1479999 |
№ 1479982 |
№ 1666 |
№ 0914 |
I №0912 |
1208710 |
№ 1480505 |
№ 1480502 |
№ 1480506 |
№ 1437 |
№ 1399 |
I №0908 |
1208705 |
№ 1479991 |
№ 1479999 |
№ 1479982 |
№ 1388 |
№ 1393 |
1 № 1389 | |||||||||||
|
132000 |
132000 |
132000 |
132000 |
132000 | |||||||||||||||||||||||||||||||||||||||||
|
1+ ^ф ^ф ф'-- о''- |
1+ ^ф ^ф ф'-- ф'-- |
1+ ^ф ^ф ф'-- ф'-- |
1+ ^ф ^ф ф'-- ф'-- |
1+ ^ф ^ф ф'-- ф'-- |
<1 | ||||||||||||||||||||||||||||||||||||||||
|
ьн н- W ЦА Ф'-- 6''- |
ьн н- $Ф $Ф Ф'-- Ф'-- |
ьн н-W ЦА $Ф $Ф Ф'-- Ф'-- |
ьн н-W ЦА $Ф $Ф Ф'-- Ф'-- |
ьн н- $Ф $Ф Ф'-- Ф'-- |
ОО | ||||||||||||||||||||||||||||||||||||||||
Продолжение таблицы 2
|
19 |
18 |
17 |
16 |
15 |
1—‘ | ||||||||||||||||||||||||||||||||||||||||
|
ПС 110/35/6 кВ "Тянская" ВЛ-110 кВ Ввод-2 2Т |
ПС 110/35/6 кВ "Тянская" ВЛ-110 кВ Ввод-1 1Т |
ПС 110/35/6 кВ "Сова" ОВ-ПОкВ |
ПС 110/35/6 кВ "Сова" ВЛ-110 кВ Сова - Паклиновская-2 |
ПС 110/35/6 кВ "Сова" ВЛ-110 кВ Сова - Паклиновская-1 |
ю | ||||||||||||||||||||||||||||||||||||||||
|
Счетчик |
TH |
ТТ |
Счетчик |
TH |
ТТ |
Счетчик |
TH |
ТТ |
Счетчик |
TH |
ТТ |
Счетчик |
TH |
ТТ | |||||||||||||||||||||||||||||||
|
31857-06 |
Ксч=1 |
KT=0,5S/l |
1188-84 |
Kth=110000:V3/100:V3 |
КТ=0,5 |
41236-09 |
Ктт=600/5 |
| КТ=0,5 | |
31857-06 |
Ксч=1 |
KT=0,5S/l |
1188-84 |
Kth=110000:V3/100:V3 |
КТ=0,5 |
41236-09 |
Ктг=600/5 |
| КТ=0,5 | |
31857-06 |
Ксч=1 |
KT=0,5S/l |
1188-84 |
Kth=110000:V3/100:V3 |
КТ=0,5 |
2793-88 |
Я 3 II W |
| КТ=0,5 | |
31857-06 |
Ксч=1 |
KT=0,5S/l |
1188-84 |
Kth=110000:V3/100:V3 |
КТ=0,5 |
2793-88 |
Ктг=600/5 |
| КТ=0,5 | |
31857-06 |
Ксч=1 |
KT=0,5S/l |
1188-84 |
Kth=110000:V3/100:V3 |
КТ=0,5 |
2793-88 |
Ктг=600/5 |
| КТ=0,5 | | |
|
A1805RAL-P4GB- DW-4 |
О |
td |
> |
О |
ГО |
> |
A1805RAL-P4GB- DW-4 |
О |
ГО |
> |
О |
ГО |
> |
A1805RALX-P4GB- DW-3 |
О |
ГО |
> |
О |
ГО |
> |
A1805RAL-P4GB- DW-4 |
О |
ГО |
> |
О |
ГО |
> |
A1805RAL-P4GB- DW-4 |
О |
ГО |
> |
О |
ГО |
> |
-U | ||||||||||
|
НКФ-110-83ХЛ1 |
НКФ-110-83ХЛ1 |
НКФ-110-83ХЛ1 |
ТФЗМ-110Б-1ХЛ1 |
ТФЗМ-110Б-1ХЛ1 |
| ТФЗМ-110Б-1ХЛ1 |
НКФ-110-83ХЛ1 |
НКФ-110-83ХЛ1 |
НКФ-110-83ХЛ1 |
ТФЗМ-110Б-1ХЛ1 |
ТФЗМ-110Б-1ХЛ1 |
| ТФЗМ-110Б-1ХЛ1 |
НКФ-110-83ХЛ1 |
НКФ-110-83ХЛ1 |
НКФ-110-83ХЛ1 |
ТФЗМ-110Б-1ХЛ1 |
ТФЗМ-110Б-1ХЛ1 |
| ТФЗМ-110Б-1ХЛ1 |
НКФ-110-83ХЛ1 |
НКФ-110-83ХЛ1 |
НКФ-110-83ХЛ1 |
ТФЗМ-110Б-1УХЛ1 |
ТФЗМ-110Б-1УХЛ1 |
| ТФЗМ-110Б-1УХЛ1 |
НКФ-110-83ХЛ1 |
НКФ-110-83ХЛ1 |
НКФ-110-83ХЛ1 |
ТФЗМ-110Б-1УХЛ1 |
ТФЗМ-110Б-1УХЛ1 |
| ТФЗМ-110Б-1УХЛ1 | ||||||||||||||||
|
1208541 |
№ 61563 |
№ 61239 |
№ 61588 |
№ 59173 |
№ 59114 |
| № 58890 |
1208540 |
№ 61976 |
№ 61977 |
№ 61980 |
№ 59213 |
№ 58970 |
| № 58978 |
1193978 |
№ 38831 |
№ 38835 |
№ 38886 |
№ 33664 |
№ 38079 |
| № 38079 |
1209926 |
№ 38839 |
№ 40265 |
№ 38927 |
№ 10732 |
№ 10725 |
| № 10747 |
1208755 |
№ 38831 |
№ 38835 |
№ 38886 |
№ 10748 |
№ 10735 |
| № 10493 | |||||||||||
|
132000 |
132000 |
66000 |
132000 |
132000 | |||||||||||||||||||||||||||||||||||||||||
|
1+ 6''- О'- |
1+ 6''- О'- |
1+ 6''- О'- |
1+ 6''- О'- |
1+ 6''- О'- |
<1 | ||||||||||||||||||||||||||||||||||||||||
|
ьн н- W ЦА 6'-- 6''- |
ьн н- W ЦА 6'-- 6''- |
ьн н- W ЦА 6'-- 6''- |
Н- н- W ЦА 6'-- 6''- |
Н- н- W ЦА 6'-- 6''- |
00 | ||||||||||||||||||||||||||||||||||||||||
Продолжение таблицы 2
|
24 |
23 |
22 |
21 |
20 |
1—‘ | ||||||||||||||||||||||||||||||||||||||||
|
ПС 110/6 кВ "Товарный парк" ВЛ-110 кВ Сургут-Полоцкая-1 |
ПС 110/35/6кВ "Западно-Камынская" ОВ-ПОкВ |
ПС 110/35/6кВ "Западно-Камынская" ВЛ-ПО кВ "Западно-Камынская-Пимская-2" |
ПС П0/35/6кВ "Западно-Камынская" ВЛ-ПО кВ "Западно-Камынская-Пимская-1" |
ПС 110/35/6кВ "Ай-Пимская" ВЛ-ПО кВ "Контур-Ай-Пимская 2" |
ю | ||||||||||||||||||||||||||||||||||||||||
|
Счетчик |
TH |
ТТ |
Счетчик |
TH |
ТТ |
Счетчик |
TH |
ТТ |
Счетчик |
TH |
ТТ |
Счетчик |
TH |
ТТ | |||||||||||||||||||||||||||||||
|
31857-06 |
Ксч=1 |
KT=0,5S/l |
1188-84 |
Kth=110000:V3/100:V3 |
КТ=0,5 |
2793-88 |
Ктт= 150/5 |
| КТ=0,5 | |
31857-06 |
Ксч=1 |
KT=0,5S/l |
26452-04 |
Kth=110000:V3/100:V3 |
КТ=0,5 |
26422-06 |
Ктг=600/5 |
| КТ=0,5 | |
31857-06 |
Ксч=1 |
KT=0,5S/l |
26452-04 |
Kth=110000:V3/100:V3 |
КТ=0,5 |
26422-06 |
Ктг=600/5 |
| КТ=0,5 | |
31857-06 |
Ксч=1 |
KT=0,5S/l |
26452-04 |
Kth=110000:V3/100:V3 |
КТ=0,5 |
26422-06 |
Ктг=600/5 |
| КТ=0,5 | |
31857-06 |
Ксч=1 |
KT=0,5S/l |
14205-94 |
Kth=110000:V3/100:V3 |
КТ=0,5 |
41236-09 |
Ктг=600/5 |
| КТ=0,5 | | |
|
A1805RAL-P4GB- DW-4 |
О |
td |
> |
О |
ГО |
> |
A1805RAL-P4GB- DW-4 |
О |
ГО |
> |
О |
ГО |
> |
A1805RAL-P4GB- DW-4 |
О |
ГО |
> |
О |
ГО |
> |
A1805RAL-P4GB- DW-4 |
О |
ГО |
> |
О |
ГО |
> |
A1805RAL-P4GB- DW-4 |
О |
ГО |
> |
О |
ГО |
> |
-U | ||||||||||
|
НКФ-110Б-ПХЛ1 |
НКФ-110Б-ПХЛ1 |
НКФ-110Б-ПХЛ1 |
ТФЗМ 110Б-1УХЛ1 |
ТФЗМ 110Б-1УХЛ1 |
I ТФЗМ 110Б-1УХЛ1 |
НКФ-ПО-П-ХЛ-1 |
НКФ-ПО-П-ХЛ-1 |
НКФ-ПО-П-ХЛ-1 |
ТФЗМ-П0Б-1УХЛ1 |
ТФЗМ-П0Б-1УХЛ1 |
| ТФЗМ-П0Б-1УХЛ1 |
НКФ-ПО-П-ХЛ-1 |
НКФ-ПО-П-ХЛ-1 |
НКФ-ПО-П-ХЛ-1 |
ТФЗМ-П0Б-1УХЛ1 |
ТФЗМ-П0Б-1УХЛ1 |
| ТФЗМ-П0Б-1УХЛ1 |
НКФ-ПО-П-ХЛ-1 |
НКФ-ПО-П-ХЛ-1 |
НКФ-ПО-П-ХЛ-1 |
ТФЗМ-П0Б-1УХЛ1 |
ТФЗМ-П0Б-1УХЛ1 |
| ТФЗМ-П0Б-1УХЛ1 |
НКФ-П0-57У1 |
НКФ-110-ПХЛ1 |
НКФ-П0-ПХЛ1 |
ТФЗМ-П0Б-1УХЛ1 |
ТФЗМ-П0Б-1УХЛ1 |
| ТФЗМ-П0Б-1УХЛ1 | ||||||||||||||||
|
1208579 |
№ 3520 |
№3514 |
№3519 |
№ 11264 |
№ 11261 |
| № 11263 |
1208785 |
№3131 |
№3918 |
№ 3927 |
№ 12887 |
№ 12884 |
| № 12872 |
1208784 |
№3921 |
№ 3924 |
№ 3919 |
№ 12860 |
№ 12867 |
| № 12879 |
1208768 |
№3131 |
№3918 |
№ 3927 |
№ 12873 |
№ 12870 |
| № 12889 |
1208552 |
№480172 |
г? о |
№3001 |
№ 12022 |
№ 12021 |
| № 12030 | |||||||||||
|
33000 |
132000 |
132000 |
132000 |
132000 | |||||||||||||||||||||||||||||||||||||||||
|
1+ ^ф ^ф ф'-- о''- |
1+ ^ф ^ф ф'-- ф'-- |
1+ ^ф ^ф ф'-- ф'-- |
1+ ^ф ^ф ф'-- ф'-- |
1+ ^ф ^ф ф'-- ф'-- |
<1 | ||||||||||||||||||||||||||||||||||||||||
|
ьн н- W ЦА Ф'-- 6''- |
ьн н- $Ф $Ф Ф'-- Ф'-- |
ьн н-W ЦА $Ф $Ф Ф'-- Ф'-- |
ьн н-W ЦА $Ф $Ф Ф'-- Ф'-- |
н- $Ф $Ф Ф'-- Ф'-- |
ОО | ||||||||||||||||||||||||||||||||||||||||
Продолжение таблицы 2
|
29 |
28 |
27 |
26 |
25 |
1—‘ | ||||||||||||||||||||||||||||||||||||||||
|
ПС 110/35/10 кВ "Березка" ВЛ-35 кВ Калинка-2 |
ПС 110/35/10 кВ "Березка" ВЛ-35 кВ Калинка-1 |
ПС 110/6кВ №46 ("Белый Яр") ВЛ-110 кВ Сургут-Барсово-4 |
ПС 110/6кВ№46 ("Белый Яр") ВЛ-110 кВ Барсово-Северная |
ПС 110/6 кВ "Товарный парк" ВЛ-110 кВ Сургут-Полоцкая-2 |
ю | ||||||||||||||||||||||||||||||||||||||||
|
Счетчик |
TH |
тт |
Счетчик |
TH |
ТТ |
Счетчик |
TH |
ТТ |
Счетчик |
TH |
ТТ |
Счетчик |
TH |
ТТ | |||||||||||||||||||||||||||||||
|
31857-06 |
Ксч=1 |
KT=0,5S/l |
19813-00 |
Ктн=35000/100 |
КТ=0,5 |
30368-05 |
Ктт=400/5 |
| KT=0,5S | |
31857-06 |
Ксч=1 |
KT=0,5S/l |
19813-00 |
Ктн=35000/100 |
КТ=0,5 |
3690-73 |
Ктг=200/5 |
| КТ=0,5 | |
31857-06 |
Ксч=1 |
KT=0,5S/l |
1188-84 |
Kth=110000:V3/100:V3 |
КТ=0,5 |
2793-88 |
Ктг= 100/5 |
| КТ=0,5 | |
31857-06 |
Ксч=1 |
KT=0,5S/l |
1188-84 |
Kth=110000:V3/100:V3 |
КТ=0,5 |
2793-88 |
Ктг= 100/5 |
| КТ=0,5 | |
31857-06 |
Ксч=1 |
KT=0,5S/l |
1188-84 |
Kth=110000:V3/100:V3 |
КТ=0,5 |
2793-88 |
Ктг= 150/5 |
| КТ=0,5 | | |
|
A1805RAL-P4GB- DW-4 |
О |
ГО |
> |
О |
ГО |
> |
A1805RAL-P4GB- DW-4 |
О |
ГО |
> |
О |
ГО |
> |
A1805RAL-P4GB- DW-4 |
О |
td |
> |
О |
ГО |
> |
A1805RAL-P4GB- DW-4 |
О |
ГО |
> |
О |
ГО |
> |
A1805RAL-P4GB- DW-4 |
О |
ГО |
> |
О |
ГО |
> |
-U | ||||||||||
|
НАМИ-35 |
GIF40.5 |
GIF40.5 |
| GIF40.5 |
НАМИ-35 |
ТФЗМ-35А |
| ТФЗМ-35А |
НКФ-110Б-ПХЛ1 |
НКФ-110Б-ПХЛ1 |
НКФ-110Б-ПХЛ1 |
ТФЗМ 110Б-1УХЛ1 |
ТФЗМ 110Б-1УХЛ1 |
I ТФЗМ 110Б-1УХЛ1 |
НКФ-110Б-ПХЛ1 |
НКФ-110Б-ПХЛ1 |
НКФ-110Б-ПХЛ1 |
ТФЗМ 110Б-1УХЛ1 |
ТФЗМ 110Б-1УХЛ1 |
I ТФЗМ 110Б-1УХЛ1 |
НКФ-110Б-ПХЛ1 |
НКФ-110Б-ПХЛ1 |
НКФ-110Б-ПХЛ1 |
ТФЗМ 110Б-1УХЛ1 |
ТФЗМ 110Б-1УХЛ1 |
1 ТФЗМ 110Б-1УХЛ1 | |||||||||||||||||||||
|
1208783 |
№ 117 |
№ 30399946 |
№ 30399942 |
| №30399947 |
1208722 |
ю» о |
№ 52081 |
| №48013 |
1208803 |
№ 3532 |
№ 3524 |
№ 3522 |
№ 12475 |
№ 12317 |
| № 12474 |
1208771 |
№ 3521 |
№ 3528 |
№ 3498 |
№ 12480 |
№ 12481 |
| № 12323 |
1208759 |
№ 3531 |
№ 3533 |
№ 3518 |
№ 11259 |
№ 11266 |
| № 11260 | ||||||||||||||||
|
28000 |
14000 |
22000 |
22000 |
33000 | |||||||||||||||||||||||||||||||||||||||||
|
1+ $ о- °" |
1+ ^О ^О 6'- 6'- |
1+ ^О ^О 6'- 6'- |
1+ ^О ^О 6'- 6'- |
1+ ^О ^О 6'- 6'- |
<1 | ||||||||||||||||||||||||||||||||||||||||
|
ьн н- 6'- 6'- |
ьн н- $о $о 6'- 6'- |
ьн н- $о $о 6'- 6'- |
ьн н- W ЦА $о $о 6'- 6'- |
ьн н- $о $о 6'- 6'- |
00 | ||||||||||||||||||||||||||||||||||||||||
Продолжение таблицы 2
|
34 |
33 |
32 |
31 |
30 |
1—‘ | ||||||||||||||||||||||||||||||||||||||||
|
ПС 110/35/10 кВ "КНС-П" ВЛ-35кВ Куст 348 - 1 |
ПС 110/35/10 кВ "Газлифт" ВЛ-35кВ Кустовая 1-2 |
ПС 110/35/10 кВ "Газлифт" ВЛ-35кВ Кустовая 1-1 |
ПС 110/35/10 кВ "Газлифт" ВЛ-35кВ Г азлифт -2 |
ПС 110/35/10 кВ "Газлифт" ВЛ-35кВ Г азлифт -1 |
ю | ||||||||||||||||||||||||||||||||||||||||
|
Счетчик |
TH |
ТТ |
Счетчик |
TH |
ТТ |
Счетчик |
TH |
ТТ |
Счетчик |
TH |
ТТ |
Счетчик |
TH |
ТТ | |||||||||||||||||||||||||||||||
|
31857-06 |
Ксч=1 |
KT=0,5S/l |
912-07 |
Kth=35000J3/100J3 |
КТ=0,5 |
3690-73 |
| КТ=0,5 |
31857-06 |
Ксч=1 |
KT=0,5S/l |
912-70 |
Kth=35000J3/100J3 |
КТ=0,5 |
3690-73 |
Ктт=400/5 |
| KT=0,5S |
31857-06 |
Ксч=1 |
KT=0,5S/l |
912-70 |
Kth=35000J3/100J3 |
КТ=0,5 |
3690-73 |
Ктт=400/5 |
| KT=0,5S |
31857-06 |
Ксч=1 |
KT=0,5S/l |
912-70 |
Kth=35000J3/100J3 |
КТ=0,5 |
3690-73 |
Ктт=400/5 |
| KT=0,5S |
31857-06 |
Ксч=1 |
KT=0,5S/l |
912-70 |
Kth=35000J3/100J3 |
КТ=0,5 |
3690-73 |
Ктт=400/5 |
| KT=0,5S | ||
|
A1805RAL-P4GB- DW-4 |
О |
ГО |
> |
О |
ГО |
> |
A1805RAL-P4GB- DW-4 |
О |
ГО |
> |
О |
ГО |
> |
A1805RAL-P4GB- DW-4 |
О |
ГО |
> |
О |
ГО |
> |
A1805RAL-P4GB- DW-4 |
О |
ГО |
> |
О |
ГО |
> |
A1805RAL-P4GB- DW-4 |
О |
ГО |
> |
О |
ГО |
> |
-U | ||||||||||
|
3HOM-35-65 |
3HOM-35-65 |
3HOM-35-65 |
ТФЗМ-35А |
| ТФЗМ-35А |
3HOM-35-65 |
3HOM-35-65 |
3HOM-35-65 |
ТФЗМ-35А |
| ТФЗМ-35А |
3HOM-35-65 |
3HOM-35-65 |
3HOM-35-65 |
ТФЗМ-35А |
| ТФЗМ-35А |
3HOM-35-65 |
3HOM-35-65 |
3HOM-35-65 |
ТФЗМ-35А |
| ТФЗМ-35А |
3HOM-35-65 |
3HOM-35-65 |
3HOM-35-65 |
ТФЗМ-35А |
| ТФЗМ-35А | |||||||||||||||||||||
|
1208687 |
№ 1301448 |
№ 1307365 |
№ 1307275 |
№ 71392 |
| №71359 |
1208694 |
№ 1441705 |
№ 1151023 |
№ 1441055 |
№ 73054 |
| №73048 |
1208654 |
№ 1280813 |
№ 1218382 |
№ 1398185 |
№ 73055 |
| №73053 |
1208687 |
№ 1441705 |
№ 1151023 |
№ 1441055 |
№ 73050 |
| №73049 |
1208644 |
№ 1280813 |
№ 1218382 |
№ 1398185 |
№ 73052 |
| №73051 | ||||||||||||||||
|
21000 |
28000 |
28000 |
28000 |
28000 | |||||||||||||||||||||||||||||||||||||||||
|
1+ ^О ^О О’- О’- |
1+ $ о”- °" |
1+ $ О'- °" |
1+ $ О'- °" |
1+ $ О'- °" |
<1 | ||||||||||||||||||||||||||||||||||||||||
|
ьн н- О’- О’- |
ьн н- о’’- 6'- |
ьн н- 6'- 6'- |
ьн н- 6'- 6'- |
н- 6'- 6'- |
00 | ||||||||||||||||||||||||||||||||||||||||
Продолжение таблицы 2
|
39 |
38 |
37 |
36 |
35 |
1—‘ | ||||||||||||||||||||||||||||||||||||||||
|
ПС 110/35/10 кВ "КНС-3" ВЛ-35кВ КНС 3-2 |
ПС 110/35/10 кВ "КНС-3" ВЛ-35кВ КНС 3-1 |
ПС 110/35/10 кВ "КНС-П" ВЛ-35кВ ПС 54 - 2 |
ПС 110/35/10 кВ "КНС-П" ВЛ-35кВ ПС 54 - 1 |
ПС 110/35/10 кВ "КНС-П" ВЛ-35кВ Куст 348 - 2 |
ю | ||||||||||||||||||||||||||||||||||||||||
|
Счетчик |
TH |
тт |
Счетчик |
TH |
ТТ |
Счетчик |
TH |
ТТ |
Счетчик |
TH |
ТТ |
Счетчик |
TH |
ТТ | |||||||||||||||||||||||||||||||
|
31857-06 |
Ксч=1 |
KT=0,5S/l |
19813-00 |
5 Я II W |
КТ=0,5 |
3689-73 |
Ктт=600/5 |
| KT=0,5S |
31857-06 |
Ксч=1 |
KT=0,5S/l |
19813-00 |
5 Я II W |
КТ=0,5 |
3689-73 |
Ктт=600/5 |
| KT=0,5S |
31857-06 |
Ксч=1 |
KT=0,5S/l |
912-07 |
Kth=35000J3/100J3 |
КТ=0,5 |
3690-73 |
Ктт=200/5 |
| КТ=0,5 |
31857-06 |
Ксч=1 |
KT=0,5S/l |
912-07 |
Kth=35000J3/100J3 |
КТ=0,5 |
3690-73 |
Ктт=200/5 |
| КТ=0,5 |
31857-06 |
Ксч=1 |
KT=0,5S/l |
912-07 |
Kth=35000J3/100J3 |
КТ=0,5 |
3690-73 |
| КТ=0,5 | ||
|
A1805RAL-P4GB- DW-4 |
О |
ГО |
> |
О |
ГО |
> |
A1805RAL-P4GB- DW-4 |
О |
ГО |
> |
О |
ГО |
> |
A1805RAL-P4GB- DW-4 |
О |
ГО |
> |
О |
ГО |
> |
A1805RAL-P4GB- DW-4 |
О |
ГО |
> |
О |
ГО |
> |
A1805RAL-P4GB- DW-4 |
О |
ГО |
> |
О |
ГО |
> |
-U | ||||||||||
|
НАМИ-35 УХЛ1 |
ТФЗМ-35Б-1ХЛ1 |
| ТФЗМ-35Б-1ХЛ1 |
НАМИ-35 УХЛ1 |
ТФЗМ-35Б-1ХЛ1 |
| ТФЗМ-35Б-1ХЛ1 |
3HOM-35-65 |
3HOM-35-65 |
3HOM-35-65 |
ТФЗМ-35А |
| ТФЗМ-35А |
3HOM-35-65 |
3HOM-35-65 |
3HOM-35-65 |
ТФЗМ-35А |
| ТФЗМ-35А |
3HOM-35-65 |
3HOM-35-65 |
3HOM-35-65 |
ТФЗМ-35А |
| ТФЗМ-35А | |||||||||||||||||||||||||
|
1208735 |
№ 1174 |
№ 37355 |
| № 37353 |
1208730 |
№ 1113 |
№ 37357 |
| № 37360 |
1208644 |
№ 1378222 |
№ 1307366 |
№ 1307373 |
№ 43677 |
| №43651 |
1208787 |
№ 1301448 |
№ 1307365 |
№ 1307275 |
№ 43668 |
| №43658 |
1208654 |
№ 1378222 |
№ 1307366 |
№ 1307373 |
№71105 |
| №71895 | ||||||||||||||||||||
|
42000 |
42000 |
14000 |
14000 |
21000 | |||||||||||||||||||||||||||||||||||||||||
|
1+ $ о- °" |
1+ $ О'- °" |
1+ ^О ^О 6'- 6'- |
1+ ^О ^О 6'- 6'- |
1+ ^О ^О 6'- 6'- |
<1 | ||||||||||||||||||||||||||||||||||||||||
|
ьн н- 6'- 6'- |
Н- н- 6'- 6'- |
Н- н- 6'- 6'- |
Н- н- 6'- 6'- |
н- 6'- 6'- |
00 | ||||||||||||||||||||||||||||||||||||||||
Продолжение таблицы 2
|
44 |
43 |
42 |
41 |
40 |
।—‘ | ||||||||||||||||||||||||||||||||||||||||
|
ПС 110/35/10 кВ "КНС-7" ВЛ-35кВ Кустовая 7-1 |
ПС 110/35/10 кВ "КНС-7" ВЛ-35кВ Куст 156-2 |
ПС 110/35/10 кВ "КНС-7" ВЛ-35кВ Куст 156-1 |
ПС 110/35/10 кВ "КНС-3" ВЛ-35кВ КНС 7-2 |
ПС 110/35/10 кВ "КНС-3" ВЛ-35кВ КНС 7-1 |
ю | ||||||||||||||||||||||||||||||||||||||||
|
Счетчик |
тн |
тт |
Счетчик |
тн |
тт |
Счетчик |
тн |
тт |
Счетчик |
тн |
тт |
Счетчик |
тн |
тт | |||||||||||||||||||||||||||||||
|
31857-06 |
£ Я Д |
Я |
о |
Kth=35000J3/100J3 |
я |
Я |
ОС |
£ Я Д |
Я |
о |
5 я II W |
Я |
Я |
ОС |
£ Я д |
я |
о |
5 я II W |
Я |
Я |
ОС |
£ Я д |
я |
00 W |
5 я II W |
Я |
00 |
1 |
я |
ОС |
£ Я д |
я |
00 W |
5 я II W |
Я |
00 |
1 |
я | |||||||
|
A1805RAL-P4GB- DW-4 |
О |
ГО |
> |
о |
ГО |
> |
A1805RAL-P4GB- DW-4 |
О |
ГО |
> |
о |
ГО |
> |
A1805RAL-P4GB- DW-4 |
О |
ГО |
> |
о |
ГО |
> |
A1805RAL-P4GB- DW-4 |
О |
ГО |
> |
О |
го |
> |
A1805RAL-P4GB- DW-4 |
О |
ГО |
> |
О |
го |
> |
-U | ||||||||||
|
я о А) |
я о А |
я о А |
е > |
в W > |
НАМИ-35 УХЛ1 |
е се W > |
в се W > |
НАМИ-35 УХЛ1 |
в се W > |
в се W > |
НАМИ-35 УХЛ1 |
ТФЗМ-35Б-1ХЛ1 |
| ТФЗМ-35Б-1ХЛ1 |
НАМИ-35 УХЛ1 |
ТФЗМ-35Б-1ХЛ1 |
| ТФЗМ-35Б-1ХЛ1 | |||||||||||||||||||||||||||||
|
1208573 |
ю» |
ю» |
ю» § |
ю» |
ю» |
00 00 |
ю» |
ю» |
ю» W |
ОО 00 |
ю» |
ю» |
ю» |
ю» |
Г? |
Г? |
00 |
ю» |
ю» |
ю» | |||||||||||||||||||||||||
|
21000 |
21000 |
21000 |
42000 |
42000 | |||||||||||||||||||||||||||||||||||||||||
|
1+ $ о- °" |
1+ $ О'- °" |
1+ $ О'- °" |
1+ $ О'- °" |
1+ $ О'- °" |
<1 | ||||||||||||||||||||||||||||||||||||||||
|
ьн н- 6'- 6'- |
ьн н- 6'- 6'- |
Н- н- 6'- 6'- |
н- 6'- 6'- |
н- 6'- 6'- |
00 | ||||||||||||||||||||||||||||||||||||||||
Продолжение таблицы 2
|
49 |
48 |
47 |
46 |
45 |
1—‘ | ||||||||||||||||||||||||||||||||||||||||
|
ПС 110/35/6 кВ "Агат" ВЛ-35 кВ Куст 191-1 |
ПС 110/35/6 кВ "Агат" ВЛ-35 кВ Статор-2 |
ПС 110/35/6 кВ "Агат" ВЛ-35 кВ Статор-1 |
ПС 110/35/6 кВ "Агат" ВЛ-35 кВ Куст 191-2 |
ПС 110/35/10 кВ "КНС-7" ВЛ-35кВ Кустовая 7-2 |
ю | ||||||||||||||||||||||||||||||||||||||||
|
Счетчик |
тн |
тт |
Счетчик |
тн |
тт |
Счетчик |
тн |
тт |
Счетчик |
тн |
тт |
Счетчик |
тн |
ТТ | |||||||||||||||||||||||||||||||
|
31857-06 |
£ л Д |
Я |
00 W |
5 я II W |
Я |
я |
00 |
£ Я Д |
Я |
00 W |
5 я II W |
Я |
1 |
я |
00 |
£ Я Д |
Я |
00 W |
5 я II W |
Я |
1 |
я |
00 |
£ Я Д |
Я |
00 W |
5 я II W |
Я |
1 |
я |
00 |
£ Я Д |
Я |
о |
Kth=35000J3/100J3 |
я |
Я | ||||||||
|
A1805RAL-P4GB- DW-4 |
О |
ГО |
> |
о |
ГО |
> |
A1805RAL-P4GB- DW-4 |
О |
ГО |
> |
о |
го |
> |
A1805RAL-P4GB- DW-4 |
О |
ГО |
> |
о |
го |
> |
A1805RAL-P4GB- DW-4 |
О |
ГО |
> |
о |
го |
> |
A1805RAL-P4GB- DW-4 |
О |
ГО |
> |
о |
ГО |
> |
-U | ||||||||||
|
НАМИ-35 УХЛ1 |
ТФЗМ-35А-ХЛ1 |
| ТФЗМ-35А-ХЛ1 |
НАМИ-35 УХЛ1 |
е се > |
| ТФЗМ-35А-ХЛ1 |
НАМИ-35 УХЛ1 |
в се > |
в се А) > |
НАМИ-35 УХЛ1 |
ТФЗМ-35А-ХЛ1 |
| ТФЗМ-35А-ХЛ1 |
се я о А |
се я о А |
се я о А |
в се W > |
в се А > | |||||||||||||||||||||||||||||
|
1203677 |
ю» 00 |
ю» W 00 00 |
ю» W 00 |
8 |
ю» |
ю» |
ю» 8 |
8 |
ю» 00 |
ю» |
ю» |
8 оо |
ю» |
ю» |
Г? |
00 00 00 |
Г? 0 |
Г? § |
ю» 00 |
г? |
Г? w | ||||||||||||||||||||||||
|
10500 |
14000 |
14000 |
14000 |
21000 | |||||||||||||||||||||||||||||||||||||||||
|
1+ 6''- О'- |
1+ 6''- О'- |
1+ 6''- О'- |
1+ О4- о''- |
1+ О4- о''- |
<1 | ||||||||||||||||||||||||||||||||||||||||
|
ьн н- 6''- О'- |
Н- н- 8 6''- О'- |
Н- н- 8 6''- О'- |
н- О4- о''- |
н- О4- о''- |
00 | ||||||||||||||||||||||||||||||||||||||||
Продолжение таблицы 2
|
54 |
53 |
52 |
51 |
50 |
1—‘ | ||||||||||||||||||||||||||||||||||||||||
|
ПС 110/35/6 кВ "Алмаз" ВЛ-35 кВ КНС 11-1 |
ПС 110/35/6 кВ "Алехинская" ВЛ-35кВ Северо-Алехинская-2 |
ПС 110/35/6 кВ "Алехинская" ВЛ-35кВ Северо-Алехинская-1 |
ПС 110/35/6 кВ "Алехинская" ВЛ-35кВ Куст 7-2 |
ПС 110/35/6 кВ "Алехинская" ВЛ-35кВКуст 7-1 |
ю | ||||||||||||||||||||||||||||||||||||||||
|
Счетчик |
TH |
тт |
Счетчик |
TH |
ТТ |
Счетчик |
TH |
ТТ |
Счетчик |
TH |
ТТ |
Счетчик |
TH |
ТТ | |||||||||||||||||||||||||||||||
|
31857-06 |
Ксч=1 |
KT=0,5S/l |
19813-00 |
5 Я II W |
КТ=0,5 |
3690-73 |
Ктт=400/5 |
| КТ=0,5 |
31857-06 |
Ксч=1 |
KT=0,5S/l |
19813-00 |
5 Я II W |
КТ=0,5 |
3689-73 |
Ктт=400/5 |
| KT=0,5S |
31857-06 |
Ксч=1 |
KT=0,5S/l |
912-70 |
Kth=35000J3/100J3 |
КТ=0,5 |
3689-73 |
Ктт=400/5 |
| KT=0,5S |
31857-06 |
Ксч=1 |
KT=0,5S/l |
19813-00 |
5 Я II W |
КТ=0,5 |
3689-73 |
Ктт=400/5 |
| KT=0,5S |
31857-06 |
Ксч=1 |
KT=0,5S/l |
912-70 |
Kth=35000J3/100J3 |
КТ=0,5 |
3689-73 |
Ктт=400/5 |
| KT=0,5S | |
|
A1805RAL-P4GB- DW-3 |
О |
ГО |
> |
О |
ГО |
> |
A1805RAL-P4GB- DW-4 |
О |
ГО |
> |
О |
ГО |
> |
A1805RAL-P4GB- DW-4 |
О |
ГО |
> |
О |
ГО |
> |
A1805RAL-P4GB- DW-4 |
О |
ГО |
> |
О |
ГО |
> |
A1805RAL-P4GB- DW-4 |
О |
ГО |
> |
О |
ГО |
> |
-U | ||||||||||
|
НАМИ-35 УХЛ1 |
ТФЗМ-35А-У1 |
| ТФЗМ-35А-У1 |
НАМИ-35 УХЛ1 |
ТФЗМ-35Б-1ХЛ1 |
| ТФЗМ-35Б-1ХЛ1 |
3HOM-35-65 |
3HOM-35-65 |
3HOM-35-65 |
ТФЗМ-35Б-1ХЛ1 |
| ТФЗМ-35Б-1ХЛ1 |
НАМИ-35 УХЛ1 |
ТФЗМ-35Б-1ХЛ1 |
| ТФЗМ-35Б-1ХЛ1 |
3HOM-35-65 |
3HOM-35-65 |
3HOM-35-65 |
ТФЗМ-35Б-1ХЛ1 |
| ТФЗМ-35Б-1ХЛ1 | |||||||||||||||||||||||||||
|
6874748 |
№ 1168 |
№ 36116 |
| № 23074 |
1209910 |
№ 639 |
№ 37454 |
| № 37450 |
1209909 |
№ 1274182 |
№ 1274170 |
№ 1169329 |
№ 37452 |
| №34448 |
1209908 |
№ 639 |
№ 37455 |
| № 37453 |
1208756 |
№ 1274182 |
№ 1274170 |
№ 1169329 |
№ 37451 |
| №37449 | ||||||||||||||||||||||
|
28000 |
28000 |
28000 |
28000 |
28000 | |||||||||||||||||||||||||||||||||||||||||
|
1+ ^О ^О О’- О’- |
1+ $ о”- °" |
1+ $ О'- °" |
1+ $ О'- °" |
1+ $ О'- °" |
<1 | ||||||||||||||||||||||||||||||||||||||||
|
ьн н- О’- О’- |
Н- н- о’’- 6'- |
Н- н- 6'- 6'- |
Н- н- 6'- 6'- |
н- 6'- 6'- |
00 | ||||||||||||||||||||||||||||||||||||||||
Продолжение таблицы 2
|
59 |
58 |
57 |
56 |
55 |
1—‘ | ||||||||||||||||||||||||||||||||||||||||
|
ПС 110/35/6 кВ "Блочная" ВЛ-35 кВ Дожимная-1 |
ПС 110/35/6 кВ "Блочная" ВЛ-35 кВ Дожимная-2 |
ПС 110/35/6 кВ "Алмаз Ротор-2 |
ВЛ-35 кВ |
ПС 110/35/6 кВ "Алмаз Ротор-1 |
’ ВЛ-35 кВ |
ПС 110/35/6 кВ "Алмаз КНС 11-2 |
ВЛ-35 кВ |
ю | |||||||||||||||||||||||||||||||||||||
|
Счетчик |
TH |
тт |
Счетчик |
TH |
ТТ |
Счетчик |
TH |
ТТ |
Счетчик |
TH |
ТТ |
Счетчик |
TH |
ТТ | |||||||||||||||||||||||||||||||
|
31857-06 |
Ксч=1 |
KT=0,5S/l |
19813-00 |
Ктн=35000/100 |
КТ=0,5 |
29713-06 |
Ктт=600/5 |
| КТ=0,5 |
31857-06 |
Ксч=1 |
KT=0,5S/l |
19813-00 |
Ктн=35000/100 |
КТ=0,5 |
29713-06 |
Ктг=600/5 |
| КТ=0,5 |
31857-06 |
Ксч=1 |
KT=0,5S/l |
19813-00 |
Ктн=35000/100 |
КТ=0,5 |
30368-05 |
Я 3 II W |
| KT=0,2S |
31857-06 |
Ксч=1 |
KT=0,5S/l |
19813-00 |
Ктн=35000/100 |
КТ=0,5 |
3690-73 |
Ктг= 150/5 |
| КТ=0,5 |
31857-06 |
Ксч=1 |
KT=0,5S/l |
19813-00 |
Ктн=35000/100 |
КТ=0,5 |
3690-73 |
Ктг=400/5 |
| КТ=0,5 | |
|
О |
ГО |
> |
О |
ГО |
> |
О |
ГО |
> |
О |
ГО |
> |
О |
ГО |
> |
О |
ГО |
> |
О |
ГО |
> |
О |
ГО |
> |
О |
ГО |
> |
О |
ГО |
> | ||||||||||||||||
|
A1805RAL-P4GB- DW-4 |
НАМИ-35 УХЛ1 |
GIF 30 |
| GIF 30 |
A1805RAL-P4GB- DW-4 |
НАМИ-35 УХЛ1 |
GIF 30 |
| GIF 30 |
A1805RAL-P4GB- DW-4 |
НАМИ-35 УХЛ1 |
GIF 40.5 |
| GIF 40.5 |
A1805RAL-P4GB- DW-4 |
НАМИ-35 УХЛ1 |
ТФЗМ-35А-ХЛ1 |
| ТФЗМ-35А-ХЛ1 |
A1805RAL-P4GB- DW-4 |
НАМИ-35 УХЛ1 |
ТФЗМ-35АУ1 |
| ТФЗМ-35АУ1 |
-U | |||||||||||||||||||||||||
|
1208547 |
№231 |
№ 30657601 |
| № 30657602 |
1208727 |
№ 1182 |
№ 30657597 |
| № 30657600 |
1183496 |
№907 |
№ 08/30482367 |
| № 08/30482368 |
1183497 |
№ 1168 |
№ 36950 |
| №36945 |
1183499 |
№907 |
№ 36125 |
| №36432 | ||||||||||||||||||||||||||
|
42000 |
42000 |
21000 |
10500 |
28000 | |||||||||||||||||||||||||||||||||||||||||
|
1+ ^© ^© ©''- ©'' |
1+ ^© ^© ©''- ©'' |
Н- Н- 00 о х© X© ©'-- ©--. |
1+ ^© ^© ©'-- ©--. |
1+ ^© ^© ©V ©--. |
<1 | ||||||||||||||||||||||||||||||||||||||||
|
ьн н- ©''- ©'' |
ьн н- ©''- ©'' |
ьн н- ©'-- ©--. |
ьн н- ©'-- ©--. |
н- ©V ©--. |
00 | ||||||||||||||||||||||||||||||||||||||||
Продолжение таблицы 2
|
64 |
63 |
62 |
61 |
60 |
1—‘ | ||||||||||||||||||||||||||||||||||||||||
|
ПС 110/35/6 кВ "Брусничная" ВЛ-35кВКуст 156-1 |
ПС 110/35/6 кВ "Брусничная" ВЛ-35кВ КНС 6-2 |
ПС 110/35/6 кВ "Брусничная" ВЛ-35 кВ КНС 6-1 |
ПС 110/35/6 кВ "Блочная" ВЛ-35 кВ Северная-2 |
ПС 110/35/6 кВ "Блочная" ВЛ-35 кВ Северная-1 |
ю | ||||||||||||||||||||||||||||||||||||||||
|
Счетчик |
TH |
ТТ |
Счетчик |
TH |
ТТ |
Счетчик |
TH |
ТТ |
Счетчик |
TH |
ТТ |
Счетчик |
TH |
ТТ | |||||||||||||||||||||||||||||||
|
31857-06 |
Ксч=1 |
KT=0,5S/l |
912-70 |
Kth=35000J3/100J3 |
КТ=0,5 |
3690-73 |
Ктт=200/5 |
| KT=0,5S |
31857-06 |
Ксч=1 |
KT=0,5S/l |
912-70 |
Kth=35000J3/100J3 |
КТ=0,5 |
3690-73 |
| KT=0,5S |
31857-06 |
Ксч=1 |
KT=0,5S/l |
912-70 |
Kth=35000J3/100J3 |
КТ=0,5 |
3689-73 |
| KT=0,5S |
31857-06 |
Ксч=1 |
KT=0,5S/l |
19813-00 |
5 Я II W |
КТ=0,5 |
29713-06 |
Ктт=600/5 |
| КТ=0,5 |
31857-06 |
Ксч=1 |
KT=0,5S/l |
19813-00 |
5 Я II W |
КТ=0,5 |
29713-06 |
Ктт=600/5 |
| КТ=0,5 | |||
|
A1805RAL-P4GB- DW-4 |
О |
ГО |
> |
О |
ГО |
> |
A1805RAL-P4GB- DW-4 |
О |
ГО |
> |
О |
ГО |
> |
A1805RAL-P4GB- DW-4 |
О |
ГО |
> |
О |
ГО |
> |
A1805RAL-P4GB- DW-4 |
О |
ГО |
> |
О |
ГО |
> |
A1805RAL-P4GB- DW-4 |
О |
ГО |
> |
О |
ГО |
> |
-U | ||||||||||
|
3HOM-35-65 |
3HOM-35-65 |
3HOM-35-65 |
ТФЗМ-35А |
| ТФЗМ-35А |
3HOM-35-65 |
3HOM-35-65 |
3HOM-35-65 |
ТФЗМ-35А |
| ТФЗМ-35А |
3HOM-35-65 |
3HOM-35-65 |
3HOM-35-65 |
ТФЗМ-35Б-1 |
| ТФЗМ-35Б-1 |
НАМИ-35 УХЛ1 |
GIF 30 |
| GIF 30 |
НАМИ-35 УХЛ1 |
GIF 30 |
| GIF 30 | |||||||||||||||||||||||||
|
1208550 |
№ 1450400 |
№ 1469515 |
№ 1263221 |
№ 14703 |
| № 14776 |
1208611 |
№ 1445523 |
№ 1463870 |
№ 1286095 |
№31575 |
| №304608 |
1208646 |
№ 1450400 |
№ 1469515 |
№ 1263221 |
№ 29689 |
| № 29765 |
1208575 |
№ 1182 |
№ 30657599 |
| № 30657598 |
1208804 |
№ 231 |
№ 30657603 |
| №30657604 | ||||||||||||||||||||
|
14000 |
21000 |
21000 |
42000 |
42000 | |||||||||||||||||||||||||||||||||||||||||
|
1+ $ о- °" |
1+ $ О'- °" |
1+ $ О'- °" |
1+ ^О ^О 6'- 6'- |
1+ ^О ^О 6'- 6'- |
<1 | ||||||||||||||||||||||||||||||||||||||||
|
ьн н- 6'- 6'- |
ьн н- 6'- 6'- |
ьн н- 6'- 6'- |
ьн н- 6'- 6'- |
н- 6'- 6'- |
00 | ||||||||||||||||||||||||||||||||||||||||
Продолжение таблицы 2
|
69 |
68 |
67 |
66 |
65 |
।—‘ | ||||||||||||||||||||||||||||||||||||||||
|
ПС 110/35/6 кВ "Быстринская" ВЛ-35 кВ КНС 8-1 |
ПС 110/35/6 кВ "Быстринская" ВЛ-35 кВ Якорь - 2 |
ПС 110/35/6 кВ "Быстринская" ВЛ-35 кВ Якорь - 1 |
ПС 110/35/6 кВ "Быстринская" ВЛ-35 кВ КНС 8-2 |
ПС 110/35/6 кВ "Брусничная" ВЛ-35кВ Куст 156-2 |
Ю | ||||||||||||||||||||||||||||||||||||||||
|
Счетчик |
тн |
тт |
Счетчик |
тн |
тт |
Счетчик |
тн |
тт |
Счетчик |
тн |
тт |
Счетчик |
тн |
тт |
U) | ||||||||||||||||||||||||||||||
|
31857-06 |
£ л Д |
Я |
00 W |
5 я II W |
Я |
1 |
я |
00 |
£ Я Д |
Я |
00 W |
5 я II W |
Я |
1 |
я |
00 |
£ Я Д |
Я |
00 W |
5 я II W |
Я |
1 |
я |
00 |
£ Я Д |
Я |
00 W |
5 я II W |
Я |
1 |
я |
00 |
£ Я д |
я |
о |
Kth=35000J3/100J3 |
я |
1 |
я | ||||||
|
A1805RAL-P4GB- DW-4 |
О |
ГО |
> |
о |
го |
> |
A1805RAL-P4GB- DW-4 |
О |
ГО |
> |
о |
го |
> |
A1805RAL-P4GB- DW-4 |
О |
ГО |
> |
о |
го |
> |
A1805RAL-P4GB- DW-4 |
О |
ГО |
> |
о |
го |
> |
A1805RAL-P4GB- DW-4 |
О |
ГО |
> |
о |
W |
> |
-U | ||||||||||
|
НАМИ-35 УХЛ1 |
е я |
в я А) |
НАМИ-35 УХЛ1 |
в я |
в я А |
НАМИ-35 УХЛ1 |
в я |
в я А |
НАМИ-35 УХЛ1 |
в я |
в я А |
се я о А |
се я о А |
се я о А |
в я W |
в я W | |||||||||||||||||||||||||||||
|
1203666 |
ю» |
ю» 00 о |
ю» 00 |
8 |
ю» |
ю» 8 00 |
ю» 00 |
8 |
ю» |
ю» 8 |
ю» 8 |
8 8 |
ю» |
ю» |
ю» Sj |
0 |
ю» |
Г? |
Г? ОО |
ю» |
ю» | ||||||||||||||||||||||||
|
14000 |
14000 |
14000 |
14000 |
7000 | |||||||||||||||||||||||||||||||||||||||||
|
1+ ^О ^О О’- О’- |
1+ ^О ^О О’- О’- |
1+ ^О ^О О’- О’- |
1+ О4- о''- |
1+ $ О'- °" |
<1 | ||||||||||||||||||||||||||||||||||||||||
|
ьн н- О’- О’- |
Н- н- 8 О’- О’- |
Н- н- 8 О’- О’- |
н- О4- о''- |
н- 6'- 6'- |
00 | ||||||||||||||||||||||||||||||||||||||||
Продолжение таблицы 2
|
74 |
73 |
72 |
71 |
70 |
1—‘ | ||||||||||||||||||||||||||||||||||||||||
|
ПС 110/35/6 кВ "Вега" ВЛ-35 кВ КНС5-1 |
ПС 110/35/6 кВ "Вачимская" Тайга-1 |
ПС 110/35/6 кВ "Вачимская" Дожимная 3-1 |
ПС 110/35/6 кВ "Вачимская" ВЛ-35 кВ Тайга-2 |
ПС 110/35/6 кВ "Вачимская" ВЛ-35 кВ Дожимная-3-2 |
ю | ||||||||||||||||||||||||||||||||||||||||
|
Счетчик |
TH |
тт |
Счетчик |
TH |
ТТ |
Счетчик |
TH |
ТТ |
Счетчик |
TH |
ТТ |
Счетчик |
TH |
ТТ | |||||||||||||||||||||||||||||||
|
31857-06 |
Ксч=1 |
KT=0,5S/l |
19813-09 |
5 Я II W |
КТ=0,5 |
26418-08 |
| КТ=0,5 |
31857-06 |
Ксч=1 |
KT=0,5S/l |
912-70 |
Kth=35000J3/100J3 |
КТ=0,5 |
3690-73 |
| КТ=0,5 |
31857-06 |
Ксч=1 |
KT=0,5S/l |
912-70 |
Kth=35000J3/100J3 |
КТ=0,5 |
3690-73 |
| КТ=0,5 |
31857-06 |
Ксч=1 |
KT=0,5S/l |
912-70 |
Kth=35000J3/100J3 |
КТ=0,5 |
3690-73 |
| КТ=0,5 |
31857-06 |
Ксч=1 |
KT=0,5S/l |
912-70 |
Kth=35000J3/100J3 |
КТ=0,5 |
3690-73 |
| КТ=0,5 | ||||||
|
A1805RAL-P4GB- DW-4 |
О |
ГО |
> |
О |
ГО |
> |
A1805RAL-P4GB- DW-4 |
О |
ГО |
> |
О |
ГО |
> |
A1805RAL-P4GB- DW-4 |
О |
ГО |
> |
О |
ГО |
> |
A1805RAL-P4GB- DW-4 |
О |
ГО |
> |
О |
ГО |
> |
A1805RAL-P4GB- DW-4 |
О |
ГО |
> |
О |
ГО |
> |
-U | ||||||||||
|
НАМИ-35 УХЛ1 |
ТФЗМ-35АХЛ1 |
| ТФЗМ-35АХЛ1 |
3HOM-35-65 У1 |
3HOM-35-65 У1 |
3HOM-35-65 У1 |
ТФЗМ-35А-ХЛ1 |
| ТФЗМ-35А-ХЛ1 |
3HOM-35-65 У1 |
3HOM-35-65 У1 |
3HOM-35-65 У1 |
ТФЗМ-35А-ХЛ1 |
| ТФЗМ-35А-ХЛ1 |
3HOM-35-65 У1 |
3HOM-35-65 У1 |
3HOM-35-65 У1 |
ТФЗМ-35А-У1 |
| ТФЗМ-35А-У1 |
3HOM-35-65 У1 |
3HOM-35-65 У1 |
3HOM-35-65 У1 |
ТФЗМ-35А-У1 |
| ТФЗМ-35А-У1 | |||||||||||||||||||||||
|
1208746 |
№ 1167 |
№ 41874 |
| №41872 |
1203667 |
№ 1377893 |
№ 1113134 |
№ 1373486 |
№ 28865 |
| № 51732 |
1203683 |
№ 1377893 |
№ 1113134 |
№ 1373486 |
№ 43169 |
| № 29043 |
120398 |
№ 1175187 |
№ 1341631 |
№ 1281319 |
№ 34588 |
| № 28764 |
1203690 |
№ 1175187 |
№ 1341631 |
№ 1281319 |
№ 28814 |
| № 28830 | ||||||||||||||||||
|
21000 |
21000 |
21000 |
21000 |
21000 | |||||||||||||||||||||||||||||||||||||||||
|
1+ 6''- О'- |
1+ 6''- О'- |
1+ 6''- О'- |
1+ 6''- О'- |
1+ О4- о''- |
<1 | ||||||||||||||||||||||||||||||||||||||||
|
ьн н- 6''- О'- |
Н- н- 6''- О'- |
Н- н- 6''- О'- |
Н- н- 6''- О'- |
н- О4- о''- |
00 | ||||||||||||||||||||||||||||||||||||||||
Продолжение таблицы 2
~-4 to
<o о
|
79 |
78 |
77 |
76 |
75 |
1—‘ | ||||||||||||||||||||||||||||||||||||||||
|
ПС 110/35/6 кВ "Дальняя" ВЛ-35 кВ Куст 156-2 |
ПС 110/35/6 кВ "Дальняя" ВЛ-35 кВ Куст 156-1 |
ПС 110/35/6 кВ "Вега" ВЛ-35 кВ Куст 349-2 |
ПС 110/35/6 кВ "Вега" ВЛ-35 кВ Куст 349-1 |
ПС 110/35/6 кВ "Вега" ВЛ-35 кВ КНС 5-2 |
ю | ||||||||||||||||||||||||||||||||||||||||
|
Счетчик |
TH |
ТТ |
Счетчик |
TH |
ТТ |
Счетчик |
TH |
ТТ |
Счетчик |
TH |
ТТ |
Счетчик |
TH |
ТТ | |||||||||||||||||||||||||||||||
|
31857-06 |
Ксч=1 |
KT=0,5S/l |
912-70 |
Kth=35000J3/100J3 |
КТ=0,5 |
30368-05 |
Ктт=600/5 |
| KT=0,5S |
31857-06 |
Ксч=1 |
KT=0,5S/l |
912-70. |
Kth=35000J3/100J3 |
КТ=0,5 |
30368-05 |
Ктт=600/5 |
| KT=0,5S |
31857-06 |
Ксч=1 |
KT=0,5S/l |
19813-09 |
5 Я II W |
КТ=0,5 |
26418-08 |
| КТ=0,5 |
31857-06 |
Ксч=1 |
KT=0,5S/l |
19813-09 |
5 Я II W |
КТ=0,5 |
26418-08 |
| КТ=0,5 |
31857-06 |
Ксч=1 |
KT=0,5S/l |
19813-09 |
5 Я II W |
КТ=0,5 |
26418-08 |
| КТ=0,5 | ||||
|
A1805RAL-P4GB- DW-4 |
О |
td |
> |
О |
ГО |
> |
A1805RAL-P4GB- DW-4 |
О |
ГО |
> |
О |
ГО |
> |
A1805RAL-P4GB- DW-4 |
О |
ГО |
> |
О |
ГО |
> |
A1805RAL-P4GB- DW-4 |
О |
ГО |
> |
О |
ГО |
> |
A1805RAL-P4GB- DW-4 |
О |
ГО |
> |
О |
ГО |
> |
-U | ||||||||||
|
ЗНОМ-35-65ХЛ1 |
ЗНОМ-35-65ХЛ1 |
ЗНОМ-35-65ХЛ1 |
GIF40.5 |
| GIF40.5 |
3HOM-35-65 У1 |
3HOM-35-65 У1 |
3HOM-35-65 У1 |
GIF40.5 |
| GIF40.5 |
НАМИ-35 УХЛ1 |
ТФЗМ-35АХЛ1 |
| ТФЗМ-35АХЛ1 |
НАМИ-35 УХЛ1 |
ТФЗМ-35АХЛ1 |
| ТФЗМ-35АХЛ1 |
НАМИ-35 УХЛ1 |
ТФЗМ-35АХЛ1 |
| ТФЗМ-35АХЛ1 | |||||||||||||||||||||||||||
|
1203691 |
№ 1355543 |
№ 1372312 |
№ 1355541 |
№ 09/30578103 |
| №09/30578101 |
1203670 |
№ 1341957 |
№ 1342166 |
№ 1341729 |
№ 09/30578102 |
| №09/30578098 |
1208753 |
1111 °Я |
№ 71660 |
| №71806 |
1208747 |
№ 1167 |
№ 40239 |
| №41278 |
1208749 |
1111 |
№ 51759 |
| № 51735 | ||||||||||||||||||||||
|
42000 |
42000 |
21000 |
21000 |
21000 | |||||||||||||||||||||||||||||||||||||||||
|
1+ 6''- О'- |
1+ 6''- О'- |
1+ 6''- О'- |
1+ 6''- О'- |
1+ 6''- О'- |
<1 | ||||||||||||||||||||||||||||||||||||||||
|
ьн н-4^ W 6''- О'- |
ьн н-4^ W 6''- О'- |
ьн н- 6''- О'- |
Н- н- 6''- О'- |
Н- н- О4- о''- |
00 | ||||||||||||||||||||||||||||||||||||||||
Продолжение таблицы 2
|
84 |
83 |
82 |
81 |
80 |
1—‘ | ||||||||||||||||||||||||||||||||||||||||
|
ПС 110/35/6 кВ "Ключевая" ВЛ-35кВ КНС 12-1 |
ПС 110/35/6 кВ "Дорожная" ВЛ-35кВ Дорожная -2 |
ПС 110/35/6 кВ "Дорожная" ВЛ-35кВ Дорожная -1 |
ПС 110/35/6 кВ "Дальняя" ВЛ-35 кВ Орбита-2 |
ПС 110/35/6 кВ "Дальняя" ВЛ-35 кВ Орбита-1 |
ю | ||||||||||||||||||||||||||||||||||||||||
|
Счетчик |
TH |
ТТ |
Счетчик |
TH |
ТТ |
Счетчик |
TH |
ТТ |
Счетчик |
TH |
ТТ |
Счетчик |
TH |
ТТ | |||||||||||||||||||||||||||||||
|
31857-06 |
Ксч=1 |
KT=0,5S/l |
912-70 |
Kth=35000J3/100J3 |
КТ=0,5 |
3690-73 |
| КТ=0,5 |
31857-06 |
Ксч=1 |
KT=0,5S/l |
912-07 |
Kth=35000J3/100J3 |
КТ=0,5 |
3690-73 |
Ктт=200/5 |
| КТ=0,5 |
31857-06 |
Ксч=1 |
KT=0,5S/l |
912-07 |
Kth=35000J3/100J3 |
КТ=0,5 |
8555-81 |
Ктт=200/5 |
| КТ=0,5 |
31857-06 |
Ксч=1 |
KT=0,5S/l |
912-70 |
Kth=35000J3/100J3 |
КТ=0,5 |
3690-73 |
| КТ=0,5 |
31857-06 |
Ксч=1 |
KT=0,5S/l |
912-70. |
Kth=35000J3/100J3 |
КТ=0,5 |
3690-73 |
| КТ=0,5 | ||||
|
A1805RAL-P4GB- DW-4 |
О |
ГО |
> |
О |
ГО |
> |
A1805RAL-P4GB- DW-4 |
О |
ГО |
> |
О |
ГО |
> |
A1805RAL-P4GB- DW-4 |
О |
ГО |
> |
О |
ГО |
> |
A1805RAL-P4GB- DW-4 |
О |
td |
> |
О |
ГО |
> |
A1805RAL-P4GB- DW-4 |
О |
ГО |
> |
О |
ГО |
> |
-U | ||||||||||
|
3HOM-35-65 |
3HOM-35-65 |
3HOM-35-65 |
ТФЗМ-35А-У1 |
| ТФЗМ-35А-У1 |
3HOM-35-65 У1 |
3HOM-35-65 У1 |
3HOM-35-65 У1 |
ТФЗМ-35А-ХЛ1 |
| ТФЗМ-35А-ХЛ1 |
3HOM-35-65 У1 |
3HOM-35-65 У1 |
3HOM-35-65 У1 |
ТФЗМ-35А-ХЛ1 |
| ТФЗМ-35А-ХЛ1 |
ЗНОМ-35-65ХЛ1 |
ЗНОМ-35-65ХЛ1 |
ЗНОМ-35-65ХЛ1 |
ТФЗМ-35А-ХЛ1 |
| ТФЗМ-35А-ХЛ1 |
3HOM-35-65 У1 |
3HOM-35-65 У1 |
3HOM-35-65 У1 |
ТФЗМ-35А-У1 |
| ТФЗМ-35А-У1 | |||||||||||||||||||||
|
1208743 |
№ 1350060 |
№ 1465378 |
№ 1649645 |
№ 71418 |
| №71403 |
1208701 |
№ 1465356 |
№ 1465303 |
№ 1465270 |
№ 32147 |
| №31926 |
1208562 |
№ 1308754 |
№ 1308789 |
№ 1308766 |
№ 31964 |
| № 34267 |
1203699 |
№ 1355543 |
№ 1372312 |
№ 1355541 |
№ 47296 |
| № 47305 |
1203686 |
№ 1341957 |
№ 1342166 |
№ 1341729 |
№ 44585 |
| № 44252 | ||||||||||||||||
|
21000 |
14000 |
14000 |
21000 |
21000 | |||||||||||||||||||||||||||||||||||||||||
|
1+ 6''- О'- |
1+ 6''- О'- |
1+ 6''- О'- |
1+ 6''- О'- |
1+ О4- о''- |
<1 | ||||||||||||||||||||||||||||||||||||||||
|
ьн н- 6''- О'- |
ьн н- 6''- О'- |
ьн н- W ЦА 6''- О'- |
ьн н-4^ W 6''- О'- |
н- О4- 6''- |
ОО | ||||||||||||||||||||||||||||||||||||||||
Продолжение таблицы 2
|
89 |
88 |
87 |
86 |
85 |
1—‘ | ||||||||||||||||||||||||||||||||||||||||
|
ПС 110/35/6 кВ "КНС-1" ВЛ-35кВ Куст 157-2 |
ПС 110/35/6 кВ "КНС-1" ВЛ-35кВ Куст 157-1 |
ПС 110/35/6 кВ "Ключевая" ВЛ-35кВ КНС 9-2 |
ПС 110/35/6 кВ "Ключевая" ВЛ-35кВ КНС 9-1 |
ПС 110/35/6 кВ "Ключевая" ВЛ-35кВ КНС 12-2 |
ю | ||||||||||||||||||||||||||||||||||||||||
|
Счетчик |
TH |
ТТ |
Счетчик |
TH |
ТТ |
Счетчик |
TH |
ТТ |
Счетчик |
TH |
ТТ |
Счетчик |
TH |
ТТ | |||||||||||||||||||||||||||||||
|
31857-06 |
Ксч=1 |
KT=0,5S/l |
912-07 |
Kth=35000J3/100J3 |
КТ=0,5 |
3690-73 |
| КТ=0,5 |
31857-06 |
Ксч=1 |
KT=0,5S/l |
912-07 |
Kth=35000J3/100J3 |
КТ=0,5 |
3690-73 |
| КТ=0,5 |
31857-06 |
Ксч=1 |
KT=0,5S/l |
912-70 |
Kth=35000J3/100J3 |
КТ=0,5 |
8555-81 |
| КТ=0,5 |
31857-06 |
Ксч=1 |
KT=0,5S/l |
912-70 |
Kth=35000J3/100J3 |
КТ=0,5 |
8555-81 |
| КТ=0,5 |
31857-06 |
Ксч=1 |
KT=0,5S/l |
912-70 |
Kth=35000J3/100J3 |
КТ=0,5 |
3690-73 |
| КТ=0,5 | ||||||
|
A1805RAL-P4GB- DW-4 |
О |
ГО |
> |
О |
ГО |
> |
A1805RAL-P4GB- DW-4 |
О |
ГО |
> |
О |
ГО |
> |
A1805RAL-P4GB- DW-4 |
О |
ГО |
> |
О |
ГО |
> |
A1805RAL-P4GB- DW-4 |
О |
ГО |
> |
О |
ГО |
> |
A1805RAL-P4GB- DW-4 |
О |
ГО |
> |
О |
ГО |
> |
-U | ||||||||||
|
3HOM-35 |
3HOM-35 |
3HOM-35 |
ТФЗМ-35А |
| ТФЗМ-35А |
3HOM-35 |
3HOM-35 |
3HOM-35 |
ТФЗМ-35А-У1 |
| ТФЗМ-35А-У1 |
3HOM-35-65 |
3HOM-35-65 |
3HOM-35-65 |
ТФЗМ-35А-ХЛ1 |
| ТФЗМ-35А-ХЛ1 |
3HOM-35-65 |
3HOM-35-65 |
3HOM-35-65 |
ТФЗМ-35А-ХЛ1 |
| ТФЗМ-35А-ХЛ1 |
3HOM-35-65 |
3HOM-35-65 |
3HOM-35-65 |
ТФЗМ-35А-У1 |
| ТФЗМ-35А-У1 | |||||||||||||||||||||
|
1208610 |
№ 1134693 |
№ 1134692 |
№ 1465379 |
№ 71386 |
| №71393 |
1208667 |
№ 1465305 |
№ 1465329 |
№ 1465316 |
№ 22072 |
| №71330 |
1208744 |
№ 1465367 |
№ 1355533 |
№ 1355534 |
№ 71832 |
| №71829 |
1208742 |
№ 1350060 |
№ 1465378 |
№ 1649645 |
№ 71620 |
| №71826 |
1208745 |
№ 1465367 |
№ 1355533 |
№ 1355534 |
№ 71462 |
| №71391 | ||||||||||||||||
|
21000 |
21000 |
21000 |
21000 |
21000 | |||||||||||||||||||||||||||||||||||||||||
|
1+ 6''- О'- |
1+ 6''- О'- |
1+ 6''- О'- |
1+ 6''- О'- |
1+ О4- о''- |
<1 | ||||||||||||||||||||||||||||||||||||||||
|
ьн н- 6''- О'- |
ьн н- 6''- О'- |
ьн н- W ЦА 6''- О'- |
ьн н- W ЦА 6''- О'- |
н- О4- о''- |
00 | ||||||||||||||||||||||||||||||||||||||||
Продолжение таблицы 2
-J to
|
94 |
93 |
92 |
91 |
90 |
1—‘ | ||||||||||||||||||||||||||||||||||||||||
|
ПС 110/35/6 кВ "КНС-10" ВЛ-35кВ КНС 13-1 |
ПС 110/35/6 кВ "КНС-10" ВЛ-35кВ КНС 10-2 |
ПС 110/35/6 кВ "КНС-10" ВЛ-35кВ КНС 10-1 |
ПС 110/35/6 кВ "КНС-1" ВЛ-35кВ Кустовая 1-2 |
ПС 110/35/6 кВ "КНС-1" ВЛ-35кВ Кустовая 1-1 |
ю | ||||||||||||||||||||||||||||||||||||||||
|
Счетчик |
TH |
ТТ |
Счетчик |
TH |
ТТ |
Счетчик |
TH |
ТТ |
Счетчик |
TH |
ТТ |
Счетчик |
TH |
ТТ | |||||||||||||||||||||||||||||||
|
31857-06 |
Ксч=1 |
KT=0,5S/l |
912-70 |
Kth=35000J3/100J3 |
КТ=0,5 |
17552-98 |
Ктт=400/5 |
| КТ=0,5 |
31857-06 |
Ксч=1 |
KT=0,5S/l |
912-70 |
Kth=35000J3/100J3 |
КТ=0,5 |
3689-73 |
Ктт=600/5 |
| KT=0,5S |
31857-06 |
Ксч=1 |
KT=0,5S/l |
912-70 |
Kth=35000J3/100J3 |
КТ=0,5 |
3689-73 |
Ктт=600/5 |
| KT=0,5S |
31857-06 |
Ксч=1 |
KT=0,5S/l |
912-07 |
Kth=35000J3/100J3 |
КТ=0,5 |
3690-73 |
| КТ=0,5 |
31857-06 |
Ксч=1 |
KT=0,5S/l |
912-07 |
Kth=35000J3/100J3 |
КТ=0,5 |
3690-73 |
| КТ=0,5 | |||
|
A1805RAL-P4GB- DW-4 |
О |
ГО |
> |
О |
ГО |
> |
A1805RAL-P4GB- DW-4 |
О |
ГО |
> |
О |
ГО |
> |
A1805RAL-P4GB- DW-4 |
О |
ГО |
> |
О |
ГО |
> |
A1805RAL-P4GB- DW-4 |
О |
ГО |
> |
О |
ГО |
> |
A1805RAL-P4GB- DW-4 |
О |
ГО |
> |
О |
ГО |
> |
-U | ||||||||||
|
3HOM-35-65 |
3HOM-35-65 |
3HOM-35-65 |
ТФЗМ-35А-ХЛ1 |
| ТФЗМ-35А-ХЛ1 |
3HOM-35-65 |
3HOM-35-65 |
3HOM-35-65 |
ТФЗМ-35Б-1ХЛ1 |
| ТФЗМ-35Б-1ХЛ1 |
3HOM-35-65 |
3HOM-35-65 |
3HOM-35-65 |
ТФЗМ-35Б-1ХЛ1 |
| ТФЗМ-35Б-1ХЛ1 |
3HOM-35 |
3HOM-35 |
3HOM-35 |
ТФЗМ-35А |
| ТФЗМ-35А |
3HOM-35 |
3HOM-35 |
3HOM-35 |
ТФЗМ-35А |
| ТФЗМ-35А | |||||||||||||||||||||
|
1208739 |
№ 1314196 |
№ 1338514 |
№ 1293045 |
№ 71687 |
| №71692 |
1208740 |
№ 1292973 |
№ 1465383 |
№ 1465284 |
№ 37141 |
| № 37354 |
1208738 |
№ 1314196 |
№ 1338514 |
№ 1293045 |
№ 37151 |
| №37153 |
1208600 |
№ 1134693 |
№ 1134692 |
№ 1465379 |
№ 71387 |
| №71404 |
1208612 |
№ 1465305 |
№ 1465329 |
№ 1465316 |
№ 71374 |
| №71384 | ||||||||||||||||
|
28000 |
42000 |
42000 |
21000 |
21000 | |||||||||||||||||||||||||||||||||||||||||
|
1+ 6''- О'- |
1+ 6''- О'- |
1+ 6''- О'- |
1+ 6''- О'- |
1+ О4- о''- |
<1 | ||||||||||||||||||||||||||||||||||||||||
|
ьн н- 6''- О'- |
ьн н- 6''- О'- |
ьн н- 6''- О'- |
ьн н- 6''- О'- |
н- О4- о''- |
00 | ||||||||||||||||||||||||||||||||||||||||
Продолжение таблицы 2
|
99 |
98 |
97 |
96 |
95 |
1—‘ | ||||||||||||||||||||||||||||||||||||||||
|
ПС 110/35/6 кВ "КНС-2" ВЛ-35кВ Куст 24-2 |
ПС 110/35/6 кВ "КНС-2" ВЛ-35кВ Куст 24-1 |
ПС 110/35/6 кВ "КНС-2" ВЛ-35кВ Куст 2-2 |
ПС 110/35/6 кВ "КНС-2" ВЛ-35кВ Куст 2-1 |
ПС 110/35/6 кВ "КНС-10" ВЛ-35кВ КНС 13-2 |
ю | ||||||||||||||||||||||||||||||||||||||||
|
Счетчик |
TH |
тт |
Счетчик |
TH |
ТТ |
Счетчик |
TH |
ТТ |
Счетчик |
TH |
ТТ |
Счетчик |
TH |
ТТ | |||||||||||||||||||||||||||||||
|
31857-06 |
Ксч=1 |
KT=0,5S/l |
19813-00 |
5 Я II W |
КТ=0,5 |
3690-73 |
| КТ=0,5 |
31857-06 |
Ксч=1 |
KT=0,5S/l |
912-07 |
Kth=35000J3/100J3 |
КТ=0,5 |
17552-98 |
| КТ=0,5 |
31857-06 |
Ксч=1 |
KT=0,5S/l |
19813-00 |
5 Я II W |
КТ=0,5 |
3690-73 |
| КТ=0,5 |
31857-06 |
Ксч=1 |
KT=0,5S/l |
912-07 |
Kth=35000J3/100J3 |
КТ=0,5 |
3690-73 |
| КТ=0,5 |
31857-06 |
Ксч=1 |
KT=0,5S/l |
912-70 |
Kth=35000J3/100J3 |
КТ=0,5 |
3690-73 |
Ктт=400/5 |
| КТ=0,5 | |||||
|
A1805RAL-P4GB- DW-4 |
О |
ГО |
> |
О |
ГО |
> |
A1805RAL-P4GB- DW-4 |
О |
ГО |
> |
О |
ГО |
> |
A1805RAL-P4GB- DW-4 |
О |
ГО |
> |
О |
ГО |
> |
A1805RAL-P4GB- DW-4 |
О |
ГО |
> |
О |
ГО |
> |
A1805RAL-P4GB- DW-4 |
О |
ГО |
> |
О |
ГО |
> |
-U | ||||||||||
|
НАМИ-35 |
ТФН-35 |
| ТФН-35 |
3HOM-35-65 |
3HOM-35-65 |
3HOM-35-65 |
ТФН-35 |
| ТФН-35 |
НАМИ-35 |
ТФЗМ-35А |
| ТФЗМ-35А |
3HOM-35-65 |
3HOM-35-65 |
3HOM-35-65 |
ТФЗМ-35А |
| ТФЗМ-35А |
3HOM-35-65 |
3HOM-35-65 |
3HOM-35-65 |
ТФЗМ-35А-ХЛ1 |
| ТФЗМ-35А-ХЛ1 | |||||||||||||||||||||||||
|
1208698 |
№308 |
№ 5905 |
| № 5859 |
1208704 |
№ 1372229 |
№ 1339785 |
№ 1360630 |
№ 1575 |
| № 1041 |
1208617 |
№308 |
№ 71341 |
| №71398 |
1208793 |
№ 1372229 |
№ 1339785 |
№ 1360630 |
№71358 |
| №71406 |
1208741 |
№ 1292973 |
№ 1465383 |
№ 1465284 |
№ 71664 |
| №71653 | ||||||||||||||||||||
|
21000 |
21000 |
21000 |
21000 |
28000 | |||||||||||||||||||||||||||||||||||||||||
|
1+ 6''- О'- |
1+ 6''- О'- |
1+ 6''- О'- |
1+ 6''- О'- |
1+ О4- о''- |
<1 | ||||||||||||||||||||||||||||||||||||||||
|
ьн н- 6''- О'- |
Н- н- 6''- О'- |
Н- н-W ЦА 6''- О'- |
Н- н-W ЦА 6''- О'- |
н- О4- о''- |
00 | ||||||||||||||||||||||||||||||||||||||||
Продолжение таблицы 2
-J to
Ui
|
104 |
103 |
102 |
101 |
100 |
1—‘ | ||||||||||||||||||||||||||||||||||||||||
|
ПС 110/35/6 кВ "КНС-6" ВЛ-35кВ ДПС 6-1 |
ПС 110/35/6 кВ "КНС-4" ВЛ-35кВ Кустовая 4-2 |
ПС 110/35/6 кВ "КНС-4" ВЛ-35кВ Кустовая 4-1 |
ПС 110/35/6 кВ "КНС-4" ВЛ-35кВ КСП 2-2 |
ПС 110/35/6 кВ "КНС-4" ВЛ-35кВ КСП 2-1 |
ю | ||||||||||||||||||||||||||||||||||||||||
|
Счетчик |
TH |
ТТ |
Счетчик |
TH |
ТТ |
Счетчик |
TH |
ТТ |
Счетчик |
TH |
ТТ |
Счетчик |
TH |
ТТ | |||||||||||||||||||||||||||||||
|
31857-06 |
Ксч=1 |
KT=0,5S/l |
912-70 |
Kth=35000J3/100J3 |
КТ=0,5 |
26418-08 |
Ктт=400/5 |
| КТ=0,5 |
31857-06 |
Ксч=1 |
KT=0,5S/l |
912-07 |
Kth=35000J3/100J3 |
КТ=0,5 |
3690-73 |
| КТ=0,5 |
31857-06 |
Ксч=1 |
KT=0,5S/l |
912-07 |
Kth=35000J3/100J3 |
КТ=0,5 |
3690-73 |
| КТ=0,5 |
31857-06 |
Ксч=1 |
KT=0,5S/l |
912-07 |
Kth=35000J3/100J3 |
КТ=0,5 |
3690-73 |
| КТ=0,5 |
31857-06 |
Ксч=1 |
KT=0,5S/l |
912-07 |
Kth=35000J3/100J3 |
КТ=0,5 |
3690-73 |
| КТ=0,5 | |||||
|
A1805RAL-P4GB- DW-4 |
О |
td |
> |
О |
ГО |
> |
A1805RAL-P4GB- DW-4 |
О |
ГО |
> |
О |
ГО |
> |
A1805RAL-P4GB- DW-4 |
О |
ГО |
> |
О |
ГО |
> |
A1805RAL-P4GB- DW-4 |
О |
ГО |
> |
О |
ГО |
> |
A1805RAL-P4GB- DW-4 |
О |
ГО |
> |
О |
ГО |
> |
-U | ||||||||||
|
ЗНОМ-35-65ХЛ1 |
ЗНОМ-35-65ХЛ1 |
ЗНОМ-35-65ХЛ1 |
ТФЗМ-35А-ХЛ1 |
| ТФЗМ-35А-ХЛ1 |
3HOM-35-65 |
3HOM-35-65 |
3HOM-35-65 |
ТФЗМ-35А-ХЛ1 |
| ТФЗМ-35А-ХЛ1 |
3HOM-35-65 |
3HOM-35-65 |
3HOM-35-65 |
ТФЗМ-35А-ХЛ1 |
| ТФЗМ-35А-ХЛ1 |
3HOM-35-65 |
3HOM-35-65 |
3HOM-35-65 |
ТФЗМ-35А-ХЛ1 |
| ТФЗМ-35А-ХЛ1 |
3HOM-35-65 |
3HOM-35-65 |
3HOM-35-65 |
ТФЗМ-35А-ХЛ1 |
| ТФЗМ-35А-ХЛ1 | |||||||||||||||||||||
|
1208703 |
№ 1360825 |
№ 1373092 |
№ 1378210 |
№ 71652 |
| №71693 |
1208697 |
№ 1096490 |
№ 1450967 |
№ 1465384 |
№ 71360 |
| №71388 |
1208685 |
№ 1292128 |
№ 1450290 |
№ 1372066 |
№ 71375 |
| №71400 |
1208787 |
№ 1096490 |
№ 1450967 |
№ 1465384 |
№ 71349 |
| №71350 |
1208699 |
№ 1292128 |
№ 1450290 |
№ 1372066 |
№ 71373 |
| №71385 | ||||||||||||||||
|
28000 |
21000 |
21000 |
21000 |
21000 | |||||||||||||||||||||||||||||||||||||||||
|
1+ 6''- О'- |
1+ 6''- О'- |
1+ 6''- О'- |
1+ 6''- О'- |
1+ О4- о''- |
<1 | ||||||||||||||||||||||||||||||||||||||||
|
ьн н- 6''- О'- |
ьн н- 6''- О'- |
ьн н- W ЦА 6''- О'- |
ьн н- W ЦА 6''- О'- |
н- О4- о''- |
00 | ||||||||||||||||||||||||||||||||||||||||
Продолжение таблицы 2
|
109 |
108 |
107 |
106 |
105 |
1—‘ | ||||||||||||||||||||||||||||||||||||||||
|
ПС 110/35/6 кВ "КНС-9" ВЛ-35кВ Куст 9-2 |
ПС 110/35/6 кВ "КНС-9" ВЛ-35кВ Куст 9-1 |
ПС 110/35/6 кВ "КНС-6" ВЛ-35кВ Югра-2 |
ПС 110/35/6 кВ "КНС-6" ВЛ-35кВ Югра-1 |
ПС 110/35/6 кВ "КНС-6" ВЛ-35кВ ДПС 6-2 |
ю | ||||||||||||||||||||||||||||||||||||||||
|
Счетчик |
TH |
тт |
Счетчик |
TH |
ТТ |
Счетчик |
TH |
ТТ |
Счетчик |
TH |
ТТ |
Счетчик |
TH |
ТТ | |||||||||||||||||||||||||||||||
|
31857-06 |
Ксч=1 |
KT=0,5S/l |
19813-00 |
5 Я II W |
КТ=0,5 |
3689-73 |
Ктт=200/5 |
| КТ=0,5 |
31857-06 |
Ксч=1 |
KT=0,5S/l |
19813-00 |
5 я II W |
КТ=0,5 |
3693-73 |
Ктт=200/5 |
| КТ=0,5 |
31857-06 |
Ксч=1 |
KT=0,5S/l |
912-70 |
Kth=35000J3/100J3 |
КТ=0,5 |
26418-08 |
Ктт=200/5 |
| КТ=0,5 |
31857-06 |
Ксч=1 |
KT=0,5S/l |
912-70 |
Kth=35000J3/100J3 |
КТ=0,5 |
26418-08 |
Ктт=200/5 |
| КТ=0,5 |
31857-06 |
Ксч=1 |
KT=0,5S/l |
912-70 |
Kth=35000J3/100J3 |
КТ=0,5 |
26418-08 |
Ктт=400/5 |
| КТ=0,5 | |
|
A1805RAL-P4GB- DW-4 |
О |
ГО |
> |
О |
ГО |
> |
A1805RAL-P4GB- DW-4 |
О |
ГО |
> |
О |
ГО |
> |
A1805RAL-P4GB- DW-4 |
О |
ГО |
> |
О |
ГО |
> |
A1805RAL-P4GB- DW-4 |
О |
td |
> |
О |
ГО |
> |
A1805RAL-P4GB- DW-4 |
О |
ГО |
> |
О |
ГО |
> |
-U | ||||||||||
|
НАМИ-35 |
ТФЗМ-35А |
| ТФЗМ-35А |
НАМИ-35 УХЛ1 |
ТФЗМ-35А |
| ТФЗМ-35А |
3HOM-35-65 |
3HOM-35-65 |
3HOM-35-65 |
ТФЗМ-35А-ХЛ1 |
| ТФЗМ-35А-ХЛ1 |
ЗНОМ-35-65ХЛ1 |
ЗНОМ-35-65ХЛ1 |
ЗНОМ-35-65ХЛ1 |
ТФЗМ-35А-ХЛ1 |
| ТФЗМ-35А-ХЛ1 |
ЗНОМ-35-65ХЛ1 |
ЗНОМ-35-65ХЛ1 |
ЗНОМ-35-65ХЛ1 |
ТФЗМ-35А-ХЛ1 |
| ТФЗМ-35А-ХЛ1 | |||||||||||||||||||||||||
|
1208770 |
№638 |
№21459 |
| №21465 |
1208662 |
ю» о |
№21461 |
| №21739 |
1208725 |
№ 1381868 |
№ 1399765 |
№ 1399641 |
№ 52749 |
| № 52788 |
1208715 |
№ 1360825 |
№ 1373092 |
№ 1378210 |
№ 53524 |
| № 53391 |
1208723 |
№ 1381868 |
№ 1399765 |
№ 1399641 |
№ 71689 |
| №71655 | ||||||||||||||||||||
|
14000 |
14000 |
14000 |
14000 |
28000 | |||||||||||||||||||||||||||||||||||||||||
|
1+ 6''- О'- |
1+ 6''- О'- |
1+ 6''- О'- |
1+ 6''- О'- |
1+ О4- о''- |
<1 | ||||||||||||||||||||||||||||||||||||||||
|
ьн н- 6''- О'- |
Н- н- 6''- О'- |
Н- н- W ЦА 6''- О'- |
Н- н- W ЦА 6''- О'- |
н- О4- о''- |
00 | ||||||||||||||||||||||||||||||||||||||||
Продолжение таблицы 2
|
114 |
113 |
112 |
111 |
ПО |
1—‘ | ||||||||||||||||||||||||||||||||||||||||
|
ПС 110/35/6 кВ "Куст" ВЛ-35кВ Куст 177-1 |
ПС 110/35/6 кВ "Куст" ВЛ-35кВ Куст 13-2 |
ПС 110/35/6 кВ "Куст" ВЛ-35кВ Куст 13-1 |
ПС 110/35/6 кВ "КНС-9" ВЛ-35кВ Поселок -2 |
ПС 110/35/6 кВ "КНС-9" ВЛ-35кВ Поселок -1 |
ю | ||||||||||||||||||||||||||||||||||||||||
|
Счетчик |
TH |
ТТ |
Счетчик |
TH |
ТТ |
Счетчик |
TH |
ТТ |
Счетчик |
TH |
ТТ |
Счетчик |
TH |
ТТ | |||||||||||||||||||||||||||||||
|
31857-06 |
Ксч=1 |
KT=0,5S/l |
912-07 |
Kth=35000J3/100J3 |
КТ=0,5 |
8554-81 |
Ктг=200/5 |
| КТ=0,5 |
31857-06 |
Ксч=1 |
KT=0,5S/l |
912-07 |
Kth=35000J3/100J3 |
КТ=0,5 |
8554-81 |
Ктг=200/5 |
| КТ=0,5 |
31857-06 |
Ксч=1 |
KT=0,5S/l |
912-07 |
Kth=35000J3/100J3 |
КТ=0,5 |
8554-81 |
Ктг=200/5 |
| КТ=0,5 |
31857-06 |
Ксч=1 |
KT=0,5S/l |
19813-00 |
Ктн=35000/100 |
КТ=0,5 |
3693-73 |
Ктг=200/5 |
| КТ=0,5 |
31857-06 |
Ксч=1 |
KT=0,5S/l |
19813-00 |
Ктн=35000/100 |
КТ=0,5 |
3693-73 |
Ктг=200/5 |
| КТ=0,5 | |
|
A1805RAL-P4GB- DW-4 |
О |
ГО |
> |
О |
ГО |
> |
A1805RAL-P4GB- DW-4 |
О |
ГО |
> |
О |
ГО |
> |
A1805RAL-P4GB- DW-4 |
О |
ГО |
> |
О |
ГО |
> |
A1805RALQ-P4GB- DW-4 |
О |
ГО |
> |
О |
ГО |
> |
A1805RALQ-P4GB- DW-4 |
О |
ГО |
> |
О |
ГО |
> |
-U | ||||||||||
|
3HOM-35-65 |
3HOM-35-65 |
3HOM-35-65 |
ТФЗМ-35А |
| ТФЗМ-35А |
3HOM-35-65 |
3HOM-35-65 |
3HOM-35-65 |
ТФЗМ-35А |
| ТФЗМ-35А |
3HOM-35-65 |
3HOM-35-65 |
3HOM-35-65 |
ТФЗМ-35А |
| ТФЗМ-35А |
НАМИ-35 |
ТФЗМ-35А |
| ТФЗМ-35А |
НАМИ-35 УХЛ1 |
ТФЗМ-35А |
| ТФЗМ-35А | |||||||||||||||||||||||||
|
1208661 |
№ 1377798 |
№ 1370195 |
№ 1371077 |
№ 47457 |
| № 48038 |
1208791 |
№ 1377798 |
№ 1376961 |
№ 1450234 |
№ 47482 |
| № 47456 |
1208574 |
№ 1371114 |
№ 1370195 |
№ 1371077 |
№ 46658 |
| № 46521 |
1177372 |
№ 638 |
№ 21731 |
| №21726 |
1177360 |
Г? о |
№ 21459 |
| №21730 | ||||||||||||||||||||
|
14000 |
14000 |
14000 |
14000 |
14000 | |||||||||||||||||||||||||||||||||||||||||
|
1+ 6''- О'- |
1+ 6''- О'- |
1+ 6''- О'- |
1+ 6''- О'- |
1+ О4- о''- |
<1 | ||||||||||||||||||||||||||||||||||||||||
|
ьн н- 6''- О'- |
ьн н- 6''- О'- |
ьн н- W ЦА 6''- О'- |
ьн н- W ЦА 6''- О'- |
н- О4- о''- |
00 | ||||||||||||||||||||||||||||||||||||||||
Продолжение таблицы 2
-J N) 00
|
119 |
118 |
117 |
116 |
115 |
।—‘ | ||||||||||||||||||||||||||||||||||||||||
|
ПС 110/35/6 кВ "Лянторская" ВЛ-35кВ Юрты-2 |
ПС 110/35/6 кВ "Лянторская" ВЛ-35кВ Юрты-1 |
ПС 110/35/6 кВ "Лянторская" ВЛ-35кВ Югра-2 |
ПС 110/35/6 кВ "Лянторская" ВЛ-35кВ Югра-1 |
ПС 110/35/6 кВ "Куст" ВЛ-35кВ Куст 177-2 |
Ю | ||||||||||||||||||||||||||||||||||||||||
|
Счетчик |
тн |
тт |
Счетчик |
тн |
тт |
Счетчик |
тн |
тт |
Счетчик |
тн |
тт |
Счетчик |
тн |
тт | |||||||||||||||||||||||||||||||
|
31857-06 |
£ л Д |
Я |
00 W |
5 я II W |
Я |
00 |
Я |
00 |
£ Я Д |
Я |
00 W |
5 я II W |
Я |
00 |
Я |
00 |
£ Я Д |
Я |
00 W |
5 я II W |
Я |
00 |
Я |
00 |
£ Я Д |
Я |
00 W |
5 я II W |
Я |
00 |
Я |
00 |
£ Я Д |
Я |
о |
Kth=35000J3/100J3 |
я |
00 00 |
1 |
я | |||||
|
A1805RAL-P4GB- DW-4 |
О |
ГО |
> |
О |
ГО |
> |
A1805RAL-P4GB- DW-4 |
О |
ГО |
> |
О |
ГО |
> |
A1805RAL-P4GB- DW-4 |
О |
ГО |
> |
О |
ГО |
> |
A1805RAL-P4GB- DW-4 |
О |
ГО |
> |
О |
ГО |
> |
A1805RAL-P4GB- DW-4 |
О |
ГО |
> |
О |
го |
> |
-U | ||||||||||
|
НАМИ-35 УХЛ1 |
ТФЗМ-35АХЛ1 |
| ТФЗМ-35АХЛ1 |
НАМИ-35 УХЛ1 |
ТФЗМ-35АХЛ1 |
| ТФЗМ-35АХЛ1 |
НАМИ-35 УХЛ1 |
ТФЗМ-35АХЛ1 |
| ТФЗМ-35АХЛ1 |
НАМИ-35 УХЛ1 |
ТФЗМ-35АХЛ1 |
| ТФЗМ-35АХЛ1 |
се я о А) |
се я о А |
се я о А |
в се > |
в се А > | |||||||||||||||||||||||||||||
|
1208690 |
ю» |
ю» со |
ю» |
|о |
ю» 00 |
ю» |
ю» |
|о |
ю» |
ю» 00 00 |
ю» |
|о |
ю» 00 |
Г? |
Г? |
|о |
ю» CS 00 |
Г? |
Г? U0 |
ю» W 00 |
ю» <Х) | ||||||||||||||||||||||||
|
21000 |
21000 |
21000 |
21000 |
14000 | |||||||||||||||||||||||||||||||||||||||||
|
1+ 6''- О'- |
1+ 6''- О'- |
1+ 6''- О'- |
1+ 6''- О'- |
1+ О4- о''- |
<1 | ||||||||||||||||||||||||||||||||||||||||
|
ьн н- 6''- О'- |
Н- н- 6''- О'- |
Н- н- 6''- О'- |
Н- н- W ЦА О4- о''- |
н- О4- о''- |
00 | ||||||||||||||||||||||||||||||||||||||||
Продолжение таблицы 2
|
124 |
123 |
122 |
121 |
120 |
1—‘ | ||||||||||||||||||||||||||||||||||||||||
|
ПС 110/35/6 кВ "Родниковая" ВЛ-35кВДНС2-1 |
ПС 110/35/6 кВ "Маслиховская" ВЛ-35кВ Назаргалеевская-2 |
ПС 110/35/6 кВ "Маслиховская" ВЛ-35кВ Назаргалеевская-1 |
ПС 110/35/6 кВ "Маслиховская" ВЛ-35кВ Куст 354-2 |
ПС 110/35/6 кВ "Маслиховская" ВЛ-35кВ Куст 354-1 |
ю | ||||||||||||||||||||||||||||||||||||||||
|
Счетчик |
TH |
ТТ |
Счетчик |
TH |
ТТ |
Счетчик |
TH |
ТТ |
Счетчик |
TH |
ТТ |
Счетчик |
TH |
ТТ | |||||||||||||||||||||||||||||||
|
31857-06 |
Ксч=1 |
KT=0,5S/l |
912-70 |
Kth=35000J3/100J3 |
КТ=0,5 |
8555-81 |
Ктт=600/5 |
| КТ=0,5 |
31857-06 |
Ксч=1 |
KT=0,5S/l |
912-70 |
Kth=35000J3/100J3 |
КТ=0,5 |
8555-81 |
Ктг=200/5 |
| КТ=0,5 |
31857-06 |
Ксч=1 |
KT=0,5S/l |
912-70 |
Kth=35000J3/100J3 |
КТ=0,5 |
3690-73 |
Ктг=200/5 |
| КТ=0,5 |
31857-06 |
Ксч=1 |
KT=0,5S/l |
912-70 |
Kth=35000J3/100J3 |
КТ=0,5 |
8555-81 |
Я 3 II W |
| КТ=0,5 |
31857-06 |
Ксч=1 |
KT=0,5S/l |
912-70 |
Kth=35000J3/100J3 |
КТ=0,5 |
8555-81 |
Я 3 II W |
| КТ=0,5 | |
|
A1805RALQ-P4GB- DW-4 |
О |
td |
> |
О |
ГО |
> |
A1805RAL-P4GB- DW-4 |
О |
ГО |
> |
О |
ГО |
> |
A1805RAL-P4GB- DW-4 |
О |
ГО |
> |
О |
ГО |
> |
A1805RAL-P4GB- DW-4 |
О |
ГО |
> |
О |
ГО |
> |
A1805RAL-P4GB- DW-4 |
О |
ГО |
> |
О |
ГО |
> |
-U | ||||||||||
|
ЗНОМ-35-65У1 |
ЗНОМ-35-65У1 |
ЗНОМ-35-65У1 |
ТФЗМ-35А-ХЛ1 |
| ТФЗМ-35А-ХЛ1 |
3HOM-35-65 |
3HOM-35-65 |
3HOM-35-65 |
ТФЗМ-35А |
| ТФЗМ-35А |
3HOM-35-65 |
3HOM-35-65 |
3HOM-35-65 |
ТФН-35М |
| ТФН-35М |
3HOM-35-65 |
3HOM-35-65 |
3HOM-35-65 |
ТФЗМ-35А |
| ТФЗМ-35А |
3HOM-35-65 |
3HOM-35-65 |
3HOM-35-65 |
ТФЗМ-35А |
| ТФЗМ-35А | |||||||||||||||||||||
|
1177357 |
№ 1291013 |
№ 1463688 |
№ 1463689 |
№ 70740 |
| №70720 |
1208669 |
№ 1309811 |
№ 1279975 |
№ 1465339 |
№ 23980 |
| № 23989 |
1208558 |
№ 1281421 |
№ 1281021 |
№ 1281039 |
№ 20458 |
| № 19829 |
1208559 |
№ 1309811 |
№ 1279975 |
№ 1465339 |
№ 51748 |
| № 67568 |
1208557 |
№ 1281421 |
№ 1281021 |
№ 1281039 |
№ 48785 |
| № 48814 | ||||||||||||||||
|
42000 |
14000 |
14000 |
21000 |
21000 | |||||||||||||||||||||||||||||||||||||||||
|
1+ 6''- О'- |
1+ 6''- О'- |
1+ 6''- О'- |
1+ 6''- О'- |
1+ О4- о''- |
<1 | ||||||||||||||||||||||||||||||||||||||||
|
ьн н- 6''- О'- |
ьн н- 6''- О'- |
ьн н- W ЦА 6''- О'- |
ьн н- W ЦА 6''- О'- |
н- О4- о''- |
00 | ||||||||||||||||||||||||||||||||||||||||
Продолжение таблицы 2
|
129 |
128 |
127 |
126 |
125 |
1—‘ | ||||||||||||||||||||||||||||||||||||||||
|
ПС 110/35/6 кВ "Савуйская" ВЛ-35кВКуст 325-2 |
ПС 110/35/6 кВ "Савуйская" ВЛ-35кВ Куст 325-1 |
ПС 110/35/6 кВ "Родниковая" ВЛ-35кВ ДПС 3-2 |
ПС 110/35/6 кВ "Родниковая" ВЛ-35кВ ДПС 3-1 |
ПС 110/35/6 кВ "Родниковая" ВЛ-35кВ ДПС 2-2 |
ю | ||||||||||||||||||||||||||||||||||||||||
|
Счетчик |
TH |
ТТ |
Счетчик |
TH |
ТТ |
Счетчик |
TH |
ТТ |
Счетчик |
TH |
ТТ |
Счетчик |
TH |
ТТ | |||||||||||||||||||||||||||||||
|
31857-06 |
Ксч=1 |
KT=0,5S/l |
912-70 |
Kth=35000J3/100J3 |
КТ=0,5 |
3689-73 |
Я 3 II W |
| КТ=0,5 |
31857-06 |
Ксч=1 |
KT=0,5S/l |
912-70 |
Kth=35000J3/100J3 |
КТ=0,5 |
3690-73 |
я 3 II W |
| КТ=0,5 |
31857-06 |
Ксч=1 |
KT=0,5S/l |
912-70 |
Kth=35000J3/100J3 |
КТ=0,5 |
3689-73 |
Ктг=200/5 |
| КТ=0,5 |
31857-06 |
Ксч=1 |
KT=0,5S/l |
912-70 |
Kth=35000J3/100J3 |
КТ=0,5 |
8555-81 |
Ктг=200/5 |
| КТ=0,5 |
31857-06 |
Ксч=1 |
KT=0,5S/l |
912-70 |
Kth=35000J3/100J3 |
КТ=0,5 |
8555-81 |
Ктг=200/5 |
| КТ=0,5 | |
|
A1805RAL-P4GB- DW-4 |
О |
ГО |
> |
О |
ГО |
> |
A1805RAL-P4GB- DW-4 |
О |
ГО |
> |
О |
ГО |
> |
A1805RALQ-P4GB- DW-4 |
О |
td |
> |
О |
ГО |
> |
A1805RALQ-P4GB- DW-4 |
О |
ГО |
> |
О |
ГО |
> |
A1805RALQ-P4GB- DW-4 |
О |
ГО |
> |
О |
ГО |
> |
-U | ||||||||||
|
3HOM-35-65 |
3HOM-35-65 |
3HOM-35-65 |
ТФЗМ-35Б-1У1 |
| ТФЗМ-35Б-1У1 |
3HOM-35-65 |
3HOM-35-65 |
3HOM-35-65 |
ТФН-35М |
| ТФН-35М |
ЗНОМ-35-65У1 |
ЗНОМ-35-65У1 |
ЗНОМ-35-65У1 |
ТФЗМ-35Б-1У1 |
| ТФЗМ-35Б-1У1 |
ЗНОМ-35-65У1 |
ЗНОМ-35-65У1 |
ЗНОМ-35-65У1 |
ТФЗМ-35А-ХЛ1 |
| ТФЗМ-35А-ХЛ1 |
ЗНОМ-35-65У1 |
ЗНОМ-35-65У1 |
ЗНОМ-35-65У1 |
ТФЗМ-35А-ХЛ1 |
| ТФЗМ-35А-ХЛ1 | |||||||||||||||||||||
|
1209931 |
№ 1126975 |
№ 1180515 |
№ 1372311 |
№ 29095 |
| №29084 |
1209918 |
№ 1191529 |
№ 1378222 |
№ 1191483 |
ю» о |
| № 5278 |
1177356 |
№ 1273771 |
№ 1285634 |
№ 1280817 |
№ 29605 |
| №29599 |
1177348 |
№ 1291013 |
№ 1463688 |
№ 1463689 |
№ 40088 |
| №40986 |
1177364 |
№ 1273771 |
№ 1285634 |
№ 1280817 |
№40511 |
| №40411 | ||||||||||||||||
|
21000 |
21000 |
14000 |
14000 |
14000 | |||||||||||||||||||||||||||||||||||||||||
|
1+ 6''- О'- |
1+ 6''- О'- |
1+ 6''- О'- |
1+ 6''- О'- |
1+ О4- о''- |
<1 | ||||||||||||||||||||||||||||||||||||||||
|
ьн н- 6''- О'- |
Н- н- 6''- О'- |
Н- н- W ЦА 6''- О'- |
Н- н- W ЦА 6''- О'- |
н- О4- о''- |
00 | ||||||||||||||||||||||||||||||||||||||||
Продолжение таблицы 2
|
134 |
133 |
132 |
131 |
130 |
1—‘ | ||||||||||||||||||||||||||||||||||||||||
|
ПС 110/35/6 кВ "Солкино" Ввод 35-1Т |
ПС 110/35/6 кВ "Сова" ВЛ-35 кВ Сарымская-2 |
ПС 110/35/6 кВ "Сова" ВЛ-35 кВ Сарымская-1 |
ПС 110/35/6 кВ "Сова" ВЛ-35 кВ Куст 325-2 |
ПС 110/35/6 кВ "Сова" ВЛ-35 кВ Куст 325-1 |
ю | ||||||||||||||||||||||||||||||||||||||||
|
Счетчик |
TH |
тт |
Счетчик |
TH |
ТТ |
Счетчик |
TH |
ТТ |
Счетчик |
TH |
ТТ |
Счетчик |
TH |
ТТ | |||||||||||||||||||||||||||||||
|
31857-06 |
Ксч=1 |
KT=0,5S/l |
19813-00 |
Ктн=35000/100 |
КТ=0,5 |
26417-04 |
Ктт=600/5 |
| KT=0,5S |
31857-06 |
Ксч=1 |
KT=0,5S/l |
19813-09 |
Ктн=35000/100 |
КТ=0,5 |
8555-81 |
Ктг=200/5 |
| КТ=0,5 |
31857-06 |
Ксч=1 |
KT=0,5S/l |
19813-09 |
Ктн=35000/100 |
КТ=0,5 |
8555-81 |
Ктг=200/5 |
| КТ=0,5 |
31857-06 |
Ксч=1 |
KT=0,5S/l |
19813-09 |
Ктн=35000/100 |
КТ=0,5 |
8555-81 |
Ктг=200/5 |
| КТ=0,5 |
31857-06 |
Ксч=1 |
KT=0,5S/l |
19813-09 |
Ктн=35000/100 |
КТ=0,5 |
8555-81 |
Ктг=200/5 |
| КТ=0,5 | |
|
A1805RAL-P4GB- DW-4 |
О |
ГО |
> |
О |
ГО |
> |
A1805RAL-P4GB- DW-4 |
О |
ГО |
> |
О |
ГО |
> |
A1805RAL-P4GB- DW-4 |
О |
ГО |
> |
О |
ГО |
> |
A1805RAL-P4GB- DW-4 |
О |
ГО |
> |
О |
ГО |
> |
A1805RAL-P4GB- DW-4 |
О |
ГО |
> |
О |
ГО |
> |
-U | ||||||||||
|
НАМИ-35 УХЛ1 |
ТФЗМ-35Б-1ХЛ1 |
| ТФЗМ-35Б-1ХЛ1 |
НАМИ-35 УХЛ1 |
ТФЗМ-35А-ХЛ1 |
| ТФЗМ-35А-ХЛ1 |
НАМИ-35 УХЛ1 |
ТФЗМ-35А-ХЛ1 |
| ТФЗМ-35А-ХЛ1 |
НАМИ-35 УХЛ1 |
ТФЗМ-35А-ХЛ1 |
| ТФЗМ-35А-ХЛ1 |
НАМИ-35 УХЛ1 |
ТФЗМ-35А-ХЛ1 |
| ТФЗМ-35А-ХЛ1 | |||||||||||||||||||||||||||||||
|
1203668 |
№ 1150 |
№ 37350 |
| № 37356 |
1209929 |
№909 |
№ 40398 |
| №40785 |
1209924 |
№ 1070 |
№ 41020 |
| №40973 |
1209921 |
№909 |
№ 41006 |
| №40488 |
1208708 |
№ 1070 |
№ 41652 |
| №40478 | ||||||||||||||||||||||||||
|
42000 |
14000 |
14000 |
14000 |
14000 | |||||||||||||||||||||||||||||||||||||||||
|
1+ 6''- О'- |
1+ 6''- О'- |
1+ 6''- О'- |
1+ 6''- О'- |
1+ О4- о''- |
<1 | ||||||||||||||||||||||||||||||||||||||||
|
ьн н- 6''- О'- |
ьн н- 6''- О'- |
ьн н- 6''- О'- |
ьн н- W ЦА 6''- О'- |
н- О4- о''- |
00 | ||||||||||||||||||||||||||||||||||||||||
Продолжение таблицы 2
|
139 |
138 |
137 |
136 |
135 |
1—‘ | ||||||||||||||||||||||||||||||||||||||||
|
ПС 110/35/6 кВ "Технолог" ВЛ-35 кВ Куст-23-2 |
ПС 110/35/6 кВ "Технолог" ВЛ-35 кВ Куст-23-1 |
ПС 110/35/6 кВ "Технолог" ВЛ-35 кВ КНС-4-2 |
ПС 110/35/6 кВ "Технолог" ВЛ-35 кВ КНС-4-1 |
ПС 110/35/6 кВ "Солкино" Ввод 35-2Т |
ю | ||||||||||||||||||||||||||||||||||||||||
|
Счетчик |
TH |
тт |
Счетчик |
TH |
ТТ |
Счетчик |
TH |
ТТ |
Счетчик |
TH |
ТТ |
Счетчик |
TH |
ТТ | |||||||||||||||||||||||||||||||
|
31857-06 |
Ксч=1 |
KT=0,5S/l |
19813-00 |
Ктн=35000/100 |
КТ=0,5 |
3690-73 |
Ктг=200/5 |
| КТ=0,5 |
31857-06 |
Ксч=1 |
KT=0,5S/l |
19813-00 |
Ктн=35000/100 |
КТ=0,5 |
3690-73 |
Я 3 II W |
| КТ=0,5 |
31857-06 |
Ксч=1 |
KT=0,5S/l |
19813-00 |
Ктн=35000/100 |
КТ=0,5 |
26417-04 |
Я 3 II W |
| КТ=0,5 |
31857-06 |
Ксч=1 |
KT=0,5S/l |
19813-00 |
Ктн=35000/100 |
КТ=0,5 |
3690-73 |
Я 3 II W |
| КТ=0,5 |
31857-06 |
Ксч=1 |
KT=0,5S/l |
19813-00 |
Ктн=35000/100 |
КТ=0,5 |
26417-04 |
Ктг=600/5 |
| KT=0,5S | |
|
A1805RAL-P4GB- DW-4 |
О |
ГО |
> |
О |
ГО |
> |
A1805RAL-P4GB- DW-4 |
О |
ГО |
> |
О |
ГО |
> |
A1805RAL-P4GB- DW-4 |
О |
ГО |
> |
О |
ГО |
> |
A1805RAL-P4GB- DW-4 |
О |
ГО |
> |
О |
ГО |
> |
A1805RAL-P4GB- DW-4 |
О |
ГО |
> |
О |
ГО |
> |
-U | ||||||||||
|
НАМИ-35 УХЛ1 |
ТФН-35М |
| ТФН-35М |
НАМИ-35 УХЛ1 |
ТФЗМ-35Б-1У1 |
| ТФЗМ-35Б-1У1 |
НАМИ-35 УХЛ1 |
ТФЗМ-35 |
| ТФЗМ-35 |
НАМИ-35 УХЛ1 |
ТФЗМ-35А-ХЛ1 |
| ТФЗМ-35А-ХЛ1 |
НАМИ-35 УХЛ1 |
ТФЗМ-35Б-1ХЛ1 |
| ТФЗМ-35Б-1ХЛ1 | |||||||||||||||||||||||||||||||
|
1208781 |
№ 857 |
№ 12593 |
| № 18554 |
1208653 |
№705 |
№ 29635 |
| №29607 |
1208548 |
№ 857 |
№ 29595 |
| № 29593 |
1208712 |
№705 |
№ 70684 |
| №70699 |
1203678 |
№ 1163 |
№ 37140 |
| №37365 | ||||||||||||||||||||||||||
|
14000 |
21000 |
21000 |
21000 |
42000 | |||||||||||||||||||||||||||||||||||||||||
|
1+ 6''- О'- |
1+ 6''- О'- |
1+ 6''- О'- |
1+ 6''- О'- |
1+ О4- о''- |
<1 | ||||||||||||||||||||||||||||||||||||||||
|
ьн н- 6''- О'- |
ьн н- 6''- О'- |
Н- н-W ЦА 6''- О'- |
Н- н-W ЦА 6''- О'- |
н- О4- 6''- |
ОО | ||||||||||||||||||||||||||||||||||||||||
Продолжение таблицы 2
|
144 |
143 |
142 |
141 |
140 |
1—‘ | ||||||||||||||||||||||||||||||||||||||||
|
ПС 110/35/6 кВ "Элегаз" ВЛ-35 кВ Еловая-1 |
ПС 110/35/6 кВ "Элегаз" ВЛ-35 кВ Восточная-2 |
ПС 110/35/6 кВ "Элегаз" ВЛ-35 кВ Восточная-1 |
ПС 110/35/6 кВ "Федоровская" В-35 2Т |
ПС 110/35/6 кВ "Федоровская" В-35 1Т |
ю | ||||||||||||||||||||||||||||||||||||||||
|
Счетчик |
TH |
тт |
Счетчик |
TH |
ТТ |
Счетчик |
TH |
ТТ |
Счетчик |
TH |
ТТ |
Счетчик |
TH |
ТТ | |||||||||||||||||||||||||||||||
|
31857-06 |
Ксч=1 |
KT=0,5S/l |
19813-00 |
5 я II W |
КТ=0,5 |
3690-73 |
| КТ=0,5 |
31857-06 |
Ксч=1 |
KT=0,5S/l |
19813-00 |
5 Я II W |
КТ=0,5 |
3690-73 |
Ктт=200/5 |
| КТ=0,5 |
31857-06 |
Ксч=1 |
KT=0,5S/l |
19813-00 |
5 я II W |
КТ=0,5 |
3690-73 |
Ктт=200/5 |
| КТ=0,5 |
31857-06 |
Ксч=1 |
KT=0,5S/l |
912-70 |
Kth=35000J3/100J3 |
КТ=0,5 |
3689-73 |
Ктт=600/5 |
| КТ=0,5 |
31857-06 |
Ксч=1 |
KT=0,5S/l |
912-70 |
Kth=35000J3/100J3 |
КТ=0,5 |
3689-73 |
Ктт=600/5 |
| КТ=0,5 | ||
|
A1805RAL-P4GB- DW-4 |
О |
ГО |
> |
О |
ГО |
> |
A1805RAL-P4GB- DW-4 |
О |
ГО |
> |
О |
ГО |
> |
A1805RAL-P4GB- DW-4 |
О |
ГО |
> |
О |
ГО |
> |
A1805RAL-P4GB- DW-4 |
О |
ГО |
> |
О |
ГО |
> |
A1805RAL-P4GB- DW-4 |
О |
td |
> |
О |
ГО |
> |
-U | ||||||||||
|
НАМИ-35 |
ТФЗМ-35А-У1 |
| ТФЗМ-35А-У1 |
НАМИ-35 |
ТФЗМ-35Б |
| ТФЗМ-35Б |
НАМИ-35 |
ТФЗМ-35А |
| ТФЗМ-35А |
3HOM-35-65 |
3HOM-35-65 |
3HOM-35-65 |
ТФЗМ-35Б-1У1 |
| ТФЗМ-35Б-1У1 |
ЗНОМ-35-65У1 |
ЗНОМ-35-65У1 |
ЗНОМ-35-65У1 |
ТФЗМ-35Б-1У1 |
| ТФЗМ-35Б-1У1 | |||||||||||||||||||||||||||
|
1208580 |
ю» о |
№ 51756 |
| № 51764 |
1208700 |
№266 |
№ 29086 |
| №5816 |
1208560 |
ю» о |
№ 41648 |
| №41645 |
1208650 |
№ 1377893 |
№ 1157349 |
№ 1169329 |
№ 28473 |
| № 28475 |
1208686 |
№ 1283112 |
№ 1286132 |
№ 123 |
№ 29660 |
| № 28509 | ||||||||||||||||||||||
|
21000 |
14000 |
14000 |
42000 |
42000 | |||||||||||||||||||||||||||||||||||||||||
|
1+ 6''- О'- |
1+ 6''- О'- |
1+ 6''- О'- |
1+ 6''- О'- |
1+ О4- о''- |
<1 | ||||||||||||||||||||||||||||||||||||||||
|
ьн н- 6''- О'- |
Н- н- 6''- О'- |
Н- н- W ЦА 6''- О'- |
Н- н- W ЦА 6''- О'- |
н- О4- о''- |
00 | ||||||||||||||||||||||||||||||||||||||||
Продолжение таблицы 2
|
149 |
148 |
147 |
146 |
145 |
1—‘ | ||||||||||||||||||||||||||||||||||||||||
|
ПС 110/35/6 кВ "Яун-Лор" ВЛ-35 кВ Кустовая-2-2 |
ПС 110/35/6 кВ "Яун-Лор" ВЛ-35 кВ Кустовая-2-1 |
ПС 110/35/6 кВ "Яун-Лор" ВЛ-35 кВ Куст-421-2 |
ПС 110/35/6 кВ "Яун-Лор" ВЛ-35 кВ Куст-421-1 |
ПС 110/35/6 кВ "Элегаз" ВЛ-35 кВ Еловая-2 |
ю | ||||||||||||||||||||||||||||||||||||||||
|
Счетчик |
TH |
ТТ |
Счетчик |
TH |
ТТ |
Счетчик |
TH |
ТТ |
Счетчик |
TH |
ТТ |
Счетчик |
TH |
ТТ | |||||||||||||||||||||||||||||||
|
31857-06 |
Ксч=1 |
KT=0,5S/l |
912-07 |
Kth=35000J3/100J3 |
КТ=0,5 |
3690-73. |
| КТ=0,5 |
31857-06 |
Ксч=1 |
KT=0,5S/l |
912-07 |
Kth=35000J3/100J3 |
КТ=0,5 |
8555-81 |
| КТ=0,5 |
31857-06 |
Ксч=1 |
KT=0,5S/l |
912-07 |
Kth=35000J3/100J3 |
КТ=0,5 |
8555-81 |
| КТ=0,5 |
31857-06 |
Ксч=1 |
KT=0,5S/l |
912-07 |
Kth=35000J3/100J3 |
КТ=0,5 |
8555-81 |
| КТ=0,5 |
31857-06 |
Ксч=1 |
KT=0,5S/l |
19813-00 |
5 Я II W |
КТ=0,5 |
30368-05 |
| KT=0,5S | ||||||
|
A1805RAL-P4GB- DW-4 |
О |
ГО |
> |
О |
ГО |
> |
A1805RAL-P4GB- DW-4 |
О |
ГО |
> |
О |
ГО |
> |
A1805RAL-P4GB- DW-4 |
О |
ГО |
> |
О |
ГО |
> |
A1805RAL-P4GB- DW-4 |
О |
ГО |
> |
О |
ГО |
> |
A1805RAL-P4GB- DW-4 |
О |
ГО |
> |
О |
ГО |
> |
-U | ||||||||||
|
3HOM-35-65 |
3HOM-35-65 |
3HOM-35-65 |
ТФН-35М |
| ТФН-35М |
3HOM-35-65 |
3HOM-35-65 |
3HOM-35-65 |
ТФЗМ-35А-ХЛ1 |
| ТФЗМ-35А-ХЛ1 |
3HOM-35-65 |
3HOM-35-65 |
3HOM-35-65 |
ТФЗМ-35А-ХЛ1 |
| ТФЗМ-35А-ХЛ1 |
3HOM-35-65 |
3HOM-35-65 |
3HOM-35-65 |
ТФЗМ-35А-ХЛ1 |
| ТФЗМ-35А-ХЛ1 |
НАМИ-35 |
GIF 40.5 |
| GIF 40.5 | |||||||||||||||||||||||
|
1208556 |
№ 1359171 |
№ 1089302 |
№ 1186476 |
№ 11997 |
| № 11975 |
1208568 |
№ 1181067 |
№ 1372285 |
№ 1186135 |
№ 48475 |
| № 49533 |
1208713 |
№ 1359171 |
№ 1089302 |
№ 1186476 |
№ 70706 |
| №70705 |
№01208572 |
№ 1181067 |
№ 1372285 |
№ 1186135 |
№ 70689 |
| №70703 |
1208802 |
№266 |
№30618194 |
| №30618195 | ||||||||||||||||||
|
21000 |
21000 |
21000 |
21000 |
21000 | |||||||||||||||||||||||||||||||||||||||||
|
1+ 6''- О'- |
1+ 6''- О'- |
1+ 6''- О'- |
1+ 6''- О'- |
1+ О4- о''- |
<1 | ||||||||||||||||||||||||||||||||||||||||
|
ьн н- 6''- О'- |
ьн н- 6''- О'- |
ьн н- W ЦА 6''- О'- |
ьн н- 6''- О'- |
н- О4- 6''- |
00 | ||||||||||||||||||||||||||||||||||||||||
Продолжение таблицы 2
|
154 |
153 |
152 |
151 |
150 |
1—‘ | ||||||||||||||||||||||||||||||||||||||||
|
ПС 110/35/6кВ "Транспортная" ВЛ-35кВКНС-8-1 |
ПС 110/35/6кВ "Транспортная" ВЛ-35кВ КНС-20-2 |
ПС 110/35/6кВ "Транспортная" ВЛ-35кВ КНС-20-1 |
ПС 110/35/6кВ "Рогожниковская" ВЛ-35кВ Рогожниковская-2 |
ПС 110/35/6кВ "Рогожниковская" ВЛ-35кВ Рогожниковская-1 |
ю | ||||||||||||||||||||||||||||||||||||||||
|
Счетчик |
TH |
тт |
Счетчик |
TH |
ТТ |
Счетчик |
TH |
ТТ |
Счетчик |
TH |
ТТ |
Счетчик |
TH |
ТТ | |||||||||||||||||||||||||||||||
|
31857-06 |
Ксч=1 |
KT=0,5S/l |
19813-00 |
Ктн=35000/100 |
КТ=0,5 |
13158-92 |
Ктг=600/5 |
| КТ=0,2 |
31857-06 |
Ксч=1 |
KT=0,5S/l |
19813-00 |
Ктн=35000/100 |
КТ=0,5 |
13158-92 |
Ктг=600/5 |
| КТ=0,2 |
31857-06 |
Ксч=1 |
KT=0,5S/l |
19813-00 |
Ктн=35000/100 |
КТ=0,5 |
13158-92 |
Ктг=600/5 |
| КТ=0,2 |
31857-06 |
Ксч=1 |
KT=0,5S/l |
19813-00 |
Ктн=35000/100 |
КТ=0,5 |
13158-92 |
Ктг=600/5 |
| КТ=0,5 |
31857-06 |
Ксч=1 |
KT=0,5S/l |
19813-00 |
Ктн=35000/100 |
КТ=0,5 |
13158-92 |
Ктг=600/5 |
| КТ=0,5 | |
|
A1805RAL-P4GB- DW-4 |
О |
ГО |
> |
О |
ГО |
> |
A1805RAL-P4GB- DW-4 |
О |
ГО |
> |
О |
ГО |
> |
A1805RAL-P4GB- DW-4 |
О |
ГО |
> |
О |
ГО |
> |
A1805RAL-P4GB- DW-4 |
О |
ГО |
> |
О |
ГО |
> |
A1805RAL-P4GB- DW-4 |
О |
ГО |
> |
О |
ГО |
> |
-U | ||||||||||
|
НАМИ-35 УХЛ1 |
ТВЭ-35 УХЛ2 |
| ТВЭ-35 УХЛ2 |
НАМИ-35 УХЛ1 |
ТВЭ-35 УХЛ2 |
| ТВЭ-35 УХЛ2 |
НАМИ-35 УХЛ1 |
ТВЭ-35 УХЛ2 |
| ТВЭ-35 УХЛ2 |
НАМИ-35 УХЛ1 |
ТВЭ-35УХЛ2 |
ТВЭ-35УХЛ2 |
| ТВЭ-35УХЛ2 |
НАМИ-35 УХЛ1 |
ТВЭ-35УХЛ2 |
ТВЭ-35УХЛ2 |
| ТВЭ-35УХЛ2 | |||||||||||||||||||||||||||||
|
1208538 |
№79 |
№3175 |
| №3171 |
1208551 |
№ 100 |
№3125 |
| №3161 |
1208544 |
№79 |
№3174 |
| №3173 |
6918351 |
№ 522 |
№ 6372 |
№ 6375 |
| № 6382 |
6918353 |
№ 519 |
№ 5245 |
№ 6351 |
| № 5238 | ||||||||||||||||||||||||
|
42000 |
42000 |
42000 |
42000 |
42000 | |||||||||||||||||||||||||||||||||||||||||
|
Н- Н- ОО о х® х® ©'-- ©-■- |
Н- Н- 00 о X© X® ©'-- ©-■- |
Н- Н- 00 о X© X® ©'-- ©-■- |
1+ ^© ^© ©'-- ©-■- |
1+ ^© ^© ©V ©V |
<1 | ||||||||||||||||||||||||||||||||||||||||
|
± 2,8% ± 2,5% |
± 2,8% ± 2,5% |
± 2,8% ± 2,5% |
ьн н- W у. ©'-- ©'■- |
н- ©^ ©^ |
ОО | ||||||||||||||||||||||||||||||||||||||||
Продолжение таблицы 2
|
159 |
158 |
157 |
156 |
155 |
1—‘ | ||||||||||||||||||||||||||||||||||||||||
|
ПС 35/10 кВ №116 Ввод-2 35кВ (МУП "СРЭС") |
ПС 35/10 кВ №116 Ввод-1 35кВ (МУП "СРЭС") |
ПС 220/110/35/10/6 кВ "Восточно-Моховая" ВЛ-35 Кустовая-16-2 |
ПС 220/110/35/10/6 кВ "Восточно-Моховая" ВЛ-35 Кустовая-16-1 |
ПС 110/35/6кВ "Транспортная" ВЛ-35кВ КНС-8-2 |
ю | ||||||||||||||||||||||||||||||||||||||||
|
Счетчик |
TH |
ТТ |
Счетчик |
TH |
ТТ |
Счетчик |
TH |
ТТ |
Счетчик |
TH |
ТТ |
Счетчик |
TH |
ТТ | |||||||||||||||||||||||||||||||
|
31857-06 |
Ксч=1 |
KT=0,2S/0,5 |
912-70 |
Ктн=35000:л/3/100:л/3 |
КТ=0,5 |
3690-73 |
| КТ=0,5 |
31857-06 |
Ксч=1 |
KT=0,2S/0,5 |
912-70 |
Kth=35000J3/100J3 |
КТ=0,5 |
3690-73 |
| КТ=0,5 |
31857-06 |
Ксч=1 |
KT=0,2S/0,5 |
912-70 |
Kth=35000J3/100J3 |
КТ=0,5 |
8555-81 |
| КТ=0,5 |
31857-06 |
Ксч=1 |
KT=0,2S/0,5 |
912-70 |
Kth=35000J3/100J3 |
КТ=0,5 |
8555-81 |
| КТ=0,5 |
31857-06 |
Ксч=1 |
KT=0,5S/l |
19813-00 |
5 Я II W |
КТ=0,5 |
13158-92 |
Ктт=600/5 |
| КТ=0,2 | |||||
|
A1802RALXQ- P4GB-DW-4 |
О |
ГО |
> |
О |
ГО |
> |
A1802RALXQ- P4GB-DW-4 |
О |
ГО |
> |
О |
ГО |
> |
A1802RALQ-P4GB- DW-4 |
О |
ГО |
> |
О |
ГО |
> |
A1802RAL-P4GB- DW-4 |
О |
ГО |
> |
О |
ГО |
> |
A1805RAL-P4GB- DW-4 |
О |
ГО |
> |
О |
ГО |
> |
-U | ||||||||||
|
ЗНОМ-35-65У1 |
ЗНОМ-35-65У1 |
ЗНОМ-35-65У1 |
ТФЗМ-35А-ХЛ1 |
| ТФЗМ-35А-ХЛ1 |
3HOM-35-65 |
3HOM-35-65 |
3HOM-35-65 |
ТФЗМ-35А-ХЛ1 |
| ТФЗМ-35А-ХЛ1 |
3HOM-35-65 |
3HOM-35-65 |
3HOM-35-65 |
ТФЗМ-35А-ХЛ1 |
| ТФЗМ-35А-ХЛ1 |
3HOM-35-65 |
3HOM-35-65 |
3HOM-35-65 |
ТФЗМ-35А-ХЛ1 |
| ТФЗМ-35А-ХЛ1 |
НАМИ-35 УХЛ1 |
ТВЭ-35 УХЛ2 |
| ТВЭ-35 УХЛ2 | |||||||||||||||||||||||
|
1164218 |
№ 1232851 |
№ 1449475 |
№ 1360494 |
№71721 |
| №71708 |
1164239 |
№ 1280813 |
№ 1218382 |
№ 1398185 |
№ 71830 |
| №71824 |
1183040 |
№ 1191504 |
№ 1186913 |
№ 1191327 |
№ 50384 |
| № 18396 |
1183014 |
№ 1465352 |
№ 1228700 |
№ 1222345 |
№ 70735 |
| №70729 |
1208545 |
№ 100 |
№3137 |
| №3189 | ||||||||||||||||||
|
21000 |
21000 |
21000 |
21000 |
42000 | |||||||||||||||||||||||||||||||||||||||||
|
1+ X® О''- фХ |
1+ X® фХ фХ |
1+ X® фХ фХ |
1+ X® фХ фХ |
00 о X® X® фХ фХ |
<1 | ||||||||||||||||||||||||||||||||||||||||
|
Н- Н- W о X® X® ©X фХ |
Н- Н- W о X® X® фХ фХ |
Н- Н- W о X® X® фХ фХ |
Н- Н- W о X® X® фХ фХ |
± 2,8% ± 2,5% |
00 | ||||||||||||||||||||||||||||||||||||||||
Продолжение таблицы 2
|
164 |
163 |
162 |
161 |
160 |
1—‘ | ||||||||||||||||||||||||||||||||||||||||
|
ПС 110/10 кВ "Азерит" КЛ-10кВ Азерит-3 яч. 3 |
ПС 35/10 кВ №23 Ввод-2 35кВ (МУП "СРЭС") |
ПС 35/10 кВ №23 Ввод-1 35кВ (МУП "СРЭС") |
ПС 35/10 кВ №119 Ввод-2 35кВ (МУП "СРЭС") |
ПС 35/10 кВ №119 Ввод-1 35кВ (МУП "СРЭС") |
ю | ||||||||||||||||||||||||||||||||||||||||
|
Счетчик |
TH |
тт |
Счетчик |
TH |
ТТ |
Счетчик |
TH |
ТТ |
Счетчик |
TH |
ТТ |
Счетчик |
TH |
ТТ | |||||||||||||||||||||||||||||||
|
31857-06 |
Ксч=1 |
KT=0,5S/l |
11094-87 |
Ктн=10000/100 |
КТ=0,5 |
25433-03 |
Ктт=200/5 |
| КТ=0,5 |
31857-06 |
Ксч=1 |
KT=0,2S/0,5 |
912-70 |
Kth=35000J3/100J3 |
КТ=0,5 |
3690-73 |
| КТ=0,5 |
31857-06 |
Ксч=1 |
KT=0,2S/0,5 |
912-70 |
Kth=35000J3/100J3 |
КТ=0,5 |
3690-73 |
| КТ=0,5 |
31857-06 |
Ксч=1 |
KT=0,2S/0,5 |
912-70 |
Kth=35000J3/100J3 |
КТ=0,5 |
3690-73 |
Ктт= 100/5 |
| КТ=0,5 |
31857-06 |
Ксч=1 |
KT=0,2S/0,5 |
21257-01 |
Kth=35000J3/100J3 |
КТ=0,5 |
21256-03 |
Ктт= 100/5 |
| KT=0,5S | |||
|
A1805RL-P4GB-DW-4 |
О |
ГО |
> |
О |
ГО |
> |
A1802RALXQ- P4GB-DW-4 |
О |
td |
> |
О |
ГО |
> |
A1802RALXQ- P4GB-DW-4 |
О |
ГО |
> |
О |
ГО |
> |
A1802RALXQ- P4GB-DW-4 |
О |
ГО |
> |
О |
ГО |
> |
A1802RALXQ- P4GB-DW-4 |
О |
ГО |
> |
О |
ГО |
> |
-U | ||||||||||
|
НАМИ-10-95 |
ТЛО-Ю 2УЗ |
| ТЛО-Ю2УЗ |
ЗНОМ-35-65У1 |
ЗНОМ-35-65У1 |
ЗНОМ-35-65У1 |
ТФЗМ-35А-ХЛ1 |
| ТФЗМ-35А-ХЛ1 |
3HOM-35-65 У1 |
3HOM-35-65 У1 |
3HOM-35-65 У1 |
ТФЗМ-35А-ХЛ1 |
| ТФЗМ-35А-ХЛ1 |
ЗНОМ-35-65У1 |
ЗНОМ-35-65У1 |
ЗНОМ-35-65У1 |
ТФН-35М |
| ТФН-35М |
ЗНОЛ-35 IIIУХЛ 1 |
ЗНОЛ-35 III УХЛ 1 |
ЗНОЛ-35 III УХЛ 1 |
ТОЛ-35 УХЛ1 |
| ТОЛ-35 УХЛ1 | |||||||||||||||||||||||
|
1208546 |
№92 |
№ 4758 |
| № 8093 |
1164203 |
№ 1441705 |
№ 1151023 |
№ 1441055 |
№ 71709 |
| №71712 |
1164235 |
№ 1310499 |
№ 1339064 |
№ 1310111 |
№ 71705 |
| №71701 |
1164207 |
№ 1292382 |
№ 1292123 |
№ 1285381 |
№ 9564 |
| № 18277 |
1164210 |
№344 |
№350 |
№346 |
№ 1098 |
| № 1027 | ||||||||||||||||||
|
4000 |
21000 |
21000 |
7000 |
7000 | |||||||||||||||||||||||||||||||||||||||||
|
1+ 6''- О'- |
1+ О''- фХ |
1+ X® фХ фХ |
1+ X® фХ фХ |
1+ X® фХ фХ |
<1 | ||||||||||||||||||||||||||||||||||||||||
|
ьн н- W ЦА 6'-- 6''- |
Н- Н- W о X® X® ©X фХ |
Н- Н- W о X® X® фХ фХ |
Н- Н- W о X® X® фХ фХ |
Н- Н- --д 00 X® X® фХ фХ |
00 | ||||||||||||||||||||||||||||||||||||||||
Продолжение таблицы 2
<1
Ю 00
|
1 |
2 |
3 |
4 |
5 |
6 |
7 |
8 | ||
|
165 |
ПС 110/10 кВ "КСП-4" ПС 10/0,4кВ №256 ШМ-10 1Т яч. 13 |
11 |
КТ=0,5 |
А |
ТЛК-10-6 У3 |
№ 00576 |
20000 |
± 1,2% ± 2,4% |
± 5,0% ± 3,0% |
|
Ктт=1000/5 |
В |
ТЛК-10-6 У3 |
№ 00615 | ||||||
|
9143-01 |
С |
ТЛК-10-6 У3 |
№ 00612 | ||||||
|
ТН |
КТ=0,5 |
А |
НАМИТ-10-2 УХЛ2 |
№ 0159 | |||||
|
Ктн=10000/100 |
В | ||||||||
|
16687-02 |
С | ||||||||
|
Счетчик |
KT=0,5S/1 |
A1805RAL-P4GB- DW-4 |
1208688 | ||||||
|
Ксч=1 | |||||||||
|
31857-06 | |||||||||
|
166 |
ПС 110/10 кВ "КСП-4" ПС 10/0,4кВ №256 ШМ-10 2Т яч. 17 |
11 |
КТ=0,5 |
А |
ТЛК-10-6 У3 |
№ 01615 |
20000 |
± 1,2% ± 2,4% |
± 5,0% ± 3,0% |
|
Ктт=1000/5 |
В |
ТЛК-10-6 У3 |
№ 00584 | ||||||
|
9143-01 |
С |
ТЛК-10-6 У3 |
№ 00605 | ||||||
|
ТН |
КТ=0,5 |
А |
НАМИТ-10-2 УХЛ2 |
№ 0153 | |||||
|
Ктн=10000/100 |
В | ||||||||
|
16687-02 |
С | ||||||||
|
Счетчик |
KT=0,5S/1 |
A1805RAL-P4GB- DW-4 |
1208709 | ||||||
|
Ксч=1 | |||||||||
|
31857-06 | |||||||||
|
167 |
ПС 110/10 кВ "Трансгаз" КЛ-10кВ Трансгаз-13 яч. 13 |
11 |
КТ=0,5 |
А |
ТПЛМ-10 |
№ 03485 |
8000 |
± 1,2% ± 2,4% |
± 5,0% ± 3,0% |
|
Ктт=400/5 |
В |
- |
- | ||||||
|
2363-68 |
С |
ТПЛМ-10 |
№ 22514 | ||||||
|
ТН |
КТ=0,5 |
А |
НАМИ-10 |
№ 1891 | |||||
|
Ктн=10000/100 |
В | ||||||||
|
11094-87 |
С | ||||||||
|
Счетчик |
KT=0,5S/1 |
A1805RAL-P4GB- DW-4 |
1208555 | ||||||
|
Ксч=1 | |||||||||
|
31857-06 | |||||||||
|
168 |
ПС 110/10 кВ "Трансгаз" КЛ-10кВ Трансгаз-3 яч. 03 |
11 |
КТ=0,5 |
А |
ТПЛМ-10 |
№ 51206 |
8000 |
± 1,2% ± 2,4% |
± 5,0% ± 3,0% |
|
Ктт=400/5 |
В |
- |
- | ||||||
|
2363-68 |
С |
ТПЛМ-10 |
№ 70172 | ||||||
|
ТН |
КТ=0,5 |
А |
НАМИ-10У2 |
№ 1128 | |||||
|
Ктн=10000/100 |
В | ||||||||
|
11094-87 |
С | ||||||||
|
Счетчик |
KT=0,5S/1 |
A1805RAL-P4GB- DW-4 |
1208797 | ||||||
|
Ксч=1 | |||||||||
|
31857-06 | |||||||||
|
169 |
ПС 110/10 кВ "Трансгаз" РП-6 РУ-10кВ яч.№20 (ООО "СГЭС") |
11 |
КТ=0,5 |
А |
ТОЛ-СЭЩ-10-21 У2 |
№ 10447 |
0009 |
± 1,2% ± 2,4% |
± 5,0% ± 3,0% |
|
Ктт=300/5 |
В |
- |
- | ||||||
|
32139-06 |
С |
ТОЛ-СЭЩ-10-21 У2 |
№ 10335 | ||||||
|
ТН |
КТ=0,5 |
А |
НАМИТ-10-2 УХЛ2 |
№ 0607 | |||||
|
Ктн=10000/100 |
В | ||||||||
|
18178-99 |
С | ||||||||
|
Счетчик |
KT=0,5S/1 |
A1805RL-P4GB-DW-4 |
1197005 | ||||||
|
Ксч=1 | |||||||||
|
31857-06 | |||||||||
|
174 |
173 |
172 |
171 |
170 |
1—‘ | ||||||||||||||||||||||||||||||||||||||||
|
ПС 110/35/10 кВ "КНС-7" ЗРУ КНС-7 (КС-7) ШМ-10 1Тяч. 08 |
ПС 110/35/10 кВ "Газлифт" КС-41 4ШМ- 10 2Тяч. 14 |
ПС 110/35/10 кВ "Газлифт" КС-41 ЗШМ-10 1Тяч. 09 |
ПС 110/ЮкВ "Нулевая" ЗРУ-ЮкВ Ввод №2 |
ПС 110/ЮкВ "Нулевая" ЗРУ-ЮкВ Ввод № 1 |
Ю | ||||||||||||||||||||||||||||||||||||||||
|
Счетчик |
TH |
тт |
Счетчик |
тн |
тт |
Счетчик |
тн |
тт |
Счетчик |
тн |
тт |
Счетчик |
тн |
тт | |||||||||||||||||||||||||||||||
|
31857-06 |
£ 43 д |
я |
Kth=10000:V3/100:V3 |
я |
СО |
1 |
Я |
00 |
£ 43 Д |
Я |
Kth=10000:V3/100:V3 |
я |
СО |
Я |
00 |
£ 43 Д |
Я |
Kth=10000:V3/100:V3 |
Я |
00 |
5 |
Я |
00 |
£ 43 Д |
Я |
со |
Ктн=10000/100 |
я |
со |
1 |
я |
00 |
£ 43 Д |
Я |
со |
Ктн=10000/100 |
я |
со |
1 |
я | |||||
|
A1805RAL-P4GB- DW-4 |
О |
ГО |
> |
О |
го |
> |
A1805RAL-P4GB- DW-4 |
О |
ГО |
> |
О |
ГО |
> |
A1805RAL-P4GB- DW-4 |
О |
ГО |
> |
О |
ГО |
> |
A1805RAL-P4GB- DW-4 |
О |
ГО |
> |
О |
W |
> |
A1805RAL-P4GB- DW-4 |
О |
ГО |
> |
О |
W |
> |
-U | ||||||||||
|
ЗНОЛ.06-ЮУЗ |
ЗНОЛ.06-ЮУЗ |
ЗНОЛ.06-ЮУЗ |
о |
о |
о |
ЗНОЛ-СЭЩ-io-о.5/3-30 |
ЗНОЛ-СЭЩ-io-о.5/3-30 |
ЗНОЛ-СЭЩ-io-о.5/3-30 |
о |
о |
ЗНОЛ-СЭЩ-io-о.5/3-30 |
ЗНОЛ-СЭЩ-io-о.5/3-30 |
ЗНОЛ-СЭЩ-io-о.5/3-30 |
о |
о |
я к |
о |
о |
о |
я я |
о |
о |
о | ||||||||||||||||||||||
|
1208624 |
ю» 00 |
ю» |
ю» |
ю» |
ю» СО |
ю» |
0 |
ю» |
ю» |
ю» |
ю» 00 ЧО |
ю» 00 00 |
|о S |
ю» |
ю» |
г? |
ю» |
г? ю |
0 |
ю» |
г? |
ю» |
ю» 00 |
00 |
г? ю |
ю» 00 W 00 |
ю» |
ю» | |||||||||||||||||
|
12000 |
6000 |
6000 |
20000 |
20000 |
04 | ||||||||||||||||||||||||||||||||||||||||
|
1+ 6''- О'- |
1+ 6''- О'- |
1+ 6''- О'- |
1+ О4- о''- |
1+ О4- о''- |
<1 | ||||||||||||||||||||||||||||||||||||||||
|
ьн н- 6''- О'- |
ьн н- 6''- О'- |
ьн н- 6''- О'- |
н- О4- о''- |
н- О4- о''- |
00 | ||||||||||||||||||||||||||||||||||||||||
Продолжение таблицы 2
|
179 |
178 |
177 |
176 |
175 |
1—‘ | ||||||||||||||||||||||||||||||||||||||||
|
ПС 110/35/6 кВ "КНС-2" ПС 35/10 кВ №161 ЗРУ-ЮкВ яч. 12 (МУП "СРЭС") |
ПС 110/35/6 кВ "КНС-2" ПС 35/10 кВ №161 ЗРУ-ЮкВ яч. 07 (МУП "СРЭС") |
ПС 110/35/6 кВ "КНС-2" ПС 35/10 кВ №161 ЗРУ-ЮкВ яч. 03 (МУП "СРЭС") |
ПС 110/35/6 кВ "КНС-2" ПС 35/10 кВ №161 ЗРУ-ЮкВ яч. 02 (МУП "СРЭС") |
ПС 110/35/10 кВ "КНС-7" ЗРУ КНС-7 (КС-7) ШМ-Ю 2Т яч. 17 |
ю | ||||||||||||||||||||||||||||||||||||||||
|
Счетчик |
TH |
тт |
Счетчик |
TH |
ТТ |
Счетчик |
TH |
ТТ |
Счетчик |
TH |
ТТ |
Счетчик |
TH |
ТТ | |||||||||||||||||||||||||||||||
|
31857-06 |
Ксч=1 |
KT=0,2S/0,5 |
831-69 |
Ктн=10000/100 |
КТ=0,5 |
7069-79 |
| КТ=0,5 |
31857-06 |
Ксч=1 |
KT=0,2S/0,5 |
831-69 |
Ктн=10000/100 |
КТ=0,5 |
7069-79 |
| КТ=0,5 |
31857-06 |
Ксч=1 |
KT=0,2S/0,5 |
831-69 |
Ктн=Ю000/Ю0 |
КТ=0,5 |
7069-79 |
Ктт=200/5 |
| КТ=0,5 |
31857-06 |
Ксч=1 |
KT=0,2S/0,5 |
831-69 |
Ктн=Ю000/Ю0 |
КТ=0,5 |
7069-79 |
| КТ=0,5 |
31857-06 |
Ксч=1 |
KT=0,5S/l |
3344-04 |
Kth=10000:V3/100:V3 |
КТ=0,5 |
15128-96 |
Ктт=600/5 |
| KT=0,5S | ||||
|
A1802RALXQ- P4GB-DW-4 |
О |
ГО |
> |
О |
ГО |
> |
A1802RALXQ- P4GB-DW-4 |
О |
ГО |
> |
О |
ГО |
> |
A1802RALXQ- P4GB-DW-4 |
О |
ГО |
> |
О |
ГО |
> |
A1802RALXQ- P4GB-DW-4 |
О |
ГО |
> |
О |
ГО |
> |
A1805RAL-P4GB- DW-4 |
О |
ГО |
> |
О |
ГО |
> |
-U | ||||||||||
|
НТМИ-10-66УЗ |
ТОЛ-Ю УТ 2.1 |
I ТОЛ-Ю УТ 2.1 |
НТМИ-10-66УЗ |
ТОЛ-Ю УТ 2.1 |
I ТОЛ-Ю УТ 2.1 |
НТМИ-Ю-66УЗ |
ТОЛ-Ю УТ 2.1 |
I ТОЛ-Ю УТ 2.1 |
НТМИ-Ю-66УЗ |
ТОЛ-Ю УТ 2.1 |
I ТОЛ-Ю УТ 2.1 |
ЗНОЛ.06-Ю |
ЗНОЛ.06-Ю |
ЗНОЛ.06-Ю |
о |
о |
О | ||||||||||||||||||||||||||||
|
1164201 |
№ 1434 |
№ 15726 |
| № 10169 |
1164216 |
№ 3876 |
№ 13723 |
| № 13361 |
1164242 |
№ 3876 |
№ 18466 |
| № 13218 |
1164204 |
№ 3876 |
№ 62379 |
| № 17227 |
1208601 |
№ 16794 |
№ 15935 |
№ 13001 |
№ 10667 |
№ 10586 |
| № 10868 | |||||||||||||||||||||||
|
6000 |
6000 |
4000 |
6000 |
12000 | |||||||||||||||||||||||||||||||||||||||||
|
1+ -..® О''- фХ |
1+ X® фХ фХ |
1+ X® фХ фХ |
1+ X® фХ фХ |
1+ фХ фХ |
<1 | ||||||||||||||||||||||||||||||||||||||||
|
Н- Н- W о X® X® ©X фХ |
Н- Н- W о X® X® фХ фХ |
Н- Н- W о X® X® фХ фХ |
Н- Н- W о X® X® фХ фХ |
ьн н-4^ W фХ фХ |
00 | ||||||||||||||||||||||||||||||||||||||||
Продолжение таблицы 2
|
184 |
183 |
182 |
181 |
180 |
1—‘ | ||||||||||||||||||||||||||||||||||||||||
|
ПС 220/110/10 кВ "Имилор" КС-42 4В-10 2АТ |
ПС 220/110/10 кВ "Имилор" КС-42 ЗВ-10 1АТ |
ПС 110/35/6 кВ "КНС-9" ПС 35/10 кВ №67 ф. 67-15 яч. 15 (МУП "СРЭС") |
ПС 110/35/6 кВ "КНС-2" ПС 35/10 кВ №161 ЗРУ-ЮкВ яч. 18 (МУП "СРЭС") |
ПС 110/35/6 кВ "КНС-2" ПС 35/10 кВ №161 ЗРУ-ЮкВ яч. 17 (МУП "СРЭС") |
ю | ||||||||||||||||||||||||||||||||||||||||
|
Счетчик |
TH |
ТТ |
Счетчик |
TH |
ТТ |
Счетчик |
TH |
ТТ |
Счетчик |
TH |
ТТ |
Счетчик |
TH |
ТТ | |||||||||||||||||||||||||||||||
|
31857-06 |
Ксч=1 |
КТ=0,2 S/0,5 |
35956-07 |
Kth=10000:V3/100:V3 |
КТ=0,5 |
7069-79 |
| КТ=0,5 |
31857-06 |
Ксч=1 |
КТ=0,2 S/0,5 |
35956-07 |
Kth=10000:V3/100:V3 |
КТ=0,5 |
7069-79 |
| КТ=0,5 |
31857-06 |
Ксч=1 |
KT=0,2S/0,5 |
33042-06 |
Kth=10000:V3/100:V3 |
КТ=0,5 |
32139-06 |
Ктт=300/5 |
| КТ=0,5 |
31857-06 |
Ксч=1 |
KT=0,2S/0,5 |
831-69 |
Ктн=10000/100 |
КТ=0,5 |
7069-79 |
Ктт=200/5 |
| КТ=0,5 |
31857-06 |
Ксч=1 |
KT=0,2S/0,5 |
831-69 |
Ктн=10000/100 |
КТ=0,5 |
7069-79 |
| КТ=0,5 | ||||
|
A1802RAL-P4GB- DW-4 |
О |
ГО |
> |
О |
ГО |
> |
A1802RAL-P4GB- DW-4 |
О |
ГО |
> |
О |
ГО |
> |
A1802RALXQ- P4GB-DW-4 |
О |
td |
> |
О |
ГО |
> |
A1802RALXQ- P4GB-DW-4 |
О |
ГО |
> |
О |
ГО |
> |
A1802RALXQ- P4GB-DW-4 |
О |
ГО |
> |
О |
ГО |
> |
-U | ||||||||||
|
ЗНОЛ-СЭЩ-io-о.5/3-30 |
ЗНОЛ-СЭЩ-io-о.5/3-30 |
ЗНОЛ-СЭЩ-io-о.5/3-30 |
ТОЛ 10УТ2.1 |
|ТОЛЮУТ2.1 |
ЗНОЛ-СЭЩ-io-о.5/3-30 |
ЗНОЛ-СЭЩ-io-о.5/3-30 |
ЗНОЛ-СЭЩ-io-о.5/3-30 |
ТОЛ 10-I-2Y2 |
I ТОЛ 10-I-2Y2 |
НОЛ-6-Ш |
НОЛ-6-Ш |
НОЛ-6-Ш |
ТОЛ-СЭЩ-10-21 |
I ТОЛ-СЭЩ-10-21 |
НТМИ-10-66УЗ |
ТОЛ-Ю УТ 2.1 |
1 ТОЛ-Ю УТ 2.1 |
НТМИ-10-66УЗ |
ТОЛ-Ю УТ 2.1 |
I ТОЛ-Ю УТ 2.1 | |||||||||||||||||||||||||
|
1183029 |
№ 01348-10 |
№ 01347-10 |
№ 01341-10 |
№ 83435 |
| №64726 |
1183004 |
№ 01342-10 |
№ 01343-10 |
№ 01344-10 |
№64721 |
| № 1841 |
1164253 |
№ 00306-09 |
№ 00305-09 |
№ 00304-09 |
№ 04868-09 |
| №04834-09 |
1164229 |
№ 1434 |
№ 55531 |
| № 56270 |
1164202 |
№ 1434 |
№ 6056 |
| №4997 | ||||||||||||||||||||
|
6000 |
6000 |
6000 |
4000 |
6000 | |||||||||||||||||||||||||||||||||||||||||
|
1+ 6''- О'- |
1+ 6''- О'- |
1+ X® О''- фХ |
1+ X® фХ фХ |
1+ X® фХ фХ |
<1 | ||||||||||||||||||||||||||||||||||||||||
|
ьн н- W ЦА 6'-- 6''- |
ьн н- W ЦА 6'-- 6''- |
Н- Н- W о X® X® ©X фХ |
Н- Н- W о X® X® фХ фХ |
Н- Н- W о X® X® фХ фХ |
00 | ||||||||||||||||||||||||||||||||||||||||
Продолжение таблицы 2
|
189 |
188 |
187 |
186 |
185 |
1—‘ | ||||||||||||||||||||||||||||||||||||||||
|
ПС 220/110/10/10 кВ "Пимская" КС-1 ЗРУ-10 кВ Ввод-1 |
ПС 220/110/10 кВ "Сургут" ф.РП-5-2 яч.4 |
ПС 220/110/10 кВ "Сургут" ф.РП-5-1 ЯЧ.1 1 |
ПС 220/110/10 кВ "Сургут" РП-5 РУ-ЮкВ яч.14 |
ПС 220/110/10 кВ "Сургут" РП-5 РУ-ЮкВяч.П |
ю | ||||||||||||||||||||||||||||||||||||||||
|
Счетчик |
TH |
ТТ |
Счетчик |
TH |
ТТ |
Счетчик |
TH |
ТТ |
Счетчик |
TH |
ТТ |
Счетчик |
TH |
ТТ | |||||||||||||||||||||||||||||||
|
31857-06 |
Ксч=1 |
KT=0,2S/0,5 |
3344-72 |
Я д w |
KT=0,5 |
11077-03 |
я 3 II W |
| КТ=0,5 |
31857-06 |
Ксч=1 |
KT=0,2S/0,5 |
16687-02 |
Ктн=10000/100 |
КТ=0,5 |
6009-77 |
Ктг=600/5 |
| КТ=0,5 |
31857-06 |
Ксч=1 |
KT=0,2S/0,5 |
16687-02 |
Ктн=10000/100 |
КТ=0,5 |
6009-77 |
Ктг=600/5 |
| КТ=0,5 |
31857-06 |
Ксч=1 |
KT=0,5S/l |
18178-99 |
Ктн=Ю000/Ю0 |
КТ=0,5 |
15128-96 |
Ктг=200/5 |
| КТ=0,5 |
31857-06 |
Ксч=1 |
KT=0,5S/l |
18178-99 |
Ктн=Ю000/Ю0 |
КТ=0,5 |
15128-96 |
Ктг=200/5 |
| КТ=0,5 | |
|
A1802RALQ-P4GB- DW-4 |
О |
td |
> |
О |
ГО |
> |
A1802RAL-P4GB- DW-4 |
О |
ГО |
> |
О |
ГО |
> |
A1802RAL-P4GB- DW-4 |
О |
ГО |
> |
О |
ГО |
> |
A1805RL-P4GB-DW-4 |
О |
ГО |
> |
О |
ГО |
> |
A1805RL-P4GB-DW-4 |
О |
ГО |
> |
О |
ГО |
> |
-U | ||||||||||
|
ЗНОЛ- 06-10Y3 |
ЗНОЛ- 06-10Y3 |
ЗНОЛ- 06-10Y3 |
ТЛШ-10-5УЗ |
ТЛШ-10-5УЗ |
| ТЛШ-10-5УЗ |
Н АМИТ-10 |
ТОЛ-Ю УТ2.1 |
I ТОЛ-Ю УТ2.1 |
Н АМИТ-10 |
ТОЛ-Ю УТ2.1 |
I ТОЛ-Ю УТ2.1 |
НАМИТ-10-2 УХЛ2 |
ТОЛ Ю-1-ПУ2 |
I ТОЛ Ю-1-ПУ2 |
НАМИТ-Ю-2УХЛ2 |
ТОЛ Ю-1-1У2 |
1 ТОЛ Ю-1-1У2 | ||||||||||||||||||||||||||||
|
1183043 |
№ 8171 |
№ 15784 |
№ 15728 |
ю» о |
№ 1578 |
| № 1631 |
1183001 |
№ 0405 |
№ 6908 |
| №7227 |
1182947 |
№ ООП |
ю» о |
| № 6526 |
1197007 |
№ 1526 |
№ 1936 |
| № 1170 |
№ 01197006 |
Г? о |
№ 1698 |
| №29293 | |||||||||||||||||||||||
|
60000 |
12000 |
12000 |
4000 |
4000 | |||||||||||||||||||||||||||||||||||||||||
|
1+ -..® О''- фХ |
1+ X® фХ фХ |
1+ X® фХ фХ |
1+ фХ фХ |
1+ фХ фХ |
<1 | ||||||||||||||||||||||||||||||||||||||||
|
Н- Н- W о X® X® ©X фХ |
Н- Н- W о X® X® фХ фХ |
Н- Н- W о X® X® фХ фХ |
ьн н- W у. фХ фХ |
н- фХ фХ |
00 | ||||||||||||||||||||||||||||||||||||||||
Продолжение таблицы 2
|
194 |
193 |
192 |
191 |
190 |
1—‘ | ||||||||||||||||||||||||||||||||||||||||
|
ПС 110/35/6 кВ "Агат" Ввод-1 |
ПС 110/6 кВ "Лямино" В-6 КУПНА от ВЛБ-1 |
ПС 35/10 кВ "Радиоцентр" ЗРУ-ЮкВ Ввод-2 |
ПС 35/10 кВ "Радиоцентр" ЗРУ-ЮкВ Ввод-1 |
ПС 220/110/10/10 кВ "Пимская" КС-1 ЗРУ-ЮкВ Ввод-2 |
ю | ||||||||||||||||||||||||||||||||||||||||
|
Счетчик |
TH |
ТТ |
Счетчик |
TH |
ТТ |
Счетчик |
TH |
ТТ |
Счетчик |
TH |
ТТ |
Счетчик |
TH |
ТТ | |||||||||||||||||||||||||||||||
|
31857-06 |
Ксч=1 |
KT=0,5S/l |
35955-07 |
5 Я л w |
КТ=0,2 |
32139-06 |
Ктт= 1000/5 |
| КТ=0,5 |
31857-06 |
Ксч=1 |
KT=0,5S/l |
2611-70 |
Ктн=6000/100 |
КТ=0,5 |
15128-06 |
Ктт=50/5 |
| КТ=0,5 |
31857-06 |
Ксч=1 |
KT=0,5S/l |
2611-70 |
Ктн=10000/100 |
КТ=0,5 |
2473-05 |
Ктт=400/5 |
| КТ=0,5 |
31857-06 |
Ксч=1 |
KT=0,5S/l |
2611-70 |
Ктн=10000/100 |
КТ=0,5 |
2473-05 |
Ктт=400/5 |
| КТ=0,5 |
31857-06 |
Ксч=1 |
KT=0,2S/0,5 |
3344-72 |
Kth=10000:V3/100:V3 |
КТ=0,5 |
11077-03 |
| КТ=0,5 | ||
|
A1805RAL-P4GB- DW-4 |
О |
td |
> |
О |
ГО |
> |
A1805RAL-P4GB- DW-4 |
О |
ГО |
> |
О |
ГО |
> |
A1805RAL-P4GB- DW-4 |
О |
ГО |
> |
О |
ГО |
> |
A1805RAL-P4GB- DW-4 |
О |
ГО |
> |
О |
ГО |
> |
A1802RAL-P4GB- DW-4 |
О |
ГО |
> |
О |
ГО |
> |
-U | ||||||||||
|
НОЛ-СЭЩ-6-3-0,2- 25 У2 |
НОЛ-СЭЩ-6-3-0,2- 25 У2 |
НОЛ-СЭЩ-6-3-0,2- 25 У2 |
ТОЛ-СЭЩ-10-21 У2 |
ТОЛ-СЭЩ-10-21 У2 |
I ТОЛ-СЭЩ-10-21 У2 |
НТМИ-6-66УЗ |
ТОЛЮ-1-2У2 |
| ТОЛЮ-1-2У2 |
НТМИ-10-66УЗ |
ТЛК-10-2УЗ |
| ТЛК-10-2УЗ |
НТМИ-10-66УЗ |
ТЛК-10-2УЗ |
| ТЛК-10-2УЗ |
ЗНОЛ- 06-10Y3 |
ЗНОЛ- 06-10Y3 |
ЗНОЛ- 06-10Y3 |
ТЛШ-10-5УЗ |
ТЛШ-10-5УЗ |
| ТЛШ-10-5УЗ | |||||||||||||||||||||||||
|
1203700 |
№ 00237-09 |
№ 00238-09 |
№ 00239-09 |
№ 04110-09 |
№ 04154-09 |
| № 04120-09 |
1208805 |
№ 5701 |
№ 24543 |
| № 5747 |
№01208795 |
№ 2064 |
№ 9714 |
| № 1382 |
1208733 |
№ 2064 |
№1187 |
| № 9720 |
1183010 |
№ 15649 |
№ 15942 |
№ 15938 |
№ 1558 |
№ 1632 |
| № 1579 | ||||||||||||||||||||
|
12000 |
600 |
8000 |
8000 |
60000 | |||||||||||||||||||||||||||||||||||||||||
|
1+ 6''- О'- |
1+ 6''- О'- |
1+ 6''- О'- |
1+ 6''- О'- |
1+ О''- фХ |
<1 | ||||||||||||||||||||||||||||||||||||||||
|
ьн н- 6''- О'- |
ьн н- 6''- О'- |
ьн н- 6''- О'- |
ьн н- W ЦА 6''- О'- |
W о X® X® ©X фХ |
00 | ||||||||||||||||||||||||||||||||||||||||
Продолжение таблицы 2
|
1 |
2 |
3 |
4 |
5 |
6 |
7 |
8 | ||
|
195 |
ПС 110/35/6 кВ "Агат" Ввод-2 |
11 |
KT=O,5S |
А |
ТОЛ-СЭЩ-10-21 У2 |
№ 03965-09 |
12000 |
± 1,2% ± 2,4% |
± 5,0% ± 3,0% |
|
Ктт=1000/5 |
В |
ТОЛ-СЭЩ-10-21 У2 |
№ 04700-09 | ||||||
|
32139-06 |
С |
ТОЛ-СЭЩ-10-21 У2 |
№ 04698-09 | ||||||
|
ТН |
КТ=0,2 |
А |
НОЛ-СЭЩ-6-3-0,2- 25 У2 |
№ 00236-09 | |||||
|
Ктн=6000:^3/100:^3 |
В |
НОЛ-СЭЩ-6-3-0,2- 25 У2 |
№ 00240-09 | ||||||
|
35955-07 |
С |
НОЛ-СЭЩ-6-3-0,2- 25 У2 |
№ 00241-09 | ||||||
|
Счетчик |
KT=0,5S/1 |
A1805RAL-P4GB- DW-4 |
1203681 | ||||||
|
Ксч=1 | |||||||||
|
31857-06 | |||||||||
|
196 |
ПС 110/35/6 кВ "Алехинская" ШМ-6 1Т яч.№17 |
11 |
КТ=0,5 |
А |
ТЛК-10-6У3 |
№ 10824 |
18000 |
± 1,2% ± 2,4% |
± 5,0% ± 3,0% |
|
Ктт=1500/5 |
В |
ТЛК-10-6У3 |
№ 10747 | ||||||
|
9143-01 |
С |
ТЛК-10-6У3 |
№ 10097 | ||||||
|
ТН |
КТ=0,5 |
А |
НАМИТ-10-2 УХЛ2 |
№ 291 | |||||
|
Ктн=6000/100 |
В | ||||||||
|
16687-97 |
С | ||||||||
|
Счетчик |
Kl=0,5S/1 |
A1805RAL-P4GB- DW-4 |
1209911 | ||||||
|
Ксч=1 | |||||||||
|
31857-06 | |||||||||
|
197 |
ПС 110/35/6 кВ "Алехинская" ШМ-6 2Т яч.№35 |
11 |
КТ=0,5 |
А |
ТЛК-10-6У3 |
№ 08244 |
18000 |
± 1,2% ± 2,4% |
± 5,0% ± 3,0% |
|
Ктт=1500/5 |
В |
ТЛК-10-6У3 |
№ 07842 | ||||||
|
9143-01 |
С |
ТЛК-10-6У3 |
№ 10821 | ||||||
|
ТН |
КТ=0,5 |
А |
НАМИТ-10-2 УХЛ2 |
№ 297 | |||||
|
Ктн=6000/100 |
В | ||||||||
|
16687-97 |
С | ||||||||
|
Счетчик |
Kl=0,5S/1 |
A1805RAL-P4GB- DW-4 |
1209919 | ||||||
|
Ксч=1 | |||||||||
|
31857-06 | |||||||||
|
198 |
ПС 110/35/6 кВ "Алмаз" Ввод-1, яч.8 |
11 |
КТ=0,5 |
А |
ТЛШ-10У3 |
№ 3820 |
24000 |
± 1,2% ± 2,4% |
± 5,0% ± 4,0% |
|
Ктт=2000/5 |
В |
- |
- | ||||||
|
11077-87 |
С |
ТЛШ-10У3 |
№ 3440 | ||||||
|
ТН |
КТ=0,5 |
А |
НТМИ-6-66 |
№ 3932 | |||||
|
Ктн=6000/100 |
В | ||||||||
|
2611-70 |
С | ||||||||
|
Счетчик |
Kl=0,5S/1 |
A1805RAL-P4GB- DW-4 |
6918352 | ||||||
|
Ксч=1 | |||||||||
|
31857-06 | |||||||||
|
199 |
ПС 110/35/6 кВ "Алмаз" Ввод-2 яч.15 |
11 |
КТ=0,5 |
А |
ТЛШ-10У3 |
№ 3718 |
24000 |
± 1,2% ± 2,4% |
± 5,0% ± 4,0% |
|
Ктт=2000/5 |
В |
- |
- | ||||||
|
11077-87 |
С |
ТЛШ-10У3 |
№ 3431 | ||||||
|
ТН |
КТ=0,5 |
А |
НТМИ-6-66 |
№ 10101 | |||||
|
Ктн=6000/100 |
В | ||||||||
|
2611-70 |
С | ||||||||
|
Счетчик |
Kl=0,5S/1 |
A1805RAL-P4GB- DW-4 |
6918354 | ||||||
|
Ксч=1 | |||||||||
|
31857-06 | |||||||||
|
204 |
203 |
202 |
201 |
200 |
1—‘ | ||||||||||||||||||||||||||||||||||||||||
|
ПС 110/35/6 кВ "Брусничная" ШМ-6 2Тяч. 38 |
ПС 110/35/6 кВ "Брусничная" ШМ-6 1Тяч. 17 |
ПС 110/35/6 кВ "Блочная" ШМ-6 2Т ЯЧ.1 1 |
ПС 110/35/6 кВ "Блочная" ШМ-6 1Т яч. 17 |
ПС 110/35/6 кВ "Блочная" №36 КРУН-6 кВ яч.17 |
Ю | ||||||||||||||||||||||||||||||||||||||||
|
Счетчик |
TH |
тт |
Счетчик |
TH |
ТТ |
Счетчик |
TH |
ТТ |
Счетчик |
TH |
ТТ |
Счетчик |
TH |
ТТ | |||||||||||||||||||||||||||||||
|
31857-06 |
Ксч=1 |
KT=0,5S/l |
18178-99 |
Ктн=6000/100 |
КТ=0,5 |
9143-01 |
Ктт=1500/5 |
| КТ=0,5 |
31857-06 |
Ксч=1 |
KT=0,5S/l |
18178-99 |
Ктн=6000/100 |
КТ=0,5 |
9143-01 |
Ктт=1500/5 |
| КТ=0,5 |
31857-06 |
Ксч=1 |
KT=0,5S/l |
16687-02 |
Ктн=6000/100 |
КТ=0,5 |
11077-03 |
Ктт=2000/5 |
| КТ=0,5 |
31857-06 |
Ксч=1 |
KT=0,5S/l |
16687-02 |
Ктн=6000/100 |
КТ=0,5 |
11077-03 |
Ктт=2000/5 |
| КТ=0,5 |
31857-06 |
Ксч=1 |
KT=0,5S/l |
38394-08 |
Ктн=6000/100 |
КТ=0,5 |
9143-06 |
Ктт=150/5 |
| КТ=0,5 | |
|
A1805RAL-P4GB- DW-4 |
О |
ГО |
> |
О |
ГО |
> |
A1805RAL-P4GB- DW-4 |
О |
ГО |
> |
О |
ГО |
> |
A1805RAL-P4GB- DW-4 |
О |
ГО |
> |
О |
ГО |
> |
A1805RAL-P4GB- DW-4 |
О |
ГО |
> |
О |
ГО |
> |
A1805RAL-P4GB- DW-4 |
О |
ГО |
> |
О |
ГО |
> |
-U | ||||||||||
|
НАМИТ-10-2 УХЛ2 |
ТЛК 10-6 УЗ |
ТЛК 10-6 УЗ |
I ТЛК 10-6 УЗ |
НАМИТ-10-2 УХЛ2 |
ТЛК 10-6 УЗ |
ТЛК 10-6 УЗ |
I ТЛК 10-6 УЗ |
НАМИТ-10-2 УХЛ2 |
ТЛШ-10-1УЗ |
1 ТЛШ-10-1УЗ |
НАМИТ-10-2 УХЛ2 |
ТЛШ-10-1УЗ |
I ТЛШ-10-1УЗ |
НАЛИ-СЭЩ-6 |
ТЛК-10 |
ТЛК-10 |
1 ТЛК-10 | ||||||||||||||||||||||||||||
|
1208542 |
№ 0424 |
№ 02752 |
№ 02627 |
I №01763 |
1208711 |
№ 0519 |
№ 02586 |
№ 02594 |
I № 02572 |
1208561 |
№ 2040100000001 |
№ 855 |
1 № 854 |
1208778 |
№ 2040100000002 |
№ 856 |
I № 857 |
1208785 |
№ 00331-10 |
№ 2040100000057 |
№ 2040100000056 |
’ ю» | |||||||||||||||||||||||
|
18000 |
18000 |
24000 |
24000 |
1800 | |||||||||||||||||||||||||||||||||||||||||
|
1+ 6''- О'- |
1+ 6''- О'- |
1+ 6''- О'- |
1+ 6''- О'- |
1+ 6''- О'- |
<1 | ||||||||||||||||||||||||||||||||||||||||
|
ьн н- 6''- О'- |
ьн н- 6''- О'- |
ьн н- W ЦА 6''- О'- |
ьн н- W ЦА 6''- О'- |
н- О4- о''- |
00 | ||||||||||||||||||||||||||||||||||||||||
Продолжение таблицы 2
|
209 |
208 |
207 |
206 |
205 |
1—‘ | ||||||||||||||||||||||||||||||||||||||||
|
ПС 110/35/6 кВ "Вачимская" Ввод-2 от2Т, яч.5 |
ПС 110/35/6 кВ "Вачимская" Ввод-1 от 1Т, яч.27 |
ПС 110/35/6 кВ "Быстринская" Ввод-3 |
ПС 110/35/6 кВ "Быстринская" Ввод- 1, яч.7 |
ПС 110/35/6 кВ "Быстринская" В-2Т |
ю | ||||||||||||||||||||||||||||||||||||||||
|
Счетчик |
TH |
тт |
Счетчик |
TH |
ТТ |
Счетчик |
TH |
ТТ |
Счетчик |
TH |
ТТ |
Счетчик |
TH |
ТТ | |||||||||||||||||||||||||||||||
|
31857-06 |
Ксч=1 |
KT=0,5S/l |
11094-87 |
Ктн=6000/100 |
КТ=0,2 |
7069-02 |
Ктт= 1500/5 |
| КТ=0,5 |
31857-06 |
Ксч=1 |
KT=0,5S/l |
11094-87 |
Ктн=6000/100 |
КТ=0,2 |
7069-02 |
Ктг= 1500/5 |
| КТ=0,5 |
31857-06 |
Ксч=1 |
KT=0,5S/l |
2611-70 |
Ктн=6000/100 |
КТ=0,5 |
6811-78 |
Я 3 II W |
| КТ=0,5 |
31857-06 |
Ксч=1 |
KT=0,5S/l |
2611-70 |
Ктн=6000/100 |
КТ=0,5 |
1423-60 |
Я 3 II W |
| КТ=0,5 |
31857-06 |
Ксч=1 |
KT=0,5S/l |
2611-70 |
Ктн=6000/100 |
КТ=0,5 |
1423-60 |
Я 3 II W |
| КТ=0,5 | |
|
A1805RAL-P4GB- DW-4 |
О |
ГО |
> |
О |
ГО |
> |
A1805RAL-P4GB- DW-4 |
О |
ГО |
> |
О |
ГО |
> |
A1805RAL-P4GB- DW-4 |
О |
ГО |
> |
О |
ГО |
> |
A1805RAL-P4GB- DW-4 |
О |
ГО |
> |
О |
ГО |
> |
A1805RAL-P4GB- DW-4 |
О |
ГО |
> |
О |
ГО |
> |
-U | ||||||||||
|
НАМИ-10-У2 |
ТОЛ-ЮУТ2.1 |
| ТОЛ-ЮУТ2.1 |
НАМИ-10-У2 |
ТОЛ-ЮУТ2.1 |
| ТОЛ-ЮУТ2.1 |
НТМИ-6-66 УЗ |
ТЛШ-10-1УЗ |
I ТЛШ-10-1УЗ |
НТМИ-6-66 |
ТПШЛ-ЮУЗ |
I ТПШЛ-ЮУЗ |
НТМИ-6-66 |
ТПШЛ-ЮУЗ |
1 ТПШЛ-ЮУЗ | |||||||||||||||||||||||||||||||
|
1203675 |
ю» о |
№ 32462 |
| № 36256 |
1203673 |
№ 1240 |
№ 18020 |
| № 10169 |
1203676 |
№ 9840 |
№72 |
I №340 |
1203671 |
№ 2172 |
№ 538 |
I №566 |
1203682 |
№ 5396 |
№ 2617 |
1 №2624 | ||||||||||||||||||||||||||
|
18000 |
18000 |
36000 |
36000 |
36000 | |||||||||||||||||||||||||||||||||||||||||
|
1+ 6''- О'- |
1+ 6''- О'- |
1+ 6''- О'- |
1+ 6''- О'- |
1+ 6''- о''- |
<1 | ||||||||||||||||||||||||||||||||||||||||
|
ьн н- 6''- О'- |
ьн н- 6''- О'- |
ьн н- 6''- О'- |
Н- н- 6''- О'- |
н- О4- о''- |
00 | ||||||||||||||||||||||||||||||||||||||||
Продолжение таблицы 2
|
214 |
213 |
212 |
211 |
210 |
1—‘ | ||||||||||||||||||||||||||||||||||||||||
|
ПС 110/35/6 кВ "Дорожная" ШМ-6 1Тяч. 13 |
ПС 110/35/6 кВ "Дальняя" 2В-6 1Т, яч.15 |
ПС 110/35/6 кВ "Дальняя" IB-6 2Т, яч.4 |
ПС 110/35/6 кВ "Вега" ШМ-6 2Т |
ПС 110/35/6 кВ "Вега" ШМ-6 1Т |
ю | ||||||||||||||||||||||||||||||||||||||||
|
Счетчик |
TH |
тт |
Счетчик |
TH |
ТТ |
Счетчик |
TH |
ТТ |
Счетчик |
TH |
ТТ |
Счетчик |
TH |
ТТ | |||||||||||||||||||||||||||||||
|
31857-06 |
Ксч=1 |
KT=0,5S/l |
11094-87 |
Ктн=6000/100 |
КТ=0,2 |
7069-79 |
Ктт= 1500/5 |
| КТ=0,5 |
31857-06 |
Ксч=1 |
KT=0,5S/l |
11094-87 |
Ктн=6000/100 |
КТ=0,5 |
7069-79 |
Ктг= 1500/5 |
| КТ=0,5 |
31857-06 |
Ксч=1 |
KT=0,5S/l |
11094-87 |
Ктн=6000/100 |
КТ=0,5 |
7069-79 |
Ктг= 1500/5 |
| КТ=0,5 |
31857-06 |
Ксч=1 |
KT=0,5S/l |
20186-05 |
Ктн=6000/100 |
КТ=0,5 |
32139-06 |
Ктг= 1500/5 |
| КТ=0,5 |
31857-06 |
Ксч=1 |
KT=0,5S/l |
20186-05 |
Ктн=6000/100 |
КТ=0,5 |
32139-06 |
Ктг= 1500/5 |
| КТ=0,5 | |
|
A1805RALX-P4GB- DW-4 |
О |
ГО |
> |
О |
ГО |
> |
A1805RAL-P4GB- DW-4 |
О |
ГО |
> |
О |
ГО |
> |
A1805RAL-P4GB- DW-4 |
О |
ГО |
> |
О |
ГО |
> |
A1805RAL-P4GB- DW-4 |
О |
ГО |
> |
О |
ГО |
> |
A1805RAL-P4GB- DW-4 |
О |
ГО |
> |
О |
ГО |
> |
-U | ||||||||||
|
НАМИ-10-У2 |
ТОЛ-Ю УТ2.1 |
I ТОЛ-Ю УТ2.1 |
НАМИ-10У2 |
ТОЛ 10 02Л |
I ТОЛ 10 02.1 |
НАМИ-10У2 |
ТОЛ 10 02.1 |
I ТОЛ 10 02.1 |
НАМИ-10-95УХЛ2 |
ТОЛ-СЭЩ-10-21 У2 |
I ТОЛ-СЭЩ-10-21 У2 |
НАМИ-10-95УХЛ2 |
ТОЛ-СЭЩ-10-21 У2 |
1 ТОЛ-СЭЩ-10-21 У2 | |||||||||||||||||||||||||||||||
|
1208589 |
№ 6444 |
№ 24245 |
| №22890 |
1203674 |
№ 4080 |
№ 1505 |
| № 2388 |
1203674 |
ю» о |
№ 59469 |
| № 2385 |
1208762 |
№ 3051 |
№ 12592 |
| № 15235 |
1208757 |
Г? о |
№ 06376 |
| №06548 | ||||||||||||||||||||||||||
|
18000 |
18000 |
18000 |
18000 |
18000 | |||||||||||||||||||||||||||||||||||||||||
|
1+ 6''- О'- |
1+ 6''- О'- |
1+ 6''- О'- |
1+ 6''- О'- |
1+ О4- о''- |
<1 | ||||||||||||||||||||||||||||||||||||||||
|
ьн н- 6''- О'- |
ьн н- 6''- О'- |
ьн н- 6''- О'- |
ьн н- 6''- О'- |
н- О4- о''- |
00 | ||||||||||||||||||||||||||||||||||||||||
Продолжение таблицы 2
00
|
219 |
218 |
217 |
216 |
215 |
1—‘ | ||||||||||||||||||||||||||||||||||||||||
|
ПС 110/35/6 кВ "КНС-2" ШМ-6 2Т яч. 05 |
ПС 110/35/6 кВ "КНС-2" ШМ-6 1Т яч. 23 |
ПС 110/35/6 кВ "КНС-1" ШМ-6 2Т яч. 04 |
ПС 110/35/6 кВ "КНС-1" ШМ-6 1Т яч.15 |
ПС 110/35/6 кВ "Дорожная" ШМ-6 2Т яч. 04 |
ю | ||||||||||||||||||||||||||||||||||||||||
|
Счетчик |
TH |
тт |
Счетчик |
TH |
ТТ |
Счетчик |
TH |
ТТ |
Счетчик |
TH |
ТТ |
Счетчик |
TH |
ТТ | |||||||||||||||||||||||||||||||
|
31857-06 |
Ксч=1 |
KT=0,5S/l |
18178-99 |
Ктн=6000/100 |
КТ=0,5 |
9143-01 |
Ктт=1500/5 |
| КТ=0,5 |
31857-06 |
Ксч=1 |
KT=0,5S/l |
18178-99 |
Ктн=6000/100 |
КТ=0,5 |
9143-01 |
Ктт=1500/5 |
| КТ=0,5 |
31857-06 |
Ксч=1 |
KT=0,5S/l |
2611-70 |
Ктн=6000/100 |
КТ=0,5 |
6811-78 |
Ктт=2000/5 |
| КТ=0,5 |
31857-06 |
Ксч=1 |
KT=0,5S/l |
16687-07 |
Ктн=6000/100 |
КТ=0,5 |
6811-78 |
Ктт=2000/5 |
| КТ=0,5 |
31857-06 |
Ксч=1 |
KT=0,5S/l |
11094-87 |
Ктн=6000/100 |
КТ=0,2 |
7069-79 |
Ктт=1500/5 |
| КТ=0,5 | |
|
A1805RAL-P4GB- DW-4 |
О |
ГО |
> |
О |
ГО |
> |
A1805RAL-P4GB- DW-4 |
О |
ГО |
> |
О |
ГО |
> |
A1805RAL-P4GB- DW-4 |
О |
ГО |
> |
О |
ГО |
> |
A1805RAL-P4GB- DW-4 |
О |
ГО |
> |
О |
ГО |
> |
A1805RAL-P4GB- DW-4 |
О |
ГО |
> |
О |
ГО |
> |
-U | ||||||||||
|
НАМИТ-10-2 УХЛ2 |
ТЛК 10-6 УЗ |
I ТЛК 10-6 УЗ |
НАМИТ-10-2 УХЛ2 |
ТЛК 10-6 УЗ |
I ТЛК 10-6 УЗ |
НАМИ-6-66 |
ТЛШ-10 |
I ТЛШ-10 |
Н АМИТ-10 |
ТЛШ-10 |
I ТЛШ-10 |
НАМИ-10-У2 |
ТОЛ-Ю УТ2.1 |
1 ТОЛ-Ю УТ2.1 | |||||||||||||||||||||||||||||||
|
1208598 |
№ 0103 |
№ 07123 |
I № 07054 |
1208586 |
№ 0248 |
№ 07256 |
I №07270 |
1208570 |
№ 8588 |
№ 185 |
I № 138 |
1208649 |
№ 173100000001 |
№ 148 |
I № 132 |
1208616 |
№ 6455 |
№ 11119 |
| № 25346 | ||||||||||||||||||||||||||
|
18000 |
18000 |
24000 |
24000 |
18000 | |||||||||||||||||||||||||||||||||||||||||
|
1+ 6''- О'- |
1+ 6''- О'- |
1+ 6''- О'- |
1+ 6''- О'- |
1+ О4- о''- |
<1 | ||||||||||||||||||||||||||||||||||||||||
|
ьн н- 6''- О'- |
ьн н- 6''- О'- |
ьн н- W ЦА 6''- О'- |
ьн н- W ЦА 6''- О'- |
н- О4- о''- |
00 | ||||||||||||||||||||||||||||||||||||||||
Продолжение таблицы 2
|
224 |
223 |
222 |
221 |
220 |
1—‘ | ||||||||||||||||||||||||||||||||||||||||
|
ПС 110/35/6 кВ "КНС-9" ПС 35/10 кВ №67 ф.67-04 яч.04 (МУП "СРЭС") |
ПС 110/35/6 кВ "КНС-6" ШМ-6 2Т яч. 01 |
ПС 110/35/6 кВ "КНС-6" ШМ-6 1Т яч. 08 |
ПС 110/35/6 кВ "КНС-4" ШМ-6 2Т яч. 04 |
ПС 110/35/6 кВ "КНС-4" ШМ-6 1Т яч. 24 |
ю | ||||||||||||||||||||||||||||||||||||||||
|
Счетчик |
TH |
ТТ |
Счетчик |
TH |
ТТ |
Счетчик |
TH |
ТТ |
Счетчик |
TH |
ТТ |
Счетчик |
TH |
ТТ | |||||||||||||||||||||||||||||||
|
31857-06 |
Ксч=1 |
KT=0,2S/0,5 |
33042-06 |
Kth=10000:V3/100:V3 |
КТ=0,5 |
32139-06 |
| КТ=0,5 |
31857-06 |
Ксч=1 |
KT=0,5S/l |
16687-02 |
Ктн=6000/100 |
КТ=0,5 |
9143-01 |
Ктт=1500/5 |
| КТ=0,5 |
31857-06 |
Ксч=1 |
KT=0,5S/l |
16687-97 |
Ктн=6000/100 |
КТ=0,5 |
9143-01 |
Ктт=1500/5 |
| КТ=0,5 |
31857-06 |
Ксч=1 |
KT=0,5S/l |
18178-99 |
Ктн=6000/100 |
КТ=0,5 |
9143-01 |
Ктт=1500/5 |
| КТ=0,5 |
31857-06 |
Ксч=1 |
KT=0,5S/l |
18178-99 |
Ктн=6000/100 |
КТ=0,5 |
9143-01 |
Ктт=1500/5 |
| КТ=0,5 | ||
|
A1802RALXQ- P4GB-DW-4 |
О |
td |
> |
О |
ГО |
> |
A1805RAL-P4GB- DW-4 |
О |
ГО |
> |
О |
ГО |
> |
A1805RAL-P4GB- DW-4 |
О |
ГО |
> |
О |
ГО |
> |
A1805RAL-P4GB- DW-4 |
О |
ГО |
> |
О |
ГО |
> |
A1805RAL-P4GB- DW-4 |
О |
ГО |
> |
О |
ГО |
> |
-U | ||||||||||
|
НОЛ-6-Ш |
НОЛ-6-Ш |
НОЛ-6-Ш |
ТОЛ-СЭЩ-10-21 |
I ТОЛ-СЭЩ-10-21 |
НАМИТ-10-2 УХЛ2 |
ТЛК-10-6 УЗ |
I ТЛК-10-6 УЗ |
НАМИТ-10-2 УХЛ2 |
ТЛК-10-6 УЗ |
I ТЛК-10-6 УЗ |
НАМИТ-10-2 УХЛ2 |
ТЛК 10-6 УЗ |
ТЛК 10-6 УЗ |
I ТЛК 10-6 УЗ |
НАМИТ-10-2 УХЛ2 |
ТЛК 10-6 УЗ |
ТЛК 10-6 УЗ |
1 ТЛК 10-6 УЗ | |||||||||||||||||||||||||||
|
1164217 |
№ 00301-09 |
№ 00302-09 |
№ 00303-09 |
№ 04850-09 |
| №05307-09 |
1208729 |
№ 1053 |
№00816 |
I №00812 |
1208726 |
№ 1056 |
№20191 |
I №20220 |
1208664 |
№ 0507 |
№ 18542 |
№ 18543 |
I № 18776 |
1208655 |
№ 0646 |
№ 18145 |
№ 18770 |
1 № 18775 | ||||||||||||||||||||||
|
3600 |
18000 |
18000 |
18000 |
18000 | |||||||||||||||||||||||||||||||||||||||||
|
1+ -..® О''- фХ |
1+ фХ фХ |
1+ фХ фХ |
1+ фХ фХ |
1+ фХ фХ |
<1 | ||||||||||||||||||||||||||||||||||||||||
|
Н- Н- W о X® X® ©X фХ |
ьн н- W у. фХ фХ |
ьн н- W у. фХ фХ |
ьн н- фХ фХ |
ьн н- фХ фХ |
00 | ||||||||||||||||||||||||||||||||||||||||
Продолжение таблицы 2
|
1 |
2 |
3 |
4 |
5 |
6 |
7 |
8 | ||
|
225 |
ПС 110/35/6 кВ "КНС-9" ПС 35/10 кВ №67 ф.67-06 яч.06 (МУП "СРЭС") |
11 |
КТ=0,5 |
А |
ТОЛ-СЭЩ-10-21 |
№ 05312-09 |
3600 |
± 1,1% ± 2,2% |
± 5,0% ± 2,3% |
|
Ктт=300/5 |
В |
- |
- | ||||||
|
32139-06 |
С |
ТОЛ-СЭЩ-10-21 |
№ 05291-09 | ||||||
|
ТН |
КТ=0,5 |
А |
НОЛ-6-Ш |
№ 00303-09 | |||||
|
Ктн=10000:^3/100:^3 |
В |
НОЛ-6-Ш |
№ 00302-09 | ||||||
|
33042-06 |
С |
НОЛ-6-III |
№ 00301-09 | ||||||
|
Счетчик |
КТ=0,28/0,5 |
A1802RALXQ- P4GB-DW-4 |
1164219 | ||||||
|
Ксч=1 | |||||||||
|
31857-06 | |||||||||
|
226 |
ПС 110/35/6 кВ "КНС-9" ПС 35/10 кВ №67 ф.67-09 яч.09 (МУП "СРЭС") |
11 |
КТ=0,5 |
А |
ТОЛ-СЭЩ-10-21 |
№ 05296-09 |
2400 |
± 1,1% ± 2,2% |
± 5,0% ± 2,3% |
|
Ктт=200/5 |
В |
- |
- | ||||||
|
32139-06 |
С |
ТОЛ-СЭЩ-10-21 |
№ 05288-09 | ||||||
|
ТН |
КТ=0,5 |
А |
НОЛ-6-III |
№ 00303-09 | |||||
|
Ктн=10000:^3/100:^3 |
В |
НОЛ-6-III |
№ 00302-09 | ||||||
|
33042-06 |
С |
НОЛ-6-III |
№ 00301-09 | ||||||
|
Счетчик |
КТ=0,28/0,5 |
A1802RALXQ- P4GB-DW-4 |
1164241 | ||||||
|
Ксч=1 | |||||||||
|
31857-06 | |||||||||
|
227 |
ПС 110/35/6 кВ "КНС-9" ПС 35/10 кВ №67 ф.67-13 яч. 13 (МУП "СРЭС") |
11 |
КТ=0,5 |
А |
ТОЛ-СЭЩ-10-21 |
№ 05322-09 |
2400 |
± 1,1% ± 2,2% |
± 5,0% ± 2,3% |
|
Ктт=200/5 |
В |
- |
- | ||||||
|
32139-06 |
С |
ТОЛ-СЭЩ-10-21 |
№ 05309-09 | ||||||
|
ТН |
КТ=0,5 |
А |
НОЛ-6-III |
№ 00304-09 | |||||
|
Ктн=10000:^3/100:^3 |
В |
НОЛ-6-III |
№ 00305-09 | ||||||
|
33042-06 |
С |
НОЛ-6-III |
№ 00306-09 | ||||||
|
Счетчик |
КТ=0,28/0,5 |
A1802RALXQ- P4GB-DW-4 |
1164244 | ||||||
|
Ксч=1 | |||||||||
|
31857-06 | |||||||||
|
228 |
ПС 110/35/6 кВ "КНС-9" ПС 35/10 кВ №67 ф. 67-14 яч.14 (МУП "СРЭС") |
11 |
КТ=0,5 |
А |
ТОЛ-СЭЩ-10-21 У2 |
№ 04845-09 |
3600 |
± 1,1% ± 2,2% |
± 5,0% ± 2,3% |
|
Ктт=300/5 |
В |
- |
- | ||||||
|
32139-06 |
С |
ТОЛ-СЭЩ-10-21 У2 |
№ 04843-09 | ||||||
|
ТН |
КТ=0,5 |
А |
НОЛ-6-III |
№ 00304-09 | |||||
|
Ктн=10000:^3/100:^3 |
В |
НОЛ-6-III |
№ 00305-09 | ||||||
|
33042-06 |
С |
НОЛ-6-III |
№ 00306-09 | ||||||
|
Счетчик |
КТ=0,28/0,5 |
A1802RALXQ- P4GB-DW-4 |
1164208 | ||||||
|
Ксч=1 | |||||||||
|
31857-06 | |||||||||
|
229 |
ПС 110/35/6 кВ "КНС-9" ПС 35/6 кВ №173 ЗРУ-6кВ Ввод-1 яч. 05 |
11 |
КТ=0,5 |
А |
ТЛК 10-6 У3 |
№ 18726 |
7200 |
± 1,1% ± 2,2% |
± 5,0% ± 2,3% |
|
Ктт=600/5 |
В |
- |
- | ||||||
|
7069-79 |
С |
ТЛК 10-6 У3 |
№ 82838 | ||||||
|
ТН |
КТ=0,5 |
А |
НАМИ-10 |
№ 957 | |||||
|
Ктн=6000/100 |
В | ||||||||
|
11094-87 |
С | ||||||||
|
Счетчик |
КТ=0,28/0,5 |
A1802RALXQ- P4GB-DW-4 |
1164228 | ||||||
|
Ксч=1 | |||||||||
|
31857-06 | |||||||||
|
234 |
233 |
232 |
231 |
230 |
1—‘ | ||||||||||||||||||||||||||||||||||||||||
|
ПС 110/35/6 кВ "КНС-9" ШМ-6 2Т яч. 04 |
ПС 110/35/6 кВ "КНС-9" ШМ-6 1Т яч. 24 |
ПС 110/35/6 кВ "КНС-9" ПС 35/6 кВ №215 Ввод-2 яч. 12 (МУП "СРЭС") |
ПС 110/35/6 кВ "КНС-9" ПС 35/6 кВ №215 Ввод-1 яч. 02 (МУП "СРЭС") |
ПС 110/35/6 кВ "КНС-9" ПС 35/6 кВ №173 ЗРУ-бкВ Ввод-2 яч. 22 |
ю | ||||||||||||||||||||||||||||||||||||||||
|
Счетчик |
TH |
тт |
Счетчик |
TH |
ТТ |
Счетчик |
TH |
ТТ |
Счетчик |
TH |
ТТ |
Счетчик |
TH |
ТТ | |||||||||||||||||||||||||||||||
|
31857-06 |
Ксч=1 |
KT=0,5S/l |
18178-99 |
Ктн=6000/100 |
КТ=0,5 |
9143-01 |
Ктт= 1500/5 |
| КТ=0,5 |
31857-06 |
Ксч=1 |
KT=0,5S/l |
18178-99 |
Ктн=6000/100 |
КТ=0,5 |
9143-01 |
Ктг= 1500/5 |
| КТ=0,5 |
31857-06 |
Ксч=1 |
KT=0,5S/l |
38394-08 |
Ктн=6000/100 |
КТ=0,5 |
16048-97 |
Ктг= 150/5 |
| КТ=0,5 |
31857-06 |
Ксч=1 |
KT=0,5S/l |
2611-70 |
Ктн=6000/100 |
КТ=0,5 |
16048-97 |
Ктг= 150/5 |
| КТ=0,5 |
31857-06 |
Ксч=1 |
KT=0,2S/0,5 |
11094-87 |
Ктн=6000/100 |
КТ=0,5 |
7069-79 |
Ктг=600/5 |
| КТ=0,5 | |
|
A1805RAL-P4GB- DW-4 |
О |
ГО |
> |
О |
ГО |
> |
A1805RAL-P4GB- DW-4 |
О |
ГО |
> |
О |
ГО |
> |
A1805RAL-P4GB- DW-4 |
О |
ГО |
> |
О |
ГО |
> |
A1805RAL-P4GB- DW-4 |
О |
ГО |
> |
О |
ГО |
> |
A1802RALXQ- P4GB-DW-4 |
О |
ГО |
> |
О |
ГО |
> |
-U | ||||||||||
|
НАМИ-10-2УХЛ2 |
ТЛК 10-6УЗ |
ТЛК 10-6УЗ |
I ТЛК 10-6УЗ |
НАМИ-10-2УХЛ2 |
ТЛК 10-6УЗ |
ТЛК 10-6УЗ |
I ТЛК 10-6УЗ |
НАЛИ-СЭЩ-6 |
IMZ-10 |
I IMZ-10 |
НТМИ-6-66УЗ |
IMZ-10 |
I IMZ-10 |
НАМИ-10 |
ТОЛ 10УЗ |
1 ТОЛ 10УЗ | |||||||||||||||||||||||||||||
|
1208652 |
№ 1043 |
№ 20200 |
№ 20578 |
I № 20387 |
1208640 |
№ 1037 |
№ 20653 |
№ 20685 |
I №20664 |
1180979 |
№0033-10 |
869 °Я |
I № 524 |
1180980 |
№ 5403 |
№ 532 |
I №744 |
1164243 |
№ 955 |
№ 56191 |
1 № 54632 | ||||||||||||||||||||||||
|
18000 |
18000 |
1800 |
1800 |
7200 | |||||||||||||||||||||||||||||||||||||||||
|
1+ 6''- О'- |
1+ 6''- О'- |
1+ 6''- О'- |
1+ 6''- О'- |
1+ О''- фХ |
<1 | ||||||||||||||||||||||||||||||||||||||||
|
ьн н- 6''- О'- |
ьн н- 6''- О'- |
ьн н- W ЦА 6''- О'- |
ьн н- W ЦА 6''- О'- |
Н- Н- W о X® X® ©X фХ |
00 | ||||||||||||||||||||||||||||||||||||||||
Продолжение таблицы 2
|
239 |
238 |
237 |
236 |
235 |
1—‘ | ||||||||||||||||||||||||||||||||||||||||
|
ПС 110/35/6 кВ "Лянторская" ШМ-6 2Тяч. 22 |
ПС 110/35/6 кВ "Лянторская" ШМ-6 1Тяч. 05 |
ПС 110/35/6 кВ "Куст" ШМ-6 2Т яч. 13 |
ПС 110/35/6 кВ "Куст" ШМ-6 1Тяч. 05 |
ПС 110/35/6 кВ "Комсомольская" ПС 35/6 кВ №172 яч. 07 (МУП "СРЭС") |
ю | ||||||||||||||||||||||||||||||||||||||||
|
Счетчик |
TH |
тт |
Счетчик |
TH |
ТТ |
Счетчик |
TH |
ТТ |
Счетчик |
TH |
ТТ |
Счетчик |
TH |
ТТ | |||||||||||||||||||||||||||||||
|
31857-06 |
Ксч=1 |
KT=0,5S/l |
16687-97 |
Ктн=6000/100 |
КТ=0,5 |
9143-01 |
Ктт= 1500/5 |
| КТ=0,5 |
31857-06 |
Ксч=1 |
KT=0,5S/l |
16687-97 |
Ктн=6000/100 |
КТ=0,5 |
9143-01 |
Ктг= 1500/5 |
| КТ=0,5 |
31857-06 |
Ксч=1 |
KT=0,5S/l |
11094-87 |
Ктн=6000/100 |
КТ=0,2 |
7069-79 |
Ктг= 1500/5 |
| КТ=0,5 |
31857-06 |
Ксч=1 |
KT=0,5S/l |
11094-87 |
Ктн=6000/100 |
КТ=0,2 |
7069-79 |
Ктг= 1500/5 |
| КТ=0,5 |
31857-06 |
Ксч=1 |
KT=0,2S/0,5 |
38394-08 |
Ктн=6000/100 |
КТ=0,5 |
7069-79 |
Ктг= 150/5 |
| КТ=0,5 | |
|
A1805RAL-P4GB- DW-4 |
О |
ГО |
> |
О |
ГО |
> |
A1805RAL-P4GB- DW-4 |
О |
ГО |
> |
О |
ГО |
> |
A1805RAL-P4GB- DW-4 |
О |
ГО |
> |
О |
ГО |
> |
A1805RAL-P4GB- DW-4 |
О |
ГО |
> |
О |
ГО |
> |
A1802RALXQ- P4GB-DW-4 |
О |
ГО |
> |
О |
ГО |
> |
-U | ||||||||||
|
НАМИТ-10-2УХЛ2 |
ТЛК 10-6УЗ |
I ТЛК 10-6УЗ |
НАМИТ-10-2УХЛ2 |
ТЛК 10-6УЗ |
I ТЛК 10-6УЗ |
НАМИ-10-У2 |
ТОЛ-10 УЗ |
I ТОЛ-Ю УЗ |
НАМИ-10-У2 |
ТОЛ-Ю УЗ |
I ТОЛ-Ю УЗ |
НАЛИ-СЭЩ-6-1-0,5- 200 |
ТОЛ-Ю |
1 ТОЛ-Ю | |||||||||||||||||||||||||||||||
|
1208702 |
№ 0079 |
№ 11230 |
I № 11120 |
1208692 |
№ 0077 |
№ 10780 |
I № 10813 |
1208592 |
№ 3779 |
№ 20173 |
I № 33983 |
1208651 |
№ 3771 |
№ 20174 |
I № 13377 |
1164247 |
№ 00332-10 |
№ 23025 |
1 № 20049 | ||||||||||||||||||||||||||
|
18000 |
18000 |
18000 |
18000 |
1800 | |||||||||||||||||||||||||||||||||||||||||
|
1+ 6''- О'- |
1+ 6''- О'- |
1+ О''- фХ |
1+ X® фХ фХ |
1+ X® фХ фХ |
<1 | ||||||||||||||||||||||||||||||||||||||||
|
ьн н- 6''- О'- |
ьн н- 6''- О'- |
ьн н- W ЦА ©X фХ |
ьн н- W ЦА фХ фХ |
W о X® X® фХ фХ |
00 | ||||||||||||||||||||||||||||||||||||||||
Продолжение таблицы 2
|
244 |
243 |
242 |
241 |
240 |
1—‘ | ||||||||||||||||||||||||||||||||||||||||
|
ПС 110/35/6 кВ "Родниковая" ШМ-6 1Тяч. 13 |
ПС 110/35/6 кВ "Нижнесортымская" ШМ-6 2Т |
ПС 110/35/6 кВ "Нижнесортымская" ШМ-6 1Т |
ПС 110/35/6 кВ "Маслиховская" ШМ-6 2Тяч. 14 |
ПС 110/35/6 кВ "Маслиховская" ШМ-6 1Тяч. 02 |
ю | ||||||||||||||||||||||||||||||||||||||||
|
Счетчик |
TH |
ТТ |
Счетчик |
TH |
ТТ |
Счетчик |
TH |
ТТ |
Счетчик |
TH |
ТТ |
Счетчик |
TH |
ТТ | |||||||||||||||||||||||||||||||
|
31857-06 |
Ксч=1 |
KT=0,5S/l |
17158-98 |
Ктн=6000:л/3/100:л/3 |
КТ=0,5 |
7069-79 |
Ктт= 1500/5 |
| КТ=0,5 |
31857-06 |
Ксч=1 |
KT=0,2S/0,5 |
17158-98 |
Kth=6000J3/100J3 |
КТ=0,5 |
7069-07 |
Ктг= 1500/5 |
| КТ=0,5 |
31857-06 |
Ксч=1 |
KT=0,2S/0,5 |
16687-97 |
Ктн=6000/100 |
КТ=0,5 |
7069-79 |
Ктг= 1500/5 |
| КТ=0,5 |
31857-06 |
Ксч=1 |
KT=0,5S/l |
16687-97 |
Ктн=6000/100 |
КТ=0,5 |
9143-83 |
Ктг= 1000/5 |
| КТ=0,5 |
31857-06 |
Ксч=1 |
KT=0,5S/l |
16687-97 |
Ктн=6000/100 |
КТ=0,5 |
9143-83 |
Ктг= 1000/5 |
| КТ=0,5 | |
|
A1805RALQ-P4GB- DW-4 |
О |
ГО |
> |
О |
ГО |
> |
A1802RAL-P4GB- DW-4 |
О |
td |
> |
О |
ГО |
> |
A1802RAL-P4GB- DW-4 |
О |
ГО |
> |
О |
ГО |
> |
A1805RAL-P4GB- DW-4 |
О |
ГО |
> |
О |
ГО |
> |
A1805RAL-P4GB- DW-4 |
О |
ГО |
> |
О |
ГО |
> |
-U | ||||||||||
|
НОМ 6-77У4 |
НОМ 6-77У4 |
ТОЛ 10УТ21 |
I ТОЛ 10УТ21 |
НОМ-6-77УХЛ4 |
НОМ-6-77УХЛ4 |
НОМ-6-77УХЛ4 |
ТОЛ 10УТ2.1 |
|ТОЛЮУТ2.1 |
НАМИТ-10-2УХЛ2 |
ТОЛ-ЮУ2 |
I ТОЛ-Ю У2 |
НАМИТ-10-2УХЛ2 |
ТЛК-10-6УЗ |
I ТЛК-10-6УЗ |
НАМИТ-10-2УХЛ2 |
ТЛК-10-6УЗ |
1 ТЛК-10-6УЗ | ||||||||||||||||||||||||||||
|
1177371 |
№ 6637 |
№4116 |
№ 10945 |
| № 14162 |
1209933 |
№6515 |
№6615 |
№ 6440 |
№ 71950 |
| №71958 |
1209932 |
№291 |
№ 76234 |
| №75196 |
1208674 |
№ 0394 |
№ 7032 |
I № 5020 |
1208673 |
№0391 |
№ 7444 |
1 №7034 | |||||||||||||||||||||||
|
18000 |
18000 |
18000 |
12000 |
12000 | |||||||||||||||||||||||||||||||||||||||||
|
1+ 6''- О'- |
1+ 6''- О'- |
1+ 6''- О'- |
1+ 6''- О'- |
1+ 6''- О'- |
<1 | ||||||||||||||||||||||||||||||||||||||||
|
ьн н- 6''- О'- |
ьн н- 6''- О'- |
ьн н- W ЦА 6''- О'- |
ьн н- W ЦА 6''- О'- |
н- О4- о''- |
ОО | ||||||||||||||||||||||||||||||||||||||||
Продолжение таблицы 2
|
249 |
248 |
247 |
246 |
245 |
1—‘ | ||||||||||||||||||||||||||||||||||||||||
|
ПС 110/35/6 кВ "Солкино" В-6 2Т |
ПС 110/35/6 кВ "Солкино" В-6 1Т |
ПС 110/35/6 кВ "Савуйская" ШМ-6 2Тяч. 30 |
ПС 110/35/6 кВ "Савуйская" ШМ-6 1Тяч. 06 |
ПС 110/35/6 кВ "Родниковая" ШМ-6 2Тяч. 35 |
ю | ||||||||||||||||||||||||||||||||||||||||
|
Счетчик |
TH |
тт |
Счетчик |
TH |
ТТ |
Счетчик |
TH |
ТТ |
Счетчик |
TH |
ТТ |
Счетчик |
TH |
ТТ | |||||||||||||||||||||||||||||||
|
31857-06 |
Ксч=1 |
KT=0,5S/l |
w ОО |
Ктн=6000/100 |
КТ=0,5 |
15128-96 |
Ктт= 1500/5 |
| КТ=0,5 |
31857-06 |
Ксч=1 |
KT=0,5S/l |
w 00 |
Ктн=6000/100 |
КТ=0,5 |
15128-96 |
Ктг= 1500/5 |
| КТ=0,5 |
31857-06 |
Ксч=1 |
KT=0,5S/l |
20186-00 |
Ктн=6000/100 |
КТ=0,5 |
32139-06 |
Ктг= 1500/5 |
| КТ=0,5 |
31857-06 |
Ксч=1 |
KT=0,5S/l |
20186-00 |
Ктн=6000/100 |
КТ=0,5 |
32139-06 |
Ктг= 1500/5 |
| КТ=0,5 |
31857-06 |
Ксч=1 |
KT=0,5S/l |
17158-98 |
Kth=6000J3/100J3 |
КТ=0,5 |
7069-79 |
Ктг= 1500/5 |
| КТ=0,5 | |
|
A1805RAL-P4GB- DW-3 |
О |
ГО |
> |
О |
ГО |
> |
A1805RAL-P4GB- DW-4 |
О |
ГО |
> |
О |
ГО |
> |
A1805RAL-P4GB- DW-3 |
О |
ГО |
> |
О |
ГО |
> |
A1805RAL-P4GB- DW-3 |
О |
ГО |
> |
О |
ГО |
> |
A1805RALQ-P4GB- DW-4 |
О |
td |
> |
О |
ГО |
> |
-U | ||||||||||
|
НТМИ-6 |
ТОЛ-Ю-1-8У2 |
| ТОЛ-Ю-1-8У2 |
НТМИ-6 |
ТОЛ-Ю-1-8У2 |
| ТОЛ-Ю-1-8У2 |
НАМИ-10-95-УХЛ2 |
ТОЛ-СЭЩ 10 |
I ТОЛ-СЭЩ 10 |
НАМИ-10-95-УХЛ2 |
ТОЛ-СЭЩ 10 |
I ТОЛ-СЭЩ 10 |
НОМ 6-77У4 |
НОМ 6-77У4 |
ТОЛ 10УЗ |
1 ТОЛ 10УЗ | ||||||||||||||||||||||||||||||
|
1203684 |
ю» о |
ю» о |
ю» о |
1203684 |
№ 103 |
№3061 |
ю» о |
1171576 |
№2781 |
№ 03755-08 |
I №03703-08 |
1171575 |
№ 2683 |
№01100-08 |
I №01095-08 |
1177363 |
№ 3706 |
№ 3738 |
№ 5844 |
1 №2610 | |||||||||||||||||||||||||
|
18000 |
18000 |
18000 |
18000 |
18000 | |||||||||||||||||||||||||||||||||||||||||
|
1+ 6''- О'- |
1+ 6''- О'- |
1+ 6''- О'- |
1+ 6''- О'- |
1+ О4- о''- |
<1 | ||||||||||||||||||||||||||||||||||||||||
|
ьн н- 6''- О'- |
ьн н- 6''- О'- |
ьн н- W ЦА 6''- О'- |
ьн н- W ЦА 6''- О'- |
н- О4- о''- |
00 | ||||||||||||||||||||||||||||||||||||||||
Продолжение таблицы 2
|
254 |
253 |
252 |
251 |
250 |
1—‘ | ||||||||||||||||||||||||||||||||||||||||
|
ПС 110/35/6 кВ "Элегаз" ШМ-6 1Т яч. 05 |
ПС 110/35/6 кВ "Федоровская" В-6 2Тяч. 25 |
ПС 110/35/6 кВ "Федоровская" В-6 1Тяч. 03 |
ПС 110/35/6 кВ "Технолог" ШМ-6 21 яч. 18 |
ПС 110/35/6 кВ "Технолог" ШМ-6 11 яч. 09 |
гэ | ||||||||||||||||||||||||||||||||||||||||
|
Счетчик |
TH |
тт |
Счетчик |
TH |
ТТ |
Счетчик |
TH |
ТТ |
Счетчик |
TH |
ТТ |
Счетчик |
TH |
ТТ | |||||||||||||||||||||||||||||||
|
31857-06 |
Ксч=1 |
KT=0,5S/l |
2611-70 |
Ктн=6000/100 |
КТ=0,5 |
2473-69 |
Ктт= 1500/5 |
| КТ=0,5 |
31857-06 |
Ксч=1 |
KT=0,5S/l |
2611-70 |
Ктн=6000/100 |
КТ=0,5 |
1261-02 |
Ктг=600/5 |
| КТ=0,5 |
31857-06 |
Ксч=1 |
KT=0,5S/l |
2611-70 |
Ктн=6000/100 |
КТ=0,5 |
1261-59 |
Ктг=600/5 |
| КТ=0,5 |
31857-06 |
Ксч=1 |
KT=0,5S/l |
2611-70 |
Ктн=6000/Ю0 |
КТ=0,5 |
1423-60 |
Я 3 II W |
| КТ=0,5 |
31857-06 |
Ксч=1 |
KT=0,5S/l |
2611-70 |
Ктн=6000/100 |
КТ=0,5 |
1423-60 |
Я 3 II W |
| КТ=0,5 | |
|
A1805RAL-P4GB- DW-4 |
О |
ГО |
> |
О |
ГО |
> |
A1805RAL-P4GB- DW-4 |
О |
ГО |
> |
О |
ГО |
> |
A1805RAL-P4GB- DW-4 |
О |
ГО |
> |
О |
ГО |
> |
A1805RAL-P4GB- DW-4 |
О |
ГО |
> |
О |
ГО |
> |
A1805RAL-P4GB- DW-4 |
О |
ГО |
> |
О |
ГО |
> |
-U | ||||||||||
|
НТМИ-6-66 |
ТЛМ-10-1УЗ |
ТЛМ-10-1УЗ |
I ТЛМ-10-1УЗ |
НТМИ-6-66УЗ |
ТПОЛ-ЮУЗ |
I ТПОЛ-ЮУЗ |
НТМИ-6-66УЗ |
ТПОЛ-ЮУЗ |
I ТПОЛ-ЮУЗ |
НТМИ-6-66УЗ |
ТПШЛ-ЮУЗ |
I ТПШЛ-ЮУЗ |
НТМИ-6-66УЗ |
ТПШЛ-ЮУЗ |
1 ТПШЛ-ЮУЗ | ||||||||||||||||||||||||||||||
|
1208541 |
№ 11408 |
№3140 |
№ 4507 |
I №9773 |
1208794 |
№ БККК |
№ 25644 |
I №26121 |
1208681 |
№ ТХУХ |
№ 25608 |
I №25645 |
1208665 |
№ 6557 |
№ 3235 |
ю» о |
1208615 |
№ ГУАЕ |
№3134 |
г? о | |||||||||||||||||||||||||
|
18000 |
7200 |
7200 |
36000 |
36000 | |||||||||||||||||||||||||||||||||||||||||
|
1+ 6''- О'- |
1+ 6''- О'- |
1+ 6''- О'- |
1+ 6''- О'- |
1+ О4- о''- |
<1 | ||||||||||||||||||||||||||||||||||||||||
|
ьн н- 6''- О'- |
ьн н- 6''- О'- |
ьн н- W ЦА 6''- О'- |
ьн н- W ЦА 6''- О'- |
н- О4- о''- |
00 | ||||||||||||||||||||||||||||||||||||||||
Продолжение таблицы 2
|
259 |
258 |
257 |
256 |
255 |
1—‘ | ||||||||||||||||||||||||||||||||||||||||
|
ПС 110/35/6кВ "Рогожниковская" 2Т ввод 6кВ яч.43 |
ПС 110/35/6кВ "Рогожниковская" 1Т ввод 6кВ яч.15 |
ПС 110/35/6 кВ "Яун-Лор" ШМ-6 2Т яч. 29 |
ПС 110/35/6 кВ "Яун-Лор" ШМ-6 1Тяч. 12 |
ПС 110/35/6 кВ "Элегаз" ШМ-6 2Т яч. 02 |
ю | ||||||||||||||||||||||||||||||||||||||||
|
Счетчик |
TH |
тт |
Счетчик |
TH |
ТТ |
Счетчик |
TH |
ТТ |
Счетчик |
TH |
ТТ |
Счетчик |
TH |
ТТ | |||||||||||||||||||||||||||||||
|
31857-06 |
Ксч=1 |
KT=0,5S/l |
18178-99 |
Ктн=6000/100 |
КТ=0,5 |
11077-03 |
Ктт=2000/5 |
| KT=0,5S |
31857-06 |
Ксч=1 |
KT=0,5S/l |
18178-99 |
Ктн=6000/100 |
КТ=0,5 |
11077-03 |
Ктт=2000/5 |
| KT=0,5S |
31857-06 |
Ксч=1 |
KT=0,5S/l |
16687-07 |
Ктн=6000/100 |
КТ=0,5 |
7069-07 |
Ктт=1500/5 |
КТ=0,5 |
31857-06 |
Ксч=1 |
KT=0,5S/l |
16687-07 |
Ктн=6000/100 |
КТ=0,5 |
7069-79 |
Ктт=1500/5 |
КТ=0,5 |
31857-06 |
Ксч=1 |
KT=0,5S/l |
2611-70 |
Ктн=6000/100 |
КТ=0,5 |
2473-69 |
Ктт=1500/5 |
| КТ=0,5 | |
|
A1805RAL-P4GB- DW-4 |
О |
ГО |
> |
О |
ГО |
> |
A1805RAL-P4GB- DW-4 |
О |
ГО |
> |
О |
ГО |
> |
A1805RAL-P4GB- DW-4 |
О |
ГО |
> |
О |
ГО |
> |
A1805RAL-P4GB- DW-4 |
О |
ГО |
> |
О |
ГО |
> |
A1805RAL-P4GB- DW-4 |
О |
ГО |
> |
О |
ГО |
> |
-U | ||||||||||
|
НАМИТ-10-2 УХЛ2 |
ТЛШ-10-5УЗ |
ТЛШ-10-5УЗ |
| ТЛШ-10-5УЗ |
НАМИТ-10-2 УХЛ2 |
ТЛШ-10-5УЗ |
ТЛШ-10-5УЗ |
| ТЛШ-10-5УЗ |
Н АМИТ-10 |
ТОЛ-10 УЗ |
ТОЛ-10 УЗ |
ТОЛ-10 УЗ |
НАМИТ-10УХЛ2 |
ТОЛ-10 УЗ |
ТОЛ-10 УЗ |
ТОЛ-10 УЗ |
НТМИ-6-66УЗ |
ТЛМ-10-1УЗ |
ТЛМ-10-1УЗ |
I ТЛМ-10-1УЗ | ||||||||||||||||||||||||||
|
1208553 |
№ 0208 |
№ 621 |
№ 654 |
| №622 |
1208543 |
№ 0347 |
№ 627 |
№ 626 |
| №634 |
1208554 |
№ 2040100000016 |
№ 2040100000041 |
№ 2040100000038 |
№ 2040100000045 |
1208799 |
№ 2040100000015 |
№ 2040100000049 |
№ 2040100000050 |
№ 2040100000037 |
1208584 |
№ 2324 |
№ 8150 |
№ 9704 |
I №9774 | |||||||||||||||||||||
|
24000 |
24000 |
18000 |
18000 |
18000 | |||||||||||||||||||||||||||||||||||||||||
|
1+ 6''- О'- |
1+ 6''- О'- |
1+ 6''- О'- |
1+ 6''- О'- |
1+ О4- о''- |
<1 | ||||||||||||||||||||||||||||||||||||||||
|
ьн н- 6''- О'- |
ьн н- 6''- О'- |
ьн н- 6''- О'- |
ьн н- 6''- О'- |
н- О4- о''- |
ОО | ||||||||||||||||||||||||||||||||||||||||
Продолжение таблицы 2
<1 Ui
---J
|
264 |
263 |
262 |
261 |
260 |
1—‘ | ||||||||||||||||||||||||||||||||||||||||
|
ПС 110/6 кВ "Строительная" КРУН-6кВ ГРПБ №1 (ООО "СГЭС") |
ПС 110/6 кВ "Строительная" КЛ-бкВ Строительная-33 яч. 33 |
ПС 110/6 кВ "Строительная" КЛ-бкВ Строительная-30 яч. 30 |
ПС 1Ю/35/6кВ "Рогожниковская" ЗРУ-бкВ яч.Рогожниковская-35 (ОАО "ЮТЭК-Кода) |
ПС 1Ю/35/6кВ "Рогожниковская" ЗРУ-6кВ яч. Рогожниковская-11 (ОАО "ЮТЭК-Кода) |
ю | ||||||||||||||||||||||||||||||||||||||||
|
Счетчик |
TH |
TT |
Счетчик |
TH |
тт |
Счетчик |
TH |
ТТ |
Счетчик |
TH |
ТТ |
Счетчик |
TH |
ТТ | |||||||||||||||||||||||||||||||
|
31857-06 |
Ксч=1 |
KT=0,5S/l |
3344-04 |
5 Я л w |
KT=0,5 |
15128-96 |
Ктт=50/5 |
| КТ=0,5 |
31857-06 |
Ксч=1 |
KT=0,5S/l |
11094-87 |
Ктн=6000/100 |
КТ=0,5 |
7069-79 |
| КТ=0,5 |
31857-06 |
Ксч=1 |
KT=0,5S/l |
11094-87 |
Ктн=6000/100 |
КТ=0,5 |
7069-79 |
| КТ=0,5 |
31857-06 |
Ксч=1 |
KT=0,5S/l |
18178-99 |
Ктн=6000/Ю0 |
КТ=0,5 |
9143-01 |
Ктт=200/5 |
| КТ=0,5 |
31857-06 |
Ксч=1 |
KT=0,5S/l |
18178-99 |
Ктн=6000/Ю0 |
КТ=0,5 |
9143-01 |
Ктт=200/5 |
| КТ=0,5 | |||
|
A1805RAL-P4GB- DW-4 |
О |
td |
> |
О |
ГО |
> |
A1805RAL-P4GB- DW-4 |
О |
ГО |
> |
О |
ГО |
> |
A1805RAL-P4GB- DW-4 |
О |
ГО |
> |
О |
ГО |
> |
A1805RAL-P4GB- DW-4 |
О |
ГО |
> |
О |
ГО |
> |
A1805RAL-P4GB- DW-4 |
О |
ГО |
> |
О |
ГО |
> |
-U | ||||||||||
|
ЗНОЛ.06-6УЗ |
ЗНОЛ.06-6УЗ |
ЗНОЛ.06-6УЗ |
ТОЛ-Ю-1-ПУ2 |
| ТОЛ-Ю-1-ПУ2 |
НАМИ-10 |
ТОЛ-Ю УТ 2.1 |
I ТОЛ-Ю УТ 2.1 |
НАМИ-10 |
ТОЛ-Ю УТ 2.1 |
I ТОЛ-Ю УТ 2.1 |
НАМИТ-Ю-2 УХЛ2 |
ТЛК-Ю-6УЗ |
ТЛК-Ю-6УЗ |
I ТЛК-Ю-6УЗ |
НАМИТ-Ю-2 УХЛ2 |
ТЛК-Ю-6УЗ |
ТЛК-Ю-6УЗ |
1 ТЛК-Ю-6УЗ | |||||||||||||||||||||||||||
|
1208732 |
№ 3134 |
№ 3063 |
№ 3125 |
№ 868 |
| №017 |
1208587 |
№3107 |
№ 44441 |
| №41699 |
1208801 |
№3129 |
№ 44429 |
| №44428 |
1208748 |
№ 0208 |
№ 05638 |
№ 05584 |
I № 05612 |
1208728 |
№ 0347 |
№ 05307 |
№ 05586 |
1 № 06596 | ||||||||||||||||||||||
|
600 |
3600 |
3600 |
2400 |
2400 | |||||||||||||||||||||||||||||||||||||||||
|
1+ 6''- О'- |
1+ 6''- О'- |
1+ 6''- О'- |
1+ 6''- О'- |
1+ О4- о''- |
<1 | ||||||||||||||||||||||||||||||||||||||||
|
ьн н- 6''- О'- |
ьн н- 6''- О'- |
ьн н- W ЦА 6''- О'- |
ьн н- W ЦА 6''- О'- |
н- О4- о''- |
ОО | ||||||||||||||||||||||||||||||||||||||||
Продолжение таблицы 2
00
|
269 |
268 |
267 |
266 |
265 |
1—‘ | ||||||||||||||||||||||||||||||||||||||||
|
ПС 110/6 кВ "Береговая" 4ШМ-6 2Т яч. 24 |
ПС 110/6 кВ "Береговая" ЗШМ-6 1Т яч. 39 |
ПС 110/6 кВ "Береговая" 2ШМ-6 2Т яч. 18 |
ПС 110/6 кВ "Береговая" 1ШМ-6 1Т яч. 01 |
ПС 110/6 кВ "Строительная" КРУН-6кВ ГРПБ №2 (ООО "СГЭС") |
ю | ||||||||||||||||||||||||||||||||||||||||
|
Счетчик |
TH |
тт |
Счетчик |
TH |
ТТ |
Счетчик |
TH |
ТТ |
Счетчик |
TH |
ТТ |
Счетчик |
TH |
ТТ | |||||||||||||||||||||||||||||||
|
31857-06 |
Ксч=1 |
KT=0,5S/l |
11094-87 |
Ктн=6000/100 |
КТ=0,2 |
15128-96 |
Ктт=1500/5 |
| КТ=0,5 |
31857-06 |
Ксч=1 |
KT=0,5S/l |
11094-87 |
Ктн=6000/100 |
КТ=0,2 |
15128-96 |
Ктт=1500/5 |
| КТ=0,5 |
31857-06 |
Ксч=1 |
KT=0,5S/l |
11094-87 |
Ктн=6000/100 |
КТ=0,2 |
15128-96 |
Ктт=1500/5 |
| КТ=0,5 |
31857-06 |
Ксч=1 |
KT=0,5S/l |
11094-87 |
Ктн=6000/100 |
КТ=0,2 |
15128-96 |
Ктт=1500/5 |
| КТ=0,5 |
31857-06 |
Ксч=1 |
KT=0,5S/l |
3344-04 |
5 Я л w |
KT=0,5 |
15128-96 |
Ктт=50/5 |
| КТ=0,5 | |
|
A1805RAL-P4GB- DW-4 |
О |
ГО |
> |
О |
ГО |
> |
A1805RAL-P4GB- DW-4 |
О |
ГО |
> |
О |
ГО |
> |
A1805RAL-P4GB- DW-4 |
О |
ГО |
> |
О |
ГО |
> |
A1805RAL-P4GB- DW-4 |
О |
ГО |
> |
О |
ГО |
> |
A1805RAL-P4GB- DW-4 |
О |
td |
> |
О |
ГО |
> |
-U | ||||||||||
|
НАМИ-10У2 |
ТОЛ-10 02.1 |
| ТОЛ-10 02.1 |
НАМИ-10У2 |
ТОЛ-10 02.1 |
| ТОЛ-10 02.1 |
НАМИ-10У2 |
ТОЛ-10 02.1 |
| ТОЛ-10 02.1 |
НАМИ-10У2 |
ТОЛ-10 02.1 |
| ТОЛ-10 02.1 |
ЗНОЛ.06-6УЗ |
ЗНОЛ.06-6УЗ |
ЗНОЛ.06-6УЗ |
ТОЛ-Ю-1-ПУ2 |
| ТОЛ-Ю-1-ПУ2 | |||||||||||||||||||||||||||||
|
1208619 |
№ 4082 |
№ 49468 |
| № 49577 |
1208613 |
№ 3986 |
№ 5111 |
| № 49561 |
1208764 |
№ 3985 |
№ 49459 |
| № 51115 |
12208585 |
№ 3984 |
№ 48427 |
| № 51109 |
1208625 |
№ 2705 |
№ 2712 |
№ 2709 |
№ 4637 |
| № 17109 | ||||||||||||||||||||||||
|
18000 |
18000 |
18000 |
18000 |
600 | |||||||||||||||||||||||||||||||||||||||||
|
1+ 6''- О'- |
1+ 6''- О'- |
1+ 6''- О'- |
1+ 6''- О'- |
1+ О4- о''- |
<1 | ||||||||||||||||||||||||||||||||||||||||
|
ьн н- 6''- О'- |
ьн н- 6''- О'- |
ьн н- W ЦА 6''- О'- |
ьн н- W ЦА 6''- О'- |
н- О4- о''- |
00 | ||||||||||||||||||||||||||||||||||||||||
Продолжение таблицы 2
|
274 |
273 |
272 |
271 |
270 |
।—‘ | ||||||||||||||||||||||||||||||||||||||||
|
ПС 110/6 кВ "Шукшинская" КРУН-6 кВ АГРС №2 яч. 36 |
ПС 110/6 кВ "Шукшинская" КРУН-6 кВ АГРС№1яч. 12 |
ПС 110/6 кВ "Лямино" ТСН-1 Куина от ВЛБ-1 |
ПС 110/6 кВ "Водная" ШМ-6 2Т яч. 06 |
ПС 110/6 кВ "Водная" ШМ-6 1Тяч. 14 |
ю | ||||||||||||||||||||||||||||||||||||||||
|
Счетчик |
тн |
тт |
Счетчик |
тн |
тт |
Счетчик |
тн |
тт |
Счетчик |
тн |
тт |
Счетчик |
тн |
тт |
U) | ||||||||||||||||||||||||||||||
|
31857-06 |
£ л Д |
Я |
W |
5 я Л w |
я |
ОО |
1 |
я |
ОС 00 |
£ Я Д |
Я |
W |
5 я Л w |
я |
со |
1 |
я |
00 |
£ Я Д |
Я !й |
о |
5 я л |
я |
со |
1 |
я |
00 |
£ Я Д |
Я !й |
о |
5 я л |
я |
о |
1 |
я |
00 |
£ Я Д |
Я !й |
о |
5 я л |
я |
Ьс |
1 |
я | |
|
A1805RAL-P4GB- DW-4 |
О |
td |
> |
О |
го |
> |
A1805RAL-P4GB- DW-4 |
О |
ГО |
> |
О |
го |
> |
A1805RAL-P4GB- DW-4 |
О |
го |
> |
О |
го |
> |
A1805RAL-P4GB- DW-4 |
О |
го |
> |
О |
го |
> |
A1805RAL-P4GB- DW-4 |
О |
го |
> |
о |
го |
> |
-U | ||||||||||
|
я о 5; W |
я о 5; W |
я о 5; W |
о |
о |
се я о 5; W |
се я о 5; W |
се я о 5; W |
о |
о |
НТМИ-6-66УЗ |
о |
о |
я я |
й в |
в |
я я |
я В ■< |
я В ■< | |||||||||||||||||||||||||||
|
1208594 |
ю» ЧО |
ю» W 00 W |
ю» ОС |
ю» 00 |
ю» ОС |
00 UC |
ю» со |
ю» W й |
ю» |
ю» |
ю» со S 00 |
00 о |
ю» |
г? ОО |
ю» |
ОО |
ю» 00 |
ю» |
ю» |
ОО |
ю» |
г? |
ю» | ||||||||||||||||||||||
|
2400 |
2400 |
600 |
24000 |
24000 |
04 | ||||||||||||||||||||||||||||||||||||||||
|
1+ 6''- О'- |
1+ 6''- О'- |
1+ 6''- О'- |
1+ О4- о''- |
1+ О4- о''- |
<1 | ||||||||||||||||||||||||||||||||||||||||
|
ьн н- 6''- О'- |
ьн н- 6''- О'- |
ьн н- W ЦА 6''- О'- |
н- W <О1 О4- о''- |
н- W <О1 О4- о''- |
00 | ||||||||||||||||||||||||||||||||||||||||
Продолжение таблицы 2
|
1 |
2 |
3 |
4 |
5 |
6 |
7 |
8 | ||
|
275 |
ПС 110/6 кВ №46 ("Белый Яр") ЗРУ-6кВ яч.№20 (ООО "СГЭС") |
11 |
КТ=0,5 |
А |
ТЛК-10-6 |
№ 1930 |
3600 |
± 1,2% ± 2,4% |
± 5,0% ± 3,0% |
|
Ктт=300/5 |
В |
- |
- | ||||||
|
42683-09 |
С |
ТЛК-10-6 |
№ 1890 | ||||||
|
ТН |
КТ=0,5 |
А |
НАМИТ-10 УХЛ2 | ||||||
|
Ктн=6000/100 |
В | ||||||||
|
16687-97 |
С | ||||||||
|
Счетчик |
KT=O,5S/1 |
A1805RL-P4GB-DW-4 |
1197009 | ||||||
|
Ксч=1 | |||||||||
|
31857-06 | |||||||||
|
276 |
ПС 220/110/35/10/6 кВ "Восточно Моховая" ШМ-6 1Т |
11 |
КТ=0,5 |
А |
ТЛК-10-6 У3 |
№ 10373 |
12000 |
± 1,1% ± 2,2% |
± 5,0% ± 2,3% |
|
Ктт=1000/5 |
В |
- |
- | ||||||
|
9143-01 |
С |
ТЛК-10-6 У3 |
№ 10325 | ||||||
|
ТН |
КТ=0,5 |
А |
НАМИТ-10-2 УХЛ2 |
№ 0721 | |||||
|
Ктн=6000/100 |
В | ||||||||
|
16687-02 |
С | ||||||||
|
Счетчик |
KT=O,2S/O,5 |
A1802RAL-P4GB- DW-4 |
1182942 | ||||||
|
Ксч=1 | |||||||||
|
31857-06 | |||||||||
|
277 |
ПС 220/110/35/10/6 кВ "Восточно Моховая" ШМ-6 2Т |
11 |
КТ=0,5 |
А |
ТЛК 10-6У3 |
№ 09893 |
12000 |
± 1,1% ± 2,2% |
± 5,0% ± 2,3% |
|
Ктт=1000/5 |
В |
- |
- | ||||||
|
9143-01 |
С |
ТЛК 10-6У3 |
№ 09903 | ||||||
|
ТН |
КТ=0,5 |
А |
НАМИТ-10-2 УХЛ2 |
№ 0657 | |||||
|
Ктн=6000/100 |
В | ||||||||
|
16687-02 |
С | ||||||||
|
Счетчик |
KT=O,2S/O,5 |
A1802RAL-P4GB- DW-4 |
1183005 | ||||||
|
Ксч=1 | |||||||||
|
31857-06 | |||||||||
|
278 |
ПС 35/6 кВ №121 РУ-6кВ яч.12 |
11 |
КТ=0,5 |
А |
ТЛК-10 |
№ 2040100000017 |
7200 |
± 1,2% ± 2,4% |
± 5,0% ± 3,0% |
|
Ктт=600/5 |
В |
ТЛК-10 |
№ 2039100000001 | ||||||
|
9143-06 |
С |
ТЛК-10 |
№ 2039100000002 | ||||||
|
ТН |
КТ=0,5 |
А |
НАЛИ-СЭЩ-6 |
№ 00346-10 | |||||
|
Ктн=6000/100 |
В | ||||||||
|
38394-08 |
С | ||||||||
|
Счетчик |
KT=O,5S/1 |
A1805RAL-P4GB- DW-4 |
1208680 | ||||||
|
Ксч=1 | |||||||||
|
31857-06 | |||||||||
|
279 |
ПС 35/6 кВ №68 РУ-6кВ яч.02 |
11 |
КТ=0,5 |
А |
ТЛК-10 |
№ 2040100000019 |
7200 |
± 1,2% ± 2,4% |
± 5,0% ± 3,0% |
|
Ктт=600/5 |
В |
ТЛК-10 |
№ 2040100000020 | ||||||
|
9143-06 |
С |
ТЛК-10 |
№ 2040100000024 | ||||||
|
ТН |
КТ=0,5 |
А |
НАЛИ-СЭЩ-6 |
№ 00338-10 | |||||
|
Ктн=6000/100 |
В | ||||||||
|
38394-08 |
С | ||||||||
|
Счетчик |
KT=O,5S/1 |
A1805RAL-P4GB- DW-4 |
1208782 | ||||||
|
Ксч=1 | |||||||||
|
31857-06 | |||||||||
|
284 |
283 |
282 |
281 |
280 |
1—‘ | ||||||||||||||||||||||||||||||||||||||||
|
ПС 110/ЮкВ "Нулевая" ТСН-2 |
ПС 110/ЮкВ "Нулевая" ТСН-1 |
ПС 110/10 кВ "КСП-4" ПС 10/0,4кВ №256 2ТСН |
ПС 110/10 кВ "КСП-4" ПС 10/0,4кВ №256 ITCH |
ПС 35/6 кВ №68 РУ-бкВ яч. 12 |
ю | ||||||||||||||||||||||||||||||||||||||||
|
Счетчик |
TH |
ТТ |
Счетчик |
TH |
ТТ |
Счетчик |
TH |
ТТ |
Счетчик |
TH |
ТТ |
Счетчик |
TH |
ТТ | |||||||||||||||||||||||||||||||
|
31857-06 |
Ксч=1 |
KT=0,5S/l |
нет TH |
15174-06 |
Ктг= 100/5 |
КТ=0,5 |
31857-06 |
Ксч=1 |
KT=0,5S/l |
нет TH |
15174-06 |
Ктг= 100/5 |
КТ=0,5 |
31857-06 |
Ксч=1 |
KT=0,5S/l |
нет TH |
6891-85, 22656-02 |
Ктг= 100/5 |
КТ=0,5 |
31857-06 |
Ксч=1 |
KT=0,5S/l |
нет TH |
22656-02 |
Ктг= 100/5 |
КТ=0,5 |
31857-06 |
Ксч=1 |
KT=0,5S/l |
38394-08 |
Ктн=6000/100 |
КТ=0,5 |
9143-06 |
Ктг=600/5 |
КТ=0,5 | |||||||||
|
A1805RL-P4GB-DW-4 |
О |
ГО |
> |
A1805RL-P4GB-DW-4 |
О |
ГО |
> |
A1805RL-P4GB-DW-4 |
О |
ГО |
> |
A1805RLX-P4G-DW-4 |
О |
ГО |
> |
A1805RAL-P4GB- DW-4 |
О |
ГО |
> |
О |
ГО |
> |
-U | ||||||||||||||||||||||
|
ТОП-0,66 |
ТОП-0,66 |
ТОП-0,66 |
ТОП-0,66 |
ТОП-0,66 |
ТОП-0,66 |
Т-0,66 УЗ |
ТОП-0,66 УЗ |
Т-0,66 УЗ |
Т-0,66 УЗ |
Т-0,66 УЗ |
Т-0,66 УЗ |
НАЛИ-СЭЩ-6 |
ТЛК-10 |
ТЛК-10 |
ТЛК-10 | ||||||||||||||||||||||||||||||
|
1210890 |
№ 48314 |
№ 48305 |
№ 48315 |
1210888 |
№ 95625 |
№ 22876 |
№ 98362 |
1210901 |
№ 28561 |
№ 9029341 |
№ 64663 |
1194703 |
№ 29172 |
№ 29107 |
№ 02385 |
1208659 |
№ 00334-10 |
№ 2040100000025 |
№ 2040100000023 |
№ 2040100000022 | |||||||||||||||||||||||||
|
20 |
20 |
20 |
20 |
7200 | |||||||||||||||||||||||||||||||||||||||||
|
1+ So 6''- О'- |
1+ Ss 6''- О'- |
1+ 6''- О'- |
1+ 6''- О'- |
1+ О4- о''- |
<1 | ||||||||||||||||||||||||||||||||||||||||
|
ьн н- 6''- О'- |
ьн н- 6''- О'- |
ьн н- W ЦА 6''- О'- |
ьн н- W ЦА 6''- О'- |
н- О4- о''- |
00 | ||||||||||||||||||||||||||||||||||||||||
Продолжение таблицы 2
|
289 |
288 |
287 |
286 |
285 |
1—‘ | ||||||||||||||||||||||||||||||||||||||||
|
ПС 110/35/6 кВ "Алехинская" ITCH яч.16, 2ТСН яч.36 |
ПС 110/35/6 кВ "Агат" ТСН-2 |
ПС 110/35/6 кВ "Агат" ТСН-1 |
ПС 110/35/10 кВ "КНС-7" ЗРУ КНС-7 (КС-7) 2ТСН яч. 16 |
ПС 110/35/10 кВ "КНС-7" ЗРУ КНС-7 (КС-7) 1ТСНяч. 07 |
ю | ||||||||||||||||||||||||||||||||||||||||
|
Счетчик |
TH |
ТТ |
Счетчик |
TH |
ТТ |
Счетчик |
TH |
ТТ |
Счетчик |
TH |
ТТ |
Счетчик |
TH |
ТТ | |||||||||||||||||||||||||||||||
|
31857-06 |
Ксч=1 |
KT=0,5S/l |
нет TH |
15764-96 |
Ктг= 100/5 |
КТ=0,5 |
31857-06 |
Ксч=1 |
KT=0,5S/l |
нет TH |
15174-01 |
Ктг=200/5 |
КТ=0,5 |
31857-06 |
Ксч=1 |
KT=0,5S/l |
нет TH |
15174-01 |
Ктг=200/5 |
КТ=0,5 |
31857-06 |
Ксч=1 |
KT=0,5S/l |
нет TH |
6891-85 |
Ктг= 100/5 |
KT=0,5S |
31857-06 |
Ксч=1 |
KT=0,5S/l |
нет TH |
6891-85 |
Ктг= 100/5 |
KT=0,5S | |||||||||||
|
A1805RL-P4GB-DW-4 |
О |
ГО |
> |
A1805RAL-P4GB- DW-4 |
О |
ГО |
> |
A1805RAL-P4GB- DW-4 |
О |
ГО |
> |
A1805RAL-P4GB- DW-4 |
О |
ГО |
> |
A1805RAL-P4GB- DW-4 |
О |
ГО |
> |
-U | |||||||||||||||||||||||||
|
Т-0,66 УЗ |
Т-0,66 УЗ |
Т-0,66 УЗ |
ТОП-0,66 УЗ |
ТОП-0,66 УЗ |
ТОП-0,66 УЗ |
ТОП-0,66 УЗ |
ТОП-0,66 УЗ |
ТОП-0,66 УЗ |
Т-0,66 УЗ |
Т-0,66 УЗ |
Т-0,66 УЗ |
Т-0,66 УЗ |
Т-0,66 УЗ |
Т-0,66 УЗ | |||||||||||||||||||||||||||||||
|
1210914 |
№ 03921-00 |
№ 01862-00 |
№ 02304-00 |
1203688 |
№ 67839 |
№ 67827 |
№ 67808 |
1203687 |
№ 55997 |
№ 57987 |
№ 58012 |
1210955 |
080000 °Я |
№ 195194 |
№ 009548 |
1210953 |
№ 009480 |
№ 205810 |
№ 009407 | ||||||||||||||||||||||||||
|
20 |
40 |
40 |
20 |
20 | |||||||||||||||||||||||||||||||||||||||||
|
1+ ^ф So ф'- Ф’- |
1+ So ©"- О'- |
1+ ^о S о'-- О'- |
1+ ф'- ф'- |
1+ ф'- ф'- |
<1 | ||||||||||||||||||||||||||||||||||||||||
|
ьн н- ф’- Ф’- |
ьн н- Ф’- 6'- |
ьн н- 6'- 6'- |
ьн н- S© 5 ф'- ф'- |
ьн н- S© 5 ф'- ф'- |
00 | ||||||||||||||||||||||||||||||||||||||||
Продолжение таблицы 2
|
294 |
293 |
292 |
291 |
290 |
1—‘ | ||||||||||||||||||||||||||||||||||||||||
|
ПС 110/35/6 кВ "Брусничная" ITCH |
ПС 110/35/6 кВ "Блочная" 2ТСН яч. 19 |
ПС 110/35/6 кВ "Блочная" 1ТСНяч. 09 |
ПС 110/35/6 кВ "Алмаз" ТСН-2 |
ПС 110/35/6 кВ "Алмаз" ТСН-1 |
ю | ||||||||||||||||||||||||||||||||||||||||
|
Счетчик |
TH |
ТТ |
Счетчик |
TH |
ТТ |
Счетчик |
TH |
ТТ |
Счетчик |
TH |
ТТ |
Счетчик |
TH |
ТТ | |||||||||||||||||||||||||||||||
|
31857-06 |
Ксч=1 |
KT=0,5S/l |
нет TH |
22656-07 |
Ктг=200/5 |
KT=0,5S |
31857-06 |
Ксч=1 |
KT=0,5S/l |
нет TH |
29482-07 |
Ктг= 100/5 |
КТ=0,5 |
31857-06 |
Ксч=1 |
KT=0,5S/l |
нет TH |
22656-02 |
Ктг= 100/5 |
КТ=0,5 |
31857-06 |
Ксч=1 |
KT=0,5S/l |
нет TH |
15174-96 |
Ктг= 100/5 |
КТ=0,5 |
31857-06 |
Ксч=1 |
KT=0,5S/l |
нет TH |
15764-96 |
Ктг= 100/5 |
КТ=0,5 | |||||||||||
|
A1805RL-P4GB-DW-4 |
О |
ГО |
> |
A1805RAL-P4GB- DW-4 |
О |
ГО |
> |
A1805RAL-P4GB- DW-4 |
О |
ГО |
> |
A1805RAL-P4GB- DW-4 |
О |
ГО |
> |
A1805RAL-P4GB- DW-4 |
О |
ГО |
> |
-U | |||||||||||||||||||||||||
|
Т-0,66 УЗ |
Т-0,66 УЗ |
Т-0,66 УЗ |
Т-0,66 УЗ |
Т-0,66 УЗ |
Т-0,66 УЗ |
Т-0,66 УЗ |
Т-0,66 УЗ |
Т-0,66 УЗ |
ТОП-0,66 УЗ |
ТОП-0,66 УЗ |
ТОП-0,66 УЗ |
Т-0,66 УЗ |
Т-0,66 УЗ |
Т-0,66 УЗ | |||||||||||||||||||||||||||||||
|
1210906 |
№ 48816 |
№ 49026 |
№ 42180 |
1208679 |
№ 040600 |
№ 047995 |
№ 25312 |
1208714 |
№ 048257 |
№ 040610 |
№ 040538 |
1190873 |
№ 32743 |
№ 19670 |
№ 19675 |
1190874 |
№ 00792-02 |
№ 44170-02 |
№ 44140-02 | ||||||||||||||||||||||||||
|
40 |
20 |
20 |
20 |
20 | |||||||||||||||||||||||||||||||||||||||||
|
1+ ^ф So О'- О’- |
1+ So О’- О’- |
1+ So О’- О’- |
1+ So о”- О’- |
1+ ^о S о”- О'- |
<1 | ||||||||||||||||||||||||||||||||||||||||
|
ьн н- '~о 5 О'- О’- |
ьн н- О’- О’- |
ьн н- О’- О’- |
ьн н- So о’’- о’’- |
ьн н- So 6'- 6'- |
00 | ||||||||||||||||||||||||||||||||||||||||
Продолжение таблицы 2
W о <т>
о
й к о н о to
|
299 |
298 |
297 |
296 |
295 |
1—‘ | ||||||||||||||||||||||||||||||||||||||||
|
ПС 110/35/6 кВ "Вега" 2ТСН |
ПС 110/35/6 кВ "Вега" ITCH |
ПС 110/35/6 кВ "Вачимская" ТСН-2 |
ПС 110/35/6 кВ "Вачимская" ТСН-1 |
ПС 110/35/6 кВ "Брусничная" 2ТСН |
ю | ||||||||||||||||||||||||||||||||||||||||
|
Счетчик |
TH |
ТТ |
Счетчик |
TH |
ТТ |
Счетчик |
TH |
ТТ |
Счетчик |
TH |
ТТ |
Счетчик |
TH |
ТТ | |||||||||||||||||||||||||||||||
|
31857-06 |
Ксч=1 |
KT=0,5S/l |
нет TH |
22656-02 |
Ктг= 100/5 |
КТ=0,5 |
31857-06 |
Ксч=1 |
KT=0,5S/l |
нет TH |
22656-02 |
Ктг= 100/5 |
КТ=0,5 |
31857-06 |
Ксч=1 |
KT=0,5S/l |
нет TH |
15174-01 |
Ктг= 100/5 |
КТ=0,5 |
31857-06 |
Ксч=1 |
KT=0,5S/l |
нет TH |
21573-01 |
Ктг= 100/5 |
КТ=0,5 |
31857-06 |
Ксч=1 |
KT=0,5S/l |
нет TH |
22656-07 |
Ктг=200/5 |
KT=0,5S | |||||||||||
|
A1805RL-P4GB-DW-4 |
О |
ГО |
> |
A1805RL-P4GB-DW-4 |
О |
ГО |
> |
A1805RAL-P4GB- DW-4 |
О |
ГО |
> |
A1805RAL-P4GB- DW-4 |
О |
ГО |
> |
A1805RL-P4GB-DW-4 |
О |
ГО |
> |
-U | |||||||||||||||||||||||||
|
Т-0,66 УЗ |
Т-0,66 УЗ |
Т-0,66 УЗ |
Т-0,66 УЗ |
Т-0,66 УЗ |
Т-0,66 УЗ |
ТОП-0,66 УЗ |
ТОП-0,66 УЗ |
ТОП-0,66 УЗ |
Т-0,66 УЗ |
Т-0,66 УЗ |
Т-0,66 УЗ |
Т-0,66 УЗ |
Т-0,66 УЗ |
Т-0,66 УЗ | |||||||||||||||||||||||||||||||
|
1210939 |
№ 077267 |
№ 076920 |
№ 074717 |
1210938 |
№ 076429 |
№ 077117 |
№ 076915 |
1203696 |
№ 33877 |
№ 32512 |
№ 32659 |
1203680 |
№ 00465 |
№ 00987 |
№ 00043 |
1210912 |
№ 49197 |
№ 42187 |
№ 46392 | ||||||||||||||||||||||||||
|
20 |
20 |
20 |
20 |
40 | |||||||||||||||||||||||||||||||||||||||||
|
1+ ^ф So О'- О’- |
1+ So О’- О’- |
1+ So о”- О’- |
1+ ^о S о”- О'- |
1+ о’’- о’’- |
<1 | ||||||||||||||||||||||||||||||||||||||||
|
ьн н- О’- О’- |
ьн н- О’- О’- |
ьн н- So о’’- о’’- |
ьн н- So 6'- 6'- |
ьн н- S© 5 о’’- ф'- |
00 | ||||||||||||||||||||||||||||||||||||||||
Продолжение таблицы 2
W о <т>
о
й к о н о to
|
304 |
303 |
302 |
301 |
300 |
1—‘ | ||||||||||||||||||||||||||||||||||||||||
|
ПС 110/35/6 кВ "КНС-2" ITCH |
ПС 110/35/6 кВ "Дорожная" 2ТСН яч. 14 |
ПС 110/35/6 кВ "Дорожная" ITCH яч. 05 |
ПС 110/35/6 кВ "Дальняя" ТСН-2 |
ПС 110/35/6 кВ "Дальняя" ТСН-1 |
ю | ||||||||||||||||||||||||||||||||||||||||
|
Счетчик |
TH |
ТТ |
Счетчик |
TH |
ТТ |
Счетчик |
TH |
ТТ |
Счетчик |
TH |
ТТ |
Счетчик |
TH |
ТТ | |||||||||||||||||||||||||||||||
|
31857-06 |
Ксч=1 |
KT=0,5S/l |
нет TH |
40473-09 |
Ктг=200/5 |
КТ=0,5 |
31857-06 |
Ксч=1 |
KT=0,5S/l |
нет TH |
3728-99 |
Ктг=600/5 |
КТ=0,5 |
31857-06 |
Ксч=1 |
KT=0,5S/l |
нет TH |
3728-99 |
Ктг=600/5 |
КТ=0,5 |
31857-06 |
Ксч=1 |
KT=0,5S/l |
нет TH |
15174-01 |
Ктг=200/5 |
КТ=0,5 |
31857-06 |
Ксч=1 |
KT=0,5S/l |
нет TH |
15174-01 |
Ктг=200/5 |
КТ=0,5 | |||||||||||
|
A1805RL-P4GB-DW-4 |
О |
ГО |
> |
A1805RL-P4GB-DW-4 |
О |
ГО |
> |
A1805RL-P4GB-DW-4 |
О |
ГО |
> |
A1805RAL-P4GB- DW-4 |
О |
ГО |
> |
A1805RAL-P4GB- DW-4 |
О |
ГО |
> |
-U | |||||||||||||||||||||||||
|
Т-0,66 УЗ |
Т-0,66 УЗ |
Т-0,66 УЗ |
ТШН-0,66 УТЗ |
ТШН-0,66 УТЗ |
ТШН-0,66 УТЗ |
ТШН-0,66 УТЗ |
ТШН-0,66 УТЗ |
ТШН-0,66 УТЗ |
ТОП-0,66 УЗ |
ТОП-0,66 УЗ |
ТОП-0,66 УЗ |
ТОП-0,66 УЗ |
ТОП-0,66 УЗ |
ТОП-0,66 УЗ | |||||||||||||||||||||||||||||||
|
1210919 |
№ 49020 |
№ 49217 |
№ 49016 |
1210917 |
№ 2764 |
№ 5906 |
ю» о |
1210923 |
№ 5723 |
№ 5987 |
№ 6650 |
1203695 |
№ 9027190 |
№ 9027193 |
№ 9027185 |
1203679 |
№ 9027165 |
№ 9026892 |
№ 9027168 | ||||||||||||||||||||||||||
|
40 |
120 |
120 |
40 |
40 | |||||||||||||||||||||||||||||||||||||||||
|
1+ ^ф So О'-- о''- |
1+ ^ф Ss О'-- о''- |
1+ ^ф Ss О'-- о''- |
1+ So О'-, ©"- |
1+ О'-, ©"- |
<1 | ||||||||||||||||||||||||||||||||||||||||
|
ьн н- О'-- о''- |
ьн н- О'-- о''- |
ьн н- W ЦА О'-- о''- |
ьн н- ф'-- О'-- |
ьн н- 6'-- 6'-- |
00 | ||||||||||||||||||||||||||||||||||||||||
Продолжение таблицы 2
|
309 |
308 |
307 |
306 |
305 |
1—‘ | ||||||||||||||||||||||||||||||||||||||||
|
ПС 110/35/6 кВ "КНС-6" 2ТСНяч. 06 |
ПС 110/35/6 кВ "КНС-6" 1ТСНяч. 09 |
ПС 110/35/6 кВ "КНС-4" 2ТСН |
ПС 110/35/6 кВ "КНС-4" ITCH |
ПС 110/35/6 кВ "КНС-2" 2ТСН |
ю | ||||||||||||||||||||||||||||||||||||||||
|
Счетчик |
TH |
ТТ |
Счетчик |
TH |
ТТ |
Счетчик |
TH |
ТТ |
Счетчик |
TH |
ТТ |
Счетчик |
TH |
ТТ | |||||||||||||||||||||||||||||||
|
31857-06 |
Ксч=1 |
KT=0,5S/l |
нет TH |
22656-02 |
Ктг= 100/5 |
КТ=0,5 |
31857-06 |
Ксч=1 |
KT=0,5S/l |
нет TH |
22656-02 |
Ктг= 100/5 |
КТ=0,5 |
31857-06 |
Ксч=1 |
KT=0,5S/l |
нет TH |
40473-09 |
Ктг=200/5 |
КТ=0,5 |
31857-06 |
Ксч=1 |
KT=0,5S/l |
нет TH |
15764-96 |
Ктг= 100/5 |
КТ=0,5 |
31857-06 |
Ксч=1 |
KT=0,5S/l |
нет TH |
40473-09 |
Ктг=200/5 |
КТ=0,5 | |||||||||||
|
A1805RL-P4GB-DW-4 |
О |
ГО |
> |
A1805RL-P4GB-DW-4 |
О |
ГО |
> |
A1805RL-P4GB-DW-4 |
О |
ГО |
> |
A1805RL-P4GB-DW-4 |
О |
ГО |
> |
A1805RL-P4GB-DW-4 |
О |
ГО |
> |
-U | |||||||||||||||||||||||||
|
Т-0,66 УЗ |
Т-0,66 УЗ |
Т-0,66 УЗ |
Т-0,66 УЗ |
Т-0,66 УЗ |
Т-0,66 УЗ |
Т-0,66 УЗ |
Т-0,66 УЗ |
Т-0,66 УЗ |
Т-0,66 УЗ |
Т-0,66 УЗ |
Т-0,66 УЗ |
Т-0,66 УЗ |
Т-0,66 УЗ |
Т-0,66 УЗ | |||||||||||||||||||||||||||||||
|
1210892 |
№ 28988 |
№ 28833 |
№ 28832 |
1210891 |
№ 28917 |
№ 28829 |
№ 28993 |
1210915 |
№ 48820 |
№ 48813 |
№ 49036 |
1210911 |
№ 01795 |
№ 02077 |
№ 01876 |
1210903 |
№ 49043 |
№ 48811 |
№ 48810 | ||||||||||||||||||||||||||
|
20 |
20 |
40 |
20 |
40 | |||||||||||||||||||||||||||||||||||||||||
|
1+ х© <5© |
1+ х© $© ©'-- ©-■- |
1+ X© УФ ©'-- ©-■- |
1+ X© УФ ©'-- ©-■- |
1+ X© УФ ©'-- ©-■- |
<1 | ||||||||||||||||||||||||||||||||||||||||
|
ьн н- W у. ©'-- Ф'-- |
ьн н- W у. ©'-- ©'■- |
ьн н- ©'-- ©'■- |
ьн н- ©'-- ©'■- |
н- ©^ ©^ |
00 | ||||||||||||||||||||||||||||||||||||||||
Продолжение таблицы 2
W о л>
о
й к о н о to
|
314 |
313 |
312 |
311 |
310 |
1—‘ | ||||||||||||||||||||||||||||||||||||||||
|
ПС 110/35/6 кВ "Лянторская" ITCH яч. 04, 2ТСН яч. 23 |
ПС 110/35/6 кВ "Куст" ТСН-2 яч. 14 |
ПС 110/35/6 кВ "Куст" ТСН-1 яч. 04 |
ПС 110/35/6 кВ "КНС-9" 2ТСН |
ПС 110/35/6 кВ "КНС-9" ITCH |
ю | ||||||||||||||||||||||||||||||||||||||||
|
Счетчик |
TH |
ТТ |
Счетчик |
TH |
ТТ |
Счетчик |
TH |
ТТ |
Счетчик |
TH |
ТТ |
Счетчик |
TH |
ТТ | |||||||||||||||||||||||||||||||
|
31857-06 |
Ксч=1 |
KT=0,5S/l |
нет TH |
15698-96 |
Ктг= 100/5 |
КТ=0,5 |
31857-06 |
Ксч=1 |
KT=0,5S/l |
нет TH |
22656-02 |
Ктг= 100/5 |
КТ=0,5 |
31857-06 |
Ксч=1 |
KT=0,5S/l |
нет TH |
22656-02 |
Ктг= 100/5 |
КТ=0,5 |
31857-06 |
Ксч=1 |
KT=0,5S/l |
нет TH |
40473-09 |
Ктг=200/5 |
КТ=0,5 |
31857-06 |
Ксч=1 |
KT=0,5S/l |
нет TH |
40473-09 |
Ктг=200/5 |
КТ=0,5 | |||||||||||
|
A1805RL-P4GB-DW-4 |
О |
ГО |
> |
A1805RL-P4GB-DW-4 |
О |
ГО |
> |
A1805RL-P4GB-DW-4 |
О |
ГО |
> |
A1805RL-P4GB-DW-4 |
О |
ГО |
> |
A1805RL-P4GB-DW-4 |
О |
ГО |
> |
-U | |||||||||||||||||||||||||
|
Т-0,66 |
Т-0,66 |
Т-0,66 |
Т-0,66 УЗ |
Т-0,66 УЗ |
Т-0,66 УЗ |
Т-0,66 УЗ |
Т-0,66 УЗ |
Т-0,66 УЗ |
Т-0,66 УЗ |
Т-0,66 УЗ |
Т-0,66 УЗ |
Т-0,66 УЗ |
Т-0,66 УЗ |
Т-0,66 УЗ | |||||||||||||||||||||||||||||||
|
1210902 |
№ 81736 |
№ 81674 |
№ 81569 |
1210907 |
№ 20801 |
№ 65332 |
№ 33388 |
1210920 |
ю» |
№ 92403 |
№ 92011 |
1210956 |
№ 072230 |
№ 072355 |
№ 072354 |
1210900 |
№ 072356 |
№ 072391 |
№ 072234 | ||||||||||||||||||||||||||
|
20 |
20 |
20 |
40 |
40 | |||||||||||||||||||||||||||||||||||||||||
|
1+ х© <5© ©'-- ©''- |
1+ х© $© ©'-- ©'-. |
1+ X© УФ ©'-- ©'-. |
1+ X© УФ ©'-- ©'-. |
1+ X© УФ ©'-- ©'-. |
<1 | ||||||||||||||||||||||||||||||||||||||||
|
ьн н- W у. ©'-- Ф'-- |
ьн н- W у. ©'-- ©'-. |
ьн н- ©'-- ©--. |
ьн н- ©'-- ©--. |
ьн н- ©^ ©--. |
ОО | ||||||||||||||||||||||||||||||||||||||||
Продолжение таблицы 2
00
|
319 |
318 |
317 |
316 |
315 |
1—‘ | ||||||||||||||||||||||||||||||||||||||||
|
ПС 110/35/6 кВ "Родниковая" 2ТСН яч. 36 |
ПС 110/35/6 кВ "Родниковая" ITCH яч. 12 |
ПС 110/35/6 кВ "Нижнесортымская" 2ТСН |
ПС 110/35/6 кВ "Нижнесортымская" ITCH |
ПС 110/35/6 кВ "Маслиховская" 1ТСНяч. 03, 2ТСН яч. 13 |
ю | ||||||||||||||||||||||||||||||||||||||||
|
Счетчик |
TH |
ТТ |
Счетчик |
TH |
ТТ |
Счетчик |
TH |
ТТ |
Счетчик |
TH |
ТТ |
Счетчик |
TH |
ТТ | |||||||||||||||||||||||||||||||
|
31857-06 |
Ксч=1 |
KT=0,5S/l |
нет TH |
22656-02 |
Я 3 II W |
КТ=0,5 |
31857-06 |
Ксч=1 |
KT=0,5S/l |
нет TH |
6891-85 |
Ктг=200/5 |
КТ=0,5 |
31857-06 |
Ксч=1 |
KT=0,5S/l |
нет TH |
15174-01 |
Ктг= 100/5 |
КТ=0,5 |
31857-06 |
Ксч=1 |
KT=0,5S/l |
нет TH |
15174-01 |
Ктг= 100/5 |
КТ=0,5 |
31857-06 |
Ксч=1 |
KT=0,5S/l |
нет TH |
22656-02 |
Ктг= 100/5 |
КТ=0,5 | |||||||||||
|
A1805RL-P4GB-DW-4 |
О |
ГО |
> |
A1805RL-P4GB-DW-4 |
О |
ГО |
> |
A1805RAL-P4GB- DW-4 |
О |
ГО |
> |
A1805RL-P4GB-DW-4 |
О |
ГО |
> |
A1805RL-P4GB-DW-4 |
О |
ГО |
> |
-U | |||||||||||||||||||||||||
|
Т-0,66 УЗ |
Т-0,66 УЗ |
Т-0,66 УЗ |
Т-0,66 УЗ |
Т-0,66 УЗ |
Т-0,66 УЗ |
ТОП-0,66 УЗ |
ТОП-0,66 УЗ |
ТОП-0,66 УЗ |
ТОП-0,66 УЗ |
ТОП-0,66 УЗ |
ТОП-0,66 УЗ |
Т-0,66 УЗ |
Т-0,66 УЗ |
Т-0,66 УЗ | |||||||||||||||||||||||||||||||
|
1177341 |
№ 046140 |
№ 046087 |
№ 046143 |
1177328 |
№ 77784 |
№ 81885 |
№ 82990 |
1210909 |
№ 0036809 |
№ 0036262 |
№ 0036807 |
1210905 |
№ 0032987 |
№ 0032983 |
№ 0032985 |
1210896 |
№ 11780 |
№ 11813 |
№ 11711 | ||||||||||||||||||||||||||
|
60 |
40 |
20 |
20 |
20 | |||||||||||||||||||||||||||||||||||||||||
|
1+ х© <5© |
1+ х© $© ©'-- ©'-. |
1+ X© УФ ©'-- ©--. |
1+ X© УФ ©'-- ©--. |
1+ X© УФ ©'-- ©'-. |
<1 | ||||||||||||||||||||||||||||||||||||||||
|
ьн н- W у. ©'-- Ф'-- |
ьн н- W у. ©'-- ©'-. |
ьн н- W у> ©'-- ©'-. |
ьн н- ©'-- ©'-. |
ьн н- ©'-- ©--. |
ОО | ||||||||||||||||||||||||||||||||||||||||
Продолжение таблицы 2
W о л>
о
й к о н о to
|
324 |
323 |
322 |
321 |
320 |
1—‘ | ||||||||||||||||||||||||||||||||||||||||
|
ПС 110/35/6 кВ "Элегаз" ITCH яч. 01 |
ПС 110/35/6 кВ "Технолог" 2ТСН яч. 15 |
ПС 110/35/6 кВ "Технолог" 1ТСНяч. 08 |
ПС 110/35/6 кВ "Савуйская" 2ТСН |
ПС 110/35/6 кВ "Савуйская" ITCH |
ю | ||||||||||||||||||||||||||||||||||||||||
|
Счетчик |
TH |
ТТ |
Счетчик |
TH |
ТТ |
Счетчик |
TH |
ТТ |
Счетчик |
TH |
ТТ |
Счетчик |
TH |
ТТ | |||||||||||||||||||||||||||||||
|
31857-06 |
Ксч=1 |
KT=0,5S/l |
нет TH |
1407-60 |
Ктг= 100/5 |
КТ=0,5 |
31857-06 |
Ксч=1 |
KT=0,5S/l |
нет TH |
1407-60 |
Ктг= 100/5 |
КТ=0,5 |
31857-06 |
Ксч=1 |
KT=0,5S/l |
нет TH |
1407-60 |
Ктг= 100/5 |
КТ=0,5 |
31857-06 |
Ксч=1 |
KT=0,5S/l |
нет TH |
15174-96 |
Ктг= 100/5 |
КТ=0,5 |
31857-06 |
Ксч=1 |
KT=0,5S/l |
нет TH |
15174-96 |
Ктг= 100/5 |
КТ=0,5 | |||||||||||
|
A1805RAL-P4GB- DW-4 |
О |
ГО |
> |
A1805RL-P4GB-DW-4 |
О |
ГО |
> |
A1805RL-P4GB-DW-4 |
О |
ГО |
> |
A1805RL-P4GB-DW-4 |
О |
ГО |
> |
A1805RL-P4GB-DW-4 |
О |
ГО |
> |
-U | |||||||||||||||||||||||||
|
ТК-20 |
ТК-20 |
ТК-20 |
ТК-20 |
ТК-20 |
ТК-20 |
ТК-20 |
ТК-20 |
ТК-20 |
ТОП-0,66 УЗ |
ТОП-0,66 УЗ |
ТОП-0,66 УЗ |
ТОП-0,66 УЗ |
ТОП-0,66 УЗ |
ТОП-0,66 УЗ | |||||||||||||||||||||||||||||||
|
1208796 |
№ 14678 |
№ 100 |
№ 150 |
1210922 |
№ 59097 |
№ 60095 |
№ 61034 |
1210921 |
№ 71806 |
№ 59592 |
№ 60877 |
1171577 |
№ 114370 |
№ 114320 |
№ 117104 |
1171578 |
№ 116399 |
№ 114263 |
№ 114252 | ||||||||||||||||||||||||||
|
20 |
20 |
20 |
20 |
20 | |||||||||||||||||||||||||||||||||||||||||
|
1+ х© <5© ©'-- ©''- |
1+ х© $© ©'-- ©--. |
1+ X© УФ ©'-- ©--. |
1+ X© УФ ©'-- ©--. |
1+ X© УФ ©'-- ©--. |
<1 | ||||||||||||||||||||||||||||||||||||||||
|
ьн н- W у. ©'-- Ф'-- |
ьн н- W у. ©'-- ©-■- |
ьн н- ©'-- ©-■- |
ьн н- ©'-- ©-■- |
н- ©^ ©-■- |
ОО | ||||||||||||||||||||||||||||||||||||||||
Продолжение таблицы 2
|
1 |
2 |
3 |
4 |
5 |
6 |
7 |
8 | ||
|
325 |
ПС 110/35/6 кВ "Элегаз" 2ТСН яч. 06 |
11 |
КТ=0,5 |
А |
ТК-20 |
№ 5 |
о |
± 1,0% ± 2,1% |
± 5,0% ± 3,0% |
|
Ктт=100/5 |
В |
ТК-20 |
№ 150 | ||||||
|
1407-60 |
С |
ТК-20 |
№ 21988 | ||||||
|
ТН |
нет ТН |
- | |||||||
|
Счетчик |
KT=O,5S/1 Ксч=1 31857-06 |
A1805RAL-P4GB- DW-4 |
1208775 | ||||||
|
326 |
ПС 110/35/6 кВ "Яун-Лор" 1ТСН яч. 13 |
11 |
КТ=0,5 |
А |
ТОП-0,66 У3 |
№ 47696 |
о |
± 1,0% ± 2,1% |
± 5,0% ± 3,0% |
|
Ктт=100/5 |
В |
ТОП-0,66 У3 |
№ 47689 | ||||||
|
15174-06 |
С |
ТОП-0,66 У3 |
№ 47655 | ||||||
|
ТН |
нет ТН |
- | |||||||
|
Счетчик |
KT=O,5S/1 Ксч=1 31857-06 |
A1805RAL-P4GB- DW-4 |
1208719 | ||||||
|
327 |
ПС 110/35/6 кВ "Яун-Лор" 2ТСН яч. 28 |
11 |
КТ=0,5 |
А |
ТОП-0,66 У3 |
№ 21790 |
о |
± 1,0% ± 2,1% |
± 5,0% ± 3,0% |
|
Ктт=100/5 |
В |
ТОП-0,66 У3 |
№ 21782 | ||||||
|
15174-06 |
С |
ТОП-0,66 У3 |
№ 21800 | ||||||
|
ТН |
нет ТН |
- | |||||||
|
Счетчик |
KT=O,5S/1 Ксч=1 31857-06 |
A1805RAL-P4GB- DW-4 |
1208792 | ||||||
|
328 |
ПС 110/35/6кВ "Рогожниковская" ТСН-1 |
11 |
КТ=0,5 |
А |
ТОП-0,66 У3 |
№ 27507 |
о |
± 1,0% ± 2,1% |
± 5,0% ± 4,0% |
|
Ктт=100/5 |
В |
ТОП-0,66 У3 |
№ 26855 | ||||||
|
15174-06 |
С |
ТОП-0,66 У3 |
№ 27562 | ||||||
|
ТН |
нет ТН |
- | |||||||
|
Счетчик |
KT=O,5S/1 Ксч=1 31857-06 |
A1805RL-P4GB-DW-4 |
1210913 | ||||||
|
329 |
ПС 110/35/6кВ "Рогожниковская" ТСН-2 |
11 |
КТ=0,5 |
А |
ТОП-0,66 |
№ 33788 |
о |
± 1,0% ± 2,1% |
± 5,0% ± 3,0% |
|
Ктт=100/5 |
В |
ТОП-0,66 |
№ 36826 | ||||||
|
15174-06 |
С |
ТОП-0,66 |
№ 36857 | ||||||
|
ТН |
нет ТН |
- | |||||||
|
Счетчик |
KT=O,5S/1 Ксч=1 31857-06 |
A1805RL-P4GB-DW-4 |
1210937 | ||||||
|
334 |
333 |
332 |
331 |
330 |
1—‘ | ||||||||||||||||||||||||||||||||||||||||
|
ПС 220/110/35/10/6 кВ "Восточно-Моховая" ITCH |
ПС 220/110/10/10 кВ "Пимская" КС-1 ЗРУ-10 кВ ТСН-2 |
ПС 220/110/10/10 кВ "Пимская" КС-1 ЗРУ-10 кВ ТСН-1 |
ПС 220/110/10 кВ "Сургут" ТП-15 "Аэропорт Сургут" РУ-10кВ яч. 16 |
ПС 220/110/10 кВ "Сургут" ТП-15 "Аэропорт Сургут" РУ-10кВ яч.1 |
ю | ||||||||||||||||||||||||||||||||||||||||
|
Счетчик |
TH |
ТТ |
Счетчик |
TH |
ТТ |
Счетчик |
TH |
ТТ |
Счетчик |
TH |
ТТ |
Счетчик |
TH |
ТТ | |||||||||||||||||||||||||||||||
|
31857-06 |
Ксч=1 |
KT=0,2S/0,5 |
нет TH |
22656-02 |
Ктг= 100/5 |
КТ=0,5 |
31857-06 |
Ксч=1 |
KT=0,2S/0,5 |
нет TH |
15174-06 |
Ктг=200/5 |
КТ=0,5 |
31857-06 |
Ксч=1 |
KT=0,2S/0,5 |
нет TH |
15174-06 |
Ктг=200/5 |
КТ=0,5 |
31857-06 |
Ксч=1 |
KT=0,5S/l |
нет TH |
3728-99 |
Ктг= 1000/5 |
КТ=0,5 |
31857-06 |
Ксч=1 |
KT=0,5S/l |
нет TH |
3728-99 |
Ктг= 1000/5 |
КТ=0,5 | |||||||||||
|
A1802RAL-P4GB- DW-4 |
О |
ГО |
> |
A1802RAL-P4GB- DW-4 |
О |
ГО |
> |
A1802RAL-P4GB- DW-4 |
О |
ГО |
> |
A1805RAL-P4GB- DW-4 |
О |
ГО |
> |
A1805RAL-P4GB- DW-4 |
О |
ГО |
> |
-U | |||||||||||||||||||||||||
|
Т-0,66 УЗ |
Т-0,66 УЗ |
Т-0,66 УЗ |
ТОП-0,66 УЗ |
ТОП-0,66 УЗ |
ТОП-0,66 УЗ |
ТОП-0,66 УЗ |
ТОП-0,66 УЗ |
ТОП-0,66 УЗ |
ТШН-0,66 УТЗ |
ТШН-0,66 УТЗ |
ТШН-0,66 УТЗ |
ТШН-0,66УТЗ |
ТШН-0,66УТЗ |
ТШН-0,66УТЗ | |||||||||||||||||||||||||||||||
|
1183036 |
№ 52588 |
№ 52539 |
№ 52541 |
1183020 |
№ 16508 |
№ 17616 |
№ 16798 |
1183013 |
№ 18297 |
№ 16503 |
№ 17619 |
1208798 |
№ 1766 |
№0171 |
№0169 |
1208777 |
№ 1775 |
№0168 |
№0174 | ||||||||||||||||||||||||||
|
20 |
40 |
40 |
200 |
200 | |||||||||||||||||||||||||||||||||||||||||
|
± 0,8% ± 1,8% |
± 0,8% ± 1,8% |
± 0,8% ± 1,8% |
1+ ^© S© ©'-- ©-■- |
1+ ^© S© ©'-- ©-■- |
<1 | ||||||||||||||||||||||||||||||||||||||||
|
Н- Н- W о х® х® ©'-- ©-■- |
Н- Н- W о X© X® ©'-- ©-■- |
Н- Н- W о X© X® ©'-- ©-■- |
ьн н- W у. ©’■- ©-■- |
ьн н- W у. ©’■- ©-■- |
00 | ||||||||||||||||||||||||||||||||||||||||
Продолжение таблицы 2
td о CT>
о
s о H о to
IO'
to
|
339 |
338 |
337 |
336 |
335 |
1—‘ | ||||||||||||||||||||||||||||||||||||||||
|
ПС 35/6 кВ №68 РУ-бкВ ITCH |
ПС 35/6 кВ №121 РУ-бкВ 2ТСН |
ПС 35/10 кВ "Радиоцентр" ТСН-2 |
ПС 35/10 кВ "Радиоцентр" ТСН-1 |
ПС 220/110/35/10/6 кВ "Восточно-Моховая" 2ТСН |
ю | ||||||||||||||||||||||||||||||||||||||||
|
Счетчик |
TH |
ТТ |
Счетчик |
TH |
ТТ |
Счетчик |
TH |
ТТ |
Счетчик |
TH |
ТТ |
Счетчик |
TH |
ТТ | |||||||||||||||||||||||||||||||
|
31857-06 |
Ксч=1 |
KT=0,5S/l |
нет TH |
29482-07 |
Ктг= 100/5 |
КТ=0,5 |
31857-06 |
Ксч=1 |
KT=0,5S/l |
нет TH |
29482-07 |
Ктг= 100/5 |
КТ=0,5 |
31857-06 |
Ксч=1 |
KT=0,5S/l |
нет TH |
28482-07 |
Ктг=200/5 |
КТ=0,5 |
31857-06 |
Ксч=1 |
KT=0,5S/l |
нет TH |
28482-07 |
Ктг=200/5 |
КТ=0,5 |
31857-06 |
Ксч=1 |
KT=0,2S/0,5 |
нет TH |
40473-09 |
Ктг=200/5 |
КТ=0,5 | |||||||||||
|
A1805RAL-P4GB- DW-4 |
О |
ГО |
> |
A1805RAL-P4GB- DW-4 |
О |
ГО |
> |
A1805RAL-P4GB- DW-4 |
О |
ГО |
> |
A1805RAL-P4GB- DW-4 |
О |
ГО |
> |
A1802RAL-P4GB- DW-4 |
О |
ГО |
> |
-U | |||||||||||||||||||||||||
|
Т-0,66 УЗ |
Т-0,66 УЗ |
Т-0,66 УЗ |
Т-0,66 УЗ |
Т-0,66 УЗ |
Т-0,66 УЗ |
Т-0,66 |
Т-0,66 |
Т-0,66 |
Т-0,66 |
Т-0,66 |
Т-0,66 |
Т-0,66 УЗ |
Т-0,66 УЗ |
Т-0,66 УЗ | |||||||||||||||||||||||||||||||
|
1208588 |
№ 073199 |
№ 73203 |
№ 73197 |
1208583 |
№ 73202 |
№ 73198 |
№ 73196 |
1210890 |
№ 072350 |
№ 072227 |
№ 072352 |
№ 01208648 |
№ 072221 |
№ 072307 |
№ 072233 |
1183025 |
№ 48812 |
№ 42175 |
№ 49215 | ||||||||||||||||||||||||||
|
20 |
20 |
40 |
40 |
40 | |||||||||||||||||||||||||||||||||||||||||
|
1+ ^© S© ©’■- ©'- |
1+ ^© S© ©’■- ©'- |
1+ ^© S© ©’■- ©'- |
1+ ^© S© ©’■- ©'- |
± 0,8% ± 1,8% |
<1 | ||||||||||||||||||||||||||||||||||||||||
|
ьн н- ©’■- ©'- |
ьн н- ©’■- ©'- |
ьн н-W ЦА ©’■- ©'- |
ьн н- ©’■- ©'- |
Н- Н- W о х© X© |
00 | ||||||||||||||||||||||||||||||||||||||||
Продолжение таблицы 2
W о л>
о
й к о н о to
|
1 |
2 |
3 |
4 |
5 |
6 |
7 |
8 | ||
|
340 |
ПС 35/6 кВ №68 РУ-6кВ 2ТСН |
11 |
КТ=0,5 |
А |
Т-0,66 У3 |
№ 073194 |
о |
± 1,0% ± 2,1% |
± 5,0% ± 3,0% |
|
Ктт=100/5 |
В |
Т-0,66 У3 |
№ 073200 | ||||||
|
29482-07 |
С |
Т-0,66 У3 |
№ 073204 | ||||||
|
ТН |
нет ТН |
- | |||||||
|
Счетчик |
КТ=0,58/1 Ксч=1 31857-06 |
A1805RAL-P4GB- DW-4 |
1208724 | ||||||
|
341 |
ПС 110/10 кВ "Трансгаз" РП-6 яч.22 КТПН-400/6 БПО |
11 |
КТ=0,5 |
А |
ТШП-0,66 |
№ 22386 |
ОФ |
± 1,0% ± 2,1% |
± 5,0% ± 3,0% |
|
Ктт=400/5 |
В |
ТШП-0,66 |
№ 19382 | ||||||
|
29779-05 |
С |
ТШП-0,66 |
№ 22353 | ||||||
|
ТН |
нет ТН |
- | |||||||
|
Счетчик |
КТ=0,58/1 Ксч=1 23345-07 |
Меркурий 230 ART03 |
1120116 | ||||||
Примечания:
1. В графе 7 таблицы 2 «Основная погрешность ИК, ± %» приведены границы погрешности измерений электрической энергии и мощности при доверительной вероятности Р=0,95; cosф=0,87 (мпф=0,5) и токе ТТ, равном 1ном.
2. В графе 8 таблицы 2 «Погрешность ИК в рабочих условиях эксплуатации, ± %» приведены границы погрешности измерений электрической энергии и мощности при доверительной вероятности Р=0,95; cosф=0,5 (мпф=0,87) и токе ТТ, равном 10 % от 1ном.
3. Нормальные условия эксплуатации:
- параметры сети: диапазон напряжения (0,98 + 1,02)ином; диапазон силы тока (1,0 + 1,2)1ном; коэффициент мощности cos9=0,9 инд.
- температура окружающего воздуха (для счетчиков электрической энергии): от 21°С до 25°С;
- магнитная индукция внешнего происхождения - 0 мТл;
- относительная влажность воздуха (70±5) %;
- атмосферное давление (750±30) мм рт.ст.
4. Рабочие условия эксплуатации:
для ТТ и ТН:
- параметры сети: диапазон первичного напряжения (0,9 + 1,1)ином1; диапазон силы первичного тока (0,01 + 1,2)1ном1; коэффициент мощности cos9 (sin9) 0,5 + 1,0 (0,6 + 0,87); частота (50 ± 0,5) Гц;
- температура окружающего воздуха от -30°С до 35°С;
- относительная влажность воздуха (70±5) %;
- атмосферное давление (750±30) мм рт.ст.
Для счетчиков электрической энергии:
- параметры сети: диапазон вторичного напряжения (0,9 ^ 1,1)ином2; диапазон силы вторичного тока (0,01 + 1,2)1ном2; диапазон коэффициента мощности cos9 (sin9) 0,5 + 1,0 (0,6 + 0,87); частота (50 ± 0,5) Гц;
- магнитная индукция внешнего происхождения 0,5 мТл;
- температура окружающего воздуха от 15°С до 30°С;
- относительная влажность воздуха (40 ^ 60) %;
- атмосферное давление (750±30) мм рт. ст.
Для аппаратуры передачи и обработки данных:
- параметры питающей сети: напряжение (220 ± 10) В; частота (50 ± 1) Гц;
- температура окружающего воздуха от 15 °С до 30 °С;
- относительная влажность воздуха (70 ± 5) %;
- атмосферное давление (750 ± 30) мм рт.ст.
5. Допускается замена измерительных трансформаторов и счетчиков на аналогичные утвержденных типов с метрологическими характеристиками не хуже, чем у перечисленных в Таблице 2. Замена оформляется актом. Акт хранится совместно с настоящим описанием типа АИИС КУЭ ОАО «Сургутнефтегаз» как его неотъемлемая часть.
Пределы допускаемой абсолютной погрешности измерений времени в АИИС КУЭ ОАО «Сургутнефтегаз» не более ± 5 с.
Пределы допускаемой абсолютной погрешности измерений интервалов времени в АИИС КУЭ ОАО «Сургутнефтегаз» не более ± 5 с/сут.
Знак утверждения типа
Знак утверждения типа наносится на титульные листы эксплуатационной документации на систему автоматизированную информационно-измерительную коммерческого учета электрической энергии ОАО «Сургутнефтегаз» АИИС КУЭ ОАО «Сургутнефтегаз».
Комплектность
Комплектность АИИС КУЭ ОАО «Сургутнефтегаз» приведена в таблице 3. Таблица 3. Комплектность АИИС КУЭ ОАО «Сургутнефтегаз»
|
Наименование |
Количество |
|
1 |
2 |
|
Измерительный трансформатор тока типа GIF 30 |
8 шт. |
|
Измерительный трансформатор тока типа GIF 40.5 |
11 шт. |
|
Измерительный трансформатор тока типа IMZ-10 |
4 шт. |
|
Измерительный трансформатор тока типа MR-110 |
3 шт. |
|
Измерительный трансформатор тока типа TG 145 N |
6 шт. |
|
Измерительный трансформатор тока типа Т-0,66, Т-0,66 У3 |
98 шт. |
|
Измерительный трансформатор тока типа ТВЭ-35 УХЛ2 |
14 шт. |
|
Измерительный трансформатор тока типа ТК-20 |
12 шт. |
|
Измерительный трансформатор тока типа ТЛК-10-6У3 |
58 шт. |
|
Измерительный трансформатор тока типа ТЛМ-10-1У3 |
6 шт. |
|
Измерительный трансформатор тока типа ТЛО-10 2У3 |
2 шт. |
|
Измерительный трансформатор тока типа ТЛШ-10 |
10 шт. |
|
Измерительный трансформатор тока типа ТЛШ-10-1У3 |
6 шт. |
|
Измерительный трансформатор тока типа ТЛШ-10-5У3 |
12 шт. |
|
Измерительный трансформатор тока типа ТОЛ 10 02.1 |
4 шт. |
|
Измерительный трансформатор тока типа ТОЛ 10 УТ2.1 |
34 шт. |
|
Измерительный трансформатор тока типа ТОЛ 10-I-2Y2 |
14 шт. |
|
Измерительный трансформатор тока типа ТОЛ 1О-1-ПУ2 |
6 шт. |
|
Измерительный трансформатор тока типа ТОЛ 1О-1-1У2 |
2 шт. |
|
Измерительный трансформатор тока типа ТОЛ 10У3 |
4 шт. |
|
Измерительный трансформатор тока типа ТОЛ-10 |
2 шт. |
|
Измерительный трансформатор тока типа ТОЛ-10 02.1 |
8 шт. |
|
Измерительный трансформатор тока типа ТОЛ-10 У2 |
2 шт. |
|
Измерительный трансформатор тока типа ТОЛ-10 У3 |
10 шт. |
|
Измерительный трансформатор тока типа ТОЛ-10-1-1У2 |
16 шт. |
|
1 |
2 |
|
Измерительный трансформатор тока типа ТОЛ-10-1-8У2 |
4 шт. |
|
Измерительный трансформатор тока типа ТОЛ-35 УХЛ1 |
2 шт. |
|
Измерительный трансформатор тока типа ТОЛ-СЭЩ 10 |
4 шт. |
|
Измерительный трансформатор тока типа ТОЛ-СЭЩ-10-21 |
24 шт. |
|
Измерительный трансформатор тока типа ТОП-0,66 |
58 шт. |
|
Измерительный трансформатор тока типа ТПЛМ-10 |
4 шт. |
|
Измерительный трансформатор тока типа ТПОЛ-10У3 |
6 шт. |
|
Измерительный трансформатор тока типа ТПШЛ-10 У3 |
8 шт. |
|
Измерительный трансформатор тока типа ТФЗМ 110Б-!\'ХЛ1 |
42 шт. |
|
Измерительный трансформатор тока типа ТФЗМ-110Б 1ХЛ1 |
9 шт. |
|
Измерительный трансформатор тока типа ТФЗМ-35 |
2 шт. |
|
Измерительный трансформатор тока типа ТФЗМ-35А |
176 шт. |
|
Измерительный трансформатор тока типа ТФЗМ-35Б |
2 шт. |
|
Измерительный трансформатор тока типа ТФЗМ-35Б-1 |
36 шт. |
|
Измерительный трансформатор тока типа ТФМ-110-ПУ1 |
9 шт. |
|
Измерительный трансформатор тока типа ТФН-35 |
4 шт. |
|
Измерительный трансформатор тока типа ТФН-35М |
20 шт. |
|
Измерительный трансформатор тока типа ТФНД-220-IV |
6 шт. |
|
Измерительный трансформатор тока типа ТШН-0,66 УТ3 |
12 шт. |
|
Измерительный трансформатор тока типа ТШП-0,66 |
3 шт. |
|
Измерительный трансформатор напряжения CPA 123 |
6 шт. |
|
Измерительный трансформатор напряжения OTCF-123-110 |
6 шт. |
|
Измерительный трансформатор напряжения ЗНОЛ- 06-10 |
12 шт. |
|
Измерительный трансформатор напряжения ЗНОЛ.06-6 |
12 шт. |
|
Измерительный трансформатор напряжения ЗНОЛ-35 III УХЛ 1 |
3 шт. |
|
Измерительный трансформатор напряжения ЗНОЛ-СЭЩ-10-0,5/3-30 |
12 шт. |
|
Измерительный трансформатор напряжения ЗНОМ-35 |
6 шт. |
|
Измерительный трансформатор напряжения ЗНОМ-35-65 |
124 шт. |
|
Измерительный трансформатор напряжения НАЛИ-СЭЩ-6 |
6 шт. |
|
Измерительный трансформатор напряжения НАМИ-10 |
18 шт. |
|
Измерительный трансформатор напряжения НАМИ-10-2УХЛ2 |
2 шт. |
|
Измерительный трансформатор напряжения НАМИ-10-95 |
7 шт. |
|
Измерительный трансформатор напряжения НАМИТ-10 |
31 шт. |
|
Измерительный трансформатор напряжения НКФ-110-57У1 |
10 шт. |
|
Измерительный трансформатор напряжения НКФ-110-83 ХЛ1 |
21 шт. |
|
Измерительный трансформатор напряжения НКФ-110-ПХЛ1 |
20 шт. |
|
Измерительный трансформатор напряжения НКФ-110Б-ПХЛ1 |
12 шт. |
|
Измерительный трансформатор напряжения НКФ-220-58 У1 |
6 шт. |
|
Измерительный трансформатор напряжения НОЛ-6-Ш |
6 шт. |
|
Измерительный трансформатор напряжения НОЛ-СЭЩ-6-3-0,2-25 У2 |
6 шт. |
|
1 |
2 |
|
Измерительный трансформатор напряжения НОМ 6-77У4 |
7 шт. |
|
Измерительный трансформатор напряжения НТМИ-10-66У3 |
3 шт. |
|
Измерительный трансформатор напряжения НТМИ-6 |
2 шт. |
|
Измерительный трансформатор напряжения НТМИ-6-66 |
15 шт. |
|
Измерительный трансформатор напряжения НАМИ-35 |
6 шт. |
|
Измерительный трансформатор напряжения НАМИ-6-66 |
1 шт. |
|
Счетчик электроэнергии многофункциональный типа ЕвроАльфа класса точности 0,2S/0,5 |
2 шт. |
|
Счетчик электроэнергии многофункциональный типа Альфа 1800 класса точности 0,5S/1,0 |
301 шт. |
|
Счетчик электроэнергии многофункциональный типа Альфа 1800 класса точности 0,2S/0,5 |
37 шт. |
|
Счетчик электроэнергии многофункциональный типа Меркурий 230 ART03 класса точности 0.5S/1 |
1 шт. |
|
АИИС КУЭ ОАО «Сургутнефтегаз». Руководство по эксплуатации |
1 шт. |
|
АИИС КУЭ ОАО «Сургутнефтегаз». Методика поверки |
1 шт. |
|
АИИС КУЭ ОАО «Сургутнефтегаз». Формуляр |
1 шт. |
|
Сервер БД с ПО Альфа-Центр |
1 шт. |
Поверка
Поверка АИИС КУЭ ОАО «Сургутнефтегаз» проводится по документу «Система автоматизированная информационно-измерительная коммерческого учёта электрической энергии ОАО «Сургутнефтегаз». Методика поверки. ДЯИМ.422231.221.МП».
Рекомендуемые средства поверки:
- трансформаторов напряжения - в соответствии с ГОСТ 8.216-88 «ГСИ. Трансформаторы напряжения. Методика поверки» и/или МИ 2845-2003 «Измерительные трансформаторы напряжения 6/^3... 35 кВ. Методика поверки на месте эксплуатации», МИ 2925-2005 «ГСИ. Измерительные трансформаторы напряжения 35 ... 330/^3 кВ. Методика поверки на месте эксплуатации с помощью эталонного делителя»;
- трансформаторов тока - в соответствии с ГОСТ 8.217-2003 «ГСИ. Трансформаторы тока. Методика поверки»;
- счетчиков электрической энергии Альфа А1800 - в соответствии с документом МП-22030042-2006 «Счетчики электрической энергии трехфазные многофункциональные Альфа А1800. Методика поверки», утвержденным ГЦИ СИ «ВНИИМ им. Д.И. Менделеева» 19 мая 2006 г.;
- счетчиков электрической энергии ЕвроАльфа - в соответствии с документом «ГСИ. Счетчики электрической энергии многофункциональные ЕвроАльфа. Методика поверки», согласованной с ГЦИ СИ ФГУ «Ростест-Москва» в сентябре 2007 г.;
- счетчиков электрической энергии Меркурий 230 - в соответствии с документом «Счетчики электрической энергии трехфазные статические Меркурий 230. Методика поверки», согласованной с ГЦИ СИ ФГУ «Нижегородский ЦСМ» в мае 2007 г.;
- переносной компьютер с программным обеспечением и оптический преобразователь для работы со счетчиками и с программным обеспечением для работы с радиочасами РЧ-011;
- мультиметры Ресурс-ПЭ - 2 шт.;
- радиочасы РЧ-011/2.
Сведения о методах измерений
Методика измерений электрической энергии приведена в документе «ГСИ. Методика измерений электрической энергии с использованием АИИС КУЭ ОАО «Сургутнефтегаз». № ФР.1.34.2011.09778 в Федеральном реестре методик измерений.
Нормативные документы
1. Техническая документация на систему автоматизированную информационноизмерительную коммерческого учета электрической энергии ОАО «Сургутнефтегаз» АИИС КУЭ ОАО «Сургутнефтегаз».
2. ГОСТ Р 8.596-2002 «ГСИ. Метрологическое обеспечение измерительных систем. Основные положения».
3. Система автоматизированная информационно-измерительная коммерческого учёта электрической энергии ОАО «Сургутнефтегаз» АИИС КУЭ ОАО «Сургутнефтегаз». Методика поверки. ДЯИМ.422231.221.МП
Смотрите также




