Система автоматизированная информационно-измерительная коммерческого учета электрической энергии (АИИС КУЭ) блоков № 2 и № 3 Челябинской ТЭЦ-3
| Номер в ГРСИ РФ: | 47022-11 |
|---|---|
| Производитель / заявитель: | ООО "Эльстер Метроника", г.Москва |
Для измерений активной и реактивной электрической энергии, времени и интервалов времени.
Информация по Госреестру
| Основные данные | |||||||
|---|---|---|---|---|---|---|---|
| Номер по Госреестру | 47022-11 | ||||||
| Наименование | Система автоматизированная информационно-измерительная коммерческого учета электрической энергии (АИИС КУЭ) блоков № 2 и № 3 Челябинской ТЭЦ-3 | ||||||
| Характер производства | Единичное | ||||||
| Идентификатор записи ФИФ ОЕИ | dea40777-5494-8173-249a-4fdf08c3a6e7 | ||||||
| Испытания |
|
||||||
| Год регистрации | 2011 | ||||||
| Общие данные | |
|---|---|
| Технические условия на выпуск | тех.документация ООО |
| Класс СИ | 34.01.04 |
| Год регистрации | 2011 |
| Страна-производитель | Россия |
| Центр сертификации СИ | |
| Наименование центра | ГЦИ СИ Пензенского ЦСМ |
| Адрес центра | 440028, г.Пенза, ул.Комсомольская, д.20 |
| Руководитель центра | Катышкин Юрий Григорьевич |
| Телефон | (8*841*2) 62-02-63 |
| Факс | 49-82-63 |
| Информация о сертификате | |
| Срок действия сертификата | . . |
| Номер сертификата | 42918 |
| Тип сертификата (C - серия/E - партия) | Е |
| Дата протокола | Приказ 2870 от 16.06.11 п.09 |
Производитель / Заявитель
ООО "Эльстер Метроника", РОССИЯ, г.Москва
Россия
111141, 1-й пр-д Перова Поля, д.9, стр.3, Тел./факс. (495) 730-02-85/ 730-02-81; 111250, ул.Красноказарменная, д.12/45; тел. (495) 956-05-43, факс 956-05-42, Тел./факс 956-25-11/956-25-10, www.elster.ru; www.izmerenie.ru, E-mail: metronica@ru.elster.com
Поверка
| Методика поверки / информация о поверке | ДЯИМ.422231.230.МП |
| Межповерочный интервал / Периодичность поверки |
4 года
|
| Зарегистрировано поверок | |
| Актуальность информации | 21.12.2025 |
Поверители
Скачать
|
47022-11: Описание типа
2011-47022-11.pdf
|
Скачать | 258 КБ | |
| Свидетельство об утверждении типа СИ | Открыть | ... |
Описание типа
Назначение
Система автоматизированная информационно-измерительная коммерческого учета электрической энергии блоков № 2 и № 3 Челябинской ТЭЦ-3 (далее АИИС КУЭ блоков № 2 и № 3 Челябинской ТЭЦ-3) предназначена для измерений активной и реактивной электрической энергии, времени и интервалов времени.
Описание
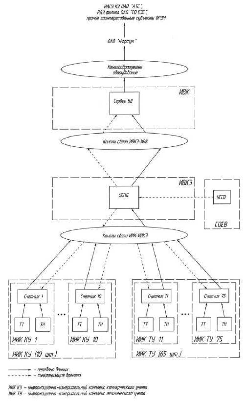
Конструктивно АИИС КУЭ блоков № 2 и № 3 Челябинской ТЭЦ-3 является трехуровневой системой с иерархической распределенной обработкой информации:
- первый - уровень измерительных каналов (далее - ИК) - состоит из 10 ИК и включает в себя измерительные трансформаторы тока (ТТ) классов точности 0,2; 0,2S; измерительные трансформаторы напряжения (ТН) классов точности 0,2, 0,5; счетчики электрической энергии трехфазные многофункциональные Альфа А1800 и ЕвроАльфа класса точности 0,2S/0,5 и вторичные измерительные цепи;
- второй - уровень информационно-вычислительного комплекса электроустановки -включает в себя устройства сбора и передачи данных (УСПД) типа RTU-327L и каналы сбора данных со счетчиков;
- третий - уровень информационно-вычислительного комплекса - включает в себя: технические средства приемо-передачи данных (каналообразующая аппаратура) и сервер базы данных «Альфа ЦЕНТР».
В состав АИИС КУЭ блоков № 2 и № 3 Челябинской ТЭЦ-3 входит система обеспечения единого времени (далее - СОЕВ), формируемая на всех уровнях иерархии.
Структурная схема АИИС КУЭ блоков № 2 и № 3 Челябинской ТЭЦ-3 изображена на рис. 1.
АИИС КУЭ блоков № 2 и № 3 Челябинской ТЭЦ-3 решает следующие задачи:
- измерение 30-минутных приращений активной и реактивной электрической энергии и автоматический сбор результатов измерений приращений электрической энергии с заданной дискретностью учета (30 мин), привязанных к шкале UTC;
- ведение системы единого времени.
Принцип действия заключается в следующем. Первичные фазные токи и напряжения трансформируются измерительными трансформаторами в аналоговые сигналы низкого уровня, которые по проводным линиям связи поступают на соответствующие входы счетчика. В счетчике мгновенные значения аналоговых сигналов преобразуются в цифровой сигнал. По мгновенным значениям силы электрического тока и напряжения в микропроцессоре счетчика вычисляются мгновенные значения активной и полной мощности, которые усредняются за период 0,02 с. Средняя за период реактивная мощность вычисляется по средним за период значениям активной и полной мощности.
Электрическая энергия вычисляется для интервалов времени 30 мин суммированием результатов измерений средней мощности, полученной путём интегрирования за интервал времени 0,02 с.
Средняя активная (реактивная) электрическая мощность на интервале времени усреднения 30 мин вычисляется по 30-ти минутным приращениям электроэнергии.
Рис. 1. Структурная схема АИИС КУЭ блоков № 2 и № 3 Челябинской ТЭЦ-3
Цифровые сигналы с выходов счетчиков по проводным линиям связи интерфейса RS-485 поступает в УСПД, расположенные в шкафах УСПД. В УСПД осуществляется хранение измерительной информации, ее накопление и передача накопленных данных через сегмент локальной вычислительной сети (ЛВС) по сети Ethernet (основной канал) или через терминалы сотовой связи (резервный канал) на уровень сервер БД уровня ИВК, где осуществляется вычисление электроэнергии и мощности с учетом коэффициентов трансформации ТТ и ТН, хранение и накопление измерительной информации,
В сервере баз данных (БД) системы выполняется обработка измерительной информации, получаемой с УСПД уровня ИВКЭ, в частности резервное копирование, формирование и хранение поступающей информации, оформление справочных и отчетных документов. Передача информации в организации-участники ОРЭМ осуществляется от сервера БД по внешнему каналу связи. В качестве внешнего канала связи используется выделенный канал доступа в Интернет по электронной почте. Данные передаются в формате XML-файлов.
Регламентированный доступ к информации сервера БД АИИС КУЭ с АРМ операторов осуществляется через сегмент ЛВС предприятия по интерфейсу Ethernet.
Механическая защита от несанкционированного доступа обеспечивается пломбированием:
- испытательной коробки (специализированного клеммника);
- крышки клеммных отсеков счетчиков.
Схемы пломбирования приведены на рис. 2-4.
Рис. 2. Схема пломбирования счётчика электроэнергии АЛЬФА А1800
Рис. 3. Схема пломбирования счётчика электроэнергии ЕвроАЛЬФА
Испытательная клеммная колодка
Рис. 4 Схема пломбирования испытательной клеммной колодки
Программное обеспечение
Функции программного обеспечения (не метрологически значимой части):
- периодический (1 раз в 30 минут) и/или по запросу автоматический сбор результатов измерений с заданной дискретностью учета (30 минут), привязанных к шкале UTC;
- автоматическая регистрация событий в «Журнале событий»;
- хранение результатов измерений и информации о состоянии средств измерений в специализированной базе данных;
- автоматическое получение отчетов, формирование макетов согласно требованиям получателей информации, предоставление результатов измерений и расчетов в виде таблиц, графиков с возможностью получения печатной копии;
- использование средств электронной цифровой подписи для передачи результатов измерений в интегрированную автоматизированную систему управления коммерческим учетом (ИАСУ КУ (КО));
- конфигурирование и параметрирование технических средств программного обеспечения;
- предоставление пользователям и эксплуатационному персоналу регламентированного доступа к данным;
- сбор недостающих данных после восстановления работы каналов связи, восстановления питания;
- передача в автоматизированном режиме в ИАСУ КУ (КО), Региональное диспетчерское управление «Системный оператор - центральное диспетчерское управление Единой электрической сети» (РДУ «СО-ЦДУ ЕЭС») и другим заинтересованным субъектам ОРЭ результатов измерений;
- автоматический сбор данных о состоянии средств измерений;
- обеспечение защиты оборудования, программного обеспечения и данных от несанкционированного доступа на физическом и программном уровне (установка паролей и т.д.);
- диагностика и мониторинг функционирования технических и программных средств АИИС КУЭ блоков № 2 и № 3 Челябинской ТЭЦ-3, событий в АИИС КУЭ блоков № 2 и № 3 Челябинской ТЭЦ-3;
- конфигурирование и настройка параметров АИИС КУЭ блоков № 2 и № 3 Челябинской ТЭЦ-3;
Функции программного обеспечения (метрологически значимой части):
- обработка результатов измерений в соответствии с параметрированием УСПД;
- автоматическая синхронизация времени (внутренних часов).
Идентификационные данные программного обеспечения приведены в таблице 1.
Таблица 1 - Идентификационные данные метрологически значимой части программного обеспечения
|
Наименование програмного модуля |
Наименование файла |
Контрольная сумма (по алгоритму md5 (RFC 1321)) |
|
Программа планировщик опроса и передачи данных (стандартный каталог для всех модулей C:\alphacenter\exe) |
Amrserver.exe |
04fcc1f93fb0e701ed68cdc4ff54e970 |
|
Драйвер ручного опроса счетчиков |
Amrc.exe |
649c95ce91dd7d295b2ced62847daa3 9 |
|
Драйвер автоматического опроса счетчиков |
Amra.exe |
3a921c0db1970b78fd835143e95b797a |
|
Драйвер работы с БД |
Cdbora2.dll |
dcaed6743d0b6c37d48deda064141f9e |
|
Библиотека шифрования пароля счетчиков |
Encryptdll.dll |
0939ce05295fbcbbba400eeae8d0572c |
|
Библиотека сообщений планировщика опросов |
Alphamess.dll |
b8c331abb5e34444170eee9317d635cd |
Защита программного обеспечения от непреднамеренных и преднамеренных изменений соответствует уровню С по МИ 3286-2010 и обеспечивается:
- установкой пароля на счетчик;
- установкой пароля на сервер;
- защитой результатов измерений при передаче информации (использованием электронной цифровой подписи).
Технические характеристики
Состав измерительных каналов и их метрологические характеристики приведены в таблице 2.
Таблица 2 - Состав измерительных каналов и их метрологические характеристики
|
Канал измерений |
Состав измерительного канала |
Ктт •Ктн •Ксч |
Доверительные границы относительной погрешности измерений активной и реактивной электрической энергии и мощности при доверительной вероятности Р=0,95: | |||||||
|
Номер ИК, код точки измерений |
Наименование объекта учета, диспетчерское наименование присоединения |
Вид СИ, класс точности, коэффициент трансформации, № Госреестра СИ или свидетельства о поверке |
Обозначение, тип |
Заводской номер |
Основная погрешность ИК |
Погрешность ИК в рабочих условиях эксплуатации | ||||
|
ео8ф=0,87 |
cosф=0,5 | |||||||||
|
sin<p=0.5 |
sin<p=0.87 | |||||||||
|
1 |
2 |
3 |
4 |
5 |
6 |
7 |
8 | |||
|
УСПД |
41907-09 |
RTU-3271 |
№ 005592 | |||||||
|
Сервер БД |
44595-10 |
АльфаЦентр |
№ 3640 | |||||||
|
-н |
ТГ-2 |
11 |
КТ= 0,2 |
А |
IORAZ-GN |
№ 1538100001 |
315000 |
± 0,8% ± 1,5% |
± 2,2% ± 1,8% | |
|
Ктт= 10000/ 5 |
В |
IORAZ-GN |
№ 1538100002 | |||||||
|
33344-06 |
С |
IORAZ-GN |
№ 1538100003 | |||||||
|
ТН |
КТ= 0,5 |
А |
EPR20Z |
№ 1537500006 | ||||||
|
Ктн= 15750/^3:100/^3 |
В |
EPR20Z |
№ 1537500005 | |||||||
|
30369-05 |
С |
EPR20Z |
№ 1537500004 | |||||||
|
Счетчик |
КТ= 0,2S/0,5 |
A1802RALXQ-P4GB-DW-4 |
№ 01213392 | |||||||
|
Ксч= 1 | ||||||||||
|
31857-06 | ||||||||||
|
сч |
Г 3-1 |
11 |
КТ= 0,2S |
А |
ТШЛ-10-1-УТ3 |
№ 59 |
105000 |
± 0,6% ± 1,1% |
± 1,4% ± 1,6% | |
|
Ктт= 5000/ 5 |
В |
ТШЛ-10-1-УТ3 |
№ 60 | |||||||
|
3972-03 |
С |
ТШЛ-10-1-УТ3 |
№ 61 | |||||||
|
ТН |
КТ= 0,2 |
А |
TJC 6-G |
№ 5209019879 | ||||||
|
Ктн= 10500/^3:100/^3 |
В |
TJC 6-G |
№ 5209019880 | |||||||
|
36413-07 |
С |
TJC 6-G |
№ 5209019881 | |||||||
|
Счетчик |
КТ= 0,2S/0,5 |
A1802RALXQ-P4GB-DW-4 |
№ 01213389 | |||||||
|
Ксч= 1 | ||||||||||
|
31857-06 | ||||||||||
|
Г-) |
Г 3-2 |
11 |
КТ= 0,2S |
А |
ТШЛ-20-1-УХЛ2 |
№ 100 |
252000 |
± 0,6% ± 1,1% |
± 1,4% ± 1,6% | |
|
Ктт= 8000/ 5 |
В |
ТШЛ-20-1-УХЛ2 |
№ 101 | |||||||
|
21255-08 |
С |
ТШЛ-20-1-УХЛ2 |
№ 201 | |||||||
|
ТН |
КТ= 0,2 |
А |
TJC 6-G |
№ 5209019885 | ||||||
|
Ктн= 15750/^3:100/^3 |
В |
TJC 6-G |
№ 5209019886 | |||||||
|
36413-07 |
С |
TJC 6-G |
№ 5209019887 | |||||||
|
Счетчик |
КТ= 0,2S/0,5 |
A1802RALXQ-P4GB-DW-4 |
№ 01213388 | |||||||
|
Ксч= 1 | ||||||||||
|
31857-06 | ||||||||||
|
8 |
7 |
6 |
5 |
4 |
1—‘ | ||||||||||||||||||||||||||||||||||||||||
|
ВД 220 Козыреве 2 |
ВЛ 220 Новомет. 2 |
ОВ-220 |
ВЛ 220 Новомет. 1 |
ВЛ 220 Козыреве 1 |
ю | ||||||||||||||||||||||||||||||||||||||||
|
Счетчик |
TH |
тт |
Счетчик |
TH |
тт |
Счетчик |
TH |
тт |
Счетчик |
TH |
тт |
Счетчик |
TH |
тт |
U) | ||||||||||||||||||||||||||||||
|
31857-06 |
Я Я II |
Я II ОО |
ОС W |
3 я II 5- 5-W |
Я и |
ОС W |
II |
я и ОО |
00 |
Я Я II |
я II ОО |
ОС W |
3 я II 5- 5-W |
Я и |
00 W |
II |
я II ОО |
00 |
Я Я II |
я II ОО |
ОС W |
3 я II 5- 5-W |
Я II |
00 W |
II |
я II G/0 |
gj |
£ Я II |
я II G/0 |
<Х) |
3 я II |
Я II |
00 W |
II |
Я II G/0 |
g |
£ Я II |
я II G/0 |
<Х) |
3 я II |
Я II |
00 W |
II |
я II сл | |
|
A1802RALXQ-P4GB-DW-4 |
О |
ГО |
> |
О |
го |
> |
A1802RALXQ-P4GB-DW-4 |
О |
ГО |
> |
О |
го |
> |
A1802RALXQ-P4GB-DW-4 |
О |
СО |
> |
О |
со |
> |
t-0 > 1 74 со |
О |
СО |
> |
О |
со |
> |
t-0 > 1 74 со |
О |
СО |
> |
О |
со |
> |
-U | ||||||||||
|
П hS СО |
О СО |
п СО |
СО о |
со о |
со о |
О ГО |
О СО |
п СО |
СО о и |
со о и |
со о и |
О со |
о со |
п со |
СО о |
со о |
со о |
П со |
п СО |
п СО |
СО о и |
со о и |
со о и |
П со |
п СО |
п СО |
СО о |
со о |
со о | ||||||||||||||||
|
№ 01208933 |
ю» ос |
ю» ос |
ю» ос |
ю» |
ю» S |
ю» |
ю» 00 |
ю» со |
ю» с© |
ю» со |
ю» о £ О оо |
ю» Cd оо |
ю» о >■ 00 |
ю» 00 |
ю» 00 § |
ю» 00 |
ю» 00 g |
ю» |
ю» |
ю» 00 |
ю» £□ |
г? 00 § |
ю» 00 |
г? 00 § |
ю» ьэ £ О оо |
ю» СО оо |
ю» ьэ >■ 00 |
ю» W 00 |
г? 00 § |
ю» 00 |
г? 00 § |
ю» |
ю» |
ю» | |||||||||||
|
880000 |
880000 |
880000 |
880000 |
880000 | |||||||||||||||||||||||||||||||||||||||||
|
ьн н- 6''- О'- |
ьн н- 6''- О'- |
ьн н- 6''- О'- |
н- О4- 6''- |
н- О4- 6''- |
<1 | ||||||||||||||||||||||||||||||||||||||||
|
ьн н- 6''- О'- |
ьн н- 6''- О'- |
ьн н- 6''- О'- |
н- О4- 6''- |
н- О4- 6''- |
00 | ||||||||||||||||||||||||||||||||||||||||
Продолжение таблицы 2
Я о о
о
Продолжение таблицы 2
|
1 |
2 |
3 |
4 |
5 |
6 |
7 |
8 | ||
|
о> |
ВЛ 220 Новомет. 3 |
11 |
КТ= 0,2S |
А |
ВСТ |
№ 22266214 |
880000 |
± 0,6% ± 1,1% |
± 1,4% ± 1,6% |
|
Ктт= 2000/ 5 |
В |
ВСТ |
№ 22266215 | ||||||
|
28930-05 |
С |
ВСТ |
№ 22266216 | ||||||
|
ТН |
КТ= 0,2 |
А |
СРВ 245 |
№ 8710680 | |||||
|
Ктн= 220000 \3:100 \3 |
В |
СРВ 245 |
№ 8710681 | ||||||
|
15853-96 |
С |
СРВ 245 |
№ 8710682 | ||||||
|
Счетчик |
КТ= 0,2S/0,5 Ксч= 1 31857-06 |
A1802RALXQ-P4GB-DW-4 |
№ 01208931 | ||||||
|
о |
ВЛ 220 Новомет. 4 |
11 |
КТ= 0,2S |
А |
ВСТ |
№ 22266220 |
880000 |
± 0,6% ± 1,1% |
± 1,4% ± 1,6% |
|
Ктт= 2000/ 5 |
В |
ВСТ |
№ 22266205 | ||||||
|
28930-05 |
С |
ВСТ |
№ 22266208 | ||||||
|
ТН |
КТ= 0,2 |
А |
СРВ 245 |
№ 8796450 | |||||
|
Ктн= 220000 \3:100 \3 |
В |
СРВ 245 |
№ 8796451 | ||||||
|
15853-06 |
С |
СРВ 245 |
№ 8796446 | ||||||
|
Счетчик |
КТ= 0,2S/0,5 Ксч= 1 31857-06 |
A1802RALXQ-P4GB-DW-4 |
№ 01208929 | ||||||
Примечания:
1. В графе 7 таблицы 2 «Основная погрешность ИК, ± %» приведены границы погрешности измерений электрической энергии и мощности при доверительной вероятности Р=0,95; cosф=0,87 (мпф=0,5) и токе ТТ, равном 1ном.
2. В графе 8 таблицы 2 «Погрешность ИК в рабочих условиях эксплуатации, ± %» приведены границы погрешности измерений электрической энергии и мощности посредством ИК при доверительной вероятности Р=0,95; cosф=0,5 (япф=0,87) и токе ТТ, равном 10 % от 1ном.
4. Нормальные условия эксплуатации:
- параметры сети: диапазон напряжения (0,98 ^ 1,02)ином; диапазон силы тока (1,0 + 1,2)1ном; коэффициент мощности cos9=0,9 инд.
- температура окружающего воздуха (для счетчиков электрической энергии): от 21°С до 25°С; УСПД - от 15°С до 25°С;
- магнитная индукция внешнего происхождения - 0 мТл;
- относительная влажность воздуха (70±5) %;
- атмосферное давление (750±30) мм рт.ст.
5. Рабочие условия эксплуатации:
для ТТ и ТН:
- параметры сети: диапазон первичного напряжения (0,9 ^ 1,1)ином1; диапазон силы первичного тока (0,01 + 1,2)1ном1; коэффициент мощности cos9 (sin9) 0,5 + 1,0 (0,6 + 0,87); частота (50,0 ± 0,5) Гц;
- температура окружающего воздуха от -30°С до 35°С;
- относительная влажность воздуха (70±5) %;
- атмосферное давление (750±30) мм рт.ст.
Для счетчиков электрической энергии:
- параметры сети: диапазон вторичного напряжения (0,9 ^ 1,1)ином2; диапазон силы вторичного тока (0,01 ^ 1,2)1ном2; диапазон коэффициента мощности cos9 (sin9) 0,5 ^ 1,0 (0,6 + 0,87); частота (50,0 ± 0,5) Гц;
- магнитная индукция внешнего происхождения 0,5 мТл;
- температура окружающего воздуха от 15°С до 30°С;
- относительная влажность воздуха (40 ^ 60) %;
- атмосферное давление (750±30) мм рт. ст.
Для аппаратуры передачи и обработки данных:
- параметры питающей сети: напряжение (220 ± 10) В; частота (50 ± 1) Гц;
- температура окружающего воздуха от 15 °С до 30 °С;
- относительная влажность воздуха (70 ± 5) %;
- атмосферное давление (750 ± 30) мм рт.ст.
6. Допускается замена измерительных трансформаторов и счетчиков на однотипные с метрологическими характеристиками не хуже, чем у перечисленных в таблице 2. Замена оформляется актом. Акт хранится совместно с настоящим описанием типа АИИС КУЭ блоков № 2 и № 3 Челябинской ТЭЦ-3 как его неотъемлемая часть.
Пределы допускаемой абсолютной погрешности измерений времени в АИИС КУЭ блоков № 2 и № 3 Челябинской ТЭЦ-3 ± 5 с.
Пределы допускаемой абсолютной погрешности измерений интервалов времени в АИ-ИС КУЭ блоков № 2 и № 3 Челябинской ТЭЦ-3 ± 5 с/сут.
Знак утверждения типа
Знак утверждения типа наносится в левой верхней части титульных листов эксплуатационной документации на систему автоматизированную информационно-измерительную коммерческого учета электрической энергии АИИС КУЭ блоков № 2 и № 3 Челябинской ТЭЦ-3.
Комплектность
Таблица 3 - Комплектность АИИС КУЭ блоков № 2 и № 3 Челябинской ТЭЦ-3
|
Наименование |
Тип |
Кол-во, шт. |
|
Измерительный трансформатор тока типа |
IORAZ-GN |
3 |
|
Измерительный трансформатор тока типа |
ВСТ |
15 |
|
Измерительный трансформатор тока типа |
ВСТ DR |
6 |
|
Измерительный трансформатор тока типа |
ТШЛ-10-1-УТ3 |
3 |
|
Измерительный трансформатор тока типа |
ТШЛ-20-1-УХЛ2 |
3 |
|
Измерительный трансформатор напряжения |
EPR20Z |
3 |
|
Измерительный трансформатор напряжения |
TJC 6-G |
6 |
|
Измерительный трансформатор напряжения |
СРВ 245 |
6 |
|
Счетчик электрической энергии многофункциональный типа |
А1800 |
8 |
|
Счетчик электрической энергии многофункциональный типа |
ЕвроАльфа |
2 |
|
Устройство сбора и передачи данных |
RTU-327L |
1 |
|
Руководство по эксплуатации |
1 | |
|
Методика поверки |
1 | |
|
Сервер БД с ПО Альфа-Центр |
1 |
Поверка
осуществляется по документу «Система автоматизированная информационно-измерительная коммерческого учёта электрической энергии блоков № 2 и № 3 Челябинской ТЭЦ-3, АИИС КУЭ блоков № 2 и № 3 Челябинской ТЭЦ-3. Методика поверки. ДЯИМ.422231.230.МП».
Рекомендуемые средства поверки:
- трансформаторов напряжения - в соответствии с ГОСТ 8.216-88 «ГСИ. Трансформаторы напряжения. Методика поверки» и/или МИ 2845-2003 «Измерительные трансформаторы напряжения 6/^3... 35 кВ. Методика поверки на месте эксплуатации», МИ 2925-2005 «ГСИ. Измерительные трансформаторы напряжения 35 ... 330/^3 кВ. Методика поверки на месте эксплуатации с помощью эталонного делителя»;
- трансформаторов тока - в соответствии с ГОСТ 8.217-2003 «ГСИ. Трансформаторы тока. Методика поверки»;
- счетчиков электрической энергии Альфа А1800 - в соответствии с документом МП2203-0042-2006 «Счетчики электрической энергии трехфазные многофункциональные Альфа А1800. Методика поверки», утвержденным ГЦИ СИ «ВНИИМ им. Д.И. Менделеева»;
- счетчиков электрической энергии ЕвроАльфа - в соответствии с документом «ГСИ. Счетчики электрической энергии многофункциональные ЕвроАльфа. Методика поверки», согласованной с ГЦИ СИ ФГУ «Ростест-Москва» в сентябре 2007 г.;
- переносной компьютер с программным обеспечением и оптический преобразователь для работы со счетчиками и с программным обеспечением для работы с радиочасами РЧ-011;
- мультиметры Ресурс-ПЭ - 2 шт.;
- радиочасы РЧ-011/2.
Сведения о методах измерений
Методика измерений электрической энергии приведена в документе «ГСИ. Методика измерений электрической энергии с использованием АИИС КУЭ блоков № 2 и № 3 Челябинской ТЭЦ-3 АИИС КУЭ блоков № 2 и № 3 Челябинской ТЭЦ-3.
Нормативные документы
1. Техническая документация на систему автоматизированную информационноизмерительную коммерческого учета электрической энергии блоков № 2 и № 3 Челябинской ТЭЦ-3 - АИИС КУЭ блоков № 2 и № 3 Челябинской ТЭЦ-3.
2. Система автоматизированная информационно-измерительная коммерческого учёта электрической энергии блоков № 2 и № 3 Челябинской ТЭЦ-3 - АИИС КУЭ блоков № 2 и № 3 Челябинской ТЭЦ-3. Методика поверки. ДЯИМ.422231.230.МП
Смотрите также


