Счетчики-регистраторы СР-01
| Номер в ГРСИ РФ: | 47200-11 |
|---|---|
| Производитель / заявитель: | ОАО Концерн "Аксион", г.Ижевск |
Для измерения числа импульсов, формируемых счетчиками воды, газа, электроэнергии, и передачи информации в автоматизированную систему контроля и учета (АСКУ) с привязкой ко времени.
Информация по Госреестру
| Основные данные | |
|---|---|
| Номер по Госреестру | 47200-11 |
| Действует | по 13.07.2016 |
| Наименование | Счетчики-регистраторы |
| Модель | СР-01 |
| Характер производства | Серийное |
| Идентификатор записи ФИФ ОЕИ | 3685453c-29cf-5b07-6a50-723196445d96 |
| Год регистрации | 2011 |
| Общие данные | |
|---|---|
| Технические условия на выпуск | ТУ 4217-182-07530936-2010 |
| Класс СИ | 34.01.05 |
| Год регистрации | 2011 |
| Страна-производитель | Россия |
| Примечание | 28.10.2014 Реорганизация предприятия-изготовителя |
| Центр сертификации СИ | |
| Наименование центра | ГЦИ СИ Нижегородского ЦСМ |
| Адрес центра | 603950, г.Нижний Новгород, ул.Республиканская, 1 |
| Руководитель центра | Свешников Александр Григорьевич |
| Телефон | (8*831*2) 18-57-27 |
| Факс | 18-57-48 |
| Информация о сертификате | |
| Срок действия сертификата | 13.07.2016 |
| Номер сертификата | 43167 |
| Тип сертификата (C - серия/E - партия) | С |
| Дата протокола | Приказ 1723 п. 01 от 28.10.2014Приказ 3485 от 13.07.11 п.01 |
Производитель / Заявитель
ОАО Концерн "Аксион", РОССИЯ, г.Ижевск
Россия
426000, ул.М.Горького, 90. тел. (3412) 51-24-20, факс 51-24-23
Поверка
| Методика поверки / информация о поверке | ЮМГИ.464411.001 МП |
| Межповерочный интервал / Периодичность поверки |
5 лет
|
| Зарегистрировано поверок | |
| Найдено поверителей | |
| Успешных поверок (СИ пригодно) | 1 (13%) |
| Неуспешных поверок (СИ непригодно) | 7 (88 %) |
| Актуальность информации | 29.03.2026 |
Поверители
Скачать
|
47200-11: Описание типа
2011-47200-11.pdf
|
Скачать | 145.1 КБ | |
| Свидетельство об утверждении типа СИ | Открыть | ... |
Описание типа
Назначение
Счетчики - регистраторы СР-01 предназначены для измерения числа импульсов, формируемых счетчиками воды, газа, электроэнергии, и передачи информации в автоматизированную систему контроля и учета (АСКУ) с привязкой ко времени.
Описание
Счетчик-регистратор представляет собой микропроцессорный прибор, выполненный в пластмассовом корпусе, предназначенном для крепления на DIN-рейку. Подключение первичных преобразователей и интерфейсных цепей проводится к наружным винтовым клеммникам. Конфигурирование прибора и считывание данных возможно с использованием персонального компьютера. Прибор или сеть из приборов может подключаться к COM-порту компьютера посредством преобразователя RS232/485, либо USB/RS485.
Счетчики-регистраторы обеспечивают:
- счёт импульсов с суммирующим итогом по каждому каналу;
- сохранение c получасовым интервалом во встроенной энергонезависимой памяти архива накопленной информации с привязкой к текущему времени по каждому каналу с возможностью считывания его через интерфейс RS-485;
- отсчёт текущей даты и времени.
Наличие литиевой батареи позволяет производить счёт импульсов при отсутствии основного источника питания.
Структура данных, доступных для чтения и редактирования счетчика, содержит:
1. сетевой адрес прибора (устанавливается переключателем на задней стенке прибора и опечатывается при монтаже);
2. текущие дата/время;
3. значения счетчиков импульсов по каждому из 8/16-ти каналов;
4. получасавые архивы счетчиков импульсов по каждому из 8/16 каналов.
Конфигурирование прибора заключается в установке даты/времени и включении установленной литиевой батареи с помощью DIP переключателя.
Конструктивно счётчик состоит из следующих узлов:
- корпуса (основания корпуса, крышки корпуса);
- печатного узла.
Печатный узел представляет собой плату с электронными компонентами и винтовыми клеммниками для подключение первичных преобразователей, интерфейсных цепей и цепей питания, которая устанавливается в основании корпуса.
В крышке корпуса имеются отверстия для наблюдения за светодиодными индикаторами ВКЛ и СЧЕТ.
Корпус счётчиков изготовляется методом литья из пластмассы.
Программное обеспечение
В основе счётчика заложен микроконтроллер Atmega165(169) фирмы Atmel. В микроконтроллере задействована следующая периферия:
- UART - для порта RS485. Работа порта происходит со следующими параметрами: скорость 9600, 8 бит данных, один стоповый;
- таймер 2 — для формирования меандра на контрольной точке и счёта часов реального времени;
лист № 2
всего листов 4
- таймер 1 — для формирования задержек кратностью 25 мс при выполнении различных задач;
- таймер 0 — для формирования интервала 1,5 мс для опроса цифровых (импульсных) входов;
- делитель частоты — для деления частоты тактирования ядра;
- SPI порт — для работы с Flash памятью (хранение архивной информации). Основные модули:
- модуль инициализации требуемой периферии и структур данных;
- модуль работы с портом UART — приём команд и передача ответов;
- модуль счёта часов;
- модуль обработки поступивших по UART команд;
- модуль опроса импульсных входов и счёта импульсов;
- модуль архивирования данных с 30-ти минутным интервалом.
Идентификационные данные ПО СР-01 приведены в таблице 1
Таблица 1
|
Наименование программного обеспечения |
Идентификационное наименование программного обеспечения |
Номер версии (идентификационный номер) программного обеспечения |
Цифровой идентификатор программного обеспечения(контрольная сумма исполняемого кода) |
Алгоритм вычисления цифрового идентификатора программного обеспечения |
|
«CP01-16» |
CP01-16 v.1.57.hex |
1.57 |
b4a487222e1eb62be8777 354c452b8a9 |
MD5 |
Уровень защиты от непреднамеренных и преднамеренных изменений А по МИ 3286.
На рисунке 1 приведена фотография общего вида счётчика - регистратора СР - 01.
Рисунок 1
На рисунке 2 приведена фотография общего вида счетчика - регистратора СР - 01 со стороны крепления на DIN-рейку.
Рисунок 2
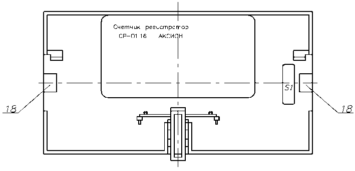
Схема пломбирования счётчиков -регистраторов приведена на рисунке 3.
Рисунок 3
Поз.18 — место установки пломб. Пломбы устанавливаются под углом 90 градусов с перекрытием боковых крепёжных отверстий.
Технические характеристики
Пределы допускаемой относительной погрешности измерения количества импульсов ± 0,1 %.
Точность хода встроенных часов 5 с/сут.
Электропитание осуществляется от внешнего источника:
- сети переменного тока напряжением от 175 до 250 В с частотой (50 ± 1) Гц;
- источника постоянного тока с напряжением (12 ± 1) В.
Потребляемая мощность не более 5 В^А.
Время работы счетчика от резервной батареи питания при отсутствии внешнего питания не менее 24 ч.
Максимальная частота следования счетных импульсов не более 100 Гц.
Уровень сигналов в случае использования счетчиков с активным выходом не более 24 В (уровень логического "0" (0...0,4) В, уровень логической "1" (2,4...24) В).
Минимальная длительность входного импульса 5 мс.
Число цифровых каналов 8 — для СР - 01.8, 16 — для СР - 01.16.
Диапазон рабочих температур от минус 10 °С до плюс 40 °С.
Степень защиты корпуса IP20.
Габаритные размеры не более 160^90x65 мм;
Масса не более 300 г.
Средняя наработка на отказ не менее 75000 ч.
Средний срок службы не менее 10 лет.
Знак утверждения типа
наносится на основание счётчика методом офсетной печати или фотоспособом. В эксплуатационной документации на титульных листах знак утверждения типа наносится типографским способом.
Комплектность
Комплект поставки средства измерений приведён в таблице 2. Таблица 2
|
Наименование |
Количество |
|
Счетчик-регистратор |
1 |
|
Руководство по эксплуатации, совмещенное с паспортом |
1 |
|
Методика поверки |
1 |
Поверка
осуществляется по методике поверки «Счётчики - регистраторы СР - 01». Методика поверки. ЮМГИ.464411.001 МП», утвержденной руководителем ГЦИ СИ ФГУ «Нижегородский ЦСМ» 12 мая 2011 г.
Перечень основного оборудования, необходимого для поверки приведен в таблице 3.
Таблица 3
|
Наименование |
Используемые основные технические характеристики |
|
Генератор импульсов Г5-75 |
Амплитуда импульсов от 1 до 10 В; Период следования импульсов от 0,1 мкс до 9,99 с; погрешность уст. ± Г10’3Т; длительность импульсов от 0,001 до 10 мс; погрешность уст. ± (0,1t+0,03 мкс) |
|
Частотомер электронносчетный Ч3-63 |
Диапазон измеряемых частот от 0,1 Гц до 100 МГц; погрешность измерения 540’7 |
Сведения о методах измерений
Методики измерений приведены в руководстве по эксплуатации «Счётчики - регистраторы СР - 01». Руководство по эксплуатации. ЮМГИ.464411.001 РЭ».
Нормативные документы
Технические условия ТУ 4217-182-07530936-2010.
Рекомендации к применению
- нет сведений.
Смотрите также
