Приборы 3
| Номер в ГРСИ РФ: | 47316-11 |
|---|---|
| Производитель / заявитель: | АО "Концерн "Океанприбор", г.С.-Петербург |
Для измерения скорости звука в воде в составе комплекта для градуировки и поверки измерителей скорости звука в воде.
Информация по Госреестру
| Основные данные | |
|---|---|
| Номер по Госреестру | 47316-11 |
| Действует | по 01.08.2016 |
| Наименование | Приборы |
| Модель | 3 |
| Характер производства | Серийное |
| Идентификатор записи ФИФ ОЕИ | db689b27-bb28-bdc9-e405-85a2b05cdaeb |
| Год регистрации | 2011 |
| Общие данные | |
|---|---|
| Технические условия на выпуск | НБДИ.481166.003 ТУ |
| Класс СИ | 28.03 |
| Год регистрации | 2011 |
| Страна-производитель | Россия |
| Центр сертификации СИ | |
| Наименование центра | ГЦИ СИ ВНИИФТРИ |
| Адрес центра | 141570, п/о Менделеево, Солнечногорский р-н, Московская обл. |
| Руководитель центра | Альшин Борис Иванович |
| Телефон | (8*095) 535-24-01, 535-84-36 |
| Факс | 535-73-86 |
| Информация о сертификате | |
| Срок действия сертификата | 01.08.2016 |
| Номер сертификата | 43354 |
| Тип сертификата (C - серия/E - партия) | С |
| Дата протокола | Приказ 3981 от 01.08.11 п.06 |
Производитель / Заявитель
ОАО "Концерн "Океанприбор", РОССИЯ, г.С.-Петербург
Россия
197378, Чкаловский пр-т, 46, Тел. 812-320-80-40/41, факс 812-320-80-52, E-mail: mfp@mail.wplus.net, mail@oceanpribor.ru
Поверка
| Методика поверки / информация о поверке | НБДИ.468166.003РЭ, приложение А |
| Межповерочный интервал / Периодичность поверки |
1 год
|
| Зарегистрировано поверок | |
| Найдено поверителей | |
| Успешных поверок (СИ пригодно) | 6 (100%) |
| Неуспешных поверок (СИ непригодно) | 0 (0 %) |
| Актуальность информации | 29.03.2026 |
Поверители
Скачать
|
47316-11: Описание типа
2011-47316-11.pdf
|
Скачать | 141.9 КБ | |
| Свидетельство об утверждении типа СИ | Открыть | ... |
Описание типа
Назначение
Прибор 3 предназначен для измерения скорости звука в воде в составе комплекта для градуировки и поверки измерителей скорости звука в воде (далее - КДГ).
Описание
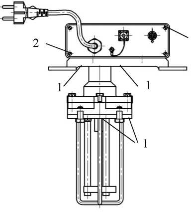
Прибор 3 представляет собой измеритель скорости звука полупогружного типа и выполнен в виде единой конструкции, состоящей из блока обработки и индикации (далее - корпус) и акустического блока.
Корпус из алюминиевого сплава имеет сдвижную верхнюю панель и съемные торцевые крышки. На нижней панели корпуса закреплены направляющие, обеспечивающие установку прибора 3 в градуировочную ванну КДГ. На верхней панели прибора 3 предусмотрено прозрачное герметичное окно индикатора результатов измерений скорости звука. Сетевой кабель вводится через торцевую стенку и герметизирован сальником. На этой же стенке расположен выключатель питания и разъем для подключения к ПЭВМ. В корпусе размещены три электронных модуля М-1.ПК.12, М-1.ДК.11 и МАА20.
Акустический блок закреплен на нижней панели корпуса через проставку из изолирующего материала и защищен от механических повреждений съемным ограждением из коррозионно-стойкой высоколегированной стали. Акустическая база блока содержит приемоизлучающий пьезоэлемент и отражатель, объединенные в единую конструкцию из титанового сплава. Для снижения температурного влияния на длину акустической базы стойки базы выполнены из термостабильного конструкционного материала - инвара.
Прибор 3 осуществляет измерение скорости звука прямым импульсным методом. Модуль М-1.ПК.12 формирует импульс излучения, который подается на пьезопреобразователь акустической базы и преобразовывается в акустический сигнал. Время прохождения акустическим сигналом расстояния до отражателя и обратно зависит от скорости звука. В модуле М-1.ПК.12 производится измерение этого времени и формирование кода, пропорционального скорости звука. Модуль М-1.ДК.11 предназначен для визуализации на индикаторе информации, поступающей из модуля М-1.ПК.12. Модуль МАА20 предназначен для питания прибора 3.
Внешний вид прибора 3 показан на рисунке 1.
Рисунок 1 - Внешний вид прибора 3
Программное обеспечение
Программное обеспечение (далее - ПО) прибора 3 является встроенным и включает в себя программу isz1.hex, предназначенную для преобразования выходных сигналов акустической базы в цифровой код, несущий информацию о скорости распространения звука в водной среде.
Защита ПО от непреднамеренных и преднамеренных изменений соответствует уровню "С" по МИ 3286-2010. Защита ПО от непреднамеренных изменений обеспечивается пломбировкой прибора 3, схема которой представлена на рисунке 2. Защита ПО от преднамеренных изменений обеспечивается установкой битов защиты памяти микропроцессора модуля М-1.ПК.12.
Схема пломбировки от несанкционированного доступа показана на рисунке 2.
2
Рисунок 2 - Схема пломбировки прибора 3
На рисунке 2 обозначены способы пломбировки:
1 - обжатием (проволока 0,5-ТС-12Х18Н9Т ГОСТ 18143-72);
2 - мастика (пломба 4х12-АД1М ГОСТ 18677-73).
Идентификационные данные ПО
|
Наименование программного обеспечения |
Идентификационное наименование программного обеспечения |
Номер версии (идентификационный номер) программного обеспечения |
Цифровой идентификатор программного обеспечения (контрольная сумма исполняемого кода) |
Алгоритм вычисления цифрового идентификатора программного обеспечения |
|
Модуль М-1.ПК.12. Данные проекта. НБДИ.468157.006 Д51 |
isz1.hex |
3 |
CRC B354 XXXX OK |
Контрольная сумма состоит из двух слов: - Первое 16 младших разрядов суммы содержимого ячеек памяти, содержащих ПО. - Второе 16 младших разрядов суммы содержимого ячеек памяти, содержащих поправочные коэффициенты. |
Технические характеристики
|
Диапазон измерений скорости звука в воде, м/с |
1407 - 1600. |
Пределы допускаемой абсолютной погрешности измерения скорости звука, м/с:
|
в поддиапазоне 1407 - 1450 м/с в поддиапазоне 1450 - 1550 м/с в поддиапазоне 1550 - 1600 м/с |
± 0,5; ± 0,3; ± 0,5. |
|
Габаритные размеры, не более, мм: длина ширина высота |
225; 198; 295. |
|
Масса, не более, кг |
3,9. |
Электропитание осуществляется от сети переменного тока:
|
напряжение, В частота, Гц |
220 ± 11; 50 ± 0,5. |
|
Потребляемая мощность, не более, В-А |
25. |
|
Средняя наработка на отказ, не менее, ч |
10000; |
|
Средний срок службы, не менее, лет |
10. |
Рабочие условия применения:
|
для корпуса прибора 3: - температура окружающего воздуха, оС - относительная влажность воздуха, не более, % - атмосферное давление, кПа |
20 ± 5; 80; от 96 до 104; |
|
для акустического блока: - температура воды, оС - скорость изменения температуры воды, не более, оС/ч - гидростатическое давление, не более, кПа |
от + 1 до + 35; 2; 10. |
Знак утверждения типа
Знак утверждения типа наносится на боковую панель прибора 3 в виде шильдика и на титульный лист руководства по эксплуатации прибора 3 НБДИ.468166.003РЭ типографским способом.
Комплектность
|
Наименование |
Количество |
Примечание |
|
Прибор 3 |
1 шт. | |
|
Руководство по эксплуатации с методикой поверки |
1 экз. |
На партию из 5 приборов 3, поставляемых в один адрес, прилагается 1 экземпляр. |
лист 4 всего листов 4 Поверка
осуществляется в соответствии с Приложением А "Методика поверки прибора 3" руководства по эксплуатации НБДИ.468166.003РЭ, утвержденным ФГУП "ВНИИФТРИ" 25 марта 2011 г.
Основное поверочное оборудование: Установка высшей точности для воспроизведения единицы скорости звука в жидкостях УВТ 90-А-2007 (диапазон измерения скорости звука 800 -2000 м/с, погрешность измерения ± 0,1 м/с).
Сведения о методах измерений
Сведения отсутствуют.
Нормативные документы
Технические условия НБДИ.481166.003 ТУ.
Рекомендации к применению
Калибровка и поверка измерителей скорости звука в воде.
Смотрите также
