47593-11: Система автоматизированная информационно-измерительная коммерческого учета электроэнергии (мощности) ОАО "РУСАЛ САЯНАЛ" - АИИС КУЭ ОАО "РУСАЛ САЯНАЛ" - Производители, поставщики и поверители

Система автоматизированная информационно-измерительная коммерческого учета электроэнергии (мощности) ОАО "РУСАЛ САЯНАЛ" - АИИС КУЭ ОАО "РУСАЛ САЯНАЛ"

ALL-Pribors default picture
Номер в ГРСИ РФ: 47593-11
Производитель / заявитель: ООО "Техпроминжиниринг", г.Красноярск
Скачать
47593-11: Описание типа
2011-47593-11.pdf
Скачать 190.2 КБ
Свидетельство об утверждении типа СИ Открыть ...
Нет данных о поставщике
Поверка
Система автоматизированная информационно-измерительная коммерческого учета электроэнергии (мощности) ОАО "РУСАЛ САЯНАЛ" - АИИС КУЭ ОАО "РУСАЛ САЯНАЛ" поверка на: www.ktopoverit.ru
КтоПоверит
Онлайн-сервис метрологических услуг

Для измерений активной и реактивной электрической энергии и мощности, времени и интервалов времени.

Информация по Госреестру

Основные данные
Номер по Госреестру 47593-11
Наименование Система автоматизированная информационно-измерительная коммерческого учета электроэнергии (мощности) ОАО "РУСАЛ САЯНАЛ" - АИИС КУЭ ОАО "РУСАЛ САЯНАЛ"
Характер производства Единичное
Идентификатор записи ФИФ ОЕИ 99a1caa5-f8a2-496b-2e8b-2ecc0b0875d9
Испытания
Дата Модель Заводской номер
зав.№ 01
Год регистрации 2011
Информация устарела
Общие данные
Технические условия на выпуск 86619795.422231.140.ТРП
Класс СИ 34.01.04
Год регистрации 2011
Страна-производитель  Россия 
Центр сертификации СИ
Наименование центра ГЦИ СИ Пензенского ЦСМ
Адрес центра 440028, г.Пенза, ул.Комсомольская, д.20
Руководитель центра Катышкин Юрий Григорьевич
Телефон (8*841*2) 62-02-63
Факс 49-82-63
Информация о сертификате
Срок действия сертификата . .
Номер сертификата 43644
Тип сертификата (C - серия/E - партия) Е
Дата протокола Приказ 4664 от 29.08.11 п.10
Производитель / Заявитель

ООО "Техпроминжиниринг", РОССИЯ, г.Красноярск

 Россия 

660022, ул.Партизана Железняка, 18. оф.6-03, 660022, ул.Мате Залки, д.4 "Г"; Тел. (391) 2776655; Факс 2776600

Поверка

Методика поверки / информация о поверке МП 47593-11
Межповерочный интервал / Периодичность поверки
4 года
Зарегистрировано поверок
Найдено поверителей
Успешных поверок (СИ пригодно) 3 (100%)
Неуспешных поверок (СИ непригодно) 0 (0 %)
Актуальность информации 29.03.2026
Найти результаты поверки
Указан в паспорте или на самом приборе

Поверители

КтоПоверит
Онлайн-сервис метрологических услуг
Система автоматизированная информационно-измерительная коммерческого учета электроэнергии (мощности) ОАО "РУСАЛ САЯНАЛ" - АИИС КУЭ ОАО "РУСАЛ САЯНАЛ" поверка на: www.ktopoverit.ru
КтоПоверит
Онлайн-сервис метрологических услуг

Скачать

47593-11: Описание типа
2011-47593-11.pdf
Скачать 190.2 КБ
Свидетельство об утверждении типа СИ Открыть ...

Описание типа

Назначение

Система автоматизированная информационно-измерительная коммерческого учета электрической энергии (мощности) ОАО «РУСАЛ САЯНАЛ» предназначена для измерений активной и реактивной электрической энергии и мощности, времени и интервалов времени.

Описание

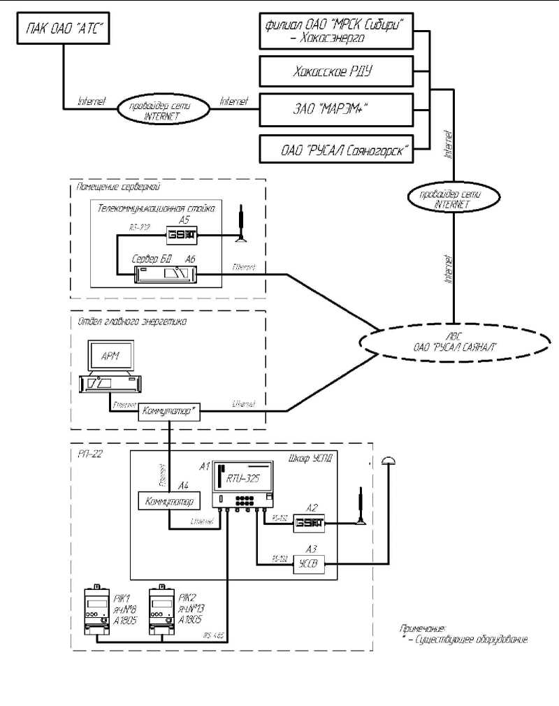
Конструкция АИИС КУЭ ОАО «РУСАЛ САЯНАЛ» представляет многофункциональную трехуровневую автоматизированную систему с централизованным управлением и распределённой функцией измерений активной и реактивной электрической энергии и мощности и включает в себя следующие уровни:

Первый уровень - измерительные трансформаторы тока и напряжения и счетчики активной и реактивной электрической энергии, вторичные измерительные цепи и технические средства приема-передачи данных, образующие два измерительных канала системы по количеству точек учета электрической энергии.

Второй уровень - уровень электроустановки: включает в себя один информационноизмерительный комплекс электроустановки (ИВКЭ) с установленными устройством сбора и передачи данных (УСПД) RTU-325, номер 37288-08 в Государственном реестре средств измерений (Госреестре СИ) и каналообразующей аппаратурой, выполняющего организацию коммерческого многотарифного учета электрической энергии в течение заданного интервала времени, измерения средних мощностей на заданных интервалах времени, передачи данных в базу данных.

Третий уровень - информационный уровень: включает в себя информационновычислительный комплекс (ИВК) ОАО «РУСАЛ САЯНАЛ» и АРМ пользователя. Сервер баз данных выполнен как составная часть ИВК на базе компьютера типа HP ProLiant с установленным программным обеспечением «Альфа Центр».

Структурная схема АИИС КУЭ ОАО «РУСАЛ САЯНАЛ» приведена на рисунке 1.

Принцип действия АИИС КУЭ ОАО «РУСАЛ САЯНАЛ»   заключается в

следующем.

Первичные токи и напряжения преобразуются измерительными трансформаторами в унифицированные аналоговые сигналы, которые по проводным линиям связи поступают на измерительные входы счетчика электрической энергии. В счетчике электрической энергии мгновенные значения аналоговых сигналов преобразуются в цифровой код. По мгновенным значениям электрического тока и напряжения в микропроцессоре счетчика электрической энергии вычисляются соответствующие мгновенные значения активной электрической мощности без учета коэффициентов трансформации. За каждый интервал времени измерений 0,02 с счетчик электрической энергии измеряет активную электрическую мощность, рассчитывает полную электрическую мощность как произведение действующих значений напряжения и тока, рассчитывает реактивную электрическую мощность по значениям полной и активной мощности.

Средние активная и реактивная электрические мощности на интервале времени измерений, равном 30 мин, вычисляются как средние значения результатов измерений на интервале времени усреднения 0,02 с.

Рисунок 1 - Структурная схема АИИС КУЭ ОАО «РУСАЛ САЯНАЛ»

Информация о результатах измерений с выходов счетчиков в виде цифрового кода по каналам связи поступает на входы УСПД RTU-325, где производится хранение данных и передача их на уровень ИВК.

Результаты измерений электрической энергии и мощности с УСПД RTU 325 поступают по цифровым каналам связи в ИВК, где производится их обработка (умножение результатов измерений энергии на коэффициенты трансформации), сбор и хранение.

АИИС КУЭ ОАО «РУСАЛ САЯНАЛ» включает систему обеспечения единого времени (СОЕВ). В состав ИВКЭ входит устройство синхронизации системного времени (УСВ) типа 16HVS, которое обеспечивает автоматическую коррекцию времени УСПД при достижении разности времени УСПД и УСВ в одну секунду. Проверка необходимости коррекции времени УСПД выполняется при каждом коммуникационном сеансе. Часы счетчика электрической энергии синхронизируются УСПД при каждом сеансе обмена данными при расхождении времени счетчика и УСПД две и более секунд. Часы ИВК синхронизируются при каждом коммуникационном сеансе при превышении разности показаний времени УСПД и ИВК 2 секунды.

Состав измерительных каналов АИИС КУЭ ОАО «РУСАЛ САЯНАЛ» приведен в таблице 1.

Уровень ИВКЭ АИИС КУЭ реализован на базе УСПД RTU-325- T-512-V3-B4-G, номер 37288-08 в Госреестре СИ, заводской номер 005797.

Уровень ИВК АИИС КУЭ реализован на базе ИВК «Альфа ЦЕНТР», номер 44595-10 в Госреестре СИ.

Лист № 3

Всего листов 8

Таблица 1 - Состав измерительных каналов АИИС КУЭ ОАО «РУСАЛ САЯНАЛ»

№№

Наименование точки учёта

Состав измерительного канала

Вид электрической энергии

Трансформатор тока

Трансформатор напряжения

Счетчик трёхфазный переменного тока активной и реактивной энергии

1

2

3

4

5

6

1

1сш., яч.6 Ввод

ТД-1

ТШЛ-10У3

КТ 0,5; К=3000 А/5 А Зав. № 3159; -; 3118 Госреестр СИ№ 3972-73

НАМИ-10

КТ 0,2; К=10 000 / 100

Зав. № 2617

Госреестр СИ № 11094-87

A1805RL-P4GB-DW4 КТ 0,5S/1,0; 1ном= 5 А

R = 5 000 имп/(кВт-ч) Зав. № 01223402

Госреестр СИ №. 31857-06

активная реактивная

2

2сш., яч.14

Ввод ТД-2

ТШЛ-10У3

КТ 0,5; К=3000 А/5 А Зав. № 3114; -; 3149 Госреестр СИ № 3972-73

НАМИ-10

КТ 0,2; К=10 000 / 100

Зав. № 2631

Госреестр СИ № 11094-87

A1805RL-P4GB-DW4 КТ 0,5S/1,0; 1ном= 5 А

R = 5 000 имп/(кВт-ч) Зав. № 01223401

Госреестр СИ №. 31857-06

активная реактивная

Лист № 4

Всего листов 8

Предусмотрены следующие способы защиты информации от несанкционированного доступа:

- путем пломбирования испытательных коробок, электросчетчиков, клеммников, цепей передачи информации от электросчетчиков к УСПД и УСПД;

- путем пломбирования элементов счетчиков и УСПД, с помощью которых может осуществляться изменение параметров настройки устройств, системного времени и накопленных данных;

- путем ограничения доступа к трансформаторам тока и напряжения, счетчикам, УСПД и серверу БД (размещением технических средств в закрываемых помещениях и закрываемых шкафах).

Программное обеспечение

В состав ПО АИИС КУЭ входит: ПО счетчиков электроэнергии, ПО УСПД и ПО сервера БД АИИС КУЭ. Программные средства сервера БД АИИС КУЭ содержат: базовое (системное) ПО, включающее операционную систему, программы обработки текстовой информации, сервисные программы, ПО систем управления базами данных (СУБД) и прикладное ПО ИВК «Альфа ЦЕНТР», ПО СОЕВ.

Состав и идентификационные данные ПО АИИС КУЭ ОАО «РУСАЛ САЯНАЛ» приведены в таблице 2.

Управление сбором данных осуществляется при помощи программного обеспечения «Альфа ЦЕНТР», которое функционирует на сервере ИВК. Интерфейс ПО содержит в себе средства предупреждения пользователя, если его действия могут повлечь изменение или удаление результатов измерений. Программное обеспечение и конструкция счетчиков, УСПД и сервера сбора данных после конфигурирования и настройки обеспечивают защиту от несанкционированного доступа и изменения его параметров.

Метрологически значимая часть ПО содержит специальные средства защиты, исключающие возможность несанкционированной модификации, загрузки (в том числе загрузки фальсифицированного ПО и данных), считывания из памяти счетчиков, УСПД и сервера, удаления или иных преднамеренных изменений метрологически значимой части ПО и измеренных данных.

Специальными средствами защиты метрологически значимой части ПО и измеренных данных от преднамеренных изменений являются:

- средства проверки целостности ПО, выполняющие расчёт контрольной суммы метрологически значимой части ПО и сравнение ее с требуемым значением;

- средства обнаружения и фиксации событий;

- средства управления доступом с использованием многоуровневой системы паролей;

- средства защиты на физическом уровне (HASP-ключи).

Влияние программного обеспечения на метрологические характеристики АИИС КУЭ ОАО «РУСАЛ САЯНАЛ» оценивается относительным отличием результатов расчёта от опорных значений, пределы которого составляют ± 1 единицу младшего разряда результата измерений.

Защита программного обеспечения от непреднамеренных и преднамеренных изменений соответствует уровню С по МИ 3286-2010.

Пределы допускаемых значений относительной погрешности измерений активной и реактивной электроэнергии не зависят от способов передачи измерительной информации и способов организации измерительных каналов ИВК «АльфаЦЕНТР».

Таблица 2 - Идентификационные данные ПО

Наименование программного обеспечения

Наименование программного модуля (идентификационное наименование ПО)

Наименование файла

Номер версии ПО

Цифровой идентификатор ПО (контрольная сумма исполняемого кода)

Алгоритм вычисления цифрового идентификатора ПО

1

2

3

4

5

6

ПО «Альфа ЦЕНТР»

Программа-планировщик опроса и передачи данных (стандартный каталог для всех модулей C:\alphacenter\exe)

Amrserver.exe

11.02.02

582b756b2098a6dabbe5 2eae57e3e239

MD5

Драйвер ручного опроса счётчиков и УСПД

Amrc.exe

b3bf6e3e5100c068b964

7d2f9bfde8dd

Драйвер автоматического опроса счётчиков и УСПД

Amra.exe

764bbe1ed87851a0154d ba8844f3bb6b

Драйвер работы с БД

Cdbora2.dll

7dfc3b73d1d1f209cc472 7c965a92f3b

Библиотека шифрования пароля счётчиков A1800

Encryptdll.dll

0939ce05295fbcbbba40 0eeae8d0572c

Библиотека сообщений планировщика опросов

Alphamess.dll

b8c331abb5e34444170e ee9317d635cd

Технические характеристики

Метрологические характеристики АИИС КУЭ ОАО «РУСАЛ САЯНАЛ» приведены в таблицах 3-4.

Таблица 3 - Метрологические характеристики АИИС КУЭ при измерении активной электрической энергии Wа, ее приращений за интервал времени 30 мин и средней мощности

Номер точки измерений

Классы точности ТТ; ТН; счетчика

Диапазон тока

Доверительные границы относительной погрешности измерений активной электрической энергии, ее приращений и средней активной мощности при доверительной вероятности Р= 0,95, %, при коэффициенте мощности

в нормальных условиях

в рабочих условиях

0,8

0,87

1

0,8

0,87

1

1

2

3

4

5

6

7

8

9

1, 2

ТТ 0,5

ТН 0,2

Сч 0,5S

11(2) % < I <15 %

-

-

-

-

-

-

15 % < I <120 %

± 2,9

± 2,5

± 1,8

± 3,1

± 2,8

± 2,1

120 % < I <1100 %

± 1,5

± 1,4

± 1,1

± 2,0

± 1,8

± 1,6

1100 % < I <1120 %

± 1,2

± 1,0

± 0,9

± 1,7

± 1,6

± 1,5

Таблица 4 - Метрологические характеристики АИИС КУЭ при измерении реактивной электрической энергии WР, ее приращений за интервал времени 30 мин и средней мощности

Номер точки измерений

Классы точности ТТ; ТН; счетчика

Диапазон тока

Доверительные границы относительной погрешности измерений активной электрической энергии, ее приращений и средней активной мощности при доверительной вероятности Р= 0,95, %, при коэффициенте мощности

в нормальных условиях

в рабочих условиях

0,8

0,87

0,8

0,87

1

2

3

4

5

6

7

1, 2

ТТ 0,5

ТН 0,2

Сч 1

15 % < I <120 %

± 4,5

± 5,5

± 4,8

± 5,8

120 % < I <1100 %

± 2,4

± 2,9

± 2,7

± 3,2

1100 % < I <1120 %

± 1,9

± 2,2

± 2,2

± 2,5

Пределы допускаемой абсолютной погрешности измерений времени ± 5 с.

Пределы допускаемой погрешности измерений интервалов времени ± 5 с/сут.

Лист № 6

Всего листов 8

Знак утверждения типа

Знак утверждения типа наносится на титульные листы эксплуатационной документации на систему автоматизированную информационно-измерительную коммерческого учета электрической энергии (мощности) ОАО «РУСАЛ САЯНАЛ» типографским способом.

Комплектность

Комплектность АИИС КУЭ ОАО «РУСАЛ САЯНАЛ» определяется проектной документацией на систему. В комплект поставки входит техническая документация на систему и на комплектующие средства измерений.

Комплектность АИИС КУЭ ОАО «РУСАЛ САЯНАЛ» представлена в таблице 5.

Таблица 5 - Комплектность

Наименование

Кол-во, шт.

Трансформатор тока типа ТШЛ-10У3

4

Трансформатор напряжения типа НАМИ-10

2

Счётчик электрической энергии типа A1805RL-P4GB-DW4

2

Устройство синхронизации системного времени 16HVS

1

УСПД RTU-325- T-512-V3-B4-G

1

ИВК «Альфа ЦЕНТР»

1

Методика поверки

1

Формуляр

1

Инструкция по эксплуатации

1

Поверка

Поверка осуществляется по документу «Система автоматизированная информационно-измерительная коммерческого учета электрической энергии (мощности) ОАО «РУСАЛ САЯНАЛ». Методика поверки», утвержденному ГЦИ СИ Пензенский ЦСМ 19 июля 2011г.

Рекомендуемые средства поверки:

- мультиметр «Ресурс-ПЭ». Пределы допускаемой абсолютной погрешности измерений угла фазового сдвига между напряжениями ± 0,1°. Пределы допускаемой относительной погрешности измерений напряжения: от 15 до 300 В ± 0,2 %; от 15 до 150 мВ ± 2,0 %. Пределы допускаемой относительной погрешности измерений тока: от 0,05 до 0,25 А ± 1,0 %; от 0,25 до 7,5 А ± 0,3 %. Пределы допускаемой абсолютной погрешности измерений частоты ± 0,02 Гц;

- радиочасы РЧ-011. Погрешность синхронизации шкалы времени ± 0,1 с.

- переносной компьютер с ПО и оптический преобразователь для работы с счетчиками системы и с ПО для работы с радиочасами РЧ-011.

Сведения о методах измерений

Методика измерений изложена в документе «Методика измерений количества электрической энергии (мощности) с использованием автоматизированной информационноизмерительной системы коммерческого учета электроэнергии (мощности) ОАО «РУСАЛ САЯНАЛ».

Лист № 8

Всего листов 8

Нормативные документы

1. Автоматизированная информационно-измерительная система коммерческого учета электроэнергии ОАО «РУСАЛ САЯНАЛ». Технорабочий проект. 86619795.422231.140.ТРП

2. Система автоматизированная информационно-измерительная коммерческого учета электрической энергии (мощности) ОАО «РУСАЛ САЯНАЛ». Методика поверки

Рекомендации к применению

Осуществление торговли и товарообменных операций.

Смотрите также

Default ALL-Pribors Device Photo
Для измерений активной и реактивной электрической энергии и мощности, времени и интервалов времени.
Default ALL-Pribors Device Photo
Для измерения активной и реактивной энергии, потребленной за установленные интервалы времени отдельными технологическими объектами ООО "Городская энергосбытовая компания" (РП-8), а также для автоматизированного сбора, обработки, хранения, отображения...
Default ALL-Pribors Device Photo
Для измерения активной и реактивной электроэнергии, контроля ее передачи и потребления за установленные интервалы времени отдельными технологическими объектами, сбора, хранения и обработки полученной информации.
Default ALL-Pribors Device Photo
Для измерений и контроля температуры подшипников трехфазных асинхронных электродвигателей типа AMB 560 пр-ва фирмы ABB S.p.A. (Италия), находящихся в составе компрессорных установок для сжатого газа в блочном исполнении пр-ва фирмы CAMERON Compressio...
Default ALL-Pribors Device Photo
47598-11
S102040PD Термопреобразователи сопротивления платиновые
Фирма "Minco Products, Inc.", СОЕДИНЕННЫЕ ШТАТЫ
Для измерений и контроля температуры статорных обмоток трехфазных асинхронных электродвигателей типа AMB 560 пр-ва фирмы ABB S.p.A. (Италия), находящихся в составе компрессорных установок для сжатого газа в блочном исполнении пр-ва фирмы CAMERON Comp...