Система автоматизированная информационно-измерительная коммерческого учета электрической энергии ОАО "ТАИФ-НК" АИИС КУЭ ОАО "ТАИФ-НК"
| Номер в ГРСИ РФ: | 47725-11 |
|---|---|
| Производитель / заявитель: | ООО "Невская Радиоэлектронная Компания", г.С.-Петербург |
Для измерений активной и реактивной электрической энергии и мощности, времени.
Информация по Госреестру
| Основные данные | |||||||
|---|---|---|---|---|---|---|---|
| Номер по Госреестру | 47725-11 | ||||||
| Наименование | Система автоматизированная информационно-измерительная коммерческого учета электрической энергии ОАО "ТАИФ-НК" АИИС КУЭ ОАО "ТАИФ-НК" | ||||||
| Характер производства | Единичное | ||||||
| Идентификатор записи ФИФ ОЕИ | 21313f18-18db-e510-8137-c8193eb4fe5c | ||||||
| Испытания |
|
||||||
| Год регистрации | 2011 | ||||||
| Общие данные | |
|---|---|
| Технические условия на выпуск | ГОСТ 22261-94 |
| Класс СИ | 34.01.04 |
| Год регистрации | 2011 |
| Страна-производитель | Россия |
| Центр сертификации СИ | |
| Наименование центра | ГЦИ СИ Пензенского ЦСМ |
| Адрес центра | 440028, г.Пенза, ул.Комсомольская, д.20 |
| Руководитель центра | Катышкин Юрий Григорьевич |
| Телефон | (8*841*2) 62-02-63 |
| Факс | 49-82-63 |
| Информация о сертификате | |
| Срок действия сертификата | . . |
| Номер сертификата | 43814 |
| Тип сертификата (C - серия/E - партия) | Е |
| Дата протокола | Приказ 4992 от 16.09.11 п.43 |
Производитель / Заявитель
ООО "Невская Радиоэлектронная Компания", РОССИЯ, г.С.-Петербург
Россия
190000, Кронверкский пр., 23-8. Тел. (812) 766-79-64, 194156, пр.Энгельса, 16, корп.2, лит.А, пом.16Н. Тел. (812) 612-18-85, тел./факс 612-18-85, www.rec-automation.com, E-mail: nrec@nrec.spb.ru
Поверка
| Методика поверки / информация о поверке | МП 47725-11 |
| Межповерочный интервал / Периодичность поверки |
4 года
|
| Зарегистрировано поверок | |
| Актуальность информации | 21.12.2025 |
Поверители
Скачать
|
47725-11: Описание типа
2011-47725-11.pdf
|
Скачать | 538.3 КБ | |
| Свидетельство об утверждении типа СИ | Открыть | ... |
Описание типа
Назначение
Система автоматизированная информационно-измерительная коммерческого учета электрической энергии ОАО «ТАИФ-НК» АИИС КУЭ ОАО «ТАИФ-НК» предназначена для измерений активной и реактивной электрической энергии и мощности, времени.
Описание
Конструкция АИИС КУЭ ОАО «ТАИФ-НК» представляет трехуровневую систему с централизованным управлением и распределенной функцией выполнения измерений активной и реактивной электрической энергии и мощности и включает в себя следующие уровни:
Первый уровень - измерительно-информационные комплексы (ИИК) включает в себя измерительные трансформаторы напряжения и тока, счётчики активной и реактивной электрической энергии и мощности по каждому присоединению (измерительному каналу). 28 из 64 ИИК АИИС КУЭ ОАО «ТАИФ-НК» входят также в состав АИИС КУЭ НКНХ. Это обеспечивается путем применения счётчиков электрической энергии, обладающих двумя интерфейсами RS-485: по первому интерфейсу счётчики электрической энергии подключены к компонентам второго уровня АИИС КУЭ ОАО «ТАИФ-НК», а по второму интерфейсу - к компонентам второго уровня АИИС КУЭ НКНХ.
Структурная схема АИИС КУЭ ОАО «ТАИФ-НК» приведена на рис. 1.
Второй уровень - информационно-вычислительный комплекс электроустановки (ИВКЭ) включает в себя устройство сбора и передачи данных УСПД REC-1X, технические средства организации каналов связи, программное обеспечение.
Третий уровень - информационно-вычислительный комплекс (ИВК) включает в себя сервер ИВК, рабочие станции (АРМ), технические средства организации каналов связи, программное обеспечение.
Система обеспечения единого времени (СОЕВ) формируется на всех уровнях АИИС КУЭ ОАО «ТАИФ-НК» и выполняет законченную функцию измерений времени и интервалов времени.
Конструкция СОЕВ представляет функционально объединенную совокупность средств измерений. В ее состав входит 28 УСПД REC-1X с встроенными часами, время каждого из которых синхронизируется от встроенного GPS-модуля. 21 УСПД синхронизирует время 36 счетчиков электрической энергии, подключенных к ним по интерфейсу RS-485 (рис. 1, а), остальные 28 счетчиков электрической энергии синхронизируются в составе АИИС КУЭ НКНХ как ее компоненты (рис. 1, б). Время сервера и компьютеров АРМ синхронизируется от локальной вычислительной сети предприятия.
Аналоговые сигналы от первичных преобразователей электрической энергии (трансформаторов тока и напряжения) поступают на счетчики электрической энергии. Счетчики электрической энергии являются измерительными приборами, построенными на принципе цифровой обработки входных аналоговых сигналов. Управление процессом измерений в счетчиках электрической энергии осуществляется микроконтроллером, который реализует алгоритмы в соответствии со специализированной программой, помещенной в его внутреннюю память.
Рис. 1, а. Структурная схема АИИС КУЭ ОАО «ТАИФ-НК» (начало)
Лист № 3
Всего листов 20
Рис. 1, б. Структурная схема АИИС КУЭ ОАО «ТАИФ-НК» (окончание)
Результаты измерений приращений электрической энергии (за интервал времени 30 минут), присутствующей на входе счетчика, в форме профиля мощности со счетчиков электрической энергии по цифровым интерфейсам при помощи каналообразующей аппаратуры и каналов связи по запросу передаются в УСПД REC-1X, который выполняет функцию консолидации измерительной информации по данной подстанции. Далее по запросу сервер ИВК считывает измерительную информацию по точкам измерений с УСПД, производит ее преобразование с целью приведения ее значений к точкам измерений и формирует архив. Кроме того сервер ИВК осуществляет формирование учетных показателей в точках поставки электрической энергии и формирует архив.
В счетчиках электрической энергии, УСПД и на сервере ИВК ведутся журналы событий о критичных взаимодействиях объекта контроля и АИИС КУЭ ОАО «ТАИФ-НК», а также оператора (или иного лица) и АИИС КУЭ ОАО «ТАИФ-НК».
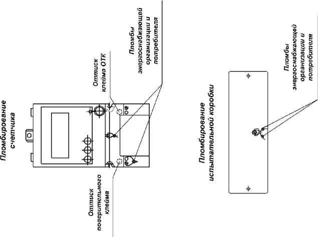
Места установки пломб и нанесения оттисков клейм от несанкционированного доступа на технические средства из состава АИИС КУЭ ОАО «ТАИФ-НК» приведены на рис. 2.
Рис. 2. Места установки пломб и нанесения оттисков клейм от несанкционированного доступа на технические средства из состава АИИС КУЭ ОАО «ТАИФ-НК»

Программное обеспечение
Программное обеспечение «РЭК Терминал» включает в себя:
1) сервер управления базами данных PostgreSQL 8.4 и базу данных;
2) контейнер java-приложений с двумя серверными приложениями сбора и предоставления данных;
3) АРМ клиента.
Серверная часть «РЭК Терминал» выполняется в ОС Windows Server 2003 SE, а клиентская в 32 или 64-битных операционных системах Windows XP, Vista или Windows 7.
Серверное программное обеспечение реализовано по спецификации Java Servlets 2.3 и устанавливается в каталог REC_TERMINAL_HOME/server/webapps, где находятся:
- askue-data-collctor.war - приложение сбора данныхс метрологически важными компонентами упакованными в web-архив;
- ws-collector.war - web-сервисы представления данных, упакованные в web-архив;
- rec-terminal-jaws - папка с web-приложением быстрой установки АРМ-ов.
Метрологически значимая часть программного обеспечения выделена в отдельную библиотеку-драйвер askue-data-collector/WEB-INF/lib/rec-driver.jar, которая находится внутри архива askue-data-collctor.war. Данная библиотека управляет опросом средств измерений, выполняет первичную обработку полученной информации (умножение на коэффициенты и т. д.) и передает ее на уровень доступа к данным, который сохраняет значения измерений в базе данных. Идентификационные данные метрологически значимых частей программного обеспечения приведены в таблице 1.
Таблица 1 - Идентификационные данные
|
Наименование программы |
Идентификационное наименование программного обеспечения |
Номер версии (идентификационный номер) программного обеспечения |
Цифровой идентификатор программного обеспечения (контрольная сумма исполняемого кода) |
Алгоритм вычисления цифрового идентификатора программного обеспечения |
|
Библиотека-драйвер |
Драйверы ( rec-driver.jar ) |
v.1.0.6 |
04CFBD5BA628FE16086 F88C8F6DC4C83 |
MD5 |
Влияние программного обеспечения на суммарную относительную погрешность ИК оценивается относительной погрешностью ИВК при переводе числа импульсов в единицы измеряемой физической величины, вычислении и округлении, пределы которой составляют ± 0,01 %.
Защита программного обеспечения от непреднамеренных и преднамеренных изменений соответствует уровню С по МИ 3286-2010.
Технические характеристики
Состав измерительных каналов и их основные метрологические и технические характеристики приведены в таблице 2.
Номинальная функция преобразования при измерении: где: N - число импульсов в регистре профиля мощности счетчика электрической энергии, имп;
- электрической энергии
Wp(Wq)= 4NT• Ктн • Ктт 2 • A
- электрической мощности
Р (q )=
• 6' • К т 1КТН ТИ
• КТТ
А - постоянная счетчика электрической энергии, имп/кВт^ч (квар^ч);
Ктн - коэффициент трансформации измерительного трансформатора напряжения (ТН);
Ктт - коэффициент трансформации измерительного трансформатора тока (ТТ);
Ти - время интегрирования, мин.
Таблица 2
|
Канал измерений |
Средство измерений |
Погрешность, % | |||||
|
Номер ИК |
Наименование присоединения |
Вид |
Класс точности, коэффициент трансформации, № Госреестра СИ |
ей й е |
Обозначение |
Заводской номер | |
|
1 |
2 |
3 |
4 |
5 |
6 |
7 |
8 |
|
1 |
РУ 0,4 кВ, ТП-132 яч. НК-01 |
ТТ |
КлТ=0,2Б Ктт=100/5 15174-06 |
A |
ТОП-0,66 |
1014674 |
Г-О О О О О ОО Г' ОО — ООО — — -н-н-н-н-н-н-н-н II II II II II II II II ■ ■■■■■■■ лсзо.о.лсзо.о. — сл — сл — сл — сл |
|
B |
1015034 | ||||||
|
C |
1014676 | ||||||
|
ТН |
_ |
A B C |
_ |
_ | |||
|
Счетчик |
КлТ=0,2Б/0,5 36697-08 |
СЭТ-4ТМ.03М.08 |
0803104616 | ||||
|
2 |
РУ 0,4 кВ, ТП-184 яч. НК-02 |
ТТ |
КлТ=0,2Б Ктт=100/5 15174-06 |
A |
ТОП-0,66 |
1015025 |
Г-О О О О О ОО Г' ОО — ООО — — -н-н-н-н-н-н-н-н II II II II II II II II ■ ■••■■•а лсзо.о.лсзо.о. — сл — сл — сл — сл |
|
B |
1014678 | ||||||
|
C |
1015032 | ||||||
|
ТН |
_ |
A B C |
_ |
_ | |||
|
Счетчик |
КлТ=0,2Б/0,5 36697-08 |
СЭТ-4ТМ.03М.08 |
0803104694 | ||||
|
3 |
РУ 0,4 кВ, КТП-1007 яч. НК-03 |
ТТ |
КлТ=0,2Б Ктт=50/5 15174-06 |
A |
ТОП-0,66 |
1015617 |
. „ . „ . „ . „ . „ . „ . „ S Г- О О О О О <Х> r- r- r- r- r- r- r- 1 ' ОО^ООО^-н -н -н -н -н -н -н -н и II II II II II II II а ооооааа-: ddciciddciQ. О ri О ri О ri О г'| |
|
B |
1015618 | ||||||
|
C |
1015616 | ||||||
|
ТН |
_ |
A B C |
_ |
_ | |||
|
Счетчик |
КлТ=0,2Б/0,5 36697-08 |
СЭТ-4ТМ.03М.08 |
0803104581 | ||||
|
4 |
РУ 0,4 кВ, КТП-2047 яч. НЧ-01 |
ТТ |
КлТ=0,2Б Ктт=50/5 15174-06 |
A |
ТОП-0,66 |
1035260 |
Г-О О О О О 00 Г' ОО — ООО — — -н-н-н-н-н-н-н-н II II II II II II II II ОООООаОаОаОи аааааааа лсзо.о.лсзо.о. — сл — сл — сл — сл |
|
B |
1035258 | ||||||
|
C |
1035257 | ||||||
|
ТН |
_ |
A B C |
_ |
_ | |||
|
Счетчик |
КлТ=0,2Б/0,5 36697-08 |
СЭТ-4ТМ.03М.08 |
0803104618 | ||||
|
5 |
ГПП-2, РУ 6 кВ, яч.120, РП-9 ввод 1 |
ТТ |
КлТ=0,5 Ктт=1500/5 44312-10 |
A |
АЕК-10 |
013567 |
к о г~- о к -г о -г Cl — rr, — Cl - Т CI -н-н-н-н-н-н-н-н II II II II II II II II 00000.0.0.0. аааааааа rtrtO.O.rt^O.0. — сл — сл — сл — сл |
|
B |
_ | ||||||
|
C |
013095 | ||||||
|
ТН |
КлТ=0,5 Ктн=6000/100 44322-10 44321-10 |
A |
UZ10-1T |
53863 | |||
|
B |
VSK10b |
9458/77 | |||||
|
C |
UZ10-1T |
52974 | |||||
|
Счетчик |
КлТ=0,2Б/0,5 36697-08 |
СЭТ-4ТМ.03М |
0810091134 | ||||
|
1 |
2 |
3 |
4 |
5 |
6 |
7 |
8 |
|
6 |
ГПП-2, РУ 6 кВ, яч.131, РП-9 ввод 2 |
ТТ |
КлТ=0,5 Ктт=1500/5 44312-10 |
А |
АЕК-10 |
013085 |
К. ГС Г~- OK. ~Г О -j-Cl — <C — Cl — ~Г Cl -H-H-H-H-H-H-H-H II II II II II II II II 00000.0.0.0. ■ ■■■■■■■ rtrtO.O.rt^O.0. — (N — (N — (N — (N |
|
В |
_ | ||||||
|
С |
013099 | ||||||
|
ТН |
КлТ=0,5 Ктн=6000/100 44321-10 |
A |
VSK10b |
9484/77 | |||
|
B |
9473/77 | ||||||
|
C |
9470/77 | ||||||
|
Счетчик |
КлТ=0,28/0,5 36697-08 |
СЭТ-4ТМ.03М |
0810091966 | ||||
|
7 |
ГПП-2, РУ 6 кВ, яч.105, ТП-49 ввод 1 |
ТТ |
КлТ=0,5 Ктт=300/5 44339-10 |
A |
АВК-10 |
016515 |
IC rc Г' G ic ■t О ’t Cl — <C — Cl — ~Г Cl -H-H-H-H-H-H-H-H II II II II II II II II 00000.0.0.0. ■ ■■■■■■■ rtrtO.O.rt^O.0. — (N — (N — (N — (N |
|
B |
_ | ||||||
|
C |
016488 | ||||||
|
ТН |
КлТ=0,5 Ктн=6000/100 44321-10 |
A |
VSK10b |
9460/77 | |||
|
B |
9476/77 | ||||||
|
C |
9483/77 | ||||||
|
Счетчик |
КлТ=0,28/0,5 36697-08 |
СЭТ-4ТМ.03М |
0810090800 | ||||
|
8 |
ГПП-2, РУ 6 кВ, яч.147, ТП-49 ввод 2 |
ТТ |
КлТ=0,5 Ктт=300/5 44339-10 |
A |
АВК-10 |
016539 |
IC, rc G ic ■t C' ’t Cl — <C — Cl — ~Г Cl -H-H-H-H-H-H-H-H II II II II II II II II 00000.0.0.0. ..••..•a rtrtO.O.rt^O.0. — (N — (N — (N — (N |
|
B |
_ | ||||||
|
C |
016479 | ||||||
|
ТН |
КлТ=0,5 Ктн=6000/100 44321-10 |
A |
VSK10b |
9484/77 | |||
|
B |
9473/77 | ||||||
|
C |
9470/77 | ||||||
|
Счетчик |
КлТ=0,28/0,5 36697-08 |
СЭТ-4ТМ.03М |
0810091163 | ||||
|
9 |
ГПП-2, РУ 6 кВ, яч.19, РП-8 ввод 1 |
ТТ |
КлТ=0,5 Ктт=1500/5 44312-10 |
A |
АЕК-10 |
013564 |
IC rc Г' G ic ■t О ’t Cl — <C — Cl — ~Г Cl -H-H-H-H-H-H-H-H II II II II II II II II 00000.0.0.0. aaaa..aa rtrtO.O.rt^O.0. — (N — (N — (N — (N |
|
B |
_ | ||||||
|
C |
013555 | ||||||
|
ТН |
КлТ=0,5 Ктн=6000/100 44321-10 |
A |
VSK10b |
9468/77 | |||
|
B |
9475/77 | ||||||
|
C |
9462/77 | ||||||
|
Счетчик |
КлТ=0,28/0,5 36697-08 |
СЭТ-4ТМ.03М |
0810091945 | ||||
|
10 |
ГПП-2, РУ 6 кВ, яч.34, РП-8 ввод 2 |
ТТ |
КлТ=0,5 Ктт=1500/5 44312-10 |
A |
АЕК-10 |
013533 |
IC rc Г' G ic ■t О ’t Cl — <C — Cl — ~Г Cl -H-H-H-H-H-H-H-H II II II II II II II II 00000.0.0.0. aaaa..aa rtrtO.O.rt^O.0. — (N — (N — (N — (N |
|
B |
_ | ||||||
|
C |
013565 | ||||||
|
ТН |
КлТ=0,5 Ктн=6000/100 44321-10 |
A |
VSK10b |
9474/77 | |||
|
B |
9464/77 | ||||||
|
C |
9463/77 | ||||||
|
Счетчик |
КлТ=0,28/0,5 36697-08 |
СЭТ-4ТМ.03М |
0810090751 | ||||
|
11 |
ГПП-2, РУ 6 кВ, яч.116, РП-8 ввод 3 |
ТТ |
КлТ=0,5 Ктт=1500/5 44312-10 |
A |
АЕК-10 |
013096 |
К, rc Г~- OK. ~Г О -j- Cl — К — Cl — ~Г Cl -H-H-H-H-H-H-H-H II II II II II II II II 00000.0.0.0. aaaa..aa rtrtO.O.rt^O.0. — (N — 04 — 04 — 04 |
|
B |
_ | ||||||
|
C |
013094 | ||||||
|
ТН |
КлТ=0,5 Ктн=6000/100 44322-10; 44321 10 |
A |
UZ10-U |
53863 | |||
|
B |
VSK10b |
9458/77 | |||||
|
C C^ |
UZ10-U |
52974 | |||||
|
Счетчик |
КлТ=0,28/0,5 36697-08 |
СЭТ-4ТМ.03М |
0810091232 | ||||
|
П |
родолжение таблицы 2 | ||||||
|
1 |
2 |
3 |
4 |
5 |
6 |
7 |
8 |
|
12 |
ГПП-2, РУ 6 кВ, яч.141, РП-8 ввод 4 |
ТТ |
КлТ=0,5 Ктт=1500/5 44312-10 |
A |
АЕК-10 |
013581 |
К. ГС Г~- OK. ~Г О -j-Cl — <C — Cl — ~Г Cl -H-H-H-H-H-H-H-H II II II II II II II II 00000.0.0.0. ■ ■■■■■■■ rtrtO.O.rt^O.0. — (N — (N — (N — (N |
|
B |
_ | ||||||
|
C |
013569 | ||||||
|
ТН |
КлТ=0,5 Ктн=6000/100 44321-10 |
A |
VSK10b |
9484/77 | |||
|
B |
9473/77 | ||||||
|
C |
9470/77 | ||||||
|
Счет чик |
КлТ=0,28/0,5 36697-08 |
СЭТ-4ТМ.03М |
0810091149 | ||||
|
13 |
ГПП-3, РУ 6 кВ, яч.114, РП-10 ввод 1 |
ТТ |
КлТ=0,5 Ктт=1500/5 44317-10 |
A |
JPZ10-2TA |
21927 |
IC rc Г' G ic ■t О ’t Cl — <C — Cl — ~Г Cl -H-H-H-H-H-H-H-H II II II II II II II II 00000.0.0.0. ■ ■■■■■■■ rtrtO.O.rt^O.0. — (N — (N — (N — (N |
|
B |
_ | ||||||
|
C |
21914 | ||||||
|
ТН |
КлТ=0,5 Ктн=6000/100 44321-10 |
A |
VSK10b |
1933/80 | |||
|
B |
4006/80 | ||||||
|
C |
4007/80 | ||||||
|
Счет чик |
КлТ=0,28/0,5 36697-08 |
СЭТ-4ТМ.03М |
0810091096 | ||||
|
14 |
ГПП-3, РУ 6 кВ, яч.124, РП-10 ввод 2 |
ТТ |
КлТ=0,5 Ктт=1500/5 44317-10 |
A |
JPZ10-2TA |
15263 |
IC, rc G ic ■t C' ’t Cl — <C — Cl — ~Г Cl -H-H-H-H-H-H-H-H II II II II II II II II 00000.0.0.0. ..••..•a rtrtO.O.rt^O.0. — (N — (N — (N — (N |
|
B |
_ | ||||||
|
C |
15266 | ||||||
|
ТН |
КлТ=0,5 Ктн=6000/100 44321-10 |
A |
VSK10b |
11912/80 | |||
|
B |
11914/80 | ||||||
|
C |
11915/80 | ||||||
|
Счет чик |
КлТ=0,28/0,5 36697-08 |
СЭТ-4ТМ.03М |
0810091100 | ||||
|
15 |
ГПП-3, РУ 6 кВ, яч.7, РП-37 ввод 1 |
ТТ |
КлТ=0,5 Ктт=1500/5 44317-10 |
A |
JPZ10-2TA |
21921 |
IC rc Г' G ic ■t О ’t Cl — <C — Cl — ~Г Cl -H-H-H-H-H-H-H-H II II II II II II II II 00000.0.0.0. aaaa..aa rtrtO.O.rt^O.0. — (N — (N — (N — (N |
|
B |
_ | ||||||
|
C |
2340 | ||||||
|
ТН |
КлТ=0,5 Ктн=6000/100 44321-10 |
A |
VSK10b |
11927/80 | |||
|
B |
11926/80 | ||||||
|
C |
11925/80 | ||||||
|
Счет чик |
КлТ=0,28/0,5 36697-08 |
СЭТ-4ТМ.03М |
0810091243 | ||||
|
16 |
ГПП-3, РУ 6 кВ, яч.31, РП-37 ввод 2 |
ТТ |
КлТ=0,5 Ктт=1500/5 44317-10 |
A |
JPZ10-2TA |
15267 |
IC rc Г' G ic ■t О ’t Cl — <C — Cl — ~Г Cl -H-H-H-H-H-H-H-H II II II II II II II II 00000.0.0.0. aaaa..aa rtrtO.O.rt^O.0. — (N — (N — (N — (N |
|
B |
_ | ||||||
|
C |
21932 | ||||||
|
ТН |
КлТ=0,5 Ктн=6000/100 44321-10 |
A |
VSK10b |
8948/80 | |||
|
B |
8937/80 | ||||||
|
C |
11923/80 | ||||||
|
Счет чик |
КлТ=0,28/0,5 36697-08 |
СЭТ-4ТМ.03М |
0810091204 | ||||
|
17 |
РП-01 РУ 6 кВ, яч.6-3 ТП-03 |
ТТ |
КлТ=0,5 Ктт=100/5 44339-10 |
A |
АВК-10 |
25246 |
К, rc Г~- OK. ~Г О -j- Cl — К — Cl — ~Г Cl -H-H-H-H-H-H-H-H II II II II II II II II 00000.0.0.0. aaaa..aa rtrtO.O.rt^O.0. — (N — 04 — 04 — 04 |
|
B |
_ | ||||||
|
C |
25254 | ||||||
|
ТН |
КлТ=0,5 Ктн=6000/100 44321-10 |
A |
VSK10b |
9609/82 | |||
|
B |
9576/82 | ||||||
|
C |
9603/82 | ||||||
|
Счет чик |
КлТ=0,28/0,5 36697-08 |
СЭТ-4ТМ.03М |
0811091500 | ||||
|
П |
родолжение таблицы 2 | ||||||
|
1 |
2 |
3 |
4 |
5 |
6 |
7 |
8 |
|
18 |
РП-01 РУ 6 кВ, яч.6-1, ТП-0107, ТП-0108 |
ТТ |
КлТ=0,5 Ктт=50/5 9143-06 |
A |
ТЛК-10 |
02725 |
К. ГС Г~- Ок. ~Г О -j-Cl — <C — Cl — ~Г Cl -H-H-H-H-H-H-H-H II II II II II II II II 00000.0.0.0. ■ ■■■■■■■ rtrtO.O.rt^O.0. — (N — (N — (N — (N |
|
B |
_ | ||||||
|
C |
2104 | ||||||
|
ТН |
КлТ=0,5 Ктн=6000/100 44321-10 |
A |
VSK10b |
9609/82 | |||
|
B |
9576/82 | ||||||
|
C |
9603/82 | ||||||
|
Счет чик |
КлТ=0,2Б/0,5 36697-08 |
СЭТ-4ТМ.03М |
0811091033 | ||||
|
19 |
РУ 0,4 кВ, ТП-46 яч.4/3, ПР-1 |
ТТ |
КлТ=0,5Б Ктт=50/5 15174-06 |
A |
ТОП-0,66 |
8040275 |
rc О O O> K, Cl K, Cl — — СЧ — — — СЧСЧ -H-H-H-H-H-H-H-H II II II II II II II II 00000.0.0.0. ■ ■■■■■■■ rtrtO.O.rt^O.0. — (N — (N — (N — (N |
|
B |
8040325 | ||||||
|
C |
8040278 | ||||||
|
ТН |
_ |
A B C |
_ |
_ | |||
|
Счет чик |
КлТ=0,2Б/0,5 36697-08 |
СЭТ-4ТМ.03М.08 |
0804100612 | ||||
|
20 |
РУ 0,4 кВ, ТП-46 яч.6/3, ПР-2 |
ТТ |
КлТ=0,5Б Ктт=50/5 15174-06 |
A |
ТОП-0,66 |
8040268 |
rc О O O> K, Cl K, Cl — — СЧ — — — СЧСЧ -H-H-H-H-H-H-H-H II II II II II II II II 00000.0.0.0. ..••..•a rtrtO.O.rt^O.0. — (N — (N — (N — (N |
|
B |
8038660 | ||||||
|
C |
8040285 | ||||||
|
ТН |
_ |
A B C |
_ |
_ | |||
|
Счет чик |
КлТ=0,2Б/0,5 36697-08 |
СЭТ-4ТМ.03М.08 |
0804100613 | ||||
|
21 |
РУ 0,4 кВ, ТП-32А яч. 1/1 ПР-1 |
ТТ |
КлТ=0,5Б Ктт=30/5 15174-06 |
A |
ТОП-0,66 |
1009482 |
rc О O O> K, Cl K, Cl — — СЧ — — — СЧСЧ -H-H-H-H-H-H-H-H II II II II II II II II 00000.0.0.0. aaaa..aa rtrtO.O.rt^O.0. — (N — (N — (N — (N |
|
B |
1009483 | ||||||
|
C |
1009481 | ||||||
|
ТН |
_ |
A B C |
_ |
_ | |||
|
Счет чик |
КлТ=0,2Б/0,5 36697-08 |
СЭТ-4ТМ.03М.08 |
0804102148 | ||||
|
22 |
РП-5 РУ 6 кВ, яч.4 ТП-71 ввод 1 |
ТТ |
КлТ=0,5 Ктт=300/5 44339-10 |
A |
АВК-10 |
14113 |
IC rc Г' G ic ■t О ’t Cl — <C — Cl — ~Г Cl -H-H-H-H-H-H-H-H II II II II II II II II 00000.0.0.0. aaaa..aa rtrtO.O.rt^O.0. — (N — (N — (N — (N |
|
B |
_ | ||||||
|
C |
14111 | ||||||
|
ТН |
КлТ=0,5 Ктн=6000/100 44324-10 |
A |
VSKI-10b |
1115/86 | |||
|
B |
999/86 | ||||||
|
C |
1126/86 | ||||||
|
Счет чик |
КлТ=0,2Б/0,5 36697-08 |
СЭТ-4ТМ.03М |
0810091123 | ||||
|
23 |
РП-5 РУ 6 кВ, яч.20 ТП-71 ввод 2 |
ТТ |
КлТ=0,5 Ктт=300/5 44339-10 |
A |
АВК-10 |
5353 |
IC, rc G ic ■t C' ’t Cl — <C — Cl — ~Г Cl -H-H-H-H-H-H-H-H II II II II II II II II 00000.0.0.0. aaaa..aa rtrtO.O.rt^O.0. — (N — (N — (N — (N |
|
B |
_ | ||||||
|
C |
5352 | ||||||
|
ТН |
КлТ=0,5 Ктн=6000/100 44324-10 |
A |
VSKI-10b |
011941/77 | |||
|
B |
011938/77 | ||||||
|
C |
009593/77 | ||||||
|
Счет чик |
КлТ=0,2Б/0,5 36697-08 |
СЭТ-4ТМ.03М |
0810091274 | ||||
|
П |
родолжение таблицы 2 | ||||||
|
24 |
ГПП-6 РУ 6 кВ, яч.6 |
ТТ |
КлТ=0,5 Ктт=1500/5 44313-10 |
A |
JPZ10-2T |
1764 |
К. ГС Г~- OK. ~Г О -j-Cl — <C — Cl — ~Г Cl -H-H-H-H-H-H-H-H II II II II II II II II 00000.0.0.0. ■ ■■■■■■■ rtrtO.O.rt^O.0. — (N — (N — (N — (N |
|
B |
_ | ||||||
|
C |
1763 | ||||||
|
ТН |
КлТ=0,5 Ктн=6000/100 44322-10 |
A |
UZ10-1T |
16336 | |||
|
B |
24385 | ||||||
|
C |
24389 | ||||||
|
Счет чик |
КлТ=0,2Б/0,5 36697-08 |
СЭТ-4ТМ.03М |
0810090786 | ||||
|
25 |
ГПП-6 РУ 6 кВ, яч.25 |
ТТ |
КлТ=0,5 Ктт=1500/5 44313-10 |
A |
JPZ10-2T |
1170 |
IC, rc G ic ■t C' ’t Cl — <C — Cl — ~Г Cl -H-H-H-H-H-H-H-H II II II II II II II II 00000.0.0.0. ■ ■■■■■■■ rtrtO.O.rt^O.0. — (N — (N — (N — (N |
|
B |
- | ||||||
|
C |
1734 | ||||||
|
ТН |
КлТ=0,5 Ктн=6000/100 44322-10 |
A |
UZ10-1T |
16349 | |||
|
B |
16351 | ||||||
|
C |
16343 | ||||||
|
Счет чик |
КлТ=0,2Б/0,5 36697-08 |
СЭТ-4ТМ.03М |
0810091215 | ||||
|
26 |
ГПП-6 РУ 6 кВ, яч.54 |
ТТ |
КлТ=0,5 Ктт=1500/5 44313-10 |
A |
JPZ10-2T |
1358 |
IC rc Г' G ic ■t О ’t Cl — <C — Cl — ~Г Cl -H-H-H-H-H-H-H-H II II II II II II II II 00000.0.0.0. ..••..•a rtrtO.O.rt^O.0. — (N — (N — (N — (N |
|
B |
- | ||||||
|
C |
1356 | ||||||
|
ТН |
КлТ=0,5 Ктн=6000/100 44322-10 |
A |
UZ10-1T |
06059 | |||
|
B |
16327 | ||||||
|
C |
16338 | ||||||
|
Счет чик |
КлТ=0,2Б/0,5 36697-08 |
СЭТ-4ТМ.03М |
0811091020 | ||||
|
27 |
ГПП-6 РУ 6 кВ, яч.90 |
ТТ |
КлТ=0,5 Ктт=1500/5 44313-10 |
A |
JPZ10-2T |
1621 |
IC, rc G ic ■t C' ’t Cl — <C — Cl — ~Г Cl -H-H-H-H-H-H-H-H II II II II II II II II 00000.0.0.0. aaaa..aa rtrtO.O.rt^O.0. — (N — (N — (N — (N |
|
B |
_ | ||||||
|
C |
1665 | ||||||
|
ТН |
КлТ=0,5 Ктн=6000/100 44322-10 |
A |
UZ10-1T |
16328 | |||
|
B |
16334 | ||||||
|
C |
16333 | ||||||
|
Счет чик |
КлТ=0,2Б/0,5 36697-08 |
СЭТ-4ТМ.03М |
0810091208 | ||||
|
28 |
РУ 0,4 кВ, ТП-198 яч.3/3 |
ТТ |
КлТ=0,5Б Ктт=200/5 15174-06 |
A |
ТОП-0,66 |
12660 |
rc О O O> K, Cl K, Cl — — СЧ — — — СЧСЧ -H-H-H-H-H-H-H-H II II II II II II II II 00000.0.0.0. aaaa..aa rtrtO.O.rt^O.0. — (N — (N — (N — (N |
|
B |
12666 | ||||||
|
C |
12865 | ||||||
|
ТН |
_ |
A B C |
_ |
_ | |||
|
Счет чик |
КлТ=0,2Б/0,5 36697-08 |
СЭТ-4ТМ.03М.08 |
0804100550 | ||||
|
29 |
РУ 0,4 кВ, ТП-198 яч.5/3 |
ТТ |
КлТ=0,5Б Ктт=200/5 15174-06 |
A |
ТОП-0,66 |
11306 |
rc О O O> K, Cl K, Cl — — СЧ — — — СЧСЧ -H-H-H-H-H-H-H-H II II II II II II II II 00000.0.0.0. aaaa..aa rtrtO.O.rt^O.0. — (N — (N — (N — (N |
|
B |
11348 | ||||||
|
C |
11332 | ||||||
|
ТН |
_ |
A B C |
_ |
_ | |||
|
Счет чик |
КлТ=0,2Б/0,5 36697-08 |
СЭТ-4ТМ.03М.08 |
0812090761 | ||||
|
30 |
РУ 0,4 кВ, ТП-127 яч.3/1 |
ТТ |
КлТ=0,58 Ктт=400/5 37900-08 |
A |
ТШЛ-0,66 |
142640 |
ГС О О чО К, CI К, CI — — СЧ — — — СЧСЧ -н-н-н-н-н-н-н-н II II II II II II II II 00000.0.0.0. ■ ■■■■■■■ rtrtO.O.rt^O.0. — (N — (N — (N — (N |
|
B |
142539 | ||||||
|
C |
142531 | ||||||
|
ТН |
_ |
A B C |
_ |
_ | |||
|
Счет чик |
КлТ=0,28/0,5 36697-08 |
СЭТ-4ТМ.03М.08 |
0812090845 | ||||
|
31 |
РУ 0,4 кВ, ТП-127 яч.7/2 |
ТТ |
КлТ=0,58 Ктт=400/5 37900-08 |
A |
ТШЛ-0,66 |
142623 |
— — (N — — — CNCN -н-н-н-н-н-н-н-н II II II II II II II II 00000.0.0.0. ■ ■■■■■■■ rtrtO.O.rt^O.0. — (N — (N — (N — (N |
|
B |
142629 | ||||||
|
C |
142582 | ||||||
|
ТН |
_ |
A B C |
_ |
_ | |||
|
Счет чик |
КлТ=0,28/0,5 36697-08 |
СЭТ-4ТМ.03М.08 |
0812090782 | ||||
|
32 |
РУ 0,4 кВ, ТП-99 яч.2/3 |
ТТ |
КлТ=0,58 Ктт=400/5 15173-06 |
A |
ТШП-0,66 |
143706 |
ГС О О чО К, CI К, CI — — СЧ — — — СЧСЧ -н-н-н-н-н-н-н-н II II II II II II II II 00000.0.0.0. ..••..•а rtrtO.O.rt^O.0. — (N — (N — (N — (N |
|
B |
143714 | ||||||
|
C |
143699 | ||||||
|
ТН |
_ |
A B C |
_ |
_ | |||
|
Счет чик |
КлТ=0,28/0,5 36697-08 |
СЭТ-4ТМ.03М.08 |
0804100662 | ||||
|
33 |
РУ 0,4 кВ, ТП-99 яч.7/3 |
ТТ |
КлТ=0,58 Ктт=400/5 15173-06 |
A |
ТШП-0,66 |
142671 |
MOO'OinnmN — — (N — — — CNCN -н-н-н-н-н-н-н-н II II II II II II II II 00000.0.0.0. аааа..аа rtrtO.O.rt^O.0. — Г-J — Г-J — Г-J — Г-J |
|
B |
142543 | ||||||
|
C |
141585 | ||||||
|
ТН |
_ |
A B C |
_ |
_ | |||
|
Счет чик |
КлТ=0,28/0,5 36697-08 |
СЭТ-4ТМ.03М.08 |
0804100619 | ||||
|
34 |
РП-36 РУ 6 кВ, яч.22 |
ТТ |
КлТ=0,5 Ктт=600/5 9143-06 |
A |
ТЛК-10 |
2925 |
If, Г' a ■t О ’t Cl — <C — Cl — ~Г Cl -H-H-H-H-H-H-H-H II II II II II II II II 00000.0.0.0. aaaa..aa rtrtO.O.rt^O.0. — (N — (N — (N — (N |
|
B |
2696 | ||||||
|
C |
2691 | ||||||
|
ТН |
КлТ=0,5 Ктн=6000/100 44322-10 |
A |
UZ10-U |
13989 | |||
|
B |
13992 | ||||||
|
C |
13988 | ||||||
|
Счет чик |
КлТ=0,28/0,5 36697-08 |
СЭТ-4ТМ.03М |
0081109161 4 | ||||
|
35 |
РП-36 РУ 6 кВ, яч.32 |
ТТ |
КлТ=0,5 Ктт=600/5 9143-06 |
A |
ТЛК-10 |
2694 |
If, rf G if, ■t C' ’t Cl — <C — Cl — ~Г Cl -н-н-н-н-н-н-н-н II II II II II II II II 00000.0.0.0. aaaa..aa rtrtO.O.rt^O.0. — (N — (N — (N — (N ЮЮЮЮЮЮЮЮ |
|
B |
2697 | ||||||
|
C |
2692 | ||||||
|
ТН |
КлТ=0,5 Ктн=6000/100 44322-10 |
A |
UZ10-U |
13990 | |||
|
B |
10864 | ||||||
|
C |
10868 | ||||||
|
Счет чик |
КлТ=0,28/0,5 36697-08 |
СЭТ-4ТМ.03М |
0811091713 | ||||
|
П |
родолжение таблицы 2 | ||||||
|
36 |
РП-36 РУ 6 кВ, яч.5 |
ТТ |
КлТ=0,5 Ктт=750/5 15128-07 |
A |
ТОЛ-10-I |
67890 |
К, к, О <ОК, ~Г О -Г CI — к, — CI — ~Г CI -н-н-н-н-н-н-н-н II II II II II II II II 00000.0.0.0. ■ ■■■■■■■ rtrtO.O.rt^O.0. — 04 — 04 — 04 — 04 |
|
B |
67891 | ||||||
|
C |
67892 | ||||||
|
ТН |
КлТ=0,5 Ктн=6000/100 44324-10 |
A |
VSKI-10b |
8127/85 | |||
|
B |
2075/85 | ||||||
|
C |
8133/85 | ||||||
|
Счет чик |
КлТ=0,2Б/0,5 36697-08 |
СЭТ-4ТМ.03М |
081191241 | ||||
|
37 |
РП-36 РУ 6 кВ, яч.49 |
ТТ |
КлТ=0,5 Ктт=750/5 15128-07 |
A |
ТОЛ-10-I |
30036 |
К, к, О <ОК, ~Г О -Г CI — к, — CI — ~Г CI -н-н-н-н-н-н-н-н II II II II II II II II 00000.0.0.0. ■ ■■■■■■■ rtrtO.O.rt^O.0. — 04 — 04 — 04 — 04 |
|
B |
67888 | ||||||
|
C |
67889 | ||||||
|
ТН |
КлТ=0,5 Ктн=6000/100 44322-10 |
A |
UZ10-1T |
13987 | |||
|
B |
13984 | ||||||
|
C |
13994 | ||||||
|
Счет чик |
КлТ=0,2Б/0,5 36697-08 |
СЭТ-4ТМ.03М |
0811091536 | ||||
|
38 |
РУ 0,4 кВ, ТП-69 яч.6 |
ТТ |
КлТ=0,5Б Ктт=200/5 15174-06 |
A |
ТОП-0,66 |
13043 |
с, С' О к, c i к, c i — — СЧ — — — СЧСЧ -н-н-н-н-н-н-н-н II II II II II II II II 00000.0.0.0. ■ ■■■■■■■ rtrtO.O.rt^O.0. — 04 — 04 — 04 — 04 |
|
B |
13049 | ||||||
|
C |
13024 | ||||||
|
ТН |
_ |
A B C |
_ |
_ | |||
|
Счет чик |
КлТ=0,2Б/0,5 36697-08 |
СЭТ-4ТМ.03М.08 |
0810091364 | ||||
|
39 |
РУ 0,4 кВ, ТП-69 яч.14 |
ТТ |
КлТ=0,5Б Ктт=200/5 15174-06 |
A |
ТОП-0,66 |
11901 |
о о о if, ci о ci — — (N — — — CNCN -н-н-н-н-н-н-н-н II II II II II II II II 00000.0.0.0. ■ ■■■■■■■ rtrtO.O.rt^O.0. — 04 — 04 — 04 — 04 |
|
B |
11900 | ||||||
|
C |
12103 | ||||||
|
ТН |
_ |
A B C |
_ |
_ | |||
|
Счет чик |
КлТ=0,2Б/0,5 36697-08 |
СЭТ-4ТМ.03М.08 |
0810091375 | ||||
|
40 |
ГПП-7 РУ 6 кВ, яч.60 |
ТТ |
КлТ=0,5 Ктт=1000/5 9143-06 |
A |
ТЛК-10 |
03630 |
Cl — к, — Cl — ~Г Cl -н-н-н-н-н-н-н-н II II II II II II II II 00000.0.0.0. ■ ■■■■■■■ rtrtO.O.rt^O.0. — 04 — 04 — 04 — 04 |
|
B |
_ | ||||||
|
C |
03727 | ||||||
|
ТН |
КлТ=0,5 Ктн=6000/100 35956-07 |
A |
ЗНОЛ-СЭЩ- 6 |
00393-09 | |||
|
B |
00383-09 | ||||||
|
C |
00382-09 | ||||||
|
Счет чик |
КлТ=0,2Б/0,5 36697-08 |
СЭТ-4ТМ.03М |
0105080246 | ||||
|
41 |
ГПП-7 РУ 6 кВ, яч.88 |
ТТ |
КлТ=0,5 Ктт=1000/5 9143-06 |
A |
ТЛК-10 |
03728 |
If, rf G if, ■t С' ’t Cl — <C — Cl — ~Г Cl -н-н-н-н-н-н-н-н II II II II II II II II 00000.0.0.0. ■ ■■■■■■■ rtrtO.O.rt^O.0. — 04 — 04 — 04 — 04 |
|
B |
_ | ||||||
|
C |
03751 | ||||||
|
ТН |
КлТ=0,5 Ктн=6000/100 35956-07 |
A |
ЗНОЛ-СЭЩ- 6 |
1929 | |||
|
B |
1900 | ||||||
|
C |
1899 | ||||||
|
Счет чик |
КлТ=0,2Б/0,5 36697-08 |
СЭТ-4ТМ.03М |
0105080325 | ||||
|
П |
родолжение таблицы 2 | ||||||
|
1 |
2 |
3 |
4 |
5 |
6 |
7 |
8 |
|
42 |
ГПП-7 РУ 6 кВ, яч.55 |
ТТ |
КлТ=0,5 Ктт=1000/5 9143-06 |
A |
ТЛК-10-7 |
03750 |
К, rc Г"- О К, —t О ~t Cl - — Cl — “t Cl -H-H-H-H-H-H-H-H II II II II II II II II 00000.0.0.0. ■ ■■■■■■■ rtrtO.O.rt^O.0. — (N — (N — (N — (N |
|
B |
_ | ||||||
|
C |
03753 | ||||||
|
ТН |
КлТ=0,5 Ктн=6000/100 35956-07 |
A |
ЗНОЛ-СЭЩ- 6 |
00381-09 | |||
|
B |
00380-09 | ||||||
|
C |
00366-09 | ||||||
|
Счет чик |
КлТ=0,28/0,5 36697-08 |
СЭТ-4ТМ.03М |
0104084923 | ||||
|
43 |
ГПП-7 РУ 6 кВ, яч.85 |
ТТ |
КлТ=0,5 Ктт=1000/5 9143-06 |
A |
ТЛК-10-7 |
03631 |
IC rc Г' G ic ■t О ’t Cl — — Cl - “t Cl -H-H-H-H-H-H-H-H II II II II II II II II 00000.0.0.0. ■ ■■■■■■■ rtrtO.O.rt^O.0. — (N — (N — (N — (N |
|
B |
_ | ||||||
|
C |
03752 | ||||||
|
ТН |
КлТ=0,5 Ктн=6000/100 35956-07 |
A |
ЗНОЛ-СЭЩ- 6 |
00394-09 | |||
|
B |
00397-09 | ||||||
|
C |
00396-09 | ||||||
|
Счет чик |
КлТ=0,28/0,5 36697-08 |
СЭТ-4ТМ.03М |
0105080452 | ||||
|
44 |
РУ 0,4 кВ, ТП-56 яч.НК-04 |
ТТ |
КлТ=0,58 Ктт=100/5 15174-06 |
A |
ТОП-0,66 |
903371 |
tcooioicciicN — — СЧ — — — СЧСЧ -H-H-H-H-H-H-H-H II II II II II II II II 00000.0.0.0. aaaa..aa rtrtO.O.rt^O.0. — (N — (N — (N — (N |
|
B |
903372 | ||||||
|
C |
903370 | ||||||
|
ТН |
_ |
A B C |
_ |
_ | |||
|
Счет чик |
КлТ=0,28/0,5 36697-08 |
СЭТ-4ТМ.03М.08 |
0812090866 | ||||
|
45 |
РУ 0,4 кВ, ТП-б/н яч.НК-04 |
ТТ |
КлТ=0,28 Ктт=50/5 15174-06 |
A |
ТОП-0,66 |
1035252 |
Г-О О О О О 00 Г' OO — OOO — — -н-н-н-н-н-н-н-н II II II II II II II II ■ ■••■■•a rtrtO.O.rt^O.0. — (N — (N — (N — (N |
|
B |
1035262 | ||||||
|
C |
1035248 | ||||||
|
ТН |
_ |
A B C |
_ |
_ | |||
|
Счет чик |
КлТ=0,28/0,5 36697-08 |
СЭТ-4ТМ.03М.08 |
0804100015 | ||||
|
46 |
РУ 0,4 кВ, КТП-204 яч. склад |
ТТ |
КлТ=0,28 Ктт=200/5 15174-06 |
A |
ТОП-0,66 |
1009093 |
r-O О О О <O 00 Г' OO — OOO — — -н-н-н-н-н-н-н-н II II II II II II II II OOOOQaOaOaOa aaaaaaaa rtrtO.O.rt^O.0. — (N — (N — (N — (N |
|
B |
1009092 | ||||||
|
C |
1009091 | ||||||
|
ТН |
_ |
A B C |
_ |
_ | |||
|
Счет чик |
КлТ=0,28/0,5 36697-08 |
СЭТ-4ТМ.03М.08 |
0812091360 | ||||
|
47 |
РУ 0,4 кВ, КТП-24ф.01 гараж |
ТТ |
КлТ=0,28 Ктт=100/5 15174-06 |
A |
ТОП-0,66 |
1009077 |
r-O О О О <O 00 Г' OO — OOO — — -н-н-н-н-н-н-н-н II II II II II II II II OOOOQaOaOaOa aaaaaaaa rtrtO.O.rt^O.0. — (N — (N — (N — (N |
|
B |
1009078 | ||||||
|
C |
1009083 | ||||||
|
ТН |
_ |
A B C |
_ |
_ | |||
|
Счет чик |
КлТ=0,28/0,5 36697-08 |
СЭТ-4ТМ.03М.08 |
0803104624 | ||||
|
П |
родолжение таблицы 2 | ||||||
|
1 |
2 |
3 |
4 |
5 |
6 |
7 |
8 |
|
48 |
РУ 0,4 кВ, ТП-1 яч.2/2 |
ТТ |
КлТ=0,28 Ктт=300/5 15173-06 |
A |
ТШП-0,66 |
1013384 |
Г-О О О О О ОО Г' ОО-ООО- — -н-н-н-н-н-н-н-н II II II II II II II II ■ ■■■■■■■ лсзо.о.лсзо.о. — (N — (N — (N — (N |
|
B |
1013392 | ||||||
|
C |
1013388 | ||||||
|
ТН |
_ |
A B C |
_ |
_ | |||
|
Счет чик |
КлТ=0,28/0,5 36697-08 |
СЭТ-4ТМ.03М.08 |
0804102116 | ||||
|
49 |
РУ 0,4 кВ, ТП-1 яч.3/3 |
ТТ |
КлТ=0,28 Ктт=300/5 15173-06 |
A |
ТШП-0,66 |
1013387 |
Г-О О О О О ОО Г' 00 — 000 — — -н-н-н-н-н-н-н-н II II II II II II II II ■ ■••■■•а лсзо.о.лсзо.о. — (N — (N — (N — (N |
|
B |
1013394 | ||||||
|
C |
1013383 | ||||||
|
ТН |
_ |
A B C |
_ |
_ | |||
|
Счет чик |
КлТ=0,28/0,5 36697-08 |
СЭТ-4ТМ.03М.08 |
0804102031 | ||||
|
50 |
РП-9 РУ 0,4 кВ, ТП-102 ввод1 |
ТТ |
КлТ=0,28 Ктт=1500/5 15173-06 |
A |
ТШП-0,66 |
1014372 |
Г-О О О О О 00 Г' 00 — 000 — — -н-н-н-н-н-н-н-н II II II II II II II II ОООООаОаОаОи аааааааа лсзо.о.лсзо.о. — (N — (N — (N — (N |
|
B |
1014376 | ||||||
|
C |
1014371 | ||||||
|
ТН |
_ |
A B C |
_ |
_ | |||
|
Счет чик |
КлТ=0,28/0,5 36697-08 |
СЭТ-4ТМ.03М.08 |
0804102017 | ||||
|
51 |
РП-9 РУ 0,4 кВ, ТП-102 ввод2 |
ТТ |
КлТ=0,28 Ктт=1500/5 15173-06 |
A |
ТШП 0.66 |
1014373 |
Г-О О О О О 00 Г' 00 — 000 — — -н-н-н-н-н-н-н-н II II II II II II II II ОООООаОаОаОи аааааааа лсзо.о.лсзо.о. — (N — (N — (N — (N |
|
B |
1014374 | ||||||
|
C |
1014375 | ||||||
|
ТН |
_ |
A B C |
_ |
_ | |||
|
Счет чик |
КлТ=0,28/0,5 36697-08 |
СЭТ-4ТМ.03М.08 |
0804102025 | ||||
|
52 |
РП-9 РУ 6 кВ, яч.6 |
ТТ |
КлТ=0,28 Ктт=300/5 36307-07 |
A |
ТОЛ-10-1М |
4671 |
oot^^ooooooo ОО1—'О’—* -н-н-н-н-н-н-н-н II II II II II II II II 00000.0.0.0. аааааааа rtrtO.O.rt^O.0. — (N — (N — (N — (N |
|
B |
_ | ||||||
|
C |
4547 | ||||||
|
ТН |
КлТ=0,2 Ктн=6000/100 35956-07 |
A |
ЗНОЛ-СЭЩ- 6 |
01032-11 | |||
|
B |
01036-11 | ||||||
|
C |
01035-11 | ||||||
|
Счет чик |
КлТ=0,28/0,5 36697-08 |
СЭТ-4ТМ.03М |
0806100839 | ||||
|
53 |
РП-9 РУ 6 кВ, яч.17 |
ТТ |
КлТ=0,28 Ктт=300/5 36307-07 |
A |
ТОЛ-10-1М |
4546 |
oot^^ooooooo ОО1—'О’—1 -н-н-н-н-н-н-н-н II II II II II II II II 00000.0.0.0. аааааааа rtrtO.O.rt^O.0. — (N — (N — (N — (N |
|
B |
_ | ||||||
|
C |
4670 | ||||||
|
ТН |
КлТ=0,2 Ктн=6000/100 35956-07 |
A |
ЗНОЛ-СЭЩ- 6 |
01033-11 | |||
|
B |
01034-11 | ||||||
|
C |
01037-11 | ||||||
|
Счет чик |
КлТ=0,28/0,5 36697-08 |
СЭТ-4ТМ.03М |
0810093188 | ||||
|
П |
родолжение таблицы 2 | ||||||
|
1 |
2 |
3 |
4 |
5 |
6 |
7 |
8 |
|
54 |
РП-9 РУ 0,4 кВ, ТП-98 яч.2-2 |
ТТ |
КлТ=0,28 Ктт=100/5 15174-06 |
A |
ТОП-0,66 |
1009090 |
Г-О О О О О ОО Г' ОО-ООО- — -н-н-н-н-н-н-н-н II II II II II II II II ■ ■■■■■■■ лсзо.о.лсзо.о. — (N — (N — (N — (N |
|
B |
1009085 | ||||||
|
C |
1009076 | ||||||
|
ТН |
_ |
A B C |
_ |
_ | |||
|
Счет чик |
КлТ=0,28/0,5 36697-08 |
СЭТ-4ТМ.03М.08 |
0804100571 | ||||
|
55 |
РП-9 РУ 0,4 кВ, ТП-98 яч.6-2 авт.4 |
ТТ |
КлТ=0,28 Ктт=100/5 15174-06 |
A |
ТОП-0,66 |
1009087 |
Г-О О О О О ОО Г' 00 — 000 — — -н-н-н-н-н-н-н-н II II II II II II II II ■ ■••■■•а лсзо.о.лсзо.о. — (N — (N — (N — (N |
|
B |
1009086 | ||||||
|
C |
1009084 | ||||||
|
ТН |
_ |
A B C |
_ |
_ | |||
|
Счет чик |
КлТ=0,28/0,5 36697-08 |
СЭТ-4ТМ.03М.08 |
0804102165 | ||||
|
56 |
РП-9 РУ 0,4 кВ, ТП-98 яч.3-3 |
ТТ |
КлТ=0,28 Ктт=400/5 15173-06 |
A |
ТШП-0,66 |
1012326 |
Г-О О О О О 00 Г' 00 — 000 — — -н-н-н-н-н-н-н-н II II II II II II II II ОООООаОаОаОи аааааааа лсзо.о.лсзо.о. — (N — (N — (N — (N |
|
B |
1012324 | ||||||
|
C |
1012320 | ||||||
|
ТН |
_ |
A B C |
_ |
_ | |||
|
Счет чик |
КлТ=0,28/0,5 36697-08 |
СЭТ-4ТМ.03М.08 |
0804102087 | ||||
|
57 |
РП-9 РУ 0,4 кВ, ТП-98 яч.5-2 |
ТТ |
КлТ=0,28 Ктт=400/5 15173-06 |
A |
ТШП-0,66 |
1012328 |
Г-О О О О О 00 Г' 00 — 000 — — -н-н-н-н-н-н-н-н II II II II II II II II ОООООаОаОаОи аааааааа лсзо.о.лсзо.о. — (N — (N — (N — (N |
|
B |
1012323 | ||||||
|
C |
1012321 | ||||||
|
ТН |
_ |
A B C |
_ |
_ | |||
|
Счет чик |
КлТ=0,28/0,5 36697-08 |
СЭТ-4ТМ.03М.08 |
0804102169 | ||||
|
58 |
РП-9 РУ 6 кВ, яч.5 |
ТТ |
КлТ=0,28 Ктт=150/5 36307-07 |
A |
ТОЛ-10-IM |
4788 |
oot^^ooooooo ОО1—'О’—* -н-н-н-н-н-н-н-н II II II II II II II II 00000.0.0.0. аааааааа rtrtO.O.rt^O.0. — (N — (N — (N — (N |
|
B |
4539 | ||||||
|
C |
4540 | ||||||
|
ТН |
КлТ=0,2 Ктн=6000/100 35956-07 |
A |
ЗНОЛ-СЭЩ- 6 |
01032-11 | |||
|
B |
01036-11 | ||||||
|
C |
01035-11 | ||||||
|
Счет чик |
КлТ=0,28/0,5 36697-08 |
СЭТ-4ТМ.03М |
0811090805 | ||||
|
59 |
РП-9 РУ 6 кВ, яч.16 |
ТТ |
КлТ=0,28 Ктт=150/5 36307-07 |
A |
ТОЛ-10-IM |
4787 |
oot^^ooooooo ОО1—'О’—1 -н-н-н-н-н-н-н-н II II II II II II II II 00000.0.0.0. аааааааа rtrtO.O.rt^O.0. — (N — (N — (N — (N |
|
B |
4789 | ||||||
|
C |
4900 | ||||||
|
ТН |
КлТ=0,2 Ктн=6000/100 35956-07 |
A |
ЗНОЛ-СЭЩ- 6 |
01033-11 | |||
|
B |
01034-11 | ||||||
|
C |
01037-11 | ||||||
|
Счет чик |
КлТ=0,28/0,5 36697-08 |
СЭТ-4ТМ.03М |
0811090601 | ||||
|
1 |
2 |
3 |
4 |
5 |
6 |
7 |
8 |
|
60 |
РП-9 РУ 0,4 кВ, ТП-98 яч.6-2 авт.6 |
ТТ |
КлТ=0,28 Ктт= 100/5 15174-06 |
A |
ТОП-0,66 |
1009082 |
Г-О О О О О ОО Г' ОО — ООО — — -н-н-н-н-н-н-н-н II II II II II II II II ■ ■■■■■■■ лсзо.о.лсзо.о. — Г-J — — — Г-J |
|
B |
1009089 | ||||||
|
C |
1009088 | ||||||
|
ТН |
A B C |
_ |
_ | ||||
|
Счет чик |
КлТ=0,28/0,5 36697-08 |
СЭТ-4ТМ.03М.08 |
0804102018 | ||||
|
61 |
РУ 0,4 кВ, ТП-49 яч.2 |
ТТ |
КлТ=0,58 Ктт= 100/5 15174-06 |
A |
ТОП-0,66 |
1009080 |
О О О О К. CI К. CI — — сч — — — счсч -н-н-н-н-н-н-н-н II II II II II II II II 00000.0.0.0. rtrtO.O.rt^O.0. — Г-J — Г-J — Г-J — Г-J |
|
B |
1009081 | ||||||
|
C |
1009079 | ||||||
|
ТН |
_ |
A B C |
_ |
_ | |||
|
Счет чик |
КлТ=0,28/0,5 36697-08 |
СЭТ-4ТМ.03М.08 |
0804102321 | ||||
|
62 |
РУ 0,4 кВ, ЦРП-2 Ф. 15-04 ЛГ-01 |
ТТ |
КлТ=0,28 Ктт= 50/5 15174-06 |
A |
ТОП-0,66 |
1015620 |
Г-О О О О О ОО Г' ОО — ООО — — -н-н-н-н-н-н-н-н II II II II II II II II ■ ■••■■•а rtrtO.O.rt^O.0. — Г-J — Г-J — Г-J — Г-J |
|
B |
1015615 | ||||||
|
C |
1015619 | ||||||
|
TH |
_ |
A B C |
_ |
_ | |||
|
Счет чик |
КлТ=0,28/0,5 36697-08 |
СЭТ-4ТМ.03М.08 |
0803104659 | ||||
|
63 |
РУ 0,4 кВ, КТП-363 Ф.3-26 БГ-01 |
ТТ |
КлТ=0,28 Ктт= 50/5 15174-06 |
A |
ТОП-0,66 |
1016003 |
г- о о о о о <х> m ОО — ООО — — -н-н-н-н-н-н-н-н II II II II II II II II ОООООаОаОаОи аааааааа rtrtO.O.rt^O.0. — Г-J — Г-J — Г-J — Г-J |
|
B |
1016007 | ||||||
|
C |
1016005 | ||||||
|
ТН |
_ |
A B C |
_ |
_ | |||
|
Счет чик |
КлТ=0,28/0,5 36697-08 |
СЭТ-4ТМ.03М.08 |
0803104267 | ||||
|
64 |
РУ 0,4 кВ, КТПН-63/10 Ф.10-65 ЕЛ-02 |
ТТ |
КлТ=0,28 Ктт= 50/5 15174-06 |
A |
ТОП-0,66 |
1035259 |
г- о о о о о <х> m ОО — ООО — — -н-н-н-н-н-н-н-н II II II II II II II II ОООООаОаОаОи аааааааа rtrtO.O.rt^O.0. — Г-J — Г-J — Г-J — Г-J |
|
B |
1035250 | ||||||
|
C |
1035254 | ||||||
|
ТН |
_ |
A B C |
_ |
_ | |||
|
Счет чик |
КлТ=0,28/0,5 36697-08 |
СЭТ-4ТМ.03М.08 |
0803104688 | ||||
В графе 8 таблицы 2 приведены границы допускаемой относительной погрешности при доверительной вероятности, равной 0,95, при следующих условиях:
51,а.о — границы допускаемой основной погрешности измерений активной электрической энергии при I = 0,1-!ном и cosф = 0,8;
52.а.о — границы допускаемой основной погрешности измерений активной электрической энергии при I = 1ном и cosф = 0,8;
51,р.о - границы допускаемой основной погрешности измерений реактивной электрической энергии при I = 0,1-!ном и simp = 0,6;
З2.р.о - границы допускаемой основной погрешности измерений реактивной электрической энергии при I = 1ном и simp = 0,6;
51,а.р — границы допускаемой погрешности измерений активной электрической энергии в рабочих условиях применения при I = 0,Г1ном и cosф = 0,8;
З2.а.р - границы допускаемой погрешности измерений активной электрической энергии в рабочих условиях применения при I = 1ном и cosф = 0,8;
61.р.р — границы допускаемой погрешности измерений реактивной электрической энергии при в рабочих условиях применения I = 0,1-1ном и sinф = 0,6;
З2.р.р — границы допускаемой погрешности измерений реактивной электрической энергии в рабочих условиях применения при I = Хном и sinф = 0,6;
Пределы допускаемой абсолютной погрешности измерений времени ± 5 с.
Пределы допускаемой погрешности измерений интервалов времени ± 5 с/сутки. Нормальные условия применения:
|
— температура окружающего воздуха, °С — относительная влажность воздуха, % — атмосферное давление, кПа (от 630 до 795 мм рт. Ст.) — напряжение питающей сети переменного тока, В — частота питающей сети переменного тока, Гц — индукция внешнего магнитного поля, мТл не более Рабочие условия применения: |
21 ... 25; 30 ... 80; 84 . 106; 215,6 . 224,4; 49,85 . 50,15; 0,05. |
|
— напряжение питающей сети переменного тока, В — частота питающей сети, Гц — температура (для ТН и ТТ), °С — температура (для счетчиков, УСПД) — температура (для сервера, АРМ, каналообразующего и вспомогательного оборудования), °С — индукция внешнего магнитного поля (для счётчиков), мТл Среднее время наработки на отказ Средний срок службы |
198 . 242 49 . 51 [—30] . 40 5 . 35 10 . 30 0 . 0,5 700 ч 12 лет |
Знак утверждения типа
наносится с помощью принтера на титульные листы (место нанесения — вверху, справа) эксплуатационной документации системы автоматизированной информационно-измерительной коммерческого учета электрической энергии ОАО «ТАИФ-НК».
Комплектность
В комплект АИИС КУЭ ОАО «ТАИФ-НК» входят технические средства и документация, представленные в таблицах 3 и 4 соответственно.
________Таблица 3 — Технические средства_____________________________________________________
|
№ |
Наименование |
Обозначение |
Кол-во |
|
1 |
2 |
3 |
4 |
|
1 |
Трансформатор тока |
ТОП-066 |
66 |
|
2 |
Трансформатор тока |
АЕК-10 |
12 |
|
3 |
Трансформатор тока |
АВК-10 |
10 |
|
4 |
Трансформатор тока |
JPZ10-2TA |
8 |
|
5 |
Трансформатор тока |
ТЛК-10 |
16 |
|
6 |
Трансформатор тока |
JPZ10-2T |
8 |
|
7 |
Трансформатор тока |
ТШЛ-0,66 |
6 |
|
8 |
Трансформатор тока |
ТШП-0,66 |
24 |
Продолжение таблицы 3 - Технические средства
|
1 |
2 |
3 |
4 |
|
9 |
Трансформатор тока |
ТОЛ-10-I |
6 |
|
10 |
Трансформатор тока |
ТОЛ-10-1М |
10 |
|
11 |
Трансформатор напряжения |
UZ10-1T |
23 |
|
12 |
Трансформатор напряжения |
VSK10b |
28 |
|
13 |
Трансформатор напряжения |
VSKI-10b |
9 |
|
14 |
Трансформатор напряжения |
ЗНОЛ-СЭЩ-6 |
18 |
|
15 |
Счётчик электрической энергии |
СЭТ-4ТМ.03М |
64 |
|
16 |
Устройство сбора и передачи данных УСПД REC c GPS-модулем |
УСПД REC-1.2.3.31.1.H.E. |
28 |
|
17 |
Источник бесперебойного питания 400VA/240W |
APC BE400-RS Back-UPS ES |
28 |
|
18 |
Блок питания DRA 10-12, input: 100-240 VAC, output: 12 VDC, 10W |
DRA 10-12 |
56 |
|
19 |
GSM-модем Невод-GSM-GPRS, режимы GSM;GPRS; прямое модемное; RS-232, RS-485 |
Невод-GSM |
28 |
|
20 |
Антенна ADA-0086, штыревая, с креплением на модем |
ADA-0086 |
28 |
|
21 |
Радиомодем Невод |
Невод-5 |
19 |
|
22 |
Антенна направленная пятиэлементная |
АН5-433 |
16 |
|
23 |
Антенна базовая коллинеарная |
Sirio SA-703N |
4 |
|
24 |
Коробка испытательная переходная КИ У3 |
ТУ 3464-097-01411521-97 |
64 |
|
25 |
Шкаф учета 01 |
НРЭК-01.1 |
19 |
|
26 |
Шкаф учета 02 |
НРЭК-01.2 |
9 |
|
27 Специализированный вычислительный комплекс в составе: - сервер АИИС КУЭ - источник бесперебойного питания - 2х-портовый асинхронный сервер RS-232 + RS422/485 в ЕЬегпег - блок питания DRA 10-12, input: 100-240 VAC, output: 12 VDC, 10W - GSM-модем Невод-GSM-GPRS, режимы GSM;GPRS; прямое модемное; RS-232, RS-485 - антенна ADA-0086, штыревая, с креплением на модем - радиомодем Невод - антенна базовая коллинеарная |
ИВК NREC 300.С HP Proliant DL380 G5 Powerware 9125 2000VA MOXA NPort 5230 DRA 10-12 Невод-GSM ADA-0086 Невод-5 Sirio SA-703N |
1 1 1 4 5 1 1 3 3 | |
Таблица 4 - Документация
|
№ |
Наименование |
Кол-во |
|
1 |
2 |
3 |
|
1 |
Система автоматизированная информационно-измерительная коммерческого учета электрической энергии ОАО «ТАИФ-НК» Технорабочий проект. НРК 17310310.2111.015 |
1 |
|
2 |
Система автоматизированная информационно-измерительная коммерческого учета электрической энергии ОАО «ТАИФ-НК». Руководство по эксплуатации. НРЭК.465680.003 РЭ |
1 |
|
3 |
Система автоматизированная информационно-измерительная коммерческого учета электрической энергии ОАО «ТАИФ-НК». Руководство пользователя. НРЭК.465680.003 РП |
1 |
Продолжение таблицы 4 - Документация
|
1 |
2 |
3 |
|
4 |
Система автоматизированная информационно-измерительная коммерческого учета электрической энергии ОАО «ТАИФ-НК». Формуляр. НРЭК.465680.003 ФО |
1 |
|
5 |
Система автоматизированная информационно-измерительная коммерческого учета электрической энергии ОАО «ТАИФ-НК» Ведомость эксплуатационных документов. НРЭК.465680.003 ВЭ. |
1 |
|
6 |
Система автоматизированная информационно-измерительная коммерческого учета электрической энергии ОАО «ТАИФ-НК». Руководство администратора. НРЭК.465680.003 ПО РА |
1 |
|
7 |
Система автоматизированная информационно-измерительная коммерческого учета электрической энергии ОАО «ТАИФ-НК»Руководство пользователя АРМ. НРЭК.465680.003 ПО РП |
1 |
|
8 |
Система автоматизированная информационно-измерительная коммерческого учета электрической энергии ОАО «ТАИФ-НК». Руководство установки АРМ. НРЭК.465680.003 ПО РУ |
1 |
|
9 |
Система автоматизированная информационно-измерительная коммерческого учета электрической энергии ОАО «ТАИФ-НК» Архитектура ПО. НРЭК.465680.003 ПО АР |
1 |
|
10 |
Система автоматизированная информационно-измерительная коммерческого учета электрической энергии ОАО «ТАИФ-НК» Методика поверки. |
1 |
Поверка
осуществляется по методике поверки МП 47725-11 «Система автоматизированная информационно-измерительная коммерческого учета электрической энергии ОАО «ТАИФ-НК» (АИИС КУЭ ОАО «ТАИФ-НК»). Методика поверки», утвержденной руководителем ГЦИ СИ ФГУ «Пензенский ЦСМ» 28 июля 2011 г.
Рекомендуемые средства поверки и требуемые характеристики:
- мультиметр «Ресурс-ПЭ». Пределы допускаемой абсолютной погрешности измерений угла фазового сдвига между напряжениями ± 0,1 °. Пределы допускаемой относительной погрешности измерений напряжения: ± 0,2 % (в диапазоне измерений от 15 до 300 В); ± 2,0 % (в диапазоне измерений от 15 до 150 мВ). Пределы допускаемой относительной погрешности измерений тока: ± 1,0 % (в диапазоне измерений от 0,05 до 0,25 А); ± 0,3 % (в диапазоне измерений от 0,25 до 7,5 А). Пределы допускаемой абсолютной погрешности измерений частоты ± 0,02 Гц;
- радиочасы РЧ-011. Пределы допускаемой погрешности синхронизации времени со шкалой UTC (SU) ± 0,1 с.
Сведения о методах измерений
Система автоматизированная информационно-измерительная коммерческого учета электрической энергии и мощности ОАО «ОАО «ТАИФ-НК»» (АИИС КУЭ ОАО «ТАИФ-НК»). Методика измерений количества электрической энергии с использованием АИИС КУЭ ОАО «ТАИФ-НК». Регистрационный номер в Федеральном реестре методик измерений ФР.1.34.2011.10359.
Лист № 20
Всего листов 20
Нормативные документы
1 ГОСТ 22261-94 Средства измерений электрических и магнитных величин. Общие технические условия
2 . ГОСТ Р 8.596-2002 ГСИ. Метрологическое обеспечение измерительных систем. Основные положения
3 Методика поверки «Система автоматизированная информационно-измерительная коммерческого учета электрической энергии ОАО «ТАИФ-НК» (АИИС КУЭ ОАО «ТАИФ-НК»)».
Рекомендации к применению
Осуществление торговли и товарообменных операций.
Смотрите также