47786-11: Каналы информационно-измерительные системы автоматизированной информационно-измерительной коммерческого учета электрической энергии (мощности) № 1, 2 ОАО "Волжский трубный завод" (ИИК № 1, 2 АИИС КУЭ "ВТЗ") - Производители, поставщики и поверители

Каналы информационно-измерительные системы автоматизированной информационно-измерительной коммерческого учета электрической энергии (мощности) № 1, 2 ОАО "Волжский трубный завод" (ИИК № 1, 2 АИИС КУЭ "ВТЗ")

ALL-Pribors default picture
Номер в ГРСИ РФ: 47786-11
Производитель / заявитель: ОАО "Волжский трубный завод", г.Волжский
Скачать
47786-11: Описание типа
2011-47786-11.pdf
Скачать 464.6 КБ
Свидетельство об утверждении типа СИ Открыть ...
Нет данных о поставщике
Поверка
Каналы информационно-измерительные системы автоматизированной информационно-измерительной коммерческого учета электрической энергии (мощности) № 1, 2 ОАО "Волжский трубный завод" (ИИК № 1, 2 АИИС КУЭ "ВТЗ") поверка на: www.ktopoverit.ru
КтоПоверит
Онлайн-сервис метрологических услуг

Для измерения активной и реактивной электроэнергии, потребленной и выданной за установленные интервалы времени отдельными технологическими объектами ОАО "Волжский трубный завод" и входят в состав системы автоматизированной информационно-измерительной коммерческого учета электрической энергии ОАО "Волжский трубный завод" АИИС КУЭ "ВТЗ" (заводской № 001, Госреестр № 34895-07)

Информация по Госреестру

Основные данные
Номер по Госреестру 47786-11
Наименование Каналы информационно-измерительные системы автоматизированной информационно-измерительной коммерческого учета электрической энергии (мощности) № 1, 2 ОАО "Волжский трубный завод" (ИИК № 1, 2 АИИС КУЭ "ВТЗ")
Характер производства Единичное
Идентификатор записи ФИФ ОЕИ d967575f-6ab1-32d8-1ca0-388f1888225c
Испытания
Дата Модель Заводской номер
зав.№ 001
Год регистрации 2011
Информация устарела
Общие данные
Технические условия на выпуск ГОСТ 22261-94, ГОСТ 7746-2001, ГОСТ 1983-2001
Класс СИ 34.01.04
Год регистрации 2011
Страна-производитель  Россия 
Центр сертификации СИ
Наименование центра ГЦИ СИ ООО "ИЦ "Энерготестконтроль"
Адрес центра 105043, г.Москва, ул.Первомайская, д.35/18. стр.1; 117418, г.Москва, Нахимовский пр-т, 31
Руководитель центра Минц Владимир Борисович
Телефон (8*095) 332-99-09
Факс 129-25-44
Информация о сертификате
Срок действия сертификата . .
Номер сертификата 43890
Тип сертификата (C - серия/E - партия) Е
Дата протокола Приказ 5023 от 26.09.11 п.04
Производитель / Заявитель

ОАО "Волжский трубный завод", РОССИЯ, г.Волжский

 Россия 

404119, Волгоградская обл., ул.Автодорога 7, д.6, Тел/факс: (8443) 22-24-53, E-mail: RusskovOV@vtz.ru

Поверка

Методика поверки / информация о поверке КПНГ.411713.092-2011 РЭ
Межповерочный интервал / Периодичность поверки
4 года
Зарегистрировано поверок
Найдено поверителей
Успешных поверок (СИ пригодно) 16 (100%)
Неуспешных поверок (СИ непригодно) 0 (0 %)
Актуальность информации 22.03.2026
Найти результаты поверки
Указан в паспорте или на самом приборе

Поверители

КтоПоверит
Онлайн-сервис метрологических услуг
Каналы информационно-измерительные системы автоматизированной информационно-измерительной коммерческого учета электрической энергии (мощности) № 1, 2 ОАО "Волжский трубный завод" (ИИК № 1, 2 АИИС КУЭ "ВТЗ") поверка на: www.ktopoverit.ru
КтоПоверит
Онлайн-сервис метрологических услуг

Скачать

47786-11: Описание типа
2011-47786-11.pdf
Скачать 464.6 КБ
Свидетельство об утверждении типа СИ Открыть ...

Описание типа

Назначение

Каналы информационно-измерительные системы автоматизированной информационноизмерительной коммерческого учета электрической энергии (мощности) № 1,2 ОАО "Волжский трубный завод" (далее ИИК № 1,2 АИИС КУЭ «ВТЗ»), предназначены для измерения активной и реактивной электроэнергии, потребленной и выданной за установленные интервалы времени отдельными технологическими объектами ОАО «Волжский трубный завод" и входят в состав системы автоматизированной информационно-измерительной коммерческого учета электрической энергии ОАО «Волжский трубный завод" АИИС КУЭ "ВТЗ" (заводской № 001, Госреестр № 34895-07).

Описание

ИИК № 1, 2 АИИС КУЭ «ВТЗ» представляет собой многофункциональную, многоуровневую систему с централизованным управлением и распределённой функцией измерения.

ИИК № 1, 2 АИИС КУЭ «ВТЗ» решает следующие задачи:

1) измерение 30-минутных приращений активной и реактивной электроэнергии;

2) периодический (1 раз в сутки) и/или по запросу автоматический сбор привязанных к единому календарному времени результатов измерений приращений электроэнергии с заданной дискретностью учёта (30 минут);

3) хранение результатов измерений в специализированной базе данных, отвечающей требованию повышенной защищённости от потери информации (резервирование баз данных) от несанкционированного доступа;

4) передача организациям-участникам оптового рынка электроэнергии результатов измерений;

5) предоставление по запросу контрольного доступа к результатам измерений, данным о состоянии объектов и средств измерений со стороны сервера организаций-участников оптового рынка электроэнергии;

6) обеспечение защиты оборудования, программного обеспечения и данных от несанкционированного доступа на физическом и программном уровне (установка паролей и т.п.);

7) диагностика и мониторинг функционирования технических и программных средств ИИК № 1,2 АИИС КУЭ «ВТЗ»;

8) конфигурирование и настройка ИИК № 1,2 АИИС КУЭ «ВТЗ»;

9) ведение системы единого времени в ИИК № 1,2 АИИС КУЭ «ВТЗ» (коррекция времени).

Состав: ИИК № 1,2 АИИС КУЭ «ВТЗ» состоит из 3 уровней:

1-й уровень: 2 информационно-измерительные точки учёта (ИИК ТУ) содержит в своем составе:

- измерительные трансформаторы напряжения (ТН) по ГОСТ 1983-2001 типа НАМИ-110 УХЛ1 класса точности КТ 0,2; (110:^3)/ (0,1: V3);

- измерительные трансформаторы тока (ТТ) по ГОСТ 7746-2001 типа TG145N УХЛ1 КТ 0,2S;

- многофункциональные счетчики типа A1802RALXQ-P4G-DW-4 активной и реактивной энергии класса точности 0,2S/0,5 в соответствии с ГОСТ 52323-2005 при измерении активной электроэнергии, ГОСТ 26035-83 при измерении реактивной электроэнергии, установленные на объектах, указанных в таблице 2 (2 точки измерения);

- вторичные измерительные цепи тока и напряжения;

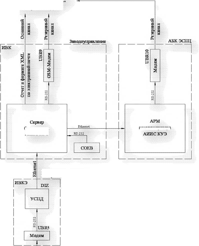
2-й уровень: измерительно-вычислительный комплекс электроустановки (ИВКЭ) содержит в своем составе:

- устройство сбора и передачи данных (УСПД) типа RTU 325-E-512-M11-B12-Qi2-G, установленное в помещении мнемощита шкафа АИИС КУЭ - 1 шт;

3-й уровень (ИВК):

информационно-вычислительный комплекс (ИВК), включающий в себя каналообразующую аппаратуру, сервер баз данных (БД) АИИС КУЭ (компьютер промышленного исполнения IBM xSeries 335 @Server), система обеспечения единого времени на базе МИР РЧ-01.

Первичные токи и напряжения преобразуются измерительными трансформаторами в аналоговые унифицированные сигналы, которые по проводным линиям связи поступают на измерительные входы счетчика электроэнергии. В счетчике мгновенные значения аналоговых сигналов преобразуются в цифровой сигнал. По мгновенным значениям силы электрического тока и напряжения в микропроцессоре счетчика вычисляются соответствующие мгновенные значения активной, реактивной и полной мощности без учета коэффициентов трансформации. Электрическая энергия, как интеграл по времени от мощности, вычисляется для интервалов времени 30 мин.

Средняя активная (реактивная) электрическая мощность вычисляется как среднее значение вычисленных мгновенных значений мощности на интервале времени усреднения 30 мин.

Цифровой сигнал с выходов счётчиков по проводным линиям связи поступает на входы УСПД, где осуществляется хранение измерительной информации, её накопление и передача накопленных данных по проводным линиям на верхний уровень системы (сервер), а также отображение по подключенным к УСПД устройствам.

На верхнем - третьем уровне системы выполняется дальнейшая обработка измерительной информации, в частности, вычисление электроэнергии и мощности с учётом коэффициентов трансформации ТТ и ТН, формирование и хранение поступающей информации, оформление справочных и отчётных документов. Передача информации в организации - участники оптового рынка электроэнергии осуществляется от сервера БД по электронной почте через интернет или по сотовой связи через GSM-модем.

Программное обеспечение

Программное обеспечение (далее ПО) ИИК № 1,2 АИИС КУЭ «ВТЗ» включает в себя:

ПО УСПД RTU-325 - для уровня ИВКЭ. Назначение ПО-сбор информации об электропотреблении, мощности и параметрах качества электроэнергии с сертифицированных устройств по цифровым каналам связи, её дальнейшая обработка и хранение, а также передача на уровень ИВК АИИС КУЭ. Применяется, как внутреннее ПО УСПД. Метрологически значимое ПО состоит из одного модуля: adjust_time, calculate_comm, md5, RTU325_calc_hash.7z.

(ППО) АльфаЦентр - для уровня ИВК. Назначение ПО: сбор информации по энергоресурсам с УСПД «RTU-325E», сохранение собранной информации в базе данных. Предназначено для использования на ПК-сервере сбора данных. Метрологически значимое ПО состоит из пяти модулей: ifrun60.EXE, trtu.exe, ACReport.exe, cron.exe, alphasrva.exe.

УСПД реализовано на базе промышленного PC-совместимого компьютера, содержащего в себе процессор, оперативную память, диск на основе флэш-памяти, энергонезависимые часы и интерфейсы ввода-вывода.

Микропрограмма заносится в программируемое постоянное запоминающее устройство (диск на основе флэш-памяти) контроллеров предприятием-изготовителем, защищена от несанкционированного вмешательства средствами разграничения доступа в виде паролей и недоступна для потребителя. УСПД имеет встроенное программное обеспечение. Уровень защиты от непреднамеренных и преднамеренных изменений в соответствии с МИ 3286-2010 - «С».

Встроенная операционная система QNX позволяет настраивать УСПД под конкретные задачи пользователя. Программирование и отладка устройств производится через COM-порт, который подключается к терминалу персонального компьютера через модемный кабель.

На метрологические характеристики модуля вычислений сервера оказывают влияние пересчётные коэффициенты, которые используются для пересчёта токов, и напряжений считанных из измерительных каналов счётчика, в результирующий параметр (потребляемую мощность). Пересчётные коэффициенты задаются при конфигурировании УСПД и записываются в его флэш-память. Значения пересчетных коэффициентов защищены от изменения путём ограничения доступа паролем. Интерфейс ПО содержит в себе средства предупреждения пользователя, если его действия могут повлечь изменение или удаление результатов измерений.

Метрологически значимая часть ПО содержит специальные средства защиты, исключающие возможность несанкционированной модификации, загрузки (в том числе загрузки фальсифицированного ПО и данных), считывания из памяти сервера, удаления или иных преднамеренных изменений метрологически значимой части ПО и измеренных дан-ных.Специальными средств ами защиты метрологически значимой части ПО и измеренных данных от преднамеренных изменений являются:

- средства управления доступом (пароли);

- средства проверки целостности ПО (несанкционированная модификация метрологически значимой части ПО проверяется расчётом контрольной суммы и сравнением ее с действительным значением);

Программное обеспечение и конструкция УСПД после конфигурирования и настройки обеспечивают защиту от несанкционированного доступа и изменения его параметров.

ИИК № 1,2 АИИС КУЭ «ВТЗ» оснащены системой обеспечения единого времени (СОЕВ) на базе радиочасов МИР РЧ-01, установленной на сервере и включающей в себя блок радиочасов, внутри которого размещены адаптер А520 и приёмник сигналов, антенны и технологической программы TEST_MOD.EXE. Радиочасы ежеминутно передают шкалу времени на сервер АИ-ИС КУЭ, погрешность синхронизации ± 20 мс. Сервер БД передаёт шкалу времени на УСПД каждые 30 мин, корректировка времени выполняется при расхождении времени сервера и УСПД ± 2 с. УСПД передаёт шкалу времени на счётчики каждые 30 мин, корректировка времени счётчиков при расхождении со временем УСПД ± 1 с. Погрешность системного времени не превышает ± 5 с.

Таблица 1 - Характеристики программного обеспечения (ПО)

Наименование

ПО

Идентификационное название ПО

Номер версии (идентификационный номер) ПО

Цифровой идентификатор ПО(контроль-ная сумма исполняемого кода)

Алгоритм вычисления цифрового идентификатора ПО

ПО УСПД RTU-325: - Модуль управления

adjust_time

v 2.24 от 30.05.2011

4bfd403a2588ad7d9bf2966662821a585

MD5 RFC1321

системным временем

- Расчетный модуль преобразо-

calculate_comm

v 2.12к от 30.05.2011

4dc3949e7b3116161f4132d4718f85d

вания

к именованным величинам

- Модуль для расчета

md5

v 2.07 от 30.05.2011

32bdf3539abadb35969af2ad3b82275d

хэш-сумм MD5

- Внешний модуль

RTU325 calc hash.7z

v 2.07 от 30.05.2011

342bd97e3b62d94f222186f8c0ad0ee6

генерации отчета цифровых идентификаторов

ПО "АльфаЦентр":

- АЦ экранные формы:

ifrun60.EXE

v.4.05.01.05 от

(EA3354D0)

утилита

- АЦ Коммуникатор:

trtu.exe

04.12.07

v.3.16.1 от 05.12.07

(FD1B053E)

CheckCRC (http://www34.bri

- АЦ Генератор отчётов:

ACReport.exe

v.2.10.4.94

от 02.03.2011

(6908E908)

nkster. com/ dizzyk /crc32.asp).

- АЦ расчётный сервер:

cron.exe

v.4.05.01.05 от 04.12.07

(5DB345F7)

-АЦ коммуникационный сервер:

alphasrva.exe

v.4.05.01.05 от 04.12.07

(8B017918)

Журналы событий счетчиков электроэнергии и УСПД отражают: время (дата, часы, минуты) коррекции часов и расхождение времени в секундах корректируемого и корректирующего устройств момент непосредственно предшествующий коррекции.

Технические характеристики

В таблице 2 приведены технические характеристики ИИК № 1,2 АИИС КУЭ «ВТЗ», с указанием наименования присоединений, измерительных компонентов и их метрологических характеристик.

В качестве относительной погрешности указаны границы интервала, соответствующие вероятности 0,95.

Блок-схема ИИК № 1,2 АИИС КУЭ «ВТЗ» приведена на рис. 1.

Передача информации в НН "АТС", Волгоградское РДУ, ОАО "Волгоградэнергосбыг Волгоградское РДУ

администратора

(110 кВ)

ввод №2 Вх. I (ПО кВ)

Вх. U.

Рисунок 1

б азы данных /irlJklu Л.У чЭ

Помещение мнемощита

Шкаф АНИС КУЗ

UBR1

ввод№1 Вх.1

Таблица 2 - Перечень ИИК № 1,2 АИИС КУЭ «ВТЗ» и их состав

№№

ИК

Наименование

присоединения

Состав измерительного канала

УСПД

Вид эл. энергии

Основ. погр.ИК при 1ном 100%; U=1,0; Cosф=0,9 инд.;

± (%)

Трансформатор тока, тип, класс точности, зав. номер

Трансформатор напряжения, тип, класс точности, зав. номер

Счетчик трехфазный переменного тока активной и реактивной энергии

1

2

3

4

5

6

7

8

1

ввод № 1 110 кВ

ГПП-1

TG145N УХЛ1

НАМИ-110 УХЛ1

A1802RALXQ-P4G-

DW-4

RTU-325-E-512-M11-Q-I2-G

А

Р

± 1,1

не норм

КТ 0,2S;400/5

КТ 0,2; (110:^3)/ (0,1:^3)

А

Зав. №

04251

А

Зав. №

2945

КТ 0,2S/0,5

По-вер.

28.07.08

Повер.

10.09.08

В

Зав. №

04252

В

Зав. №

2892

Зав. №

01189163

По-вер.

28.07.08

Повер.

17.09.08

С

Зав. №

04250

С

Зав. №

2856

По-вер.

23.09.08

По-вер.

28.07.08

Повер.

11.09.08

№№

ИК

Наименование

присоединения

Состав измерительного канала

УСПД

Вид эл. энергии

Основ. погр.ИК при 1ном 100%; U=1,0; Cosф=0,9 инд.;

± (%)

Трансформатор тока, тип, класс точности, зав. номер

Трансформатор напряжения, тип, класс точности, зав. номер

Счетчик трехфазный переменного тока активной и реактивной энергии

1

2

3

4

5

6

7

8

2

ввод № 2 110 кВ

ГПП-1

TG145N УХЛ1

НАМИ-110 УХЛ1

A1802RALXQ-P4G-

DW-4

RTU-325-E-512-M11-Q-I2-G

Зав. № 000897

А

Р

± 1,1

не норм.

КТ 0,2S;400/5

КТ 0,2; (110:^3)/ (0,1: V3)

А

Зав. №

04253

А

Зав. №

2930

КТ 0,2S/0,5

По-вер.

28.07.08

Повер.

07.09.08

В

Зав. №

04254

В

Зав. №

2944

Зав. №

01189162

По-вер.

28.07.08

Повер.

10.09.08

С

Зав. №

04255

С

Зав. №

2929

По-вер.

23.09.08

По-вер.

28.07.08

Повер.

08.09.08

СОЕВ

МИР РЧ-01

Зав. № 12050

Примечания к Таблице 2

1 Характеристики основной погрешности ИК даны для измерения электроэнергии и средней мощности (получасовая);

2 В качестве характеристик основной относительной погрешности интервала, указаны границы соответствующие вероятности 0,95;

3 Нормальные условия:

параметры сети: напряжение (0,98 + 1,02) ином; ток (0,01 + 1,2) 1ном ; cos9 = 0,9 инд.;

температура окружающей среды (20 ± 5)°С.

4 Рабочие условия:

параметры сети: напряжение (0,9 + 1,1) ином; ток (0,01 + 1,2) 1ном при трансформаторе тока с классом точности 0,2S; cos9 = 0,8 инд.;

допускаемая температура окружающей среды для измерительных трансформаторов от минус 40 до плюс 70°С, для счетчиков от минус 40 до плюс 70°С; для сервера от плюс 10 до плюс 40°С; для УСПД от минус 25 до плюс 70°С;

5 Трансформаторы тока по ГОСТ 7746, трансформаторы напряжения по ГОСТ 1983, многофункциональные счетчики типа A1802RALXQ-P4G-DW-4 активной и реактивной энергии класса точности 0,2S/0,5 в соответствии с ГОСТ 52323-2005 при измерении активной электроэнергии, ГОСТ 26035-83 при измерении реактивной электроэнергии;

6 Допускается замена измерительных трансформаторов и счетчиков на аналогичные, утвержденных типов с метрологическими характеристиками не хуже, чем у перечисленных в Таблице 1. Допускается замена УСПД на однотипное, утвержденного типа. Замена оформляется актом в установленном на ОАО «Волжский трубный завод» порядке.

Значение погрешности в рабочих условиях приведены в таблицах 3,4.

Таблица 3

Границы допускаемых приписанных характеристик относительных погрешностей ИИК при измерении активной электроэнергии

№ п/п

Перечень ИИК

Диапазон значений cos ф

Тип нагрузки

Значение модуля границы допускаемой относительной погрешности ИИК при измерении активной электроэнергии при значении рабочего тока в % от номинального первичного тока ТТ, %

1< !р <2

2< W <5

5< U <20

20< !р

<100

100< ^б <120

1

2

3

4

5

6

7

8

9

1

1, 2

0,5 < cos ф < 0,8

инд.

не норм.

1,8

1,3

1,0

1,0

0,8 < cos ф < 0,866

инд.

не норм.

1,2

0,8

0,6

0,6

0,866 < cos ф < 0,9

инд.

не норм.

1,1

0,7

0,6

0,6

0,9 < cos ф < 0,95

инд.

не норм.

1,0

0,7

0,6

0,6

0,95 < cos ф < 0,99

инд.

не норм.

1,0

0,6

0,5

0,5

0,99 < cos ф < 1

инд.

не норм.

0,9

0,6

0,5

0,5

cos ф = 1

1,0

0,9

0,6

0,5

0,5

0,8 < cos ф < 1

емк.

не норм.

1,2

0,9

0,7

0,7

Таблица 4

Границы допускаемых приписанных характеристик относительных погрешностей ИИК при измерении реактивной электроэнергии

№ п/п

Перечень ИИК

Диапазон значений cos ф

Значение модуля границы допускаемой относительной погрешности ИИК при измерении реактивной электроэнергии при значении рабочего тока в % от номинального первичного тока ТТ, %

1< !р <2

2< W <5

5< W <20

20< <

<100

100< ^аб <120

1

1, 2

0,5 < cos ф < 0,8

не норм.

2,2

1,4

1,0

1,0

0,8 < cos ф < 0,866 (0,6 > sin ф > 0,5)

не норм.

не норм.

1,6

1,1

1,1

0,866 < cos ф < 1 (0,5 > sin ф > 0,436)

не норм.

не норм.

не норм.

не норм.

не норм.

Таблица 5 - Основные технические характеристики ИИК № 1,2 АИИС КУЭ «ВТЗ»

№ ИК

Наименование характеристики

Значение

1,2

Номинальный ток:

первичный (1н1) вторичный (Ih2)

400 А

5 А

Диапазон тока:

первичного (I1) вторичного (I2)

От 4 до 480 А

От 0,05 до 6 А

Номинальное напряжение:

первичное (UH1) вторичное (Uh2)

110 000/^3 В 100/^3 В

Диапазон напряжения:

первичного (U1) вторичного (U2)

От 99000/\3 до 121000/^3 В От 90/93 до 110/V3 В

Коэффициент мощности cos ф

От 0,5 до 1,0

Номинальная нагрузка ТТ

20 ВА

Допустимый диапазон нагрузки ТТ

От 5 до 30 ВА

Допустимое значение tos ф2 во вторичной цепи нагрузки ТТ

От 0,8 до 1,0

Номинальная нагрузка ТН

10 ВА

Допустимый диапазон нагрузки ТН

От 2,5 до 10 ВА

Допустимое значение tos ф2 во вторичной цепи нагрузки ТН

От 0,8 до 1,0

Надежность применяемых в системе компонентов:

- электросчётчик - среднее время наработки на отказ не менее Тср = 120 000 ч, среднее время восстановления работоспособности не более 1в = 2 ч;

- УСПД - среднее время наработки на отказ не менее Тср = 40 000 ч, среднее время восстановления работоспособности не более = 24 ч;

- сервер - среднее время наработки на отказ не менее Тср = 15843 ч, среднее время восстановления работоспособности не более tB = 2 ч;

- устройство синхронизации системного времени МИР РЧ-01 - среднее время наработки на отказ не менее Тср = 100000 ч, среднее время восстановления работоспособности не более = 1 ч.

Надежность системных решений:

- резервирование питания УСПД с помощью устройства АВР;

- резервирование каналов связи: информация о результатах измерений может передаваться в организации - участники оптового рынка электроэнергии с помощью электронной почты и сотовой связи;

Регистрация событий:

- журнал счётчика:

- параметрирования;

- пропадания напряжения;

- коррекции времени в счетчике;

Журнал УСПД:

- параметрирования;

- пропадания напряжения;

- коррекции времени в счетчике и УСПД;

Защищённость применяемых компонентов:

механическая защита от несанкционированного доступа и пломбирование:

- электросчётчика;

- промежуточных клеммников вторичных цепей напряжения;

- испытательной коробки;

- УСПД;

- сервера;

Защита на программном уровне информации при хранении, передаче, параметрировании:

- результатов измерений (при передаче, возможность использования цифровой подписи)

- установка пароля на счётчик;

- установка пароля на УСПД;

- установка пароля на сервер;

Возможность коррекции времени в:

- электросчетчиках (функция автоматизирована);

- УСПД (функция автоматизирована);

- ИВК (функция автоматизирована).

Возможность сбора информации:

- о состоянии средств измерений (функция автоматизирована);

- о результатах измерений (функция автоматизирована).

Цикличность:

- измерений 30 мин (функция автоматизирована);

- сбора 30 мин (функция автоматизирована).

Глубина хранения информации:

- электросчетчик - тридцатиминутный профиль нагрузки в двух направлениях не менее 2730 часов.

УСПД - хранение результатов измерений и информации состояний средств измерений при отключенном питании - не менее 5 лет.

УСПД сохраняет считанные со счётчиков и рассчитанные значения по точкам учёта и группам в энергонезависимой памяти с глубиной хранения не менее: средних мощностей на технических (менее чем 30-минутных) интервалах - 2 часа, средних мощностей по точкам учёта на коммерческих (30-минутных) интервалах - 15 суток, средних мощностей по группам учёта на коммерческих (30-минутных) интервалах - 3 месяца.

Сервер баз данных обеспечивает хранение результатов измерений, состояний средств измерений на срок не менее 3,5 лет.

Знак утверждения типа

Знак утверждения типа наносится на титульные листы эксплуатационной документации ИИК № 1,2 АИИС КУЭ «ВТЗ» типографским способом.

Комплектность

Таблица 6 - Комплектность ИИК № 1,2 АИИС КУЭ «ВТЗ»

Наименование компонента системы

Количество (шт)

Трансформаторы тока TG145N УХЛ1 КТ 0,2S;400/5

6

Трансформаторы напряжения НАМИ-110 УХЛ1 КТ 0,2; (110:^3)/ (0,1: V3)

6

Электросчетчики - A1802RALXQ-P4G-DW-4 КТ 0,2S/05

2

УСПД RTU-325-E-512-M11-Q-I2-G

1

Руководство по эксплуатации - КПНГ.411713.092-2011 РЭ

Формуляр КПНГ.411713.092-2011 ФО

Методика поверки - в составе РЭ

ПО УСПД RTU 325-E-512-M11-B12-Qi2-G, версия 2.12 к от 30.05.2011 г.

(ППО) АльфаЦентр, версия 4.05.01.05 от декабря 2007 г.

Поверка

Поверка ИИК № 1,2 АИИС КУЭ «ВТЗ» проводится в соответствии с разделом «Методика поверки» КПНГ.411713.092-2011 РЭ "Каналы информационно-измерительные системы автоматизированной информационно-измерительной коммерческого учета электрической энергии (мощности) № 1,2 ОАО "Волжский трубный завод"" (ИИК № 1,2 АИИС КУЭ «ВТЗ»), согласованным ГЦИ СИ ООО "ИЦ "Энерготестконтроль" 5.07.2011 г.

Средства поверки - по НД на измерительные компоненты:

1) Средства поверки измерительных трансформаторов напряжения по МИ 2845-2003 и/или по ГОСТ 8.216-88;

2) Средства поверки измерительных трансформаторов тока по ГОСТ 8.217-2003;

3) Средства поверки счётчиков электрической энергии в соответствии с утвержденным документом «Счётчики электрической энергии трёхфазные многофункциональные АЛЬФА А1800. Методика поверки МП-2203-0042-2006», утверждена 19.05.2006 г. ГЦИ СИ "ВНИИМ им. Д.И. Менделеева";

4) Средства поверки УСПД RTU 325Е по документу «Устройства сбора и передачи данных RTU 325 и RTU 325L». Методика поверки ДИЯМ.466.453.005МП. Утверждена ГЦИ СИ ФГУП ВНИИМС в 2008г.;

5) Средства поверки МИР РЧ-01: Мультиметр АРРА 63N, частотомер Ч3-63/1, навигационный приёмник К-16, согласно раздела 8 «Методика поверки» в руководстве по эксплуатации МО1.063.00.000РЭ;

6) Переносной компьютер с ПО и оптическим преобразователем для работы со счетчиками системы;

7) Радиоприемник станций радиовещания, принимающий сигналы службы точного времени.

Сведения о методах измерений

Методы измерений, которые используются в ИИК № 1,2 АИИС КУЭ «ВТЗ» приведены в документе - «Методика (метод) измерений "Каналы информационно-измерительные системы автоматизированной информационно-измерительной коммерческого учета электрической энергии (мощности) № 1,2 ОАО "Волжский трубный завод"" (МИ КПНГ.411713.092-2011).

Методика (метод) измерений - МИ КПНГ.411713.092.-2011 аттестована ГЦИ СИ -ООО "Испытательный центр "Энерготестконтроль" по ГОСТ Р 8.563-2009 .Свидетельство об аттестации № 71/01.00066-2010/2011 от 30.06.2011 г.

Нормативные документы

1) ГОСТ 22261-94 Средства измерений электрических и магнитных величин. Общие технические условия;

2) ГОСТ Р 8.596-2002 ГСИ. Метрологическое обеспечение измерительных систем. Основные положения;

3) ГОСТ 7746-2001.Трансформаторы тока. Общие технические условия;

4) ГОСТ 1983-2001.Трансформаторы напряжения, Общие технические условия;

5) ГОСТ Р 52323-2005. (МЭК 62053-22:2003) «Аппаратура для измерений электрической энергии переменного тока. Частные требования. Часть 22. Статистические счетчики активной энергии классов точности 0,2S и 0,5S»;

6) ГОСТ Р 52425-2005. (МЭК 62053-23:2003) «Аппаратура для измерения электрической энергии переменного тока. Частные требования. Часть 23. Статические счетчики реактивной энергии».

Рекомендации к применению

Осуществление торговли и товарообменных операций.

Смотрите также

Default ALL-Pribors Device Photo
Для использования в составе АИИС КУЭ ОАО "Волжская ТГК" Самарского региона (№ 35905-07 в Государственном реестре средств измерений) при измерениях активной и реактивной электрической энергии и мощности, времени.
Default ALL-Pribors Device Photo
Для измерения активной и реактивной энергии, потребленной за установленные интервалы времени отдельными технологическими объектами МП "ГЭС", а также для автоматизированного сбора, обработки, хранения, отображения и передачи полученной информации. Вых...