47849-11: Космотроника Комплексы программно-технические - Производители, поставщики и поверители

Комплексы программно-технические Космотроника

ALL-Pribors default picture
Номер в ГРСИ РФ: 47849-11
Производитель / заявитель: ЗАО "ПИК Прогресс", г.Москва
Скачать
47849-11: Описание типа
2011-47849-11.pdf
Скачать 1.6 MБ
Свидетельство об утверждении типа СИ Открыть ...
Нет данных о поставщике
Поверка
Комплексы программно-технические Космотроника поверка на: www.ktopoverit.ru
КтоПоверит
Онлайн-сервис метрологических услуг

Для измерений выходных аналоговых сигналов первичных измерительных преобразователей в виде напряжения и силы постоянного/переменного тока, сигналов от термопреобразователей сопротивления; активной и реактивной электроэнергии; контроля электрических величин; сбора и обработки, в соответствии с заданными программами и алгоритмами, дискретной и аналоговой измерительной информации; формирования и реализации выходных аналоговых и дискретных сигналов управления технологическими процессами; приема и передачи по различным каналам измерительной информации и управляющих воздействий между источниками дискретных и аналоговых измерительных сигналов, исполнительными механизмами, технологическими контроллерами, управляющими ЭВМ различного уровня и технологическими объектами.

Информация по Госреестру

Основные данные
Номер по Госреестру 47849-11
Действует по 03.10.2016
Наименование Комплексы программно-технические
Модель Космотроника
Характер производства Серийное
Идентификатор записи ФИФ ОЕИ e1727423-6888-682d-85a3-e354fd7698ee
Год регистрации 2011
Информация устарела
Общие данные
Технические условия на выпуск СШМК.466451.018 ТУ
Класс СИ 34.01.05
Год регистрации 2011
Страна-производитель  Россия 
Центр сертификации СИ
Наименование центра ГЦИ СИ ВНИИМС
Адрес центра 119361, г.Москва, Озерная ул., 46
Руководитель центра Кононогов Сергей Алексеевич
Телефон (8*095) 437-55-77
Факс 437-56-66
Информация о сертификате
Срок действия сертификата 03.10.2016
Номер сертификата 44003
Тип сертификата (C - серия/E - партия) С
Дата протокола Приказ 5179 от 03.10.11 п.34
Производитель / Заявитель

ЗАО "ПИК Прогресс", РОССИЯ, г.Москва

 Россия 

111250, ул.Авиамоторная, 53, тел.273-93-09, тел. 365-50-25, 365-51-25

Поверка

Методика поверки / информация о поверке раздел 4 СШМК.466451.018РЭ
Межповерочный интервал / Периодичность поверки
2 года
Зарегистрировано поверок
Найдено поверителей
Успешных поверок (СИ пригодно) 1 (100%)
Неуспешных поверок (СИ непригодно) 0 (0 %)
Актуальность информации 11.01.2026
Найти результаты поверки
Указан в паспорте или на самом приборе

Поверители

КтоПоверит
Онлайн-сервис метрологических услуг
Комплексы программно-технические Космотроника поверка на: www.ktopoverit.ru
КтоПоверит
Онлайн-сервис метрологических услуг

Скачать

47849-11: Описание типа
2011-47849-11.pdf
Скачать 1.6 MБ
Свидетельство об утверждении типа СИ Открыть ...

Описание типа

Назначение

Комплексы программно-технические «Космотроника» (далее - ПТК) предназначены для измерений выходных аналоговых сигналов первичных измерительных преобразователей в виде напряжения и силы постоянного/переменного тока, сигналов от термопреобразователей сопротивления; активной и реактивной электроэнергии; контроля электрических величин; сбора и обработки, в соответствии с заданными программами и алгоритмами, дискретной и аналоговой измерительной информации; формирования и реализации выходных аналоговых и дискретных сигналов управления технологическими процессами; приема и передачи по различным каналам измерительной информации и управляющих воздействий между источниками дискретных и аналоговых измерительных сигналов, исполнительными механизмами, технологическими контроллерами, управляющими ЭВМ различного уровня и технологическими объектами.

Описание

ПТК представляет собой многоуровневую систему, включающую в свой состав унифицированные технические средства - модули, объединенные стандартизованными каналами связи (RS422/485, радиосвязь, связь по телефонным линиям, связь по сетям Ethernet), а также программно-математическими средствами, обеспечивающими функционирование комплекса в целом. Верхний уровень, который может иметь несколько ярусов, реализуется на базе специализированных серверов или промышленных компьютеров типа IBM PC. Нижний уровень, составляющий основу ПТК, реализуется на базе контроллеров, интерфейсных и измерительных модулей.

ПТК может быть реализован как сосредоточенная или распределенная система.

Сосредоточенная система строится на базе модулей телеизмерений, телесигнализации, телеуправления, устройств коммутации и согласования, питающих модулей, процессорных модулей, объединенных в единый промышленный контроллер нижнего уровня. В такой системе, соединение входящих в контроллеры модулей с технологическими объектами осуществляется через кабельные трассы.

Основу сосредоточенной системы составляют:

модуль АЦП - четырёх- или восьмиканальный модуль ввода аналоговых сигналов силы и напряжения постоянного тока.

модуль МНУ - восьмиканальный модуль ввода сигналов от термопреобразователей сопротивления.

модуль ЦАП - восьмиканальный модуль вывода аналоговых сигналов управления.

модуль АДС - модуль ввода/вывода дискретных сигналов. Модуль имеет 24 гальванически изолированных канала.

Распределенная система строится на базе малогабаритных модулей удаленных устройств сопряжения с объектами (УСО), реализованных на базе микроконтроллеров. Удаленные УСО, в соответствии с их типом и настройкой, могут выполнять функции прямых измерений электроэнергии, мощности, сигналов силы и напряжения постоянно-го/переменного тока; обработку измерительных сигналов поступающих от термопреобразователей сопротивления и токов короткого замыкания; анализ состояния телесигнализации; передачу команд управления исполнительным устройствам. Удаленные модули УСО, устанавливают в различных частях объекта и подключают к коммутационному промышленному контроллеру нижнего уровня стандартизованными каналами связи.

Основу распределенной системы составляют:

- удаленные модули УСО ТС - модуль ввода дискретных сигналов. Модуль может иметь до 64 каналов и подключаться к контроллеру нижнего уровня через канал RS485;

- удаленные модули УСО ТИ - модуль ввода аналоговых сигналов силы и напряжения постоянного тока и напряжения переменного тока. Модуль может иметь до 32 измерительных каналов и подключаться к контроллеру нижнего уровня через канал RS485;

- удаленные модули УСО ТИ-А - модуль ввода аналоговых сигналов силы переменного тока. Модуль может иметь до 8 измерительных каналов и подключаться к контроллеру нижнего уровня через канал RS485;

- удалённые модули УСО-ЦАП - модуль вывода аналоговых сигналов управления. Модуль имеет 8 каналов.

- удаленные модули аналогового, цифрового ввода, телеуправления УСО-К;

- удаленные модули УСО ТУ - модуль вывода дискретных и аналоговых сигналов силы и напряжения постоянного и переменного тока. Модуль может иметь до 16 каналов и подключаться к контроллеру нижнего уровня через канал RS485;

- удаленные модули аналогового, цифрового ввода, телеуправления УСО-М;

- приборы технического учета электроэнергии ПТУ-М;

- приборы технического учета электроэнергии ПТУ;

- удаленные модули аналогового, цифрового ввода, телеуправления и учета электроэнергии УСО-ТМ.

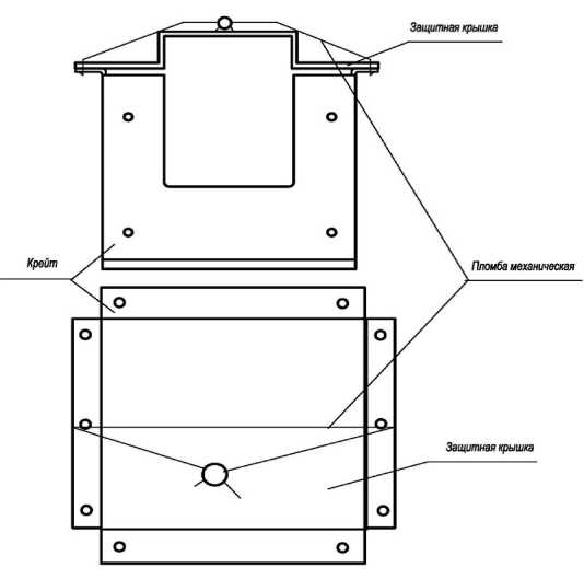
Ф отографии общего вида ПТК приведены на рисунках 1.1 и 1.2, схема пломбировки от несанкционированного доступа на рисунке 2.

Программное обеспечение

Программное обеспечение (ПО) ПТК имеет разделение программной части на метрологически значимую и метрологически незначимую.

Метрологически незначимая часть состоит из программно-математических средств автоматизированного рабочего места (АРМ), коммуникационного сервера, а также ПО метрологически незначимых модулей контроллера.

Метрологически значимая часть отвечает за обработку результатов измерений сигналов, хранение результатов измерений, а также прием-передачу данных по цифровому интерфейсу.

Все метрологически значимые вычисления выполняются ПО контроллеров, метрологические характеристики которых нормированы с учетом влияния на них встроенного ПО.

ПО модулей контроллеров хранится в микросхеме энергонезависимой памяти, запаянной на печатной плате.

Для защиты накопленной и текущей информации, конфигурационных параметров от несанкционированного доступа в ПТК, предусмотрен физический контроль доступа (запираемые шкафы, пломбирование) и программный контроль доступа. Схема пломбирования приведена на рисунке 2.

Защита ПО от непреднамеренных и преднамеренных изменений соответствует уровню «С» по МИ 3286-2010.

Идентификационные данные метрологически значимого ПО приведены в таблице 1.

Таблица 1 Идентификационные данные метрологически значимого ПО

Наименование ПО

Идентификационное наименование ПО

Номер версии

Цифровой идентификатор ПО

Алгоритм вычисления цифрового идентификатора ПО

Подпрограмма обработки, хранения и передачи цифровых значений

qmicro

03.12.0091

4CE136FE

CRC16

Рисунок 1.1 - Шкаф управления ПТК «Космотроника»

Рисунок 1.2 - Контроллер ПТК «Космотроника»

Рисунок 2 - Схема пломбировки от несанкционированного доступа

Технические характеристики

Основные метрологические и технические характеристики приведены в таблице 2.

Таблица 2.

Модуль

Сигналы:

Пределы допускаемой основной погрешности у0

Пределы допускаемой дополн. погрешности при изменении температуры окр. среды на 10°С

на входе

на выходе

1

2

3

4

5

АЦП

Сила и напряжение постоянного тока 0 - 5 мА

4 - 20 мА 0 - 5 В

12 бит

± 0,4% от диапазона

± 0,4уо

ЦАП

12 бит

0 - 5 В

0 - 20 мА

± 0,25% от диапазона

± 0,4уо

МНУ

Сигналы от термопреобразователей сопротивления

50М: от минус 50 до +50 °С

от минус 50 до +100 °С

от минус 50 до +150 °С

50П: от 0 до 100 °С

от 0 до 200 °С

от 0 до 300 °С

0 - 20 мА

± 0,4% от диапазона

± 0,5уо

УСО ТИ (УТИ)

Сила и напряжение постоянного тока 0 - 20 мА

2,5 - 250 В

Сила и напряжение переменного тока частотой 50 Гц 0 - 20 мА 0 - 5 А

25 - 250 В

RS 485

± 0,5% от диапазона

± 0,4уо

УСО ТИ-А

Сила переменного тока частотой 50 Гц 0 - 1 А

RS 485

± 1% от диапазона

± 0,5уо

УСО-М

Сила и напряжение постоянного тока 0 - 20 мА

2,5 - 250 В

Сила и напряжение переменного тока частотой 50 Гц 0 - 20 мА 0 - 5 А

25 - 250 В

RS 485

± 0,5% от диапазона

± 0,4уо

УСО-К

Сила постоянного тока 0 - 20 мА

RS 485

± 0,3 % от диапазона

± 0,5уо

1

2

3

4

5

УСО ПТУ-М

Мощность активной/ реактивной электроэнергии прямого и обратного направления 0 - 3,75 кВт/квар

Сила и напряжение переменного тока частотой 50 Гц 0 - 10 А 0 - 300 В

RS 485

± 1,0 %отн* акт. эл.

± 2,0 % отн* реакт. эл.

± 0,5 %отн.* ± 0,5 %отн.*

± 0,4уо*

УСО-ЦАП (УАВ)

12 бит

0 - 5 В

0 - 20 мА

± 0,25% от диапазона

± 0,4Уо

УСО ПТУ

Мощность активной/ реактивной электроэнергии прямого и обратного направления 0 - 3,75 кВт/квар

Сила и напряжение переменного тока частотой 50 Гц 0 - 10 А 0 - 300 В

RS 485

± 0,5 %отн.* -акт. эл.

± 1,0 %отн.*-реакт.эл.

± 0,5 %отн.*

± 0,5 %отн.*

± 0,4уо*

УСО-ТМ

Сила и напряжение постоянного тока 0 - 20 мА

2,5 - 250 В

Сила и напряжение переменного тока частотой 50 Гц 0 - 20 мА 0 - 5 А

25 - 250 В

Мощность активной - реактивной электроэнергии прямого и обратного направления 0 - 3,75 кВт/квар

RS 485

± 0,5% от диапазона

± 0,5% отн.*

± 1,0% отн.*

± 0,4уо

АДС-ТС

Измерение числа импульсов от 1 до 100 Гц и длительностью не ниже 5 мс

8 бит

± 1 имп. в рабочих условиях

УСО ТС (УТС), УСО-М, УСО-ТМ УСО К

Измерение числа импульсов от 1 до 100 Гц и длительностью не ниже 5 мс

RS 485

± 1 имп. в рабочих условиях

УСО R-FI4

Измерение частоты следования импульсов 0,1 -10 кГц

RS 485

± 0,1% отн. в рабочих условиях

Примечания:

1. Бинарные (дискретные) модули, источники питания, процессорные модули, входя-

щие в состав ПТК, не являются измерительными компонентами и не требуют свидетельства об утверждении типа.

2. Пределы * допускаемого значения основной относительной погрешности модулей при измерении активной, реактивной и полной электроэнергии (мощности) прямого и обратного направления нормированы для информативных значений входного сигнала: напряжение - (0,8...1,1) Uhom, коэффициент активной мощности cos9 = 0,5 (емк.) - 1,0 - 0,5 (инд.), коэффициент реактивной мощности simp = 0,5 (емк.) - 1,0 - 0,5 (инд.).

Погрешность ведения единого времени ± 3 секунд.

Рабочие условия применения комплекса:

- температура окружающего воздуха от минус 40 до + 50 °С;

- атмосферное давление от 84 до 107 кПа;

- относительная влажность до 80 % без конденсации влаги при температуре + 35 ° С;

- температура транспортирования от минус 50 до + 60 °С;

Напряжение питания от сети переменного тока напряжением 220 В ± 10% частотой (50 ± 1) Гц.

Потребляемая мощность, габаритные размеры и масса в зависимости от комплектации комплекса.

Срок службы - 10 лет.

Знак утверждения типа

Знак утверждения типа наносится на модули ПТК методом наклейки этикеток и на титульные листы руководства по эксплуатации типографским способом.

Комплектность

В комплект поставки входят:

- ПТК «Космотроника» - комплектация согласно заказу;

- руководство по эксплуатации;

- индивидуальная и групповая упаковка.

Поверка

осуществляется в соответствии с разделом 4 "Методы и средства поверки" Руководства по эксплуатации СШМК.466451.018 РЭ, утверждённым ГЦИ СИ ФГУП «ВНИИМС» 29.06.2011 г.

Перечень основных средств поверки:

Установка для поверки счетчиков электрической энергии ЦУ6804М: диапазон выходного напряжения переменного тока от 20 до 288 В, диапазон силы выходного переменного тока от 0,001 до 10 А, класс точности 0,1.

Калибратор Н4-11: воспроизведение напряжений постоянного тока от 0 до 20 В, Л= ±(0,05% U + 0,005%ип); от 20 до 200 В, Л= ±(0,1% U + 0,01%Uh); от 200 до 350 В, Л= ±(0,1% U + 0,01%ип); воспроизведение силы постоянного тока от 0 до 20 мА, Л= ±(0,1% I + 0,01%1п).

Генератор сигналов Г3-122 (Д= ±5.10’7f).

Калибратор - вольтметр универсальный В1-28 измерение напряжения от 0 до 5В, Л= ±(0,003%и+0,0003%им); измерение силы постоянного тока от 0 до 20 мА, Л= ±(0,01%I+0,0015%Im).

Магазин сопротивлений МСР 60-М, диапазон сопротивлений от 0 до 10 кОм, класс точности 0,02.

Сведения о методах измерений

Метод измерений приведён в руководстве по эксплуатации СШМК.466451.018 РЭ.

Нормативные документы

ГОСТ 6651-2009    Термопреобразователи сопротивления. Общие технические требования и

методы испытаний

ГОСТ 22261-94     Средства измерений электрических и магнитных величин. Общие техни

ческие условия

СШМК.466451.018 ТУ    Комплексы программно-технические «Космотроника»

Рекомендации к применению

- выполнение работ по обеспечению безопасных условий и охраны труда,

- осуществление производственного контроля за соблюдением установленных законодательством Российской Федерации требований промышленной безопасности к эксплуатации опасного производственного объекта;

Смотрите также

Default ALL-Pribors Device Photo
47850-11
COM3003 Компараторы
Компания "ZERA GmbH", ГЕРМАНИЯ
Для измерений электроэнергетических величин при калибровке и поверке следующих эталонных и рабочих средств: однофазных и трехфазных счетчиков активной и реактивной электрической энергии класса точности 0,05 и менее точных; однофазных и трехфазных ват...
Default ALL-Pribors Device Photo
47851-11
ESA 612, ESA 620 Анализаторы электробезопасности
Фирма "Fluke Biomedical", СОЕДИНЕННЫЕ ШТАТЫ
Для измерения напряжения переменного тока, электрического сопротивления, силы постоянного и переменного тока.
Default ALL-Pribors Device Photo
Для непрерывного измерения силы постоянного тока и температуры окружающего воздуха при применении в качестве приемно-контрольной и управляющей электронной части автоматизированных систем управления пожаротушением и пожарной сигнализации различных объ...
Default ALL-Pribors Device Photo
Для измерения активной и реактивной энергии, потребленной за установленные интервалы времени отдельными технологическими объектами Пермский филиал ОАО "Ростелеком", а также для автоматизированного сбора, обработки, хранения, отображения и передачи по...