47943-11: ТХА мод. SFW, WFW Преобразователи термоэлектрические с двумя термопарами - Производители, поставщики и поверители

Преобразователи термоэлектрические с двумя термопарами ТХА мод. SFW, WFW

ALL-Pribors default picture
Номер в ГРСИ РФ: 47943-11
Производитель / заявитель: Фирма "TERCOM s.r.l.", Италия
Скачать
47943-11: Описание типа
2011-47943-11.pdf
Скачать 403.7 КБ
Свидетельство об утверждении типа СИ Открыть ...
Нет данных о поставщике
Поверка
Преобразователи термоэлектрические с двумя термопарами ТХА мод. SFW, WFW поверка на: www.ktopoverit.ru
КтоПоверит
Онлайн-сервис метрологических услуг

Для измерений температуры жидких и газообразных сред (SFW), а также поверхности твердых тел (WFW), не агрессивных к материалу защитной арматуры или защитных гильз ТП, в том числе во взрывоопасных зонах, в которых могут образовываться взрывоопасные смеси категорий IIA, IIB, IIС групп Т1...Т6по ГОСТ Р 51330.11-99 (МЭК 60079-12-78).

Информация по Госреестру

Основные данные
Номер по Госреестру 47943-11
Действует по 10.10.2016
Наименование Преобразователи термоэлектрические с двумя термопарами
Модель ТХА мод. SFW, WFW
Характер производства Серийное
Идентификатор записи ФИФ ОЕИ c1dcfaab-d98b-3bfa-d836-e2255d8936ff
Год регистрации 2011
Информация устарела
Общие данные
Технические условия на выпуск тех.документация фирмы
Класс СИ 32.02
Год регистрации 2011
Страна-производитель  Италия 
Центр сертификации СИ
Наименование центра ГЦИ СИ ВНИИМС
Адрес центра 119361, г.Москва, Озерная ул., 46
Руководитель центра Кононогов Сергей Алексеевич
Телефон (8*095) 437-55-77
Факс 437-56-66
Информация о сертификате
Срок действия сертификата 10.10.2016
Номер сертификата 44078
Тип сертификата (C - серия/E - партия) С
Дата протокола Приказ 5264 от 10.10.11 п.02
Производитель / Заявитель

Фирма "TERCOM s.r.l.", ИТАЛИЯ

 Италия 

Quartiere Longo, 28 - 29010 Castelvetro Piacentino (PIACENZA) - ITALY тел. (39) 523-824545, факс (39) 523-824396, Via-della Fogarina 19, 26100 Cremona, Italy тел. + 39-0372-801460; факс + 39-0372-801463 www.tercom.it, E-mail: info@tercom.it

Поверка

Методика поверки / информация о поверке ГОСТ 8.338-02
Межповерочный интервал / Периодичность поверки
2 года
Зарегистрировано поверок
Найдено поверителей
Успешных поверок (СИ пригодно) 41 (100%)
Неуспешных поверок (СИ непригодно) 0 (0 %)
Актуальность информации 29.03.2026
Найти результаты поверки
Указан в паспорте или на самом приборе

Поверители

КтоПоверит
Онлайн-сервис метрологических услуг
Преобразователи термоэлектрические с двумя термопарами ТХА мод. SFW, WFW поверка на: www.ktopoverit.ru
КтоПоверит
Онлайн-сервис метрологических услуг

Скачать

47943-11: Описание типа
2011-47943-11.pdf
Скачать 403.7 КБ
Свидетельство об утверждении типа СИ Открыть ...

Описание типа

Назначение

Преобразователи термоэлектрические ТХА моделей SFW, WFW c двумя термопарами (далее по тексту - термопреобразователи или ТП) предназначены для измерений температуры жидких и газообразных сред (SFW), а также поверхности твердых тел (WFW), не агрессивных к материалу защитной арматуры или защитных гильз ТП, в том числе во взрывоопасных зонах, в которых могут образовываться взрывоопасные смеси категорий IIA, IIB, ПС групп Т1..,Т6 по ГОСТ Р 51330.11-99 (МЭК 60079-12-78).

Описание

Принцип работы термопреобразователей основан на термоэлектрическом эффекте - генерировании термоэлектродвижущей силы, возникающей из-за разности температур между двумя соединениями различных металлов или сплавов, образующих часть одной и той же цепи.

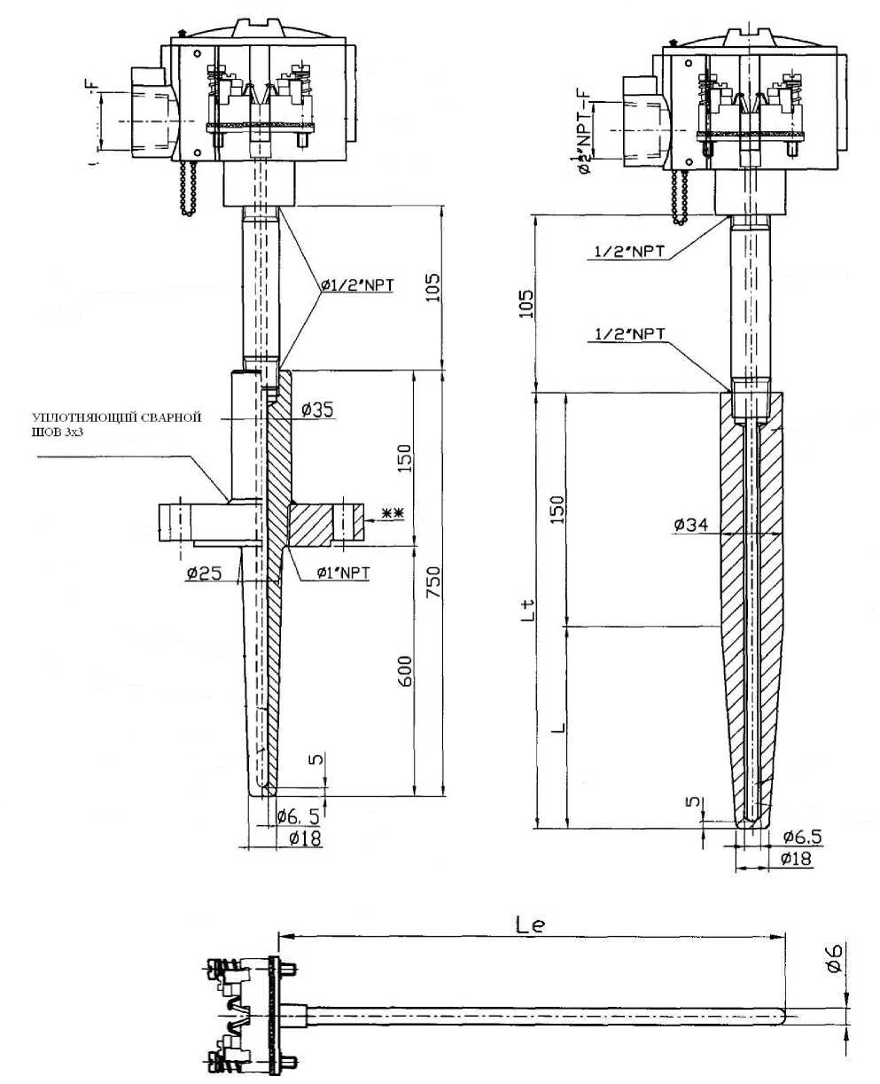
Термопреобразователи изготовляются на основе термопарного кабеля и могут иметь как разборное (SFW), так и неразборное конструктивные исполнения (WFW). ТП состоят из измерительной вставки с двумя чувствительными элементами - термопарами (с заземленными рабочими спаями с минеральной (MgO) изоляцией термоэлектродов), защитной арматуры с различными видами технологических соединений и монтажных элементов и клеммной головки, изготовленной из алюминия. Материал защитной арматуры измерительной вставки - нержавеющая сталь или инконель 600. У термопреобразователей модели WFW к месту расположения рабочих спаев прикреплена при помощи сварного соединения плоская прямоугольная пластина для монтажа к поверхности стенок химических реакторов различных типов и труб в печах и котлах различной конструкции.

Конструкция головок ТП предусматривает возможность встраивания в них измерительных преобразователей утвержденных типов с аналоговым или цифровым выходным сигналом.

Для измерения температуры при высоких давлениях и скоростях потока для ТП модели SFW предусмотрены дополнительные защитные гильзы, конструкция и материал которых зависит от допускаемых параметров измеряемой среды. Технические характеристики защитных гильз термопреобразователей приведены в технической документации фирмы-изготовителя.

Изображение общего вида термопреобразователей

ТП модели WFW

(Z^'NPT-

ТП модели SFW

Технические характеристики

Рабочий диапазон измеряемых температур, пределы допускаемых отклонений ТЭДС от НСХ термопреобразователей по МЭК 60584-2 (ГОСТ Р 8.585-2001) в температурном эквиваленте в зависимости от класса допуска приведены в таблице:

Условное обозначение НСХ

Класс допуска

Рабочий диапазон измеряемых температур, ° С

Пределы допускаемых отклонений ТЭДС от НСХ, °С

К

1

от минус 40 до плюс 375 св. плюс 375 до плюс 1100

+ 1,5

+ 0,004+

2

от минус 40 до плюс 333 св. плюс 333 до плюс 1300

+ 2,5

+ 0,0075 +

Длина монтажной части измерительной вставки ТП, мм: .....................от 300 до 10000

Диаметр монтажной части измерительной вставки ТП, мм: ................................6

Габаритные размеры прямоугольной пластины ТП модели WFW, мм: .........25*25*3

Электрическое сопротивление изоляции ТП при температуре (плюс 25+10) °С и относительной влажности воздуха от 30 до 80 %, МОм, не менее: ...........1000 (при 500 В)

Рабочие условия эксплуатации ТП:

- температура окружающей среды, °С: ............................от минус 40 до плюс 70

- относительная влажность окружающего воздуха, %..............до 98 (при плюс 35 °С)

Средний срок службы, лет, не менее: ...........................................................10

Вид взрывозащиты ТП - «Взрывонепроницаемая оболочка» по ГОСТ Р 52350.1-2005, ГОСТ Р 52350.11-2005.

Маркировка взрывозащиты ТП - «:1ExdIICT6».

Знак утверждения типа

Знак утверждения типа наносится на титульный лист паспорта (в правом верхнем углу) типографским способом, а также на шильдик, прикрепленный к клеммной головке ТП.

Комплектность

Термопреобразователь (исполнение по заказу) - 1 шт.

Паспорт (на русском языке) - 1 экз.

Защитная гильза (по дополнительному заказу).

Поверка

осуществляется по ГОСТ 8.338-2002 «ГСИ. Преобразователи термоэлектрические. Методика поверки».

Основные средства поверки:

- эталонные 1, 2, 3-го разрядов ТП типа ППО в диапазоне температур от плюс 300 до плюс 1200 °С;

- многоканальный прецизионный измеритель температуры МИТ 8.10 с пределами допускаемой основной абсолютной погрешности измерения напряжения ±(10-4 -U+1) мкВ, где U -измеряемое напряжение, мВ; сопротивления ±(10’5^R+540’4), где R - измеряемое сопротивление, Ом.

- горизонтальная трубчатая печь сопротивления типа МТП-2М с диапазоном температур от плюс 300 до плюс 1100 °С.

Примечания: при поверке допускается применение других средств измерений и вспомогательного оборудования, удовлетворяющих по точности и техническим характеристикам требованиям ГОСТ 8.338-2002.

Сведения о методах измерений

приведены в соответствующем разделе паспорта на термопреобразователи.

Нормативные документы

ГОСТ 8.558-93 ГСИ. Государственная поверочная схема для средств измерений температуры. ГОСТ Р 52931-2008 Приборы контроля и регулирования технологических процессов. Общие технические условия.

Международный стандарт МЭК 1515-95. Термопары кабельного типа (с минеральной изоляцией).

Международный стандарт МЭК 60584-1. Термопары. Часть 1. Градуировочные таблицы.

Международный стандарт МЭК 60584-2. Термопары. Часть 2. Допуски.

ГОСТ 6616-94 Преобразователи термоэлектрические. Общие технические условия.

ГОСТ Р 8.585-2001 ГСИ. Термопары. Номинальные статические характеристики преобразования.

ГОСТ 8.338-2002 ГСИ. Преобразователи термоэлектрические. Методика поверки.

Техническая документация фирмы «Tercom S.r.l.», Италия.

Рекомендации к применению

Осуществление производственного контроля за соблюдением установленных законодательством Российской Федерации требований промышленной безопасности к эксплуатации опасного производственного объекта; выполнение работ по оценке соответствия промышленной продукции и продукции других видов, а также иных объектов установленным законодательством Российской Федерации обязательным требованиям, в том числе, и во взрывоопасных зонах в соответствии с присвоенной маркировкой взрывозащиты.

Смотрите также

Default ALL-Pribors Device Photo
47944-11
FTh, THK Термометры манометрические
Фирма "AFRISO-EURO-INDEX GmbH", ГЕРМАНИЯ
Для измерений температуры жидких, сыпучих и газообразных сред, не агрессивных к материалу термобаллона термометров.
Default ALL-Pribors Device Photo
47945-11
WTh Термопреобразователи сопротивления платиновые
Фирма "AFRISO-EURO-INDEX GmbH", ГЕРМАНИЯ
Для измерений температуры жидких и газообразных сред, не агрессивных к материалу защитной арматуры ТС, а также для измерений температуры окружающего воздуха и внутри твердых тел.
Default ALL-Pribors Device Photo
47946-11
HTh, VMTh Термометры стеклянные технические
Фирма "AFRISO-EURO-INDEX GmbH", ГЕРМАНИЯ
Для измерений температуры различных сред, неагрессивных к материалу защитной арматуры.
Default ALL-Pribors Device Photo
47947-11
ATh, BiTh, RT, RTC Термометры биметаллические
Фирма "AFRISO-EURO-INDEX GmbH", ГЕРМАНИЯ
Для измерений температуры жидких, сыпучих и газообразных сред, не агрессивных к материалу термобаллона термометров.
Default ALL-Pribors Device Photo
Для измерения температуры тела человека оральным, подмышечным (аксиллярным) и ректальным способами. Модели МТ 1751 - для измерения температуры тела ребенка оральным способом.