48473-11: Система автоматизированная информационно-измерительная коммерческого учета электроэнергии административного здания Министерства финансов Российской Федерации - Производители, поставщики и поверители

Система автоматизированная информационно-измерительная коммерческого учета электроэнергии административного здания Министерства финансов Российской Федерации

ALL-Pribors default picture
Номер в ГРСИ РФ: 48473-11
Производитель / заявитель: ГУ "Энерготестконтроль", г.Москва
Скачать
48473-11: Описание типа
2011-48473-11.pdf
Скачать 345.5 КБ
Свидетельство об утверждении типа СИ Открыть ...
Нет данных о поставщике
Поверка
Система автоматизированная информационно-измерительная коммерческого учета электроэнергии административного здания Министерства финансов Российской Федерации поверка на: www.ktopoverit.ru
КтоПоверит
Онлайн-сервис метрологических услуг

Для измерения активной, реактивной электроэнергии и средней мощности административного здания МФ РФ (адрес здания: г. Москва, ул. Ильинка, 9), а также регистрации и хранения параметров электропотребления, формирования отчетных документов и информационного обмена с ОАО "МОЭСК", ОАО "Мосэнергосбыт" и др. (далее - внешние пользователи). Выходные данные системы могут быть использованы для коммерческих расчетов.

Информация по Госреестру

Основные данные
Номер по Госреестру 48473-11
Наименование Система автоматизированная информационно-измерительная коммерческого учета электроэнергии административного здания Министерства финансов Российской Федерации
Характер производства Единичное
Идентификатор записи ФИФ ОЕИ d450dff9-05dd-f481-d389-23ceedf84eda
Испытания
Дата Модель Заводской номер
зав.№ 001
Год регистрации 2011
Информация устарела
Общие данные
Технические условия на выпуск ГОСТ 22261-94, ГОСТ 7746-2001, ГОСТ 1983-2001
Класс СИ 34.01.04
Год регистрации 2011
Страна-производитель  Россия 
Центр сертификации СИ
Наименование центра ГЦИ СИ ООО "ИЦ "Энерготестконтроль"
Адрес центра 105043, г.Москва, ул.Первомайская, д.35/18. стр.1; 117418, г.Москва, Нахимовский пр-т, 31
Руководитель центра Минц Владимир Борисович
Телефон (8*095) 332-99-09
Факс 129-25-44
Информация о сертификате
Срок действия сертификата . .
Номер сертификата 44762
Тип сертификата (C - серия/E - партия) Е
Дата протокола Приказ 6376 от 12.12.11 п.07
Производитель / Заявитель

ЗАО "Энерготестконтроль", РОССИЯ, г.Москва

 Россия 

115191, ул.2-я Рощинская, д.4, офис 303. Тел. (495) 789-9157, факс: 789 9157 (115191, ул.М.Тульская, д.2/1 кор.8, оф.303) 115191, ул.Серпуховский вал, д.19, Тел/факс: (8495) 952-75-07, E-mail: mail@etcontrol.ru

Поверка

Методика поверки / информация о поверке КПНГ.411713.117 РЭ
Межповерочный интервал / Периодичность поверки
4 года
Зарегистрировано поверок
Найдено поверителей
Успешных поверок (СИ пригодно) 58 (91%)
Неуспешных поверок (СИ непригодно) 6 (9 %)
Актуальность информации 29.03.2026
Найти результаты поверки
Указан в паспорте или на самом приборе

Поверители

КтоПоверит
Онлайн-сервис метрологических услуг
Система автоматизированная информационно-измерительная коммерческого учета электроэнергии административного здания Министерства финансов Российской Федерации поверка на: www.ktopoverit.ru
КтоПоверит
Онлайн-сервис метрологических услуг

Скачать

48473-11: Описание типа
2011-48473-11.pdf
Скачать 345.5 КБ
Свидетельство об утверждении типа СИ Открыть ...

Описание типа

Назначение

Система автоматизированная информационно-измерительная коммерческого учета электроэнергии административного здания Министерства финансов Российской Федерации (далее - АИИС КУЭ адм. здания МФ РФ) предназначена для измерения активной, реактивной электроэнергии и средней мощности административного здания МФ РФ (адрес здания: г. Москва, ул. Ильинка, 9), а также регистрации и хранения параметров электропотребления, формирования отчетных документов и информационного обмена с ОАО «МОЭСК", ОАО "Мосэнергосбыт" и др. (далее - внешние пользователи). Выходные данные системы могут быть использованы для коммерческих расчетов.

Описание

АИИС КУЭ адм. здания МФ РФ представляет собой многофункциональную, трехуровневую систему с централизованным управлением и распределенной функцией измерения. АИИС КУЭ адм. здания МФ РФ решает следующие задачи:

• измерение 30-минутных приращений активной электроэнергии,

• периодический (1 раз в сутки) и /или по запросу автоматический сбор привязанных к единому календарному времени результатов измерений приращений электроэнергии с заданной дискретностью учета (30 мин);

• хранение результатов измерений в специализированной базе данных, отвечающей требованию повышенной защищенности от потери информации (резервирование баз данных) и от несанкционированного доступа;

• передача в организации (внешние пользователи) результатов измерений;

• предоставление по запросу контрольного доступа к результатам измерений, данных о состоянии объектов и средств измерений со стороны сервера организаций (внешних пользователей);

• обеспечение защиты оборудования, программного обеспечения и данных от несанкционированного доступа на физическом и программном уровне (установка паролей и т.п.);

• диагностика функционирования технических и программных средств АИИС КУЭ адм. здания МФ РФ;

• конфигурирование и настройка параметров АИИС КУЭ адм. здания МФ РФ;

• ведение системы единого времени в АИИС КУЭ адм. здания МФ РФ (коррекция времени).

Метод измерения электроэнергии (мощности). Первичные фазные токи и напряжения трансформируются измерительными трансформаторами в аналоговые сигналы низкого уровня, которые по проводным линиям связи поступают на соответствующие входы электронного счетчика электроэнергии. В счетчике мгновенные значения аналоговых сигналов преобразуются в цифровой сигнал. По мгновенным значениям силы электрического тока и напряжения в микропроцессоре счетчика вычисляются мгновенные значения активной и полной мощности, которые усредняются за период 0,02 с. Средняя за период реактивная мощность вычисляется по средним за период значениям активной и полной мощности.

Электрическая энергия, как интеграл по времени от средней за период 0,02 с мощности вычисляется для интервалов времени 30 мин. (Умножение на коэффициенты трансформации осуществляется в сервере).

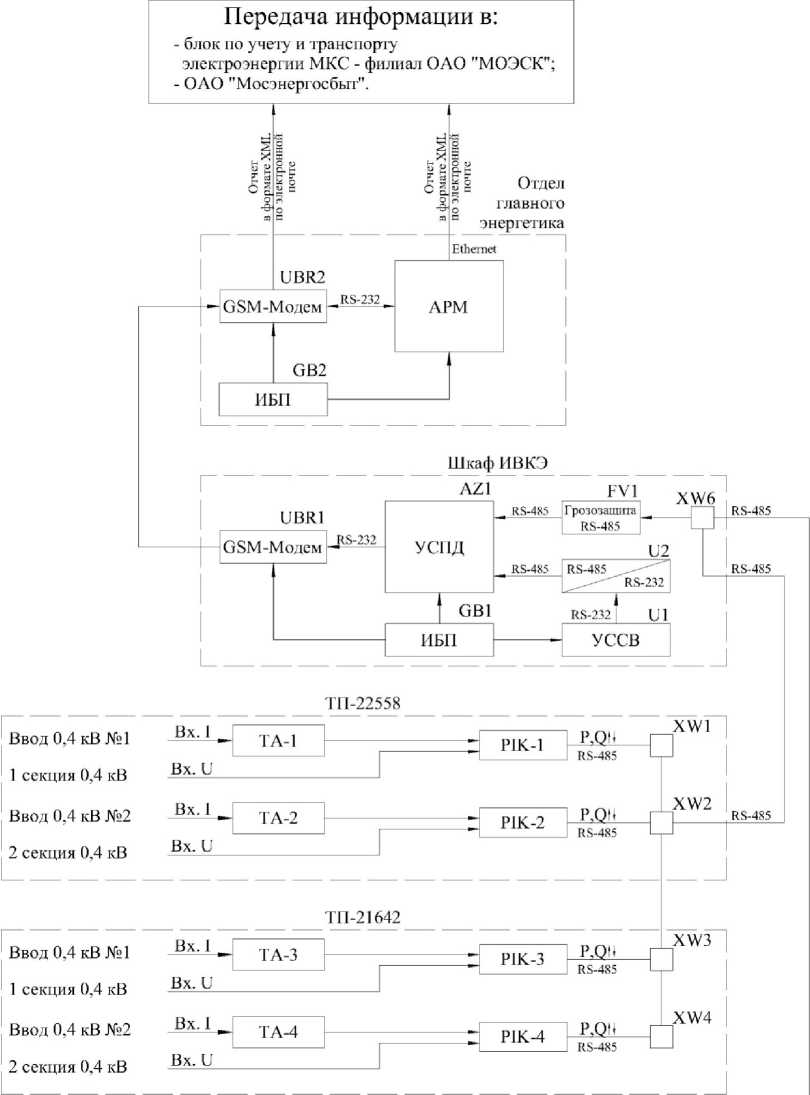
Цифровой сигнал с выходов счетчиков по интерфейсу RS 485 по проводным линиям связи поступает на вход УСПД, где осуществляется автоматизированный сбор, контроль и учет показателей и режимов потребления электроэнергии, передача накопленных данных по каналам передачи данных. ИВК предназначен для обеспечения выполнения задач автоматиче-

ского сбора, диагностики, обработки и хранения информации об измеренной электроэнергии, а также обеспечения интерфейсов доступа к информации. Учетная информация, передаваемая внешним пользователям через Internet (основной канал связи) и коммутируемым телефонным линиям связи (резервный канал связи), отражает 30-минутные результаты измерения потребления электроэнергии по точке учета. Передача информации реализована с использованием электронных документов в виде макетов 51070 и 80020 в формате XML.

Состав: АИИС КУЭ адм. здания МФ РФ состоит из 3 уровней

1-й уровень - (ИИК) (5 точек измерения) содержит в своем составе:

• измерительные трансформаторы тока (ТТ) по ГОСТ 7746-2001 типа TCH10, КТ 0,5S; CT8, Т-0,66 У3, КТ 0,5;

• вторичные измерительные цепи тока и напряжения;

• многофункциональные микропроцессорные счетчики электроэнергии с цифровыми выходными интерфейсами RS485 (счетчики) для измерения активной и реактивной энергии типы A1805-RAL-P4-GB-DW-4, КТ 0,5S/1,0 по ГОСТ 26035-83 для реактивной энергии, ГОСТ 52323-2005 для активной энергии.

2-й уровень - измерительно-вычислительный комплекс электроустановки (ИВКЭ) содержит в своем составе:

• устройство сбора и передачи данных (УСПД) типа УСПД RTU-325L-E2-512-M2-B2;

• коммуникационное и модемное оборудование (преобразователь интерфейса RS-485/RS-232; линии связи с использованием терминалов сотовой связи GSM-модемы);

• устройство синхронизации системного времени (УССВ) 16HVS, подключенное к УСПД по интерфейсу RS232, выполненное на основе GPS приемника;

• цепи и устройства питания для УСПД и терминала сотовой связи;

3 -й уровень - измерительно-вычислительный комплекс (ИВК) содержит в своем составе:

• сервер в промышленном исполнении;

• технические средства для организации локальной вычислительной сети разграничения прав доступа к информации;

• устройство бесперебойного питания сервера (UPS);

• коммуникационное оборудование для обмена данными со счетчиками (интерфейс RS-485/RS-232, GSM-модемы Siemens MC-35i);

• ПО «Альфа Центр»;

АИИС КУЭ адм. здания МФ РФ оснащена системой обеспечения единого времени (СОЕВ), созданной на основе устройства синхронизации системного времени УССВ-16HVS, включающее в себя приёмник сигналов точного времени от спутников глобальной системы позиционирования (GPS). Время сервера синхронизировано со временем GPS-приёмника, сличение ежечасное, погрешность синхронизации не более 16 мс. Синхронизация времени происходит при старте сервера в 00-00 часов. Сличение времени сервера со временем УСПД осуществляется 1 раз в сутки, корректировка времени выполняется при достижении расхождения времени сервера и УСПД величины ± 1 с. Сличение времени счётчиков со временем УСПД осуществляется каждые 30 мин, корректировка времени счётчиков производится при достижении расхождения с временем УСПД ± 1 с. Абсолютная погрешность системного времени не превышает ± 5 с.

Организация защиты от несанкционированного доступа. В АИИС КУЭ адм. здания МФ РФ предусмотрена многоуровневая защита от несанкционированного доступа: система паролей в ПО, пломбирование счетчиков, информационных цепей.

Программное обеспечение

Программное обеспечение (далее ПО) АИИС КУЭ адм. здания МФ РФ включает в себя: ПО УСПД RTU-325 - для уровня ИВКЭ. Назначение ПО-сбор информации об электропотреблении, мощности и параметрах качества электроэнергии с сертифицированных устройств по цифровым каналам связи, её дальнейшая обработка и хранение, а также передача на уровень ИВК АИИС КУЭ адм. здания МФ РФ. Применяется, как внутреннее ПО УСПД.

Метрологически значимое ПО состоит из следующих модулей: adjust_time, calculate_comm, md5, RTU325_calc_hash.7z.

(ШЮ) АльфаЦентр - для уровня ИВК. Назначение ПО: сбор информации по энергоресурсам с УСПД «RTU-325L», сохранение собранной информации в базе данных. Предназначено для использования на ПК-сервере сбора данных. Метрологически значимое ПО состоит из шести модулей Amrserver.exe, Amrc.exe, Amra.exe, Cdbora2.dll, encryptdll.dll, alphamess.dll.

УСПД реализовано на базе промышленного PC-совместимого компьютера, содержащего в себе процессор, оперативную память, диск на основе флэш-памяти, энергонезависимые часы и интерфейсы ввода-вывода. Микропрограмма заносится в программируемое постоянное запоминающее устройство (диск на основе флэш-памяти) контроллеров предприятием-изготовителем, защищена от несанкционированного вмешательства средствами разграничения доступа в виде паролей и недоступна для потребителя. УСПД имеет встроенное программное обеспечение. Уровень защиты от непреднамеренных и преднамеренных изменений в соответствии с МИ 3286-2010 - «С».

Встроенная операционная система QNX позволяет настраивать УСПД под конкретные задачи пользователя. Программирование и отладка устройств производится через COM-порт, который подключается к терминалу персонального компьютера через модемный кабель.

На метрологические характеристики модуля вычислений сервера оказывают влияние пересчётные коэффициенты, которые используются для пересчёта токов, и напряжений считанных из измерительных каналов счётчика, в результирующий параметр (потребляемую мощность). Пересчётные коэффициенты задаются при конфигурировании УСПД и записываются в его флэш-память. Значения пересчетных коэффициентов защищены от изменения путём ограничения доступа паролем. Интерфейс ПО содержит в себе средства предупреждения пользователя, если его действия могут повлечь изменение или удаление результатов измерений. Метрологически значимая часть ПО содержит специальные средства защиты, исключающие возможность несанкционированной модификации, загрузки (в том числе загрузки фальсифицированного ПО и данных), считывания из памяти сервера, удаления или иных преднамеренных изменений метрологически значимой части ПО и измеренных дан-ных.Специальными средствами защиты метрологически значимой части ПО и измеренных данных от преднамеренных изменений являются: - средства управления доступом (пароли),

- средства проверки целостности ПО (несанкционированная модификация метрологически значимой части ПО проверяется расчётом контрольной суммы и сравнением ее с действительным значением).

Программное обеспечение и конструкция УСПД после конфигурирования и настройки обеспечивают защиту от несанкционированного доступа и изменения его параметров.

Характеристики программного обеспечения (ПО) приведены в таблице № 1.

Таблица№1

Наименование программного обеспечения

Идентификационное наименование программного обеспечения

Номер версии (идентификационный номер) программного обеспечения

Цифровой идентификатор программного обеспечения (контрольная сумма исполняемого кода)

Алгоритм вычисления цифрового идентификатора программного обеспечения

Планировщик опроса и передачи данных -Amrserver.exe

Elster AmrServer

3.28.0.0

f9aaf6822bf46a3db8 803153391c02d4

md5

Драйвер ручного опроса счетчиков и УСПД - Amrc.exe

RTU327 Amr Client

3.28.3.0

a9d0ef2b6b1b625700

7d931d527ba040

Драйвер автоматического опроса счетчиков и УСПД-Amra.exe

RTU327 Amr Client

3.28.3.0

fd143e93d210cdd5a3

9e6a8c534de6c7

md5

Драйвер работы с БД - Cdbora2.dll

Oracle database driver for AC-Comm

3.27.0.0

4906f2770a9ff453eb

e6003be8fbfcec

Библиотека шифрования пароля счетчиков - encryptdll.dll

Идентификационное наименование отсутствует

2.0.0.0

0939ce05295fbcbbba

400eeae8d0572c

Библиотека сообщений планировщика опросов -alphamess.dll

Идентификационное наименование отсутствует

Номер версии отсутствует

b8c331abb5e344441 70eee9317d635cd

Модуль управления системным временем

Adjust_time

2.24

7f1b863644c641a008 dd927e6ba72d6e

Расчетный модуль преобразования к именованным вели

чинам

Calculate_comm

2.12

54dc3949e7b311616

1f4132d4718f85d

Модуль для расчета хеш-сумм MD5

Md5

2.07

32bdf3539abadb3596

9af2ad3b82275d

Внешний модуль генерации отчета цифровых индикаторов

RTU325_calc_has h.7z

2.07

342bd97e3b62d94f2

22186f8c0ad0ee6

Блок-схема АИИС КУЭ адм. здания МФ РФ приведена на рис. 1.

ВУ-6973

Ввод ОД кВ                ТА-5

секция ОД кВ         —

P.Q't

RS-485

XW5 I “I________RS-485

Р1К-5

Рис.1

Технические характеристики

Технические характеристики АИИС КУЭ адм. здания МФ РФ приведены в таблице 2, которая содержит перечень измерительных каналов АИИС КУЭ адм. здания МФ РФ указанием наименования присоединений, измерительных компонентов и их метрологических характеристик.

В таблицах 3,4 приведены метрологические характеристики ИК АИИС КУЭ адм. здания МФ РФ. В качестве относительной погрешности указаны границы интервала, соответствующие вероятности 0,95.

Таблица 2 - Перечень ИК АИИС КУЭ адм. здания МФ РФ и их состав_________________

№№ ИК

Наименование присоединения

Состав измерительного канала

Вид электроэнергии

Основная погрешность %

ТТ

ТН

Счётчик

1

ТП-22558 Ввод 0,4 кВ №1

TCH10 2000/5 Кл. т. 0,5S

Зав. №: А-19601 В- 19598 С-19605

A1805-RAL-P4-GB-DW-4

Кл.т. 0,5S/1,0 Зав. № 01222358

Активная Реактивная

± 1,1 Не норм.

2

ТП-22558 Ввод 0,4 кВ №2

TCH10 2000/5 Кл. т. 0,5S

Зав. №: А-19600 В-19599 С-18503

A1805-RAL-P4-GB-DW-4

Кл.т. 0,5S/1,0 Зав. № 01222357

Активная Реактивная

± 1,1 Не норм

3

ТП-21642

Ввод 0,4 кВ №1

CT8 2000/5 Кл. т. 0,5 Зав. №: А-54508 В-18144 С- 54464

A1805-RAL-P4-GB-DW-4

Кл.т. 0,5S/1,0 Зав. № 01222360

Активная Реактивная

± 1,1 Не норм

4

ТП-21642 Ввод 0,4 кВ №2

СТ8 2000/5 Кл. т. 0,5 Зав. №: А-54749 В- 18148 С- 54776

A1805-RAL-P4-GB-DW-4

Кл.т. 0,5S/1,0 Зав. № 01222359

Активная Реактивная

± 1,1 Не норм

5

ВУ-6973

Ввод 0,4 кВ

Т-0,66 У3 200/5

Кл. т. 0,5 Зав. №: А- 61397 В- 59875 С-61187

A1805-RAL-P4-GB-DW-4

Кл.т. 0,5S/1,0 Зав. № 01222361

Активная Реактивная

± 1,1 Не норм

УСПД          RTU-325L-

E2-512-M2-B2

005778

Примечания к Таблице 2

1 Характеристики основной погрешности ИК даны для измерения электроэнергии и средней мощности (получасовая);

2 В качестве характеристик основной относительной погрешности интервала, указаны границы соответствующие вероятности 0,95;

3 Нормальные условия:

параметры сети: напряжение (0,98 + 1,02) Uhom; ток (0,01 + 1,2) 1ном ; ток (0,05 + 1,2) 1ном, cosф =

0,9 инд.;

температура окружающей среды (20 ± 5)°С.

4 Рабочие условия:

параметры сети: напряжение (0,95 + 1,05) Uhom; ток (0,01 + 1,2) 1ном при трансформаторе тока с классом точности 0,5S;.; ток (0,05 ^ 1,2) Ihom при трансформаторе тока с классом точности 0,5; cosф = 0,8 инд.;

допускаемая температура окружающей среды для измерительных трансформаторов от минус 40 до плюс 70°С, для счетчиков от минус 40 до плюс 70°С; для сервера от плюс 10 до плюс 40°С; для УСПД от минус 25 до плюс 70°С;

5 Трансформаторы тока по ГОСТ 7746, трансформаторы напряжения по ГОСТ 1983, многофункциональные счетчики типа A1805-RAL-P4-GB-DW-4 активной и реактивной энергии класса точности 0,5S/1,0 в соответствии с ГОСТ 52323-2005 при измерении активной электроэнергии, ГОСТ 26035-83 при измерении реактивной электроэнергии;

6 Допускается замена измерительных трансформаторов и счетчиков на аналогичные, утвержденных типов с метрологическими характеристиками не хуже, чем у перечисленных в Таблице 1. Допускается замена УСПД на однотипное, утвержденного типа. Замена оформляется актом в установленном в МФ РФ порядке.

Значение погрешности в рабочих условиях приведены в таблицах 3,4

Таблица 3

Границы допускаемых приписанных характеристик относительных погрешностей ИИК при измерении активной электроэнергии

№ п/п

Перечень ИИК

Диапазон значений cos ф

Тип нагрузки

Значение модуля границы допускаемой относительной погрешности ИИК при измерении активной электроэнергии при значении рабочего тока в % от номинального первичного тока ТТ, %

1< 1раб <2

2< 1раб <5

5< 1раб <20

20< 1раб

<100

100< 1раб <120

1

1, 2

0,5 < cos ф < 0,8

инд.

не норм.

4,8

3,0

2,1

2,1

0,8 < cos ф < 0,866

инд.

не норм.

2,7

1,7

1,3

1,3

0,866 < cos ф < 0,9

инд.

не норм.

2,4

1,5

1,1

1,2

0,9 < cos ф < 0,95

инд.

не норм.

2,3

1,4

1,1

1,1

0,95 < cos ф < 0,99

инд.

не норм.

2,1

1,3

1,0

1,0

0,99 < cos ф < 1

инд.

не норм.

1,9

1,1

0,9

1,0

cos ф = 1

2,0

1,9

1,1

0,9

1,0

0,8 < cos ф < 1

емк.

не норм.

2,7

1,9

1,3

1,3

2

3...5

0,5 < cos ф < 0,8

инд.

не норм.

не норм.

5,4

2,8

2,1

0,8 < cos ф < 0,866

инд.

не норм.

не норм.

2,9

1,6

1,3

0,866 < cos ф < 0,9

инд.

не норм.

не норм.

2,5

1,4

1,2

0,9 < cos ф < 0,95

инд.

не норм.

не норм.

2,3

1,4

1,1

0,95 < cos ф < 0,99

инд.

не норм.

не норм.

2,1

1,2

1,0

0,99 < cos ф < 1

инд.

не норм.

не норм.

1,9

1,1

1,0

cos ф = 1

не норм.

не норм.

1,8

1,1

1,0

0,8 < cos ф < 1

емк.

не норм.

не норм.

3,0

1,6

1,3

Таблица 4

Границы допускаемых приписанных характеристик относительных погрешностей ИИК при измерении активной электроэнергии

№ п/п

Перечень ИИК

Диапазон значений cos ф

Значение модуля границы допускаемой относительной погрешности ИИК при измерении реактивной электроэнергии при значении рабочего тока в % от номинального первичного тока ТТ, %

1< 1раб <2

2< 1раб <5

5< 1раб <20

20< V <100

100< V <120

1

1, 2

0,5 < cos ф < 0,8

не норм.

5,2

3,1

2,0

2,0

0,8 < cos ф < 0,866

не норм.

не норм.

3,6

2,3

2,2

0,866 < cos ф < 1

не норм.

не норм.

не норм.

не норм.

не норм.

2

3...5

0,5 < cos ф < 0,8

не норм.

не норм.

4,7

2,6

2,0

0,8 < cos ф < 0,866

не норм.

не норм.

5,8

3,0

2,2

0,866 < cos ф < 1

не норм.

не норм.

не норм.

не норм.

не норм.

Таблица 5 Основные технические характеристики АИИС КУЭ

№ ИК

Наименование характеристики

Значение

1-2

Номинальный ток:

первичный (1н1) вторичный (1н2)

2000 А

5 А

Диапазон тока:

первичного (I1) вторичного (I2)

От 20 до 2400 А От 0,05 до 6 А

Номинальное напряжение:

380 В

Диапазон напряжения:

первичного (U1)

От 361 до 399 В

Коэффициент мощности cos ф

От 0,5 до 1,0

Номинальная нагрузка ТТ

5 ВА

Допустимый диапазон нагрузки ТТ

От 1,25 до 5 ВА

Допустимое значение с-os ф2 во вторичной цепи нагрузки ТТ

От 0,8 до 1,0

3-4

Номинальный ток:

первичный (1н1) вторичный (1н2)

2000 А

5 А

Диапазон тока:

первичного (I1) вторичного (I2)

От 10 до 2400 А От 0,25 до 6 А

Номинальное напряжение:

380 В

Диапазон напряжения:

первичного (U1)

От 361 до 399 В

Коэффициент мощности cos ф

От 0,5 до 1,0

Номинальная нагрузка ТТ

10 ВА

Допустимый диапазон нагрузки ТТ

От 2,5 до 10 ВА

Допустимое значение с-os ф2 во вторичной цепи нагрузки ТТ

От 0,8 до 1,0

5

Номинальный ток:

первичный (1н1) вторичный (1н2)

200 А

5 А

Диапазон тока:

первичного (I1) вторичного (I2)

От 10 до 240 А От 0,25 до 6 А

Номинальное напряжение:

380 В

Диапазон напряжения:

первичного (U1)

От 361 до 399 В

Коэффициент мощности cos ф

От 0,5 до 1,0

Номинальная нагрузка ТТ

5 ВА

Допустимый диапазон нагрузки ТТ

От 1,25 до 5 ВА

Допустимое значение с-os ф2 во вторичной цепи нагрузки ТТ

От 0,8 до 1,0

Надежность применяемых в системе компонентов:

- электросчётчик - среднее время наработки на отказ не менее Тср = 120 000 ч, среднее время восстановления работоспособности не более 1в = 2 ч;

- УСПД - среднее время наработки на отказ не менее Тср = 40 000 ч, среднее время восстановления работоспособности не более tB = 24 ч;

- сервер - среднее время наработки на отказ не менее Тср = 15843 ч, среднее время восстановления работоспособности не более tB = 2 ч;

Надежность системных решений:

- резервирование питания УСПД с помощью устройства АВР;

- резервирование каналов связи: информация о результатах измерений может передаваться в организации - участники оптового рынка электроэнергии с помощью электронной почты и сотовой связи;

Регистрация событий:

- журнал счётчика:

- параметрирования;

- пропадания напряжения;

- коррекции времени в счетчике;

Журнал УСПД:

- параметрирования;

- пропадания напряжения;

- коррекции времени в счетчике и УСПД;

Защищённость применяемых компонентов:

механическая защита от несанкционированного доступа и пломбирование:

- электросчётчика;

- промежуточных клеммников вторичных цепей напряжения;

- испытательной коробки;

- УСПД;

- сервера;

Защита на программном уровне информации при хранении, передаче, параметрировании:

- результатов измерений (при передаче, возможность использования цифровой подписи)

- установка пароля на счётчик;

- установка пароля на УСПД;

- установка пароля на сервер;

Возможность коррекции времени в:

- электросчетчиках (функция автоматизирована);

- УСПД (функция автоматизирована);

- ИВК (функция автоматизирована).

Возможность сбора информации:

- о состоянии средств измерений (функция автоматизирована);

- о результатах измерений (функция автоматизирована).

Цикличность:

- измерений 30 мин (функция автоматизирована);

- сбора 30 мин (функция автоматизирована).

Глубина хранения информации:

- электросчетчик - тридцатиминутный профиль нагрузки в двух направлениях не менее 2730 часов.

УСПД - хранение результатов измерений и информации состояний средств измерений при отключенном питании - не менее 5 лет.

УСПД сохраняет считанные со счётчиков и рассчитанные значения по точкам учёта и группам в энергонезависимой памяти с глубиной хранения не менее: средних мощностей на технических (менее чем 30-минутных) интервалах - 2 часа, средних мощностей по точкам учёта на коммерческих (30-минутных) интервалах - 15 суток, средних мощностей по группам учёта на коммерческих (30-минутных) интервалах - 3 месяца.

Сервер баз данных обеспечивает хранение результатов измерений, состояний средств измерений на срок не менее 3,5 лет.

Знак утверждения типа

Знак утверждения типа наносится на титульные листы эксплуатационной документации АИИС КУЭ адм. здания МФ РФ типографским способом.

Комплектность

Таблица 6 - Комплектность АИИС КУЭ адм. здания МФ РФ

Наименование компонента системы

Количество (шт)

Трансформаторы тока ТСН 10 КТ 0,5S; 2000/1

6

Трансформаторы тока СТ 8 КТ 0,5; 2000/5

6

Трансформаторы тока Т-0,66 У3, КТ 0,5S; 200/5

3

Электросчетчики A1805-RAL-P4-GB-DW-4 КТ 0,5S/1,0 5 А

5

УСПД RTU-325L-E2-512-M2-B2

1

Руководство по эксплуатации - КПНГ.411713.117 РЭ

Формуляр - КПНГ.411713.117 ФО

Методика поверки - в составе РЭ КПНГ.411713.117

ПО RTU-325L-E2-512-M2-B2, версия 2.00

(ППО) АльфаЦентр, версия 1.0.0.44 от 09.04.10 г.

Поверка

Осуществляется в соответствии с разделом «Методика поверки» КПНГ.411713.117 РЭ "Система автоматизированная информационно-измерительная коммерческого учета электроэнергии административного здания Министерства финансов Российской Федерации" (АИИС КУЭ адм. здания МФ РФ), согласованным ГЦИ СИ ООО "ИЦ "Энерготестконтроль" 05.07.2011 г.

Средства поверки - по НД на измерительные компоненты:

1) Средства поверки измерительных трансформаторов напряжения по МИ 2845-2003 и/или по ГОСТ 8.216-88;

2) Средства поверки измерительных трансформаторов тока по ГОСТ 8.217-2003;

3) Средства поверки счётчиков электрической энергии в соответствии с утвержденным документом «Счётчики электрической энергии трёхфазные многофункциональные АЛЬФА А1800. Методика поверки МП-2203-0042-2006», утверждена 19.05.2006 г. ГЦИ СИ "ВНИ-ИМ им. Д.И. Менделеева";

4) средства поверки УСПД RTU 325L и устройств синхронизации времени УССВ (поверяется в составе УСПД) по документу «Устройства сбора и передачи данных RTU 325 и RTU 325L». Методика поверки ДИЯМ.466.453.005МП. Утверждена ГЦИ СИ ФГУП ВНИИМС в 2008г.

5) Переносной компьютер с ПО и оптическим преобразователем для работы со счетчиками системы;

6) Радиоприемник станций радиовещания, принимающий сигналы службы точного времени.

Сведения о методах измерений

Методы измерений, которые используются в АИИС КУЭ адм. здания МФ РФ приведены в документе - «Система автоматизированная информационно-измерительная коммерческого учета электроэнергии административного здания Министерства финансов Российской Федерации по адресу г. Москва, ул. Ильинка, 9, стр. 1 Методика измерений электрической энергии и мощности" (АИИС КУЭ адм. здания МФ РФ)" (МИ КПНГ.411713.117).

Методика (метод) измерений - МИ КПНГ.411713.117 аттестована ГЦИ СИ - ООО "Испытательный центр "Энерготестконтроль" по ГОСТ Р 8.563-2009 .Свидетельство об аттестации № 73/01.00066-2010/2011 от 15.07.2011 г.

Нормативные документы

Нормативные документы, устанавливающие требования к АИИС КУЭ адм. здания МФ РФ:

1) ГОСТ 22261-94 Средства измерений электрических и магнитных величин. Общие технические условия;

2) ГОСТ Р 8.596-2002 ГСИ. Метрологическое обеспечение измерительных систем. Основные положения;

3) ГОСТ 7746-2001.Трансформаторы тока. Общие технические условия;

4) ГОСТ 1983-2001.Трансформаторы напряжения, Общие технические условия;

5) ГОСТ Р 52323-2005. (МЭК 62053-22:2003) «Аппаратура для измерений электрической энергии переменного тока. Частные требования. Часть 22. Статистические счетчики активной энергии классов точности 0,2S и 0,5S»;

6) ГОСТ Р 52425-2005. (МЭК 62053-23:2003) «Аппаратура для измерения электрической энергии переменного тока. Частные требования. Часть 23. Статические счетчики реактивной энергии».

Рекомендации к применению

Осуществление торговли и товарообменных операций.

Смотрите также

Default ALL-Pribors Device Photo
48474-11
AT505, AT705 Анализаторы выхлопных газов
Фирма "ATAL spol. s.r.o.", ЧЕШСКАЯ РЕСПУБЛИКА
Для измерений объемной доли оксида и диоксида углерода, суммы углеводородов в пересчете на гексан, кислорода и оксидов азота в выхлопных газах автотранспортных средств с бензиновыми двигателями.
Default ALL-Pribors Device Photo
Для измерения объемной доли метана, оксида углерода, кислорода, диоксида азота, сероводорода, аммиака в воздухе и индикации температуры окружающего воздуха и выдачи световой и звуковой сигнализации при превышении установленных значений содержания эти...
Default ALL-Pribors Device Photo
Для измерения систолического и диастолического артериального давления крови и частоты пульса осциллометрическим методом.
Default ALL-Pribors Device Photo
Для измерения массовой концентрации растворенного кислорода в газированных напитках и воде.
Default ALL-Pribors Device Photo
48478-11
ta3000R Анализатор
Фирма "AMETEK Process Instruments", СОЕДИНЕННЫЕ ШТАТЫ
Для измерений объемной доли оксида углерода в этилене, пропилене и азоте.