50208-12: Система измерительная САУ пылепитателями, питателями сырого угля и шиберами воздуха мельниц котла ТП-87 № 10 Западно-Сибирской ТЭЦ - филиала ОАО "ЕВРАЗ ЗСМК" - Производители, поставщики и поверители

Система измерительная САУ пылепитателями, питателями сырого угля и шиберами воздуха мельниц котла ТП-87 № 10 Западно-Сибирской ТЭЦ - филиала ОАО "ЕВРАЗ ЗСМК"

ALL-Pribors default picture
Номер в ГРСИ РФ: 50208-12
Производитель / заявитель: ОАО "ЕВРАЗ Объединенный Западно-Сибирский металлургический комбинат" (ЕВРАЗ ЗСМК), г.Новокузнецк
Скачать
50208-12: Описание типа
2012-50208-12.pdf
Скачать 215.7 КБ
Свидетельство об утверждении типа СИ Открыть ...
Нет данных о поставщике
Поверка
Система измерительная САУ пылепитателями, питателями сырого угля и шиберами воздуха мельниц котла ТП-87 № 10 Западно-Сибирской ТЭЦ - филиала ОАО "ЕВРАЗ ЗСМК" поверка на: www.ktopoverit.ru
КтоПоверит
Онлайн-сервис метрологических услуг

Система измерительная САУ пылепитателями, питателями сырого угля и шиберами воздуха мельниц котла ТП-87 № 10 Западно-Сибирской ТЭЦ ╞ филиала ОАО ┌ЕВРАЗ ЗСМК√ (далее ИС) предназначена для измерений давления пара, разрежения воздуха, разности давлений пылевоздушной смеси, объемного расхода пылегазовой смеси, массового расхода пара, температуры пара и пылевоздушной смеси, автоматического непрерывного контроля технологических параметров, их визуализации, регистрации и хранения, диагностики состояния оборудования ИС, формирования сигналов предупредительной и аварийной сигнализации.

Информация по Госреестру

Основные данные
Номер по Госреестру 50208-12
Наименование Система измерительная САУ пылепитателями, питателями сырого угля и шиберами воздуха мельниц котла ТП-87 № 10 Западно-Сибирской ТЭЦ - филиала ОАО "ЕВРАЗ ЗСМК"
Характер производства Единичное
Идентификатор записи ФИФ ОЕИ 691b61a9-89b9-7466-cffb-c007b3bedc50
Испытания
Дата Модель Заводской номер
зав.№ 16198
Год регистрации 2012
Информация устарела
Общие данные
Год регистрации 2012
Страна-производитель  Россия 
Информация о сертификате
Срок действия сертификата ..
Номер сертификата 46926
Тип сертификата (C - серия/E - партия) E
Дата протокола Приказ 429 п. 30 от 20.06.2012
Производитель / Заявитель

ОАО "ЕВРАЗ Объединенный Западно-Сибирский металлургический комбинат" (ЕВРАЗ ЗСМК), РОССИЯ, г.Новокузнецк

 Россия 

Поверка

Методика поверки / информация о поверке МП 50208-12
Межповерочный интервал / Периодичность поверки
2 года
Зарегистрировано поверок
Актуальность информации 28.12.2025
Найти результаты поверки
Указан в паспорте или на самом приборе

Поверители

КтоПоверит
Онлайн-сервис метрологических услуг
Система измерительная САУ пылепитателями, питателями сырого угля и шиберами воздуха мельниц котла ТП-87 № 10 Западно-Сибирской ТЭЦ - филиала ОАО "ЕВРАЗ ЗСМК" поверка на: www.ktopoverit.ru
КтоПоверит
Онлайн-сервис метрологических услуг

Скачать

50208-12: Описание типа
2012-50208-12.pdf
Скачать 215.7 КБ
Свидетельство об утверждении типа СИ Открыть ...

Описание типа

Назначение

Система измерительная САУ пылепитателями, питателями сырого угля и шиберами воздуха мельниц котла ТП-87 № 10 Западно-Сибирской ТЭЦ - филиала ОАО «ЕВРАЗ ЗСМК» (далее ИС) предназначена для измерений давления пара, разрежения воздуха, разности давлений пылевоздушной смеси, объемного расхода пылегазовой смеси, массового расхода пара, температуры пара и пылевоздушной смеси, автоматического непрерывного контроля технологических параметров, их визуализации, регистрации и хранения, диагностики состояния оборудования ИС, формирования сигналов предупредительной и аварийной сигнализации.

Описание

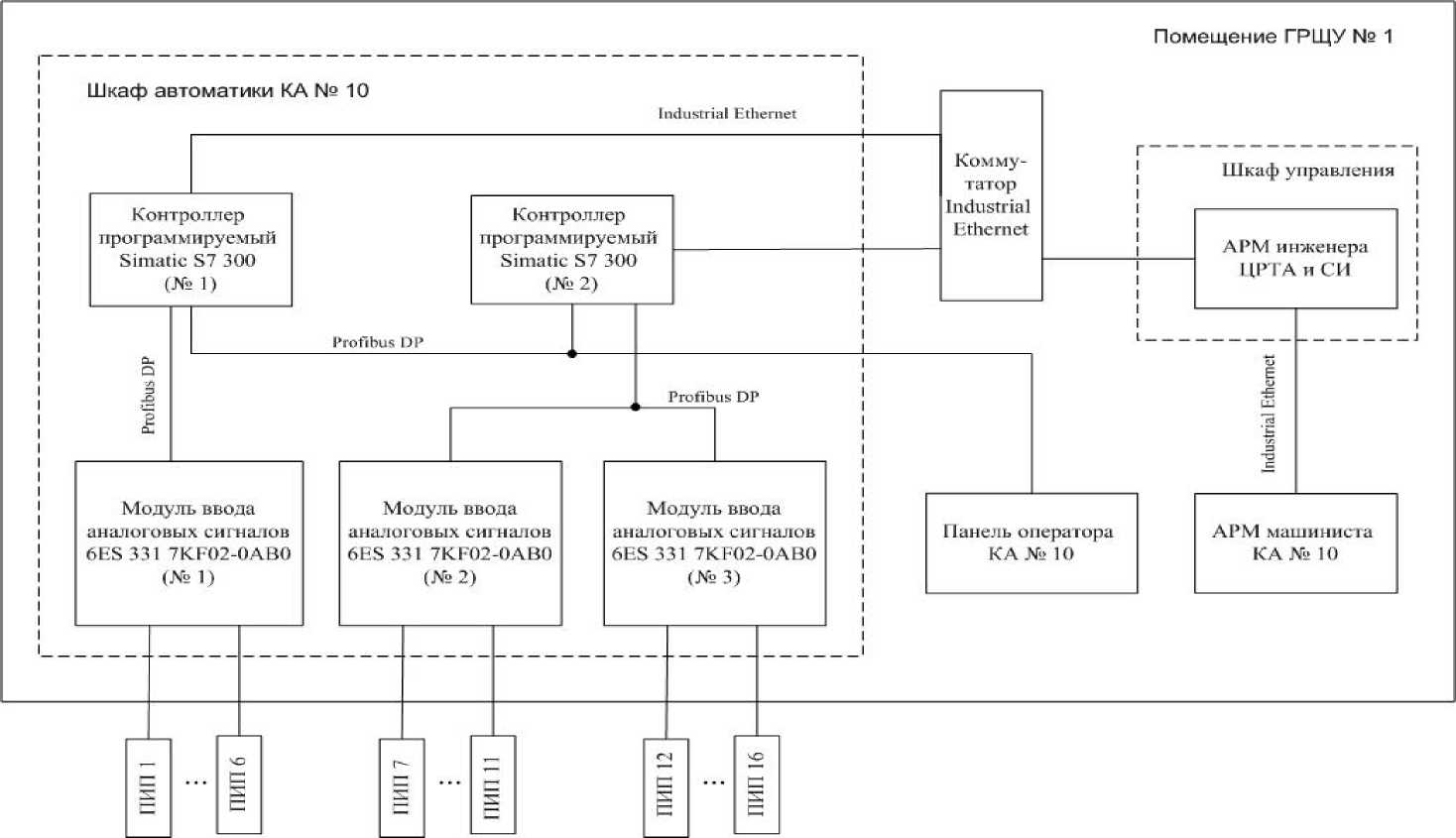
ИС является средством измерений единичного производства. Конструкция ИС представляет собой трехуровневую систему, построенную по иерархическому принципу. В состав ИС входят 16 измерительных каналов. Измерительные каналы (ИК) ИС состоят из следующих компонентов (по ГОСТ Р 8.596):

1) измерительные компоненты - первичные измерительные преобразователи, имеющие нормированные метрологические характеристики (нижний уровень ИС);

2) комплексные компоненты - контроллеры программируемые SIMATIC S7-300 (средний уровень ИС);

3) вычислительные компоненты - автоматизированное рабочее место (АРМ) инженера ЦРТА и СИ, АРМ машиниста котлоагрегата № 10 (КА № 10) и панель оператора КА № 10 (верхний уровень ИС);

4) связующие компоненты - технические устройства и средства связи, используемые для приема и передачи сигналов, несущих информацию об измеряемой величине от одного компонента ИС к другому.

Измерительные каналы ИС имеют простую структуру, которая позволяет реализовать прямой метод измерений путем последовательных измерительных преобразований. Структурная схема ИС приведена на рисунке 1.

Принцип действия ИС заключается в следующем. ИС функционирует в автоматическом режиме. Первичные измерительные преобразователи выполняют измерение физических величин и их преобразование в унифицированный токовый сигнал (от 4 до 20 мА) и термоЭДС. Контроллеры программируемые измеряют аналоговые унифицированные выходные сигналы измерительных преобразователей и сигналы с термопар, выполняют их аналого-цифровое преобразование, осуществляют преобразование цифровых кодов в значения технологических параметров, выполняют вычислительные и логические операции, проводят диагностику оборудования, формируют сигналы предупредительной и аварийной сигнализации. Контроллеры программируемые по цифровым каналам передают информацию на АРМ инженера ЦРТА и СИ и панель оператора КА № 10. АРМ инженера ЦРТА и СИ обеспечивает отображение параметров технологического процесса, журнала сообщений, сигналов сигнализации, отображение информации о состоянии оборудования ИС, настройку сигнализации, выполняет архивирование информации, ее хранение и предоставляет данные на АРМ машиниста КА № 10. АРМ машиниста

ПИП - первичный измерительный преобразователь; ГРЩУ № 1- главный распределительный щит управления; ЦРТА и СИ - цех ремонта тепловой автоматики и СИ

Рисунок 1 - Структурная схема ИС

КА № 10 обеспечивает отображение параметров технологического процесса, архивных данных, журнала сообщений, сигналов сигнализации, информации о состоянии оборудования ИС.

Панель оператора КА № 10 обеспечивает отображение параметров технологического процесса, журнала сообщений, сигналов сигнализации.

Связующими компонентами ИС являются кабели контрольные, провода термоэлектродные (компенсационные), оптоволоконный кабель PCF, кабель UTP 5 level и кабель Profibus FC.

ИС обеспечивает выполнение следующих основных функций:

1) измерение и отображение значений физических величин, характеризующих технологический процесс;

2) автоматическая диагностика состояния оборудования;

3) контроль протекания технологического процесса;

4) формирование журнала сообщений, отображение аварийных и предупредительных сообщений;

5) формирование и отображение сигналов предупредительной и аварийной сигнализации;

6) выполнение функции защиты оборудования, программного обеспечения и данных от несанкционированного доступа на физическом и программном уровне;

7) хранение архивов значений параметров технологического процесса.

Установка точного времени проводится пользователем с уровнем доступа «Администратор» с АРМ инженера ЦРТА и СИ.

Программное обеспечение

Структура и функции программного обеспечения (ПО) ИС:

- ПО АРМ инженера ЦРТА и СИ функционирует в SCADA системе SIMATIC WinCC и осуществляет прием данных из контроллеров, отображение измеренных значений параметров технологического процесса, журнала сообщений, архивных данных, сигналов сигнализации, отображение информации о состоянии оборудования ИС, хранение архивных данных и сообщений в СУБД MS SQL Server 2000, настройку сигнализации;

- ПО АРМ машиниста КА № 10 функционирует в SCADA системе SIMATIC WinCC и осуществляет отображение измеренных значений параметров технологического процесса, архивных данных, журнала сообщений, сигналов сигнализации, информации о состоянии оборудования ИС;

- ПО панели оператора КА № 10 функционирует в системе SIMATIC ProTool/Pro и осуществляет отображение измеренных значений параметров технологического процесса, журнала сообщений, сигналов сигнализации;

- встроенное ПО контроллеров программируемых SIMATIC S7-300 (метрологически значимая часть ПО ИС) функционирует в системе программирования STEP 7 и осуществляет автоматизированный сбор, обработку и передачу измерительной информации на АРМ инженера ЦРТА и СИ и панель оператора КА № 10, диагностику оборудования, обеспечивает работу предупредительной и аварийной сигнализации.

Идентификация метрологически значимой части ПО ИС (ПО контроллеров) выполняется с помощью программатора и USB/MPI адаптера по команде оператора, доступ защищен паролем. Идентификационные данные приведены в таблице 1.

Наименование программного обеспечения

Идентификационное наименование программного обеспечения

Номер версии (идентификационный номер) программного обеспечения

Цифровой идентификатор программного обеспечения (контрольная сумма исполняемого кода)

Алгоритм вычисления цифрового идентификатора программного обеспечения

Проект в системе программирования STEP 7 для контроллера программируемого № 1

Проект: ZapSiblO (станция Контроллер 1)

_

Для файла конфигурации проекта ZapSiblO (станция Контроллер 1): subblk.dbt 3AA4A5D3C725D74D7B 060F4097677F1E

MD5

Проект в системе программирования STEP 7 для контроллера программируемого № 2

Проект: ZapSiblO (станция Контроллер 2)

_

Для файла конфигурации проекта ZapSib1O (станция Контроллер 2): subblk.dbt EDB8489C63554546FB

DA7A87430C73AF

MD5

Метрологические характеристики ИС нормированы с учетом ПО контроллеров.

Защита программного обеспечения контроллеров программируемых SIMATIC S7-300 и программного обеспечения панели оператора КА № 10 соответствует уровню «А» по классификации МИ 3286-2010. Для защиты программного обеспечения АРМ машиниста КА № 10 и АРМ инженера ЦРТА и СИ от непреднамеренных и преднамеренных изменений реализован алгоритм авторизации пользователей. Защита ПО АРМ машиниста КА № 10 и АРМ инженера ЦРТА и СИ соответствует уровню «С» по классификации МИ 3286-2010.

Технические характеристики

Метрологические характеристики измерительных каналов и характеристики погрешности измерительных компонентов ИС приведены в таблице 2.

Параметры электрической сети питания:

от 198 до 242;

от 49,6 до 50,4;

от 21,6 до 26,4.

- напряжение питания переменного тока, В

- частота, Гц

- напряжение питания постоянного тока, В

Параметры выходных сигналов с первичных измерительных преобразователей:

1) непрерывные сигналы (по ГОСТ 26.011-80)

- электрический ток, мА                                 от 4 до 20;

2) сигналы с термопар с номинальными статическими характеристиками преобразования по ГОСТ Р 8.585-2001.

Параметры входных аналоговых модулей ввода контроллеров программируемых: - модуль 6ES7 3317KF02 0AB0

(сигнал с термопар с НСХ по ГОСТ Р 8.585-2001)           от 0 до 47,34 мВ;

- модуль 6ES7 3317KF02 0AB0 (электрический ток)        от 4 до 20 мА.

№ ИК

Наименование ИК ИС

Диапазон измерений физической величины, ед. измерений

Параметры нормального (технологического) режима, ед. измерений

СИ, входящие в состав ИК ИС

Границы допускаемой основной погрешности ИК

Границы допускаемой погрешности ИК в рабочих условиях

Наименование, тип СИ

Пределы допускаемой основной погрешности компонента ИК

Пределы допускаемой дополнительной погрешности компонента ИК

Номер в Гос. реестре СИ

1

Давление пара в магистрали

от 0 до 160 кгс/см2

от 125 до 142 кгс/см2

Датчик давления «Метран 100-ДИ», модель: 1170

Y=±0,5 %

На каждые 10 0С

P

Yt=±(0,1+0,05 PmM %

P

в

22235-01

Y ±0,8 %

у=±1,0 %

Модуль ввода аналоговых сигналов SM 331

мод.: 6ES7 331 7KF02- 0AB0 контроллера программируемого Simatic S7-300 (далее-Модуль

6ES7 331-7KF02-0AB0)

Y=±0,5 %

Yt= ±(0,005/К) %

15772-02

2

Давление пара в барабане котла

от 0 до 250 кгс/см2

от 145 до 165 кгс/см2

Датчик давления «Метран 100-ДИ», модель: 1170

Y=±0,5 %

На каждые 10 0С

P

Yt=±(0,1+0,05 PmM %

P

в

22235-01

Y ±0,8 %

Y=±0,9 %

Модуль

6ES7 331-7KF02-0AB0

Y=±0,5 %

^=±(0,005/К) %

15772-02

3

Давление пара у входного торца сужающего устройства (левый паропровод)

от 0 до 160 кгс/см2

от 125 до 142 кгс/см2

Датчик давления «Метран 100-ДИ», модель: 1170

Y=±0,5 %

На каждые 10 0С

P

Yt=±(0,1+0,05 PmM %

P

в

22235-01

Y ±0,8 %

Y=±1,0 %

Модуль

6ES7 331-7KF02-0AB0

Y=±0,5 %

^=±(0,005/К) %

15772-02

4

Расход пара на выходе из котла (левый паропровод)

от 0 до 420 т/ч

от 280 до 420 т/ч

Датчик давления «Метран 100-ДД», модель: 1440

Y=±0,5 %

На каждые 10 0С

P

Yt=±(0,1+0,05 PmM %

P

в

22235-01

y=±2,6 %

Y=±2,6 %

Модуль

6ES7 331-7KF02-0AB0

Y=±0,5 %

^=±(0,005/К) %

15772-02

№ ИК

Наименование ИК ИС

Диапазон измерений физической величины, ед. измерений

Параметры нормального (технологического) режима, ед. измерений

СИ, входящие в состав ИК ИС

Границы допускаемой основной погрешности ИК

Границы допускаемой погрешности ИК в рабочих условиях

Наименование, тип СИ

Пределы допускаемой основной погрешности компонента ИК

Пределы допускаемой дополнительной погрешности компонента ИК

Номер в Гос. реестре СИ

5

Температура пара на выходе котла за сужающим устройством (левый паропровод)

от 0 до 600 0С

от 530 до 550 0С

Преобразователь термоэлектрический ТХК-0193

А=±4,8 0С

_

14215-96

А=±8 0С

А=±8 0С

Модуль

6ES7 331-7KF02-0AB0

У=±0,5 %

у=±(0,005/К) %

15772-02

6

Давление пара у входного торца сужающего устройства (правый паропровод)

от 0 до 160 кгс/см2

от 125 до 142 кгс/см

Датчик давления «Метран 100-ДИ», модель: 1170

У=±0,5 %

На каждые 10 0С P уt=±(0,1+0,05 Pma^) % P.

22235-01

У=±0,8 %

У=±1,0 %

Модуль

6ES7 331-7KF02-0AB0

У=±0,5 %

У=±(0,005/К) %

15772-02

7

Расход пара на выходе из котла (правый паропровод)

от 0 до 420 т/ч

от 280 до 420 т/ч

Датчик давления «Метран 100-ДД», модель: 1440

У=±0,5 %

На каждые 10 0С P

Yt=±(0,1+0,05 Pma^) %

P.

22235-01

У=±2,6 %

У=±2,6 %

Модуль

6ES7 331-7KF02-0AB0

У=±0,5 %

У=±(0,005/К) %

15772-02

8

Температура пара на выходе котла за сужающим устройством (правый паропровод)

от 0 до 600 0С

от 530 до 550 0С

Преобразователь термоэлектрический ТХК-0193

А=±4,8 0С

_

14215-96

А=±8 0С

А=±8 0С

Модуль

6ES7 331-7KF02-0AB0

У=±0,5 %

У=±(0,005/К) %

15772-02

№ ИК

Наименование ИК ИС

Диапазон измерений физической величины, ед. измерений

Параметры нормального (технологического) режима, ед. измерений

СИ, входящие в состав ИК ИС

Границы допускаемой основной погрешности ИК

Границы допускаемой погрешности ИК в рабочих условиях

Наименование, тип СИ

Пределы допускаемой основной погрешности компонента ИК

Пределы допускаемой дополнительной погрешности компонента ИК

Номер в Гос. реестре СИ

9

Разрежение перед мельницей А

от минус 160 до 0 кгс/м2

от минус 80

до минус 20 кгс/м2

Датчик давления «Метран 100-ДВ», модель: 1211

Y=±0,5 %

На каждые 10 0С P

Yt=±(0,1+0,05 Pma^) %

P.

22235-01

Y ±0,8 %

Y ±0,9 %

Модуль

6ES7 331-7KF02-0AB0

Y=±0,5 %

yt=±(0,005/R) %

15772-02

10

Разность давлений пылевоздушной смеси на мельнице А

от 0 до 400 кгс/м2

от 180 до 280 кгс/м

Датчик давления «Метран 100-ДД», модель: 1420

Y=±0,5 %

На каждые 10 0С P

Yt=±(0,1+0,05 Pma^) %

P.

22235-01

Y ±0,8 %

Y ±0,9 %

Модуль

6ES7 331-7KF02-0AB0

Y=±0,5 %

^=±(0,005/К) %

15772-02

11

Расход пылегазовой смеси на мельничный вентилятор

МВ-А

от 0 до 108000 м3/ч

70000 м3/ч

Датчик давления «Метран 100-ДД», модель: 1420

Y=±0,5 %

На каждые 10 0С P Yt=±(0,1+0,05 P " :x ) %

P

в

22235-01

y=±2,6 %

y=±2,6 %

Модуль

6ES7 331-7KF02-0AB0

Y=±0,5 %

^=±(0,005/К) %

15772-02

12

Температура пылевоздушной смеси за мельницей А

от 0 до 150 0С

от 65 до 75 0С

Термопреобразователь с унифицированным выходным сигналом

ТСМУ 9313

A=±(0,3+ +0,005 •t) 0С

_

15762-02

A=±(1,1+ +0,0051) 0С

A=±(1,1+ +0,0051) 0С

Модуль

6ES7 331-7KF02-0AB0

Y=±0,5 %

^=±(0,005/К) %

15772-02

№ ИК

Наименование ИК ИС

Диапазон измерений физической величины, ед. измерений

Параметры нормального (технологического) режима, ед. измерений

СИ, входящие в состав ИК ИС

Границы допускаемой основной погрешности ИК

Границы допускаемой погрешности ИК в рабочих условиях

Наименование, тип СИ

Пределы допускаемой основной погрешности компонента ИК

Пределы допускаемой дополнительной погрешности компонента ИК

Номер в Гос. реестре СИ

13

Разрежение перед мельницей Б

от минус 160 до 0 кгс/м2

от минус 80

до минус 20 кгс/м

Датчик давления «Метран 100-ДВ», модель: 1211

Y=±0,5 %

На каждые 10 0С

P

Yt=±(0,1+0,05 P™x-) %

P

в

22235-01

Y=±0,8 %

Y=±0,9 %

Модуль

6ES7 331-7KF02-0AB0

Y=±0,5 %

^=±(0,005/К) %

15772-02

14

Разность давлений пылевоздушной смеси на мельнице Б

от 0 до 400 кгс/м2

от 180 до 280 кгс/м2

Датчик давления «Метран 100-ДД», модель: 1420

Y=±0,5 %

На каждые 10 0С

P

Yt=±(0,1+0,05 P™x-) %

P

в

22235-01

Y=±0,8 %

Y=±0,9 %

Модуль

6ES7 331-7KF02-0AB0

Y=±0,5 %

Yt= ±(0,005/К) %

15772-02

15

Расход пылегазовой смеси на мельничный вентилятор МВ-Б

от 0 до 108000 м3/ч

70000 м3/ч

Датчик давления «Метран 100-ДД», модель: 1420

Y=±0,5 %

На каждые 10 0С

P

Yt=±(0,1+0,05 P™x-) %

P

в

22235-01

Y=±2,6 %

Y=±2,6 %

Модуль

6ES7 331-7KF02-0AB0

Y=±0,5 %

^=±(0,005/К) %

15772-02

16

Температура пылевоздушной смеси за мельницей Б

от 0 до 150 0С

от 65 до75 0С

Термопреобразователь с унифицированным выходным сигналом

ТСМУ 9313

A= ±(0,3+ +0,0051) 0С

_

15762-02

A=±(1,1+ +0,0051) 0С

A=±(1,1+ +0,0051) 0С

Модуль

6ES7 331-7KF02-0AB0

Y=±0,5 %

^=±(0,005/К) %

15772-02

Примечания

1) В таблице приняты следующие обозначения: А - абсолютная погрешность; y — приведенная погрешность, yt - пределы приведенной дополнительной погрешности от влияния температуры окружающего воздуха; Pmax - максимальный верхний предел измерений; Рв - верхний предел измерений; t - измеренная температура, 0С.

2) Допускается применение первичных измерительных преобразователей аналогичных типов, прошедших испытания в целях утверждения типа с аналогичными техническими и метрологическими характеристиками

Коммуникационные каналы и интерфейсы:

- информационный обмен между измерительными и комплексными компонентами ИС осуществляется по кабелям контрольным с медными жилами с ПВХ изоляцией и проводам термоэлектродным (компенсационным);

- информационный обмен между компонентами среднего и верхнего уровней ИС осуществляется посредством промышленных информационных сетей: Profibus DP для связи модулей ввода аналоговых сигналов с центральными управляющими устройствами контроллеров и для связи контроллеров программируемых SIMATIC S7-300 с панелью оператора КА № 10; Industrial Ethernet для связи контроллеров программируемых SIMATIC S7-300 с АРМ инженера ЦРТА и СИ, связи между контроллерами SIMATIC S7-300, и связи АРМ инженера ЦРТА и СИ с АРМ машиниста КА № 10.

Климатические условия применения:

- для измерительных и связующих компонентов ИС: а) температура окружающей среды, °С:

1) преобразователи давления измерительные

2) датчики температуры:

от 10 до 35;

- погружаемая часть

при измеряемой температуре;

- контактные головки

б) относительная влажность при 25 °С, %

в) атмосферное давление, кПа

от 10 до 35;

от 40 до 98;

от 84 до 106,7.

- для комплексных компонентов ИС:

а) температура окружающего воздуха, °С

б) относительная влажность при 25 °С, % в) атмосферное давление, кПа

- для АРМ и панели опрератора КА № 10:

от 10 до 35;

от 40 до 80;

от 84 до 106,7.

а) температура окружающего воздуха, °С б) относительная влажность при 25 °С, %

в) атмосферное давление, кПа

от 10 до 35;

от 40 до 80;

от 84 до 106,7.

Средний срок службы ИС, лет, не менее

8.

Знак утверждения типа

Знак утверждения типа наносится типографским способом на титульный лист документа «Система измерительная САУ пылепитателями, питателями сырого угля и шиберами воздуха мельниц котла ТП-87 № 10 Западно-Сибирской ТЭЦ - филиала ОАО «ЕВРАЗ ЗСМК». Паспорт.

Комплектность

В комплект ИС входят технические средства, специализированные программные средства, а также документация, представленные в таблицах 2 - 4, соответственно.

Измерительные и комплексные компоненты ИС представлены в таблице 2, вычислительные и вспомогательные компоненты, программное обеспечение (включая программное обеспечение контроллера программируемого) - в таблице 3, техническая документация - в таблице 4.

Наименование

ПО

Количество, шт.

1

В состав АРМ инженера ЦРТА и СИ входят: - компьютер в промышленном исполнении, минимальные требования: процессор Pentium IV; 3.0 ГГц; 512 Мбайт ОЗУ;

128 Гбайт HDD; FDD; CDROM; Ethernet;

Монитор 19” (1 шт.); клавиатура (1 шт.); мышь (1 шт.)

Операционная система: Microsoft Windows 2000 Server.

Прикладное ПО:

СУБД Microsoft SQL Server 2000;

SCADA система -

SIMATIC WinCC v.6.0;

проект: ZapSib10

1

2

В состав АРМ машиниста КА № 10 входят: - компьютер в промышленном исполнении, минимальные требования: процессор Pentium IV; 3.0 ГГц; 512 Мбайт ОЗУ; 128 Гбайт HDD; FDD; CDROM; Ethernet; Монитор 19” (2 шт.); клавиатура (1 шт.); мышь (1 шт.)

Операционная система: Microsoft Windows 2000 Server.

Прикладное ПО:

SCADA система - SIMATIC

WinCC v.7.0, Siemens AG;

проект: ZapSib10

1

3

Панель оператора КА № 10

SIMATIC ОР-170В

Операционная система: SIMATIC ProTool/Pro v 6.0 проект: PTProRun

1

4

Контроллер программируемый SIMATIC S7-300 (контроллер № 1)

Система программирования STEP7; проект: ZapSib10 (станция

Контроллер 1)

1

5

Контроллер программируемый SIMATIC S7-300 (контроллер № 2)

Система программирования STEP7; проект: ZapSib10 (станция

Контроллер 2)

1

6

Программатор, минимальные требования: ноутбук 15"; Pentium IV; 3.0 ГГц; 512 Мбайт ОЗУ; 80 Гбайт HDD; DVD-R/RW; FDD;

Ethernet; USB/MPI адаптер

Операционная система: Microsoft Windows ХР Pro.

Прикладное ПО: Пакет PCS7 v.6.0; система программирования STEP 7

1

7

Источник бесперебойного питания APC Black Smart-UPS 3000 VA/2700 W

_

2

8

Стабилизированный блок питания модульного типа SITOP POWER 120/230-500 В АС (ивх), 24 В/10 A DC (Щ^

_

2

Таблица 4

Наименование

Количество, шт.

1

«ИС АСР котла № 10» Западно-Сибирской ТЭЦ - филиала ОАО «ЕВРАЗ ЗСМК». Инструкция по работе с АРМ

1

2

«Система измерительная САУ пылепитателями, питателями сырого угля и шиберами воздуха мельниц котла ТП-87 № 10 Западно-Сибирской ТЭЦ -филиала ОАО «ЕВРАЗ ЗСМК». Паспорт

1

3

«Система измерительная САУ пылепитателями, питателями сырого угля и шиберами воздуха мельниц котла ТП-87 № 10 Западно-Сибирской ТЭЦ -филиала ОАО «ЕВРАЗ ЗСМК». Методика поверки

1

Поверка

осуществляется по документу МП 50208-12 «Система измерительная САУ пылепитателями, питателями сырого угля и шиберами воздуха мельниц котла ТП-87 № 10 Западно-Сибирской ТЭЦ - филиала ОАО «ЕВРАЗ ЗСМК». Методика поверки», утвержденному руководителем ГЦИ СИ ФБУ «Томский ЦСМ» «26» декабря 2011 г.

Основные средства поверки:

- средства измерений в соответствии с нормативной документацией по поверке первичных измерительных преобразователей;

- калибратор многофункциональный MC5-R. Основные метрологические характеристики калибратора приведены в таблице 5.

Таблица 5

Наименование и тип средства поверки

Основные метрологические характеристики

Диапазон измерений, номинальное значение

Погрешность, класс точности, цена деления

Калибратор многофункциональный MC5-R

Воспроизведение сигналов силы постоянного тока в диапазоне от 0 до 20 мА (при R^r-f, = 800 Ом)

Д = ±(0,2Д0-Чоказ. +1) мкА

Воспроизведение сигналов термопар типа ХА(К) по ГОСТ Р 8.585-2001 в диапазоне температуры:

- от минус 200 до 0 °С;

- от 0 до 1000 °С;

- от 1000 до 1372 °С

Д = ±(0,1 + 1Д0-3^показ.) °С;

Д = ±(0,1 + 0,2Д0-3^ Тпоказ.) °С;

Д = ±(0,3М0-3 Тпоказ.) °С

Воспроизведение сигналов термопреобразователей сопротивления 100М в диапазоне температуры:

- от минус 60 до 200 °С

Д = ±(0,1 + 0,4М0-3 Тпоказ.) °С

Примечания

1) В таблице приняты следующие обозначения: Д - абсолютная погрешность;

6 - относительная погрешность; 1показ., Тпоказ. — показания тока и температуры соответственно.

2) Разрешающая способность для термопар 0,01 °С, RBX > 10 МОм.

3) Разрешающая способность для термопреобразователей сопротивления 0,01 °С

Сведения о методах измерений

« ИС АСР котла № 10» Западно-Сибирской ТЭЦ - филиала ОАО «ЕВРАЗ ЗСМК». Инструкция по работе с АРМ.

Нормативные документы

1 ГОСТ Р 8.596-2002 ГСИ Метрологическое обеспечение измерительных систем. Основные положения.

2 ГОСТ Р 51841-2001 Программируемые контроллеры. Общие технические требования и методы испытаний.

Рекомендации к применению

Осуществление производственного контроля за соблюдением установленных законодательством Российской Федерации требований промышленной безопасности к эксплуатации опасного производственного объекта.

Смотрите также

Default ALL-Pribors Device Photo
Автоматизированная информационно-измерительная система коммерческого учета электрической энергии и мощности ООО ┌СерФи√ (далее ╞ АИИС КУЭ) предназначена для измерения активной и реактивной электрической энергии и мощности, потребленной за установленн...
50210-12
КМКС Контроллеры механизированного куста скважин
Акционерное общество "Промышленно-инновационная компания "ПРОГРЕСС" (АО "ПИК ПРОГРЕСС"), г. Москва
Контроллеры механизированного куста скважин КМКС предназначены для измерений силы постоянного тока, числа импульсов, контроля параметров телесигнализации, регистрации состояний, выполнения команд телеуправления и передачи данных на верхний уровень с...
Комплексы измерительно-диагностические динамических процессов RO 2000 (далее комплексы) предназначены для измерения и спектрального анализа характеристик вибрационных процессов (виброускорения, виброскорости, виброперемещения) машин и механизмов.
50212-12
4263B, 4263B-001, 4263B-002 Измерители LCR
Фирма "Keysight Technologies Microwave Products (M) Sdn. Bhd.", Малайзия; Фирма "Agilent Technologies", Малайзия