50310-12: Система измерительная САУ пылепитателями, питателями сырого угля и шиберами воздуха мельниц котла ТП-87 № 9 Западно-Сибирской ТЭЦ - филиала ОАО "ЕВРАЗ ЗСМК" - Производители, поставщики и поверители

Система измерительная САУ пылепитателями, питателями сырого угля и шиберами воздуха мельниц котла ТП-87 № 9 Западно-Сибирской ТЭЦ - филиала ОАО "ЕВРАЗ ЗСМК"

ALL-Pribors default picture
Номер в ГРСИ РФ: 50310-12
Производитель / заявитель: ОАО "ЕВРАЗ Объединенный Западно-Сибирский металлургический комбинат" (ЕВРАЗ ЗСМК), г.Новокузнецк
Скачать
50310-12: Описание типа
2012-50310-12.pdf
Скачать 192.8 КБ
Свидетельство об утверждении типа СИ Открыть ...
Нет данных о поставщике
Поверка
Система измерительная САУ пылепитателями, питателями сырого угля и шиберами воздуха мельниц котла ТП-87 № 9 Западно-Сибирской ТЭЦ - филиала ОАО "ЕВРАЗ ЗСМК" поверка на: www.ktopoverit.ru
КтоПоверит
Онлайн-сервис метрологических услуг

Система измерительная САУ пылепитателями, питателями сырого угля и шиберами воздуха мельниц котла ТП-87 № 9 Западно-Сибирской ТЭЦ ╞ филиала ОАО ┌ЕВРАЗ ЗСМК√ (далее ╞ ИС) предназначена для измерений давления пара, разрежения воздуха, разности давлений пылевоздушной смеси, объемного расхода пылегазовой смеси, массового расхода пара, температуры пара и пылевоздушной смеси, автоматического непрерывного контроля технологических параметров, их визуализации, регистрации и хранения, диагностики состояния оборудования ИС, формирования сигналов предупредительной и аварийной сигнализации.

Информация по Госреестру

Основные данные
Номер по Госреестру 50310-12
Наименование Система измерительная САУ пылепитателями, питателями сырого угля и шиберами воздуха мельниц котла ТП-87 № 9 Западно-Сибирской ТЭЦ - филиала ОАО "ЕВРАЗ ЗСМК"
Характер производства Единичное
Идентификатор записи ФИФ ОЕИ 7b5e8fcc-dea1-4f03-a7a3-8746c2d8e788
Испытания
Дата Модель Заводской номер
зав.№ 16192
Год регистрации 2012
Информация устарела
Общие данные
Год регистрации 2012
Страна-производитель  Россия 
Информация о сертификате
Срок действия сертификата ..
Номер сертификата 47058
Тип сертификата (C - серия/E - партия) E
Дата протокола Приказ 456 п. 36 от 29.06.2012
Производитель / Заявитель

ОАО "ЕВРАЗ Объединенный Западно-Сибирский металлургический комбинат" (ЕВРАЗ ЗСМК), РОССИЯ, г.Новокузнецк

 Россия 

Поверка

Методика поверки / информация о поверке МП 50310-12
Межповерочный интервал / Периодичность поверки
2 года
Зарегистрировано поверок
Актуальность информации 28.12.2025
Найти результаты поверки
Указан в паспорте или на самом приборе

Поверители

КтоПоверит
Онлайн-сервис метрологических услуг
Система измерительная САУ пылепитателями, питателями сырого угля и шиберами воздуха мельниц котла ТП-87 № 9 Западно-Сибирской ТЭЦ - филиала ОАО "ЕВРАЗ ЗСМК" поверка на: www.ktopoverit.ru
КтоПоверит
Онлайн-сервис метрологических услуг

Скачать

50310-12: Описание типа
2012-50310-12.pdf
Скачать 192.8 КБ
Свидетельство об утверждении типа СИ Открыть ...

Описание типа

Назначение

Система измерительная САУ пылепитателями, питателями сырого угля и шиберами воздуха мельниц котла ТП-87 № 9 Западно-Сибирской ТЭЦ - филиала ОАО «ЕВРАЗ ЗСМК» (далее - ИС) предназначена для измерений давления пара, разрежения воздуха, разности давлений пылевоздушной смеси, объемного расхода пылегазовой смеси, массового расхода пара, температуры пара и пылевоздушной смеси, автоматического непрерывного контроля технологических параметров, их визуализации, регистрации и хранения, диагностики состояния оборудования ИС, формирования сигналов предупредительной и аварийной сигнализации.

Описание

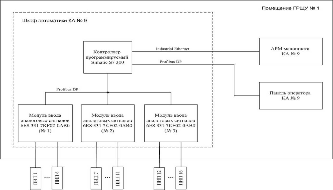
ИС является средством измерений единичного производства. Конструкция ИС представляет собой трехуровневую систему, построенную по иерархическому принципу. В состав ИС входят 16 измерительных каналов. Измерительные каналы (ИК) ИС состоят из следующих компонентов (по ГОСТ Р 8.596):

1) измерительные компоненты - первичные измерительные преобразователи, имеющие нормированные метрологические характеристики (нижний уровень ИС);

2) комплексный компонент - контроллер программируемый SIMATIC S7-300 (средний уровень ИС);

3) вычислительные компоненты - автоматизированное рабочее место (АРМ) машиниста котлоагрегата № 9 (КА № 9) и панель оператора КА № 9 (верхний уровень ИС);

4) связующие компоненты - технические устройства и средства связи, используемые для приема и передачи сигналов, несущих информацию об измеряемой величине от одного компонента ИС к другому.

Измерительные каналы ИС имеют простую структуру, которая позволяет реализовать прямой метод измерений путем последовательных измерительных преобразований. Структурная схема ИС приведена на рисунке 1.

Принцип действия ИС заключается в следующем. ИС функционирует в автоматическом режиме. Первичные измерительные преобразователи выполняют измерение физических величин и их преобразование в унифицированный токовый сигнал (от 4 до 20 мА), термоЭДС, электрическое сопротивление. Контроллер программируемый измеряет аналоговые унифицированные выходные сигналы измерительных преобразователей, сигналы с термопреобразователей сопротивления и термопар, выполняет их аналого-цифровое преобразование, осуществляет преобразование цифровых кодов в значения технологических параметров, выполняет вычислительные и логические операции, проводит диагностику оборудования, формирует сигналы предупредительной, аварийной сигнализации и передает информацию на АРМ машиниста КА № 9 и панель оператора КА № 9. АРМ машиниста КА № 9 обеспечивает отображение параметров технологического процесса, архивных данных, журнала сообщений, сигналов сигнализации, отображение информации о состоянии оборудования ИС, настройку сигнализации. Панель оператора КА № 9 обеспечивает отображение параметров технологического процесса, журнала сообщений, сигналов сигнализации.

ПИП - первичный измерительный преобразователь; ГРЩУ № 1 - главный распределительный щит управления № 1

Рисунок 1 - Структурная схема ИС

Связующими компонентами ИС являются кабели контрольные, провода термоэлектродные (компенсационные), кабель UTP 5 level и кабель Profibus FC.

ИС обеспечивает выполнение следующих основных функций:

1) измерение и отображение значений физических величин, характеризующих технологический процесс;

2) автоматическая диагностика состояния оборудования;

3) контроль протекания технологического процесса;

4) формирование журнала сообщений, отображение аварийных и предупредительных сообщений;

5) формирование и отображение сигналов предупредительной и аварийной сигнализации;

6) выполнение функции защиты оборудования, программного обеспечения и данных от несанкционированного доступа на физическом и программном уровне;

7) хранение архивов значений параметров технологического процесса.

Установка точного времени проводится пользователем с уровнем доступа «Администратор» с АРМ машиниста КА № 9.

Программное обеспечение

Структура и функции программного обеспечения ИС:

- программное обеспечение АРМ машиниста КА № 9 функционирует в SCADA системе SIMATIC WinCC и осуществляет отображение измеренных значений параметров технологического процесса, архивных данных, журнала сообщений, сигналов сигнализации, отображение информации о состоянии оборудования ИС, настройку сигнализации;

- программное обеспечение панели оператора КА № 9 функционирует в системе SIMATIC ProTool/Pro и осуществляет отображение измеренных значений параметров технологического процесса, журнала сообщений, сигналов сигнализации;

- встроенное программное обеспечение контроллера программируемого SIMATIC S7-300 (метрологически значимая часть программного обеспечения ИС) функционирует в системе программирования STEP 7 и осуществляет автоматизированный сбор, обработку и передачу измерительной информации на АРМ машиниста КА № 9 и панель оператора КА № 9, диагностику оборудования, обеспечение работы предупредительной и аварийной сигнализации.

Идентификация метрологически значимой части программного обеспечения ИС (программное обеспечение контроллера) выполняется с помощью программатора и USB/MPI адаптера по команде оператора, доступ защищен паролем. Идентификационные данные приведены в таблице 1.

Таблица 1

Наименование программного обеспечения

Идентификационное наименование программного обеспечения

Номер версии (идентификационный номер) программного обеспечения

Цифровой идентификатор программного обеспечения (контрольная сумма исполняемого кода)

Алгоритм вычисления цифрового идентификатора программного обеспечения

Проект в системе программирования STEP 7

Проект: КА9

_

Для файла конфигурации проекта КА9: subblk.dbt 798743A10D508C68333BB

5D5ECD48C1B

MD5

Метрологические характеристики ИС нормированы с учетом ПО контроллера.

Защита программного обеспечения контроллера программируемого SIMATIC S7-300 и программного обеспечения панели оператора КА № 9 соответствует уровню «А» по классификации МИ 3286-2010. Для защиты программного обеспечения АРМ машиниста КА № 9 от непреднамеренных и преднамеренных изменений реализован алгоритм авторизации пользователей. Защита программного обеспечения АРМ машиниста КА № 9 соответствует уровню «С» по классификации МИ 3286-2010.

Технические характеристики

Метрологические характеристики ИК и характеристики погрешности измерительных компонентов ИС приведены в таблице 2.

Параметры электрической сети питания:

от 198 до 242;

от 49,6 до 50,4;

от 21,6 до 26,4.

- напряжение питания переменного тока, В

- частота, Гц

- напряжение питания постоянного тока, В

Параметры выходных сигналов с первичных измерительных преобразователей:

1) непрерывные сигналы (по ГОСТ 26.011-80):

- электрический ток, мА                                от 4 до 20.

2) сигналы с термопреобразователей сопротивления (ТС) с номинальными статическими характеристиками преобразования по ГОСТ 6651-2009;

3) сигналы с термопар с номинальными статическими характеристиками преобразования по ГОСТ Р 8.585-2001.

Параметры входных аналоговых модулей ввода контроллера программируемого:

- модуль 6ES7 3317KF02 0AB0 (сигнал с ТСМ)          от 50 до 82 Ом;

- модуль 6ES7 3317KF02 0AB0

(сигнал с термопар с НСХ по ГОСТ Р 8.585-2001)          от 0 до 47,34 мВ;

- модуль 6ES7 3317KF02 0AB0 (электрический ток)       от 4 до 20 мА.

Коммуникационные каналы и интерфейсы:

- информационный обмен между измерительными и комплексными компонентами ИС осуществляется по кабелям контрольным с медными жилами с ПВХ изоляцией и проводам термоэлектродным (компенсационным);

- информационный обмен между компонентами среднего и верхнего уровней ИС осуществляется посредством промышленных информационных сетей: Profibus DP для связи модулей ввода аналоговых сигналов с центральным управляющим устройством контроллера программируемого SIMATIC S7-300 и для связи контроллера программируемого SIMATIC S7-300 с панелью оператора КА № 9; Industrial Ethernet для связи контроллера программируемого SIMATIC S7-300 с АРМ машиниста КА № 9 .

Климатические условия применения:

- для измерительных и связующих компонентов ИС:

а) температура окружающей среды, °С:

1) преобразователи давления измерительные          от 10 до 35;

2) датчики температуры:

- погружаемая часть                       при измеряемой температуре;

- контактные головки                            от 10 до 35;

№ ИК

Наименование ИК ИС

Диапазон измерений физической величины, ед. измерений

Параметры нормального (технологического) режима, ед. измерений

СИ, входящие в состав ИК ИС

Границы допускаемой основной погрешности ИК

Границы допускаемой погрешности ИК в рабочих условиях

Наименование, тип СИ

Пределы допускаемой основной погрешности компонента ИК

Пределы допускаемой дополнительной погрешности компонента ИК

Номер в Гос. реестре СИ

1

Давление пара в магистрали

от 0 до 160 кгс/см2

от 125 до 142 кгс/см2

Датчик давления «Метран 100-ДИ», модель: 1170

Y=±0,5 %

На каждые 10 0С P

Yt=±(0,1+0,05 Pmx.) % P

в

22235-01

Y=±0,8 %

Y=±1,0 %

Модуль ввода аналоговых сигналов SM 331 мод.: 6ES7 331-7KF02-0AB0 контроллера программируемого Simatic S7-300 (далее-модуль

6ES7 331-7KF02-0AB0)

Y=±0,5 %

Y t=±(0,005/К) %

15772-02

2

Давление пара в барабане котла

от 0 до 250 кгс/см2

от 145 до 165 кгс/см2

Датчик давления «Метран 100-ДИ», модель: 1171

Y=±0,5 %

На каждые 10 0С P

Yt=±(0,1+0,05 Pmx.) % P

в

22235-01

Y=±0,8 %

Y=±0,9 %

Модуль

6ES7 331-7KF02-0AB0

Y=±0,5 %

Y t=±(0,005/К) %

15772-02

3

Давление пара у входного торца сужающего устройства (левый паропровод)

от 0 до 160 кгс/см2

от 125 до 142 кгс/см2

Датчик давления «Метран 100-ДИ», модель: 1171

Y=±0,5 %

На каждые 10 0С P Y t=±(0,05+0,05 Pm*) %

P.

22235-01

Y=±0,8 %

Y=±1,0 %

Модуль

6ES7 331-7KF02-0AB0

Y=±0,5 %

Y t=±(0,005/К) %

15772-02

№ ИК

Наименование ИК ИС

Диапазон измерений физической величины, ед. измерений

Параметры нормального (технологического) режима, ед. измерений

СИ, входящие в состав ИК ИС

Границы допускаемой основной погрешности ИК

Границы допускаемой погрешности ИК в рабочих условиях

Наименование, тип СИ

Пределы допускаемой основной погрешности компонента ИК

Пределы допускаемой дополнительной погрешности компонента ИК

Номер в Гос. реестре СИ

4

Расход пара на выходе из котла (левый паропровод)

от 0 до 420 т/ч

от 280 до 420 т/ч

Датчик давления «Метран 100-ДД», модель: 1440

Y=±0,5 %

На каждые 10 0С P Yt=±(0,1+0,05 P ■■= ) %

P.

22235-01

Y=±2,6 %

Y=±2,6 %

Модуль

6ES7 331-7KF02-0AB0

Y=±0,5 %

Y t=±(0,005/К) %

15772-02

5

Температура пара на выходе котла за сужающим устройством (левый паропровод)

от 0 до 600 0С

от 530 до 550 0С

Преобразователь термоэлектрический

ТХК-0193

А=±4,8 0С

_

14215-96

А=±8 0С

А=±8 0С

Модуль

6ES7 331-7KF02-0AB0

Y=±0,5 %

Y t=±(0,005/К) %

15772-02

6

Давление пара у входного торца сужающего устройства (правый паропровод)

от 0 до 160 кгс/см2

от 125 до 142 кгс/см2

Датчик давления «Метран 100-ДИ», модель: 1171

Y=±0,5 %

На каждые 10 0С P Y t=±(0,05+0,05 Pma^) %

P.

22235-01

Y=±0,8 %

Y=±1,0 %

Модуль

6ES7 331-7KF02-0AB0

Y=±0,5 %

Y t= ±(0,005/К) %

15772-02

7

Расход пара на выходе из котла (правый паропровод)

от 0 до 420 т/ч

от 280 до 420 т/ч

Датчик давления «Метран 150», модель:150 CD

у=±0,075 %

На каждые 10 0С P Y t=±(0,02+0,03 Pma^) %

P.

22235-01

Y=±2,6 %

Y=±2,6 %

Модуль

6ES7 331-7KF02-0AB0

y=±0,5 %

Y t= ±(0,005/К) %

15772-02

№ ИК

Наименование ИК ИС

Диапазон измерений физической величины, ед. измерений

Параметры нормального (технологического) режима, ед. измерений

СИ, входящие в состав ИК ИС

Границы допускаемой основной погрешности ИК

Границы допускаемой погрешности ИК в рабочих условиях

Наименование, тип СИ

Пределы допускаемой основной погрешности компонента ИК

Пределы допускаемой дополнительной погрешности компонента ИК

Номер в Гос. реестре СИ

8

Температура пара на выходе котла за сужающим устройством (правый паропровод)

от 0 до 600 0С

от 530 до 550 0С

Преобразователь термоэлектрический

ТХК-0193

А=±4,8 0С

_

14215-96

А=±8 0С

А=±8 0С

Модуль

6ES7 331-7KF02-0AB0

Y=±0,5 %

Yt=±(0,005/К) %

15772-02

9

Разрежение перед мельницей А

от минус 160 до 0 кгс/м2

от минус 80

до минус 20 кгс/м2

Датчик давлениия «Метран 100-ДВ», модель: 1211

Y=±0,5 %

На каждые 10 0С

P

Y t=±(0,1+0,05    :x) %

P

в

22235-01

Y=±0,8 %

Y=±0,9 %

Модуль

6ES7 331-7KF02-0AB0

Y=±0,5 %

Y t=±(0,005/К) %

15772-02

10

Разность давлений пылевоздушной смеси на мельнице А

от 0 до 400 кгс/м2

от 180 до 280 кгс/м

Датчик давления «Метран 100-ДД», модель: 1420

Y=±0,5 %

На каждые 10 0С

P

Y t=±(0,1+0,05 Pm:x ) %

P

в

22235-01

Y=±0,8 %

Y=±0,9 %

Модуль

6ES7 331-7KF02-0AB0

Y=±0,5 %

Y t= ±(0,005/К) %

15772-02

11

Расход пылегазовой смеси на мельничный вентилятор МВ-А

от 0 до 108000 м3/ч

70000 м3/ч

Датчик давления «Метран 100-ДД», модель: 1420

Y=±0,5 %

На каждые 10 0С

P

Y t=±(0,1+0,05 Pm:x ) %

P

в

22235-01

Y=±2,6 %

Y=±2,6 %

Модуль

6ES7 331-7KF02-0AB0

Y=±0,5 %

Yt = ±(0,005/К) %

15772-02

№ ИК

Наименование ИК ИС

Диапазон измерений физической величины, ед. измерений

Параметры нормального (технологического) режима, ед. измерений

СИ, входящие в состав ИК ИС

Границы допускаемой основной погрешности ИК

Границы допускаемой погрешности ИК в рабочих условиях

Наименование, тип СИ

Пределы допускаемой основной погрешности компонента ИК

Пределы допускаемой дополнительной погрешности компонента ИК

Номер в Гос. реестре СИ

12

Температура пылевоздушной смеси за мельницей А

от 0 до 150 0С

от 65 до 75 0С

Т ермопреобразователь сопротивления

ТСМ 9201 50М

А= ±(0,25+ +0,00351) 0С

_

14237-94

А= ±(1,0+ +0,00351) 0С

А= ±(1,1+ +0,00351) 0С

Модуль

6ES7 331-7KF02-0AB0

Y=±0,5 %

Yt= ±(0,005/К) %

15772-02

13

Разрежение перед мельницей Б

от минус 160 до 0 кгс/м2

от минус 80

до минус 20 кгс/м2

Датчик давления «Метран 100-ДВ», модель: 1211

Y=±0,5 %

На каждые 10 0С P Y t=±(0,1+0,05 Pm:x ) % P в

22235-01

Y=±0,8 %

Y=±0,9 %

Модуль

6ES7 331-7KF02-0AB0

Y=±0,5 %

Yt = ±(0,005/К) %

15772-02

14

Разность давлений пылевоздушной смеси на мельнице Б

от 0 до 400 кгс/м2

от 180 до 280 кгс/м2

Датчик давления «Метран 100-ДД», модель: 1420

у=±0,5 %

На каждые 10 0С P

Yt=±(0,1+05 Pma^) % P.

22235-01

Y=±0,8 %

Y=±0,9 %

Модуль

6ES7 331-7KF02-0AB0

Y=±0,5 %

Y t= ±(0,005/К) %

15772-02

15

Расход пылегазовой смеси на мельничный вентилятор МВ-Б

от 0 до 108000 м3/ч

70000 м3/ч

Датчик давления «Метран 100-ДД», модель: 1420

Y=±0,5 %

На каждые 10 0С P

Yt=±(0,1+0,05 P' :x ) % P

в

22235-01

Y=±2,6 %

Y=±2,6 %

Модуль

6ES7 331-7KF02-0AB0

Y=±0,5 %

Y t= ±(0,005/К) %

15772-02

№ ИК

Наименование ИК ИС

Диапазон измерений физической величины, ед. измерений

Параметры нормального (технологического) режима, ед. измерений

СИ, входящие в состав ИК ИС

Границы допускаемой основной погрешности ИК

Границы допускаемой погрешности ИК в рабочих условиях

Наименование, тип СИ

Пределы допускаемой основной погрешности компонента ИК

Пределы допускаемой дополнительной погрешности компонента ИК

Номер в Гос. реестре СИ

16

Температура пылевоздушной смеси за мельницей Б

от 0 до 150 0С

от 65 до 75 0С

Т ермопреобразователь сопротивления

ТСМ 9201 50М

А= ±(0,25+ +0,00351) 0С

_

14237-94

А= ±(1,0+ +0,00351) 0С

А=±(1,1+ +0,00351) 0С

Модуль

6ES7 331-7KF02-0AB0

Y=±0,5 %

Yt= ±(0,005/К) %

15772-02

Примечания

1) В таблице приняты следующие обозначения:

А - абсолютная погрешность; у — приведенная погрешность, yt - пределы приведенной дополнительной погрешности от влияния температуры окружающего воздуха;

Pmax — максимальный верхний предел измерений; Рв - верхний предел измерений; t - измеренная температура, 0С.

2) Допускается применение первичных измерительных преобразователей аналогичных типов, прошедших испытания в целях утверждения типа с аналогичными техническими и метрологическими характеристиками

б) относительная влажность при 25 °С, % в) атмосферное давление, кПа

от 40 до 98;

от 84 до 106,7.

от 10 до 35;

от 40 до 80;

от 84 до 106,7.

- для комплексного компонента ИС:

а) температура окружающей среды, °С

б) относительная влажность при 25 °С, %

в) атмосферное давление, кПа

- для АРМ машиниста КА № 9 и панели оператора КА № 9: а) температура окружающей среды, °С

от 10 до 35;

от 40 до 80;

от 84 до 106,7.

б) относительная влажность при 25 °С, %

в) атмосферное давление, кПа

Средний срок службы ИС, лет, не менее                   8.

Знак утверждения типа

Знак утверждения типа наносится типографским способом на титульный лист документа «Система измерительная САУ пылепитателями, питателями сырого угля и шиберами воздуха мельниц котла ТП-87 № 9 Западно-Сибирской ТЭЦ - филиала ОАО «ЕВРАЗ ЗСМК». Паспорт».

Комплектность

В комплект ИС входят технические средства, специализированные программные средства, а также документация, представленные в таблицах 2 - 4, соответственно.

Измерительные и комплексные компоненты ИС представлены в таблице 2, вычислительные и вспомогательные компоненты, программное обеспечение (включая программное обеспечение контроллера программируемого) - в таблице 3, техническая документация - в таблице 4.

Таблица 3

Наименование

ПО

Количество, шт.

1

В состав АРМ машиниста КА № 9 входят:

- компьютер в промышленном исполнении, минимальные требования: процессор Pentium IV; 2.40 ГГц; 1.0 Гбайт ОЗУ; 20 Гбайт HDD; FDD; CDROM; Ethernet; Монитор 19” (1 шт.); клавиатура (1 шт.); мышь (1 шт.)

Операционная система: Microsoft Windows ХР. Прикладное ПО:

СУБД Microsoft SQL Server 2000;

SCADA система - SIMATIC WinCC v.6.0, Siemens AG;

проект: КА9

1

2

Панель оператора КА № 9 SIMATIC ОР-170В

Операционная система: Microsoft Windows СЕ.

Прикладное ПО:

SIMATIC ProTool/Pro v. 6.0; проект: PTProRun

1

Наименование

ПО

Количество, шт.

3

Контроллер программируемый SIMATIC S7-300

Система программирования STEP 7;

проект: КА9

1

4

Программатор, минимальные требования: ноутбук 15"; Pentium IV; 3.0 ГГц; 1.0 Гбайт ОЗУ;

80 Гбайт HDD; DVD-R/RW;

FDD; Ethernet; USB/MPI адаптер

Операционная система: Microsoft Windows ХР Pro. Прикладное ПО: Пакет PCS7 v.6.0;

система программирования

STEP 7

1

5

Источник бесперебойного питания APC Black Smart-UPS 3000 VA/2700 W

_

1

6

Стабилизированный блок питания модульного типа SITOP POWER 120/230-500 В АС (Ubx), 24 В/10 A DC (UBbK)

_

2

Таблица 4

Наименование

Количество, шт.

1

«ИС АСР котла № 9» Западно-Сибирской ТЭЦ - филиала ОАО «ЕВРАЗ ЗСМК». Инструкция по работе с АРМ

1

2

«Система измерительная САУ пылепитателями, питателями сырого угля и шиберами воздуха мельниц котла ТП-87 № 9 Западно-Сибирской ТЭЦ -филиала ОАО «ЕВРАЗ ЗСМК». Паспорт

1

3

«Система измерительная САУ пылепитателями, питателями сырого угля и шиберами воздуха мельниц котла ТП-87 № 9 Западно-Сибирской ТЭЦ -филиала ОАО «ЕВРАЗ ЗСМК». Методика поверки

1

Поверка

осуществляется по документу МП 50310-12 «Система измерительная САУ пылепитателями, питателями сырого угля и шиберами воздуха мельниц котла ТП-87 № 9 Западно-Сибирской ТЭЦ - филиала ОАО «ЕВРАЗ ЗСМК». Методика поверки», утвержденному руководителем ГЦИ СИ ФБУ «Томский ЦСМ» «26» декабря 2011 г.

Основные средства поверки:

- средства измерений в соответствии с нормативной документацией по поверке первичных измерительных преобразователей;

- калибратор   многофункциональный   MC5-R.   Основные   метрологические

характеристики калибратора приведены в таблице 5;

- миллиомметр Е6-18/1. Основные метрологические характеристики миллиомметра Е6-18/1 приведены в таблице 5.

Таблица 5

Наименование и тип средства поверки

Основные метрологические характеристики

Диапазон измерений, номинальное значение

Погрешность, класс точности, цена деления

Калибратор многофункциональный MC5-R

Воспроизведение сигналов силы постоянного тока в диапазоне от 0 до 20 мА

(при Кнагр = 800 Ом)

Д = ±(0,2Д0<1показ+ 1) мкА

Воспроизведение сигналов термопар типа ХА(К) по ГОСТ Р 8.585-2001 в диапазоне температуры:

- от минус 200 до 0 °С;

- от 0 до 1000 °С;

- от 1000 до 1372 °С

Д = ±(0,1 + 1^10 3-Тпоказ.) °С;

Д = ±(0,1 + 0,2Д0-3^ Тпоказ.) °С;

Д = ±(0,3^10-3^ Тпоказ.) °С

Воспроизведение сигналов термопреобразователей сопротивления Pt100 в диапазоне температуры:

- от минус 200 до 0 °С;

- от 0 до 850 °С

Д = ±0,10 °С;

Д = ±(0,1 + 0,25'10'3 Тпоказ.) °С

Воспроизведение сигналов термопреобразователей сопротивления 100М в диапазоне температуры:

- от минус 60 до 200 °С

Д = ±(0,1 + 0,4'10’3-Тпоказ.) °С

Миллиомметр

Е6-18/1

от 0,0001 до 100 Ом

6 = ±1,5 %

Примечания

1) В таблице приняты следующие обозначения: Д - абсолютная погрешность;

6 - относительная погрешность; 1показ., Тпоказ. - показания тока и температуры соответственно.

2) Разрешающая способность для термопар 0,01 °С, RBX > 10 МОм.

3) Разрешающая способность для термопреобразователей сопротивления 0,01 °С

Сведения о методах измерений

« ИС АСР котла № 9» Западно-Сибирской ТЭЦ - филиала ОАО «ЕВРАЗ ЗСМК». Инструкция по работе с АРМ.

Нормативные документы

мельниц котла ТП-87 № 9 Западно-Сибирской ТЭЦ - филиала ОАО «ЕВРАЗ ЗСМК»

1 ГОСТ Р 8.596-2002 ГСИ Метрологическое обеспечение измерительных систем. Основные положения.

2 ГОСТ Р 51841-2001 Программируемые контроллеры. Общие технические требования и методы испытаний.

Рекомендации к применению

Осуществление производственного контроля за соблюдением установленных законодательством Российской Федерации требований промышленной безопасности к эксплуатации опасного производственного объекта.

Смотрите также

50312-12
DB-II, CK и HB Весы электронные
Фирма "CAS Corporation", Республика Корея
Весы электронные DB-II, CK и HB (далее весы) предназначены для определения массы различных грузов.
50313-12
LP, CL, AP, PR Весы электронные
Фирма "CAS Corporation", Корея
Весы электронные LP, CL, AP, PR (далее весы) предназначены для определения массы груза и расчета стоимости по измеренной массе и цене за единицу продукции.
50314-12
NC, Caston-I (THA), Caston-II (THB) и Caston-III (THD) Весы электронные
Фирма "CAS Corporation", Республика Корея; Фирма "CAS Corporation", Корея (срок свидетельства: 29.06.2017 г.)
Весы электронные NC, Caston-I (THA), Caston-II (THB) и Caston-III (THD) (далее весы) предназначены для определения массы различных грузов.
50315-12
SW, PW, AD и PDS-II Весы электронные
Фирма "CAS Corporation", Корея
Весы электронные SW, PW, AD и PDS-II (далее весы) предназначены для определения массы различных грузов.