Комплексы измерительные ЦВ8535
| Номер в ГРСИ РФ: | 50425-12 |
|---|---|
| Производитель / заявитель: | ООО "МНПП "Электроприбор", Беларусь, г.Витебск |
Комплексы измерительные ЦВ8535 (далее - комплексы) предназначены для измерения падений напряжений на проводах в трехфазных трехпроводных или четырехпроводных сетях переменного тока, а также измерения среднеквадратических (действующих) значений напряжений в трехфазных или однофазных сетях переменного тока, одновременного измерения среднеквадратических значений напряжения и тока одной фазы без разрыва цепи.
Информация по Госреестру
| Основные данные | |
|---|---|
| Номер по Госреестру | 50425-12 |
| Действует | по 09.07.2017 |
| Наименование | Комплексы измерительные |
| Модель | ЦВ8535 |
| Характер производства | Серийное |
| Идентификатор записи ФИФ ОЕИ | 9630e300-9f31-fa01-5297-c186dcb0f6d5 |
| Год регистрации | 2012 |
| Общие данные | |
|---|---|
| Год регистрации | 2012 |
| Страна-производитель | Беларусь |
| Информация о сертификате | |
| Срок действия сертификата | 09.07.2017 |
| Номер сертификата | 47236 |
| Тип сертификата (C - серия/E - партия) | C |
| Дата протокола | Приказ 486 п. 32 от 09.07.2012 |
Производитель / Заявитель
ООО "МНПП "Электроприбор", БЕЛАРУСЬ, г.Витебск
Беларусь
Поверка
| Методика поверки / информация о поверке | МРБ МП.2176-2011 |
| Межповерочный интервал / Периодичность поверки |
1 год
|
| Зарегистрировано поверок | |
| Найдено поверителей | |
| Успешных поверок (СИ пригодно) | 9 (100%) |
| Неуспешных поверок (СИ непригодно) | 0 (0 %) |
| Актуальность информации | 28.12.2025 |
Поверители
Скачать
|
50425-12: Описание типа
2012-50425-12.pdf
|
Скачать | 122.9 КБ | |
| Свидетельство об утверждении типа СИ | Открыть | ... |
Описание типа
Назначение
Комплексы измерительные ЦВ8535 (далее - комплексы) предназначены для измерения падений напряжений на проводах в трехфазных трехпроводных или четырехпроводных сетях переменного тока, а также измерения среднеквадратических (действующих) значений напряжений в трехфазных или однофазных сетях переменного тока, одновременного измерения среднеквадратических значений напряжения и тока одной фазы без разрыва цепи.
Описание
В состав комплексов входят: базовый блок, ведомый блок, датчик тока. Комплексы имеют два режима работы: автономный и совместный. Каждый блок имеет встроенный интерфейс RS-485, который обеспечивает обмен информацией между базовым и ведомым блоками при работе в совместном режиме. Измерение тока осуществляется с использованием датчика тока.
Принцип действия комплексов основан на преобразовании аналоговых входных сигналов напряжения и тока в цифровой код. Далее производится вычисление требуемых величин в цифровой форме и результаты выводятся на табло блоков или хранятся в их энергонезависимой памяти.
Блоки конструктивно состоят из следующих основных узлов: корпуса, платы измерения, платы делителя, модуля SD (карты памяти), жидко-кристаллического индикатора (ЖКИ), клавиатуры. Корпус блока выполнен из пластмассы и состоит из основания и крышки. Крышка корпуса крепится к основанию с помощью винтов.
Датчик тока конструктивно состоит из следующих основных узлов: корпуса, имеющего подвижную и неподвижную часть, размыкающегося магнитопровода, двух катушек с обмотками из медного провода, шнура с соединителем для подключения к базовому или ведомому блоку. Подвижная и неподвижная части корпуса выполнены из пластмассы. Они состоят из двух симметричных частей, соединяющихся между собой с помощью винтов. Датчик тока является неотъемлемой частью комплексов.
Питание каждого блока осуществляется от сети переменного тока напряжением (220 -33) В, частотой (50 ± 0,5) Гц через сетевой адаптер, преобразующий напряжение сети в напряжение постоянного тока 5 В, или от четырех аккумуляторов, расположенных внутри корпуса блока, с номинальным напряжением 1,2 В и емкостью не менее 2400 мА^ч каждый.
Для обеспечения питания блока от аккумуляторов в нижней части корпуса располагается выдвижной батарейный отсек, выполненный в виде корпуса с крышкой, в котором размещаются четыре аккумулятора.
Сетевые адаптеры, аккумуляторы, устройство зарядное к аккумуляторам входят в комплект поставки комплексов.
Подключение блоков к источникам сигналов осуществляется при помощи соответствующих кабелей из комплекта поставки комплексов.
Для хранения и переноски комплексов используется кейс.
Комплексы могут применяться для измерений в энергетике и на энергоемких объектах различных отраслей промышленности.
Фотография общего вида комплекса приведена на рисунке 1.
Рис.1
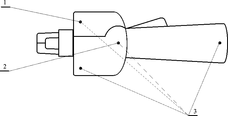
Схема пломбировки от несанкционированного доступа и указание мест для нанесения оттиска клейма ОТК и оттиска клейма Знака поверки на базовом и ведомом блоках (вид сзади) приведена на рисунке 2 и на датчике тока (вид сзади) на рисунке 3.
1 - место для нанесения оттиска клейма Знака поверки;
2 - место для нанесения оттиска клейма ОТК;
3 - винты, крепящие крышку корпуса к основанию.
Рис. 2
1 - место для нанесения оттиска клейма Знака поверки;
2 - место для нанесения оттиска клейма ОТК;
3 - винты, крепящие две части корпуса.
Рис.3
Технические характеристики
Основные характеристики измеряемых сигналов в зависимости от режимов работы комплексов и режимов измерений соответствуют значениям, приведенным в таблице 1.
Таблица 1
|
Режим работы комплексов |
Режим измерений |
Измеряемый сигнал | |
|
Диапазон измерений |
Нормирующее значение | ||
|
Автономный |
трех напряжений (Uan, Ubn, Ucn), В; двух напряжений (Uan, Ucn), В; одного напряжения (Uan), В |
0-75 |
75 |
|
0-150 |
150 | ||
|
0-250 |
250 | ||
|
0-450 |
450 | ||
|
напряжения по входу "~ 2,5 V", В |
0-2,5 |
2,5 | |
|
тока, А |
0-1 |
1 | |
|
0-5 |
5 | ||
|
Совместный |
трех падений напряжений (AUan, AUbn, AUcn), В; двух падений напряжений (AUan, AUcn), В; одного падения напряжения (AUan), В |
0-60 |
60 |
|
0-100 |
100 | ||
|
0-200 |
200 | ||
|
0-300 |
300 | ||
Класс точности:
- при измерении напряжений и падений напряжений
- при измерении тока
Пределы допускаемой основной приведенной погрешности комплексов от нормирующего значения измеряемого сигнала, % :
- при измерении напряжений и падений напряжений
- при измерении тока ± 0,25
Пределы допускаемых дополнительных приведенных погрешностей КИ от нормирующего значения измеряемого сигнала, % :
а) при изменении температуры окружающего воздуха
от (20 ± 2) °С до минус 10 °С и плюс 50 °С на каждые 10 °С:
- при измерении напряжений и падений напряжений ± 0,05
- при измерении тока ± 0,125
б) при воздействии относительной влажности (95 ± 3) % при температуре 35 °С:
- при измерении напряжений и падений напряжений ± 0,1
- при измерении тока ± 0,25
в) при воздействии внешнего однородного магнитного поля переменного тока частотой 50 Гц с магнитной индукцией 0,5 мТ при самом неблагоприятном направлении и фазе магнитного поля:
- при измерении напряжений и падений напряжений ± 0,1
- при измерении тока ± 0,25
Диапазон частот измеряемых сигналов, Гц 45 - 65
Входное сопротивление цепей AN, Bn, CN каждого блока, Ом, не менее:
- на пределах измерений 75 В и 150 В 1,5 -10 5
- на пределах измерений 250 В и 450 В 5,0 -10 5
Входное сопротивление входа "~ 2,5 V" каждого блока, Ом, не менее 1,5- 10 3
Мощность, потребляемая каждым блоком от измерительных цепей
AN, BN, CN, В-А, не более:
- на пределах измерений 75 В и 150 В
- на пределах измерений 250 В и 450 В
Мощность, потребляемая входом "~ 2,5 V" каждого блока, В-А,
не более
|
Мощность, потребляемая каждым блоком от цепи | |
|
питания постоянного тока, Вт, не более |
1,5 |
|
Условия эксплуатации: - температура окружающего воздуха, оС |
от минус 10 до плюс 50 |
|
- относительная влажность |
до 95 % при 35 оС |
|
Габаритные размеры каждого блока, мм, не более |
290 х155 х 65 |
|
Габаритные размеры датчика тока, мм, не более: |
180 х 61 х 42 |
|
Габаритные размеры кейса, мм, не более |
480 х 380 х 190 |
|
Масса каждого блока (с аккумуляторами), кг, не более |
1 |
|
Масса датчика тока, кг, не более |
0,45 |
|
Масса КИ в кейсе, кг, не более |
8 |
|
Средний срок службы, лет, не менее |
10 |
|
Средняя наработка на отказ, ч, не менее |
25000 |
|
Степень защиты от поражения электрическим током |
оборудование |
|
по ГОСТ 12.2.091-2002 |
класса II |
Знак утверждения типа
Знак утверждения типа наносится на таблички на крышках базового и ведомого блоков комплексов и на эксплуатационную документацию способом, аналогичным с выполнением других надписей и знаков.
Комплектность
Комплект поставки комплексов приведен в таблице 2.
Таблица 2
|
Обозначение |
Наименование |
Количество |
|
3ЭП.499.351 |
Комплекс измерительный ЦВ8535. Блок базовый |
1 |
|
3ЭП.499.351-01 |
Комплекс измерительный ЦВ8535. Блок ведомый |
1 |
|
5ЭП.577.356 |
Датчик тока |
1 |
|
3ЭП.499.350 РЭ |
Руководство по эксплуатации |
1 |
|
МРБ МП.2176-2011 |
Методика поверки |
1 |
|
3ЭП.499.350 ПС |
Паспорт |
1 |
|
5ЭП.503.350 |
Кабель № 1 |
2 |
|
5ЭП.503.352 |
Кабель № 2 |
2 |
|
5ЭП.503.351 |
Кабель интерфейса |
1 |
|
- |
Адаптер сетевой ES18EO5-P1J * |
2 |
|
- |
Аккумулятор HR-3U (AA) 1,2 V 2500 тАЪ SANYO * |
8 |
|
- |
Устройство зарядное GP PB 01 GS Smart (АА до 2400 тА) * |
1 |
|
- |
Карт-ридер для micro SD-карточки |
1 |
|
5ЭП.804.350 |
Кейс |
1 |
|
* Допускается замена |
на другой тип с аналогичными техническими характеристиками. | |
Поверка
осуществляется по документу «Комплекс измерительный ЦВ 8535. Методика поверки. МРБ
МП.2176-2011», утверждённому РУП «Витебский ЦСМС» в июле 2011 года.
Перечень основного оборудования, необходимого для поверки:
1 .Универсальная пробойная установка УПУ-10:
- выходное напряжение до 10 кВ;
- погрешность установки напряжения ± 5%.
2. Установка поверочная автоматическая универсальная УППУ-1М ТУ 50-242-80:
- диапазон выходного напряжения 0 - 750 В;
- диапазон выходного тока 0-10 А;
- диапазон измерений частот 40-1000 Гц;
- основная погрешность ± 0,03%.
3. Частотомер электронно-счётный Ч3-54:
- диапазон напряжения входного сигнала 0,3 - 100 В;
- относительная погрешность 5-10’7.
Сведения о методах измерений
Методы измерения приведены в документе «Комплекс измерительный ЦВ8535. Руководство по эксплуатации» 3ЭП.499.350 РЭ.
Нормативные документы
ГОСТ 12997-84 «Изделия ГСП. Общие технические условия»;
ГОСТ 12.2.091-2002 «Безопасность электрических контрольно-измерительных приборов и лабораторного оборудования. Общие требования»;
ТУ BY 300080696.350-2011 «Комплекс измерительный ЦВ8535. Технические условия».
Рекомендации к применению
- осуществление производственного контроля за соблюдением установленных законодательством Российской Федерации требований промышленной безопасности к эксплуатации опасного производственного объекта;
- осуществление деятельности по обеспечению безопасности при чрезвычайных ситуациях.
Смотрите также
