Колонки топливораздаточные Global Star и Global Century
| Номер в ГРСИ РФ: | 50796-12 |
|---|---|
| Категория: | Колонки топливораздаточные |
| Производитель / заявитель: | Фирма "Wayne Fueling System Sweden AB", Швеция |
Информация по Госреестру
| Основные данные | |
|---|---|
| Номер по Госреестру | 50796-12 |
| Действует | по 10.08.2017 |
| Наименование | Колонки топливораздаточные |
| Модель | Global Star и Global Century |
| Характер производства | Серийное |
| Идентификатор записи ФИФ ОЕИ | cd0837e6-7554-59f9-dfe1-cc536d8d9c10 |
| Год регистрации | 2012 |
| Общие данные | |
|---|---|
| Класс СИ | 29.02 |
| Год регистрации | 2012 |
| Страна-производитель | Швеция |
| Примечание | 27.01.2015 Изменения в названии организации |
| Информация о сертификате | |
| Срок действия сертификата | 10.08.2017 |
| Тип сертификата (C - серия/E - партия) | C |
| Дата протокола | Приказ 78 п. 03 от 27.01.2015Приказ 554 п. 12 от 10.08.2012 |
Производитель / Заявитель
Фирма "Wayne Fueling Systems Sweden AB", Швеция; Фирма "Dresser Wayne AB", Швеция
Швеция
Поверка
| Методика поверки / информация о поверке | МИ 1864-88 |
| Межповерочный интервал / Периодичность поверки |
1 год
|
| Зарегистрировано поверок |
21019
|
| Найдено поверителей | |
| Успешных поверок (СИ пригодно) | 20570 (98%) |
| Неуспешных поверок (СИ непригодно) | 449 (2 %) |
| Актуальность информации | 21.04.2026 |
Поверители
Скачать
|
50796-12: Описание типа
2015-50796-12.pdf
|
Скачать | 299 КБ | |
|
50796-12: Методика поверки
2022-mp50796-12.pdf
|
Скачать | 61.9 КБ | |
| Свидетельство об утверждении типа СИ | Открыть | ... |
Описание типа
Назначение
Колонки топливораздаточные Global Star и Global Century предназначены для измерений объёма топлива (бензин, керосин, дизельное топливо) с вязкостью от 0,55 до 40 мм2/с (сСт) при выдаче его в топливные баки транспортных средств.
Описание
Принцип действия колонок состоит в следующем: топливо из резервуара через клапан и фильтр предварительной очистки, подается в измеритель объёма и через раздаточный кран поступает в бак транспортного средства.
Колонки осуществляют выдачу топлива, измерение, индикацию его объёма, расчёт стоимости выданного топлива. Сброс показания разового учёта выданного объёма топлива в нулевое положение производится автоматически при снятии раздаточного крана с колонки.
Колонки имеют модульную конструкцию и в зависимости от модификации отличаются функциональными возможностями, конструкцией и внешним дизайном.
Колонки состоят из следующих основных элементов: гидравлической части, измерительного блока, блока электроники, раздаточного крана, корпуса.
Блок электроники может комплектоваться электронагревателем для устойчивой работы при отрицательных температурах окружающего воздуха. Колонки могут быть со встроенным насосом или погружным. Колонки могут оснащаться блоком для электронных расчётов по кредитным картам. В составе колонок имеется электромеханический счётчик суммарного объёма.
Внешний вид колонок представлен на рисунке 1.
а) б) в) г) д)
Рисунок 1- Колонки топливораздаточные: а) Global Star V модификация HHR, б) Global Star V модификация В2В, в) Global Star Н, г) Global Century, д) дополнительная стойка SAT.
Колонки имеют следующие исполнения:
Global Star V имеет С-дизайн, в качестве объёмомера-счётчика используется iMeter™ или Xflo™
Global Star V модификация HHR в отличие от HH имеет механизм барабанной намотки раздаточных рукавов.
Лист № 2
Всего листов 6
Global Star V модификация В2В имеет дополнительный блок (back-to-back - «спиной к спине»), позволяющий колонке осуществлять выдачу до 5 марок бензина или комбинацию до 5 топлив: бензин + дизель, бензин + сжиженый газ, бензин + дизель + сжиженый газ.
Global Star V имеет пластмассовый корпус дисплея.
Global Star Н имеет Н-дизайн и алюминиевый корпус дисплея, в качестве объёмомера-счётчика используется iMeter™ или XfloTM.
Global Century имеет прямоугольную форму, с расположением раздаточного крана на одной или обеих боковых сторонах, в качестве объёмомера-счётчика используется только iMeter™.
SAT - выносная стойка с раздаточным краном, позволяющая выдавать топливо с расходом 130 л/мин для одновременной заправки автомобиля с двух сторон.
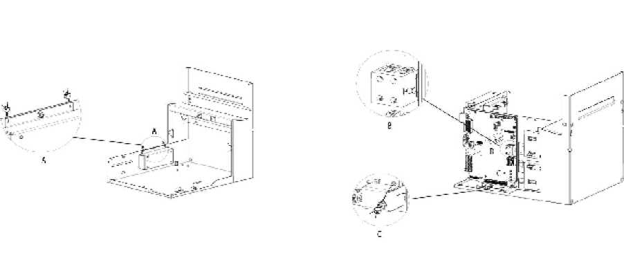
Схемы пломбирования представлены на рисунках 2 - 7.
Рисунок 2 - Схема пломбировки iMeter™.
Рисунок 3 - Схема пломбировки Xflo™ (вариант со встроенным насосом).
Рисунок 4 - Схема пломбировки Xflo™ (вариант с погружным насосом).
Рисунок 5 - Схема пломбировки электронного блока Global Century.
Рисунок 6- Схема пломбировки электронного блока Global Star Н.
Рисунок 7 - Схема пломбировки электронного блока Global Star V.
Программное обеспечение
Внутреннее ПО выполняет функции управления насосами, подсчётом объёма выданного топлива, вывод информации об объёме выданного топлива и его стоимости на дисплей и интерфейсы связи, сохранение во внутренней памяти количество выданных доз, количество смен цены топлива, количество и характер отказов.
Уровень защиты программного обеспечения колонок топливораздаточных Global Star и Global Century от непреднамеренных и преднамеренных изменений «С» по МИ 3286-2010.
Таблица 1- Идентификационные данные программного обеспечения
|
Наименование ПО |
Идентификационное наименование ПО |
Номер версии ПО |
Цифровой идентификатор ПО (контрольная сумма) |
Алгоритм вычисления цифрового идентификатора ПО |
|
Внутреннее ПО |
W & M checksum |
11.XX |
555F |
CRC16 |
Технические характеристики
Таблица 2
|
Наименование параметра |
Значение |
|
Номинальный расход (в зависимости от используемого насоса), л/мин |
40, 70, 130 |
|
Наименьший расход (в зависимости от используемого насоса), л/мин |
4, 7, 13 |
|
Минимальная доза выдачи топлива (в зависимости от используемого насоса), л |
2 или 5 |
|
Пределы допускаемой основной относительной погрешности при температуре окружающей среды и топлива (20 ± 5) °С, % - при номинальном расходе - при наименьшем расходе |
±0,25 ±0,4 |
Продолжение таблицы 2
|
Пределы допускаемой дополнительной относительной погрешности при температуре, отличной от (20 ± 5) °С, в пределах температур окружающей среды и топлива от минус 40 °С до плюс 60 °С, % |
±0,4 |
|
Длина рукава раздаточного крана, м - для исполнения HHR - для исполнения HH |
4 3,3 |
|
Количество марок топлива |
до 5 |
|
Напряжение электропитания, В |
220; 380 |
|
Потребляемая мощность, кВт, не более |
3,3 |
|
Масса, кг, не более |
740 |
|
Габаритные размеры, мм, не более |
2145x510x2870 |
|
Средний срок службы, лет |
12 |
|
Средняя наработка на отказ, ч |
7000 |
|
Условия эксплуатации: - относительная влажность, % - атмосферное давление, кПа - температура окружающей среды, °С |
до 95 от 84,0 до 106,7 от минус 40 до +60 |
Знак утверждения типа
наносят на маркировочную табличку колонки фотографическим способом и на титульные листы эксплуатационной документации типографским способом.
Комплектность
Таблица 3 - Комплектность средства измерений
|
Наименование |
Количество |
|
Колонка |
1 шт. |
|
Руководство по эксплуатации |
1 шт. |
|
Формуляр |
1 шт. |
Сведения о методах измерений
В колонках реализован прямой метод непосредственной оценки объёма топлива измерителем объёма топлива, проходящего через колонку, в единицах объёма.
Поверка
осуществляется по МИ 1864-88 «Рекомендация. ГСП. Колонки топливораздаточные. Методика поверки».
При поверке применяются следующие средства измерений:
- мерники 2-го разряда вместимостью 5, 10, 20, 50, 100 л с основной погрешностью не более ±0,1 % по ГОСТ 8.400-80.
Нормативные документы
1 ГОСТ 9018-89 «Колонки топливораздаточные. Общие технические условия».
2 ГОСТ 8.510-2002 «ГСИ. Государственная поверочная схема для средств измерений объёма и массы жидкости».
3 Техническая документация «Wayne Fueling Systems Sweden AB», Швеция
Рекомендации к применению
Осуществление торговли.
Другие Колонки топливораздаточные



