Термопреобразователи сопротивления RENK/Pt100
| Номер в ГРСИ РФ: | 51306-12 |
|---|---|
| Категория: | Термопреобразователи |
| Производитель / заявитель: | Фирма "RENK AKTIENGESELLSCHAFT", Германия |
Термопреобразователи сопротивления модели RENK/Pt100 (далее по тексту ╞ термопреобразователи или ТС) предназначены для измерений температуры поверхности твердых тел.
Информация по Госреестру
| Основные данные | |
|---|---|
| Номер по Госреестру | 51306-12 |
| Действует | по 21.09.2017 |
| Наименование | Термопреобразователи сопротивления |
| Модель | RENK/Pt100 |
| Характер производства | Серийное |
| Идентификатор записи ФИФ ОЕИ | 53df50c8-cbfd-249c-1d63-22460a320326 |
| Год регистрации | 2012 |
| Общие данные | |
|---|---|
| Класс СИ | 32.02 |
| Год регистрации | 2012 |
| Страна-производитель | Германия |
| Информация о сертификате | |
| Срок действия сертификата | 21.09.2017 |
| Номер сертификата | 48205 |
| Тип сертификата (C - серия/E - партия) | C |
| Дата протокола | Приказ 775 п. 41 от 21.09.2012 |
Производитель / Заявитель
Фирма "RENK AKTIENGESELLSCHAFT", ГЕРМАНИЯ
Германия
Поверка
| Методика поверки / информация о поверке | ГОСТ 8.461-2009 |
| Межповерочный интервал / Периодичность поверки |
2 года
|
| Зарегистрировано поверок | |
| Найдено поверителей | |
| Успешных поверок (СИ пригодно) | 42 (95%) |
| Неуспешных поверок (СИ непригодно) | 2 (5 %) |
| Актуальность информации | 10.05.2026 |
Поверители
Скачать
|
51306-12: Описание типа
2012-51306-12.pdf
|
Скачать | 120.9 КБ | |
| Свидетельство об утверждении типа СИ | Открыть | ... |
Описание типа
Назначение
Термопреобразователи сопротивления модели RENK/Pt100 (далее по тексту -термопреобразователи или ТС) предназначены для измерений температуры поверхности твердых тел.
Описание
Принцип действия термопреобразователей основан на зависимости сопротивления платиновых тонкопленочных термочувствительных элементов сопротивления (ЧЭ) от температуры.
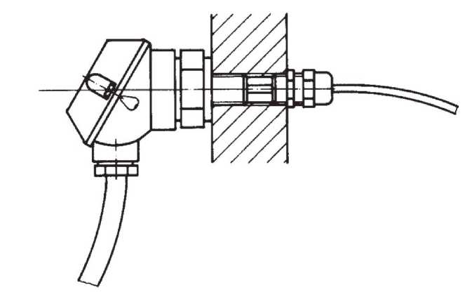
Термопреобразователи представляют собой измерительную вставку кабельного типа, соединенную с металлической клеммной головкой. Измерительная вставка конструктивно выполнена в виде цилиндрического корпуса из нержавеющей стали с присоединенным кабелем с удлинительными проводами в тефлоновой оболочке. Внутрь корпуса помещены один или два ЧЭ с номинальной статической характеристикой преобразования (НСХ) типа «Pt100» по ГОСТ 6651-2009 (МЭК 60751). Конструкция корпуса позволяет помещать и фиксировать ТС при помощи резьбового соединения.
ТС имеют двух-, трех- или четырехпроводную схему соединения внутренних проводов с ЧЭ.
Общий вид ТС представлен на рисунке 1.

Рис. 1. Термопреобразователь сопротивления модели RENK/Pt100.
Технические характеристики
Диапазон измеряемых температур, °С: ...................................от 0 до плюс 200
Температурный коэффициент ТС а , оС-1:........................................... 0,00385
Условное обозначение номинальной статической характеристики преобразования (НСХ) по ГОСТ 6651-2009/МЭК 60571:..................................................................Pt100
Номинальное значение сопротивления ТС при 0 °С (Ro), Ом:.........................100
Класс допуска по ГОСТ 6651-2009/МЭК 60571:...........................................В
Пределы допускаемого отклонения сопротивления ТС от НСХ в температурном эквиваленте, °C:.............................................................................................±(0,30 + 0,005| 11),
где t - значение измеряемой температуры
Электрическое сопротивление изоляции при температуре (25±10) °С и относительной влажности воздуха от 30 до 80 %, МОм (при 500 В), МОм, не менее: 1000
Длина корпуса ТС, мм:..........................................................................20
Длина кабеля с удлинительными проводами, мм: ........................от 1000 до 3000
Рабочие условия эксплуатации:
- температура окружающей среды, °С: ........................от минус 40 до плюс 80;
- относительная влажность, %, не более ................................................ 95.
Знак утверждения типа
Знак утверждения типа наносится на титульный лист паспорта (в правом верхнем углу) методом штемпелевания.
Комплектность
Т ермопреобразователь сопротивления - 1 шт.;
П аспорт (на русском языке) - 1 экз.
Поверка
осуществляется по ГОСТ 8.461-2009 «ГСИ. Термопреобразователи сопротивления из платины, меди и никеля. Методика поверки».
Основные средства поверки:
- термометр цифровой прецизионный DTI-1000, пределы допускаемой абсолютной погрешности: ±0,031 °С в диапазоне температур от минус 50 до плюс 400 °С, ±0,061 °С в диапазоне температур св. плюс 400 до плюс 650 °С;
- термостаты жидкостные прецизионные переливного типа моделей ТПП-1.0, ТПП-1.1 с диапазоном воспроизводимых температур от минус 30 до плюс 300 °С и нестабильностью поддержания заданной температуры ±(0,004.. .0,02) °С;
- измеритель-регулятор температуры многоканальный прецизионный МИТ-8 модели МИТ-8.15М, пределы допускаемой основной абсолютной погрешности канала измерения температуры: ±(0.001+3*10 -6 *t) °С.
Примечания: при поверке допускается применение других средств измерений и вспомогательного оборудования, удовлетворяющих по точности и техническим характеристикам требованиям ГОСТ 8.461-2009.
Сведения о методиках (методах) измерений приведены в соответствующем разделе паспорта на термопреобразователи.
лист № 3 всего листов 3
Нормативные документы
ГОСТ Р 52931-2008 Приборы контроля и регулирования технологических процессов. Общие технические условия.
Международный стандарт МЭК 60751 (1995, 07). Промышленные чувствительные элементы термометров сопротивления из платины.
ГОСТ 6651-2009 ГСИ. Термопреобразователи сопротивления из платины, меди и никеля. Общие технические требования и методы испытаний.
ГОСТ 8.558-93 ГСИ. Государственная поверочная схема для средств измерений температуры.
ГОСТ 8.461-2009 ГСИ. Термопреобразователи сопротивления из платины, меди и никеля. Методика поверки.
Рекомендации к применению
Осуществление производственного контроля за соблюдением установленных законодательством Российской Федерации требований промышленной безопасности к эксплуатации опасного производственного объекта; выполнение работ по оценке соответствия промышленной продукции и продукции других видов, а также иных объектов установленным законодательством Российской Федерации обязательным требованиям.

