Система измерительно-управляющая конвертера № 1 кислородно-конвертерного цеха № 1 ОАО "ЕВРАЗ ЗСМК"
| Номер в ГРСИ РФ: | 51383-12 |
|---|---|
| Производитель / заявитель: | ОАО "ЕВРАЗ Объединенный Западно-Сибирский металлургический комбинат" (ЕВРАЗ ЗСМК), г.Новокузнецк |
Система измерительно-управляющая конвертера № 1 кислородно-конвертерного цеха № 1 ОАО ┌ЕВРАЗ ЗСМК√ (далее ╞ ИУС) предназначена для измерений объёмного расхода (воды и дымовых газов), массового расхода (пара), давления (кислорода, азота, воздуха, воды, пара, масла, дымовых газов), разности давлений (воздуха и дымовых газов), разрежения (дымовых газов), уровня (воды) и температуры (воздуха, воды, пара, дымовых газов, масла, стенок бункера предварительного охлаждения, подшипников дымососа), автоматического непрерывного контроля технологических параметров, их визуализации, регистрации и хранения, диагностики состояния технологического оборудования ИУС, формирования сигналов предупредительной и аварийной сигнализации.
Информация по Госреестру
| Основные данные | |||||||
|---|---|---|---|---|---|---|---|
| Номер по Госреестру | 51383-12 | ||||||
| Наименование | Система измерительно-управляющая конвертера № 1 кислородно-конвертерного цеха № 1 ОАО "ЕВРАЗ ЗСМК" | ||||||
| Характер производства | Единичное | ||||||
| Идентификатор записи ФИФ ОЕИ | 7c90c404-649a-f8df-8ee5-fe0236250ee1 | ||||||
| Испытания |
|
||||||
| Год регистрации | 2012 | ||||||
| Общие данные | |
|---|---|
| Год регистрации | 2012 |
| Страна-производитель | Россия |
| Информация о сертификате | |
| Срок действия сертификата | .. |
| Номер сертификата | 48263 |
| Тип сертификата (C - серия/E - партия) | E |
| Дата протокола | Приказ 814 п. 28 от 28.09.2012 |
Производитель / Заявитель
ОАО "ЕВРАЗ Объединенный Западно-Сибирский металлургический комбинат" (ЕВРАЗ ЗСМК), РОССИЯ, г.Новокузнецк
Россия
Поверка
| Методика поверки / информация о поверке | МП 51383-12 |
| Межповерочный интервал / Периодичность поверки |
1 год
|
| Зарегистрировано поверок | |
| Найдено поверителей | |
| Успешных поверок (СИ пригодно) | 7 (100%) |
| Неуспешных поверок (СИ непригодно) | 0 (0 %) |
| Актуальность информации | 29.03.2026 |
Поверители
Скачать
|
51383-12: Описание типа
2012-51383-12.pdf
|
Скачать | 390.7 КБ | |
| Свидетельство об утверждении типа СИ | Открыть | ... |
Описание типа
Назначение
Система измерительно-управляющая конвертера № 1 кислородно-конвертерного цеха № 1 ОАО «ЕВРАЗ ЗСМК» (далее - ИУС) предназначена для измерений объёмного расхода (воды и дымовых газов), массового расхода (пара), давления (кислорода, азота, воздуха, воды, пара, масла, дымовых газов), разности давлений (воздуха и дымовых газов), разрежения (дымовых газов), уровня (воды) и температуры (воздуха, воды, пара, дымовых газов, масла, стенок бункера предварительного охлаждения, подшипников дымососа), автоматического непрерывного контроля технологических параметров, их визуализации, регистрации и хранения, диагностики состояния технологического оборудования ИУС, формирования сигналов предупредительной и аварийной сигнализации.
Описание
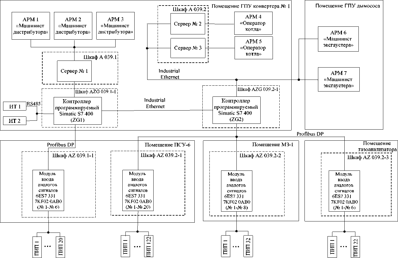
ИУС является средством измерений единичного производства. Конструкция ИУС представляет собой трехуровневую систему, построенную по иерархическому принципу. В состав ИУС входят 159 измерительных каналов. Измерительные каналы (ИК) ИУС состоят из следующих компонентов (по ГОСТ Р 8.596):
1) измерительные компоненты - первичные измерительные преобразователи, имеющие нормированные метрологические характеристики (нижний уровень ИУС);
2) комплексные компоненты - контроллеры программируемые SIMATIC S7-400 (средний уровень ИУС);
3) вычислительные компоненты - автоматизированные рабочие места (АРМ) и серверы (верхний уровень ИУС);
4) связующие компоненты - технические устройства и средства связи, используемые для приема и передачи сигналов, несущих информацию об измеряемой величине от одного компонента ИУС к другому.
Измерительные каналы ИУС имеют простую структуру, которая позволяет реализовать прямой метод измерений путем последовательных измерительных преобразований. Структурная схема ИУС приведена на рисунке 1.
Принцип действия ИУС заключается в следующем. ИУС функционирует в автоматическом режиме. Первичные измерительные преобразователи выполняют измерение физических величин и их преобразование в унифицированный токовый сигнал (от 4 до 20 мА), термоЭДС, электрическое сопротивление. Контроллеры программируемые измеряют аналоговые унифицированные выходные сигналы измерительных преобразователей, сигналы с термопреобразователей сопротивления и термопар, выполняют их аналого-цифровое преобразование, осуществляют преобразование цифровых кодов в значения технологических параметров, выполняют вычислительные и логические операции, проводят диагностику оборудования, формируют сигналы предупредительной и аварийной сигнализации. Контроллеры программируемые по цифровым каналам передают информацию на серверы, АРМ и информационные табло. Серверы выполняют архивирование информации, ее хранение и передают данные на АРМ для отображения. АРМ обеспечивают отображение параметров технологического процесса, архивных данных, журнала сообщений, сигналов сигнализации, отображение информации о состоянии оборудования ИУС, настройку сигнализации. Информационные табло обеспечивают отображение текущих значений основных технологических параметров.
ИТ — информационное табло; ПИП - первичный измерительный преобразователь; ГПУ - главный пульт управления
Рисунок 1 - Структурная схема ИУС
Связующими компонентами ИУС являются кабели контрольные, провода термоэлектродные (компенсационные), оптоволоконный кабель PCF, кабель UTP 5 level и кабель Profibus FC.
ИУС обеспечивает выполнение следующих основных функций:
1) измерение и отображение значений физических величин, характеризующих технологический процесс;
2) автоматическая диагностика состояния технологического оборудования;
3) контроль протекания технологического процесса;
4) формирование журнала сообщений, отображение аварийных, предупредительных, технологических и диагностических системных сообщений и их протоколирование;
5) формирование и отображение сигналов предупредительной, аварийной сигнализации;
6) хранение архивов значений параметров технологического процесса;
7) выполнение функции защиты оборудования, программного обеспечения и данных от несанкционированного доступа на физическом и программном уровне;
8) ведение системы обеспечения единого времени.
Система обеспечения единого времени (СОЕВ) выполняет законченную функцию измерений и синхронизации времени. СОЕВ ИУС включает в состав: два контроллера программируемых SIMATIC S7-400, три сервера, семь АРМ, и сервер технологической информации (СТИ), синхронизирующий время с корпоративным сервером времени ОАО «ЕВРАЗ ЗСМК». Сервер времени осуществляет прием точного времени через Интернет с использованием протокола NTP от тайм-серверов 2 уровня (Stratum 2). Системное время тайм-серверов согласовано с UTC (SU) с погрешностью, не превышающей 10 мкс. АРМ и сервера один раз в 15 минут обращаются к СТИ, считывают точное время и синхронизируют свое время. Контроллеры программируемые один раз в 10 минут обращаются к СТИ, считывают точное время и синхронизируют свое время. Расхождение времени АРМ и контроллеров программируемых не превышает ± 2 с.
Программное обеспечение
Структура и функции программного обеспечения (ПО) ИУС:
- ПО АРМ функционирует в SCADA системе SIMATIC WinCC и осуществляет отображение измеренных значений параметров технологического процесса, архивных данных, журнала сообщений, сигналов предупредительной и аварийной сигнализации, информации о состоянии технологического оборудования ИУС, настройку сигнализации;
- ПО серверов функционирует в SCADA системе SIMATIC WinCC и осуществляет прием данных из контроллера, хранение архивных данных и сообщений в СУБД MS SQL Server 2000 и передачу данных на АРМ для отображения;
- встроенное ПО контроллера программируемого SIMATIC S7-400 (ZG1) (метрологически значимая часть ПО ИУС) и встроенное ПО контроллера программируемого SIMATIC S7-400 (ZG2) (метрологически значимая часть ПО ИУС) функционируют в системе программирования STEP 7 и осуществляют автоматизированный сбор, обработку и передачу измерительной информации на серверы, АРМ и информационные табло, осуществляют диагностику оборудования и обеспечивают работу предупредительной и аварийной сигнализации.
Идентификация метрологически значимой части ПО ИУС (ПО контроллеров) выполняется с помощью программатора и USB/MPI адаптера по команде оператора, доступ защищен паролем.
Идентификационные данные приведены в таблице 1.
Таблица 1
|
Наименование программного обеспечения |
Идентификационное наименование программного обеспечения |
Номер версии (идентификационный номер) программного обеспечения |
Цифровой идентификатор программного обеспечения (контрольная сумма исполняемого кода) |
Алгоритм вычисления цифрового идентификатора программного обеспечения |
|
Проект в системе программирования STEP 7 для контроллера программируемого ZG1 |
Проект: zagruz_konv1 |
_ |
Для файла конфигурации проекта zagruz_konv1: subblk.dbt 794581OC9D84C2CF38E865C7A 1334509 |
MD5 |
|
Проект в системе программирования STEP 7 для контроллера программируемого ZG2 |
Проект: zagruz_kotel 1 |
_ |
Для файла конфигурации проекта zagruz_kotel 1: subblk.dbt ADD0DA92A1BED7890EB1C1C 020ED90EC |
MD5 |
Метрологические характеристики ИУС нормированы с учетом ПО контроллеров.
Защита программного обеспечения контроллера программируемого SIMATIC S7-400 (ZG1) и контроллера программируемого SIMATIC S7-400 (ZG2) соответствует уровню «А» по классификации МИ 3286-2010. Для защиты программного обеспечения АРМ и серверов от непреднамеренных и преднамеренных изменений реализован алгоритм авторизации пользователей. Защита ПО АРМ и серверов соответствует уровню «С» по классификации МИ 3286-2010.
Технические характеристики
Метрологические характеристики и характеристики погрешности измерительных каналов ИУС приведены в таблице 2.
Параметры электрической сети питания:
от 198 до 242;
от 49,6 до 50,4;
от 21,6 до 26,4.
- напряжение питания переменного тока, В
- частота, Гц
- напряжение питания постоянного тока, В
Параметры выходных сигналов с первичных измерительных преобразователей:
1) непрерывные сигналы (по ГОСТ 26.011-80):
- электрический ток, мА от 4 до 20;
2) сигналы с термопреобразователей сопротивления (ТС) с номинальными статическими характеристиками преобразования по ГОСТ 6651-2009;
3) сигналы с термопар с номинальными статическими характеристиками преобразования по ГОСТ Р 8.585-2001.
Параметры входных аналоговых модулей ввода контроллера программируемого:
|
- модуль 6ES7 331 7 KF02 0AB0 (сигнал с ТС) - модуль 6ES7 331 7 KF02 0AB0 |
от 78,45 до 142,78 Ом; |
|
(сигнал с термопар с НСХ по ГОСТ Р 8.585-2001) - модуль 6ES7 331 7 KF02 0AB0 (электрический ток) |
от 0 до 52,41 мВ; от 4 до 20 мА. |
Коммуникационные каналы и интерфейсы:
- информационный обмен между измерительными и комплексными компонентами ИУС осуществляется по кабелям контрольным с медными жилами с ПВХ изоляцией и проводам термоэлектродным (компенсационным);
- информационный обмен между компонентами среднего и верхнего уровней ИУС осуществляется посредством промышленных информационных сетей: Profibus DP для связи модулей ввода аналоговых сигналов с центральными управляющими устройствами контроллеров ZG1 и ZG2; Industrial Ethernet для связи контроллеров ZG1 и ZG2 с серверами, контроллера ZG2 с АРМ, серверов с АРМ, а также связи между контроллерами ZG1 и ZG2;
- для связи контроллера ZG1 с информационными табло используется интерфейс RS-485.
Климатические условия применения:
- для измерительных и связующих компонентов ИУС:
а) температура окружающего воздуха, °С:
|
1) преобразователи давления измерительные 2) датчики температуры: |
от 5 до 40; |
|
- погружаемая часть |
при измеряемой температуре; |
|
- контактные головки б) относительная влажность при 25 °С, % в) атмосферное давление, кПа |
от 0 до 40; от 40 до 90; от 84 до 106,7. |
|
- для комплексных компонентов, серверов и АРМ ИУС: а) температура окружающего воздуха, °С б) относительная влажность при 25 °С, % в) атмосферное давление, кПа |
от 5 до 40; от 40 до 80; от 84 до 106,7. |
|
Средний срок службы ИУС, лет, не менее |
8. |
Система обеспечения единого времени ИУС согласована со шкалой координированного времени государственного первичного эталона Российской Федерации UTC (SU) с погрешностью в пределах ±5 с.
Таблица 2
|
№ ИК |
Наименование ИК ИУС |
Диапазон измерений физической величины, ед. измерений |
СИ, входящие в состав ИК ИУС |
Границы допускаемой основной погрешности ИК |
Границы допускаемой погрешности ИК в рабочих условиях | |||
|
Наименование, тип СИ |
Пределы допускаемой основной погрешности компонента ИК |
Пределы допускаемой дополнительной погрешности компонента ИК |
Номер в Гос. реестре СИ | |||||
|
1 |
Расход кислорода на плавку ярус 1 |
от 0 до 500 м3/мин |
Преобразователь давления измерительный SITRANS P DSIII мод. 7MF4433-1EA02-1AA1-Z |
Y<±(0,0029^r+ +0,071) % |
Yt<±(0,08-r+0,1) % |
30883-05 |
Y=±2,2 % |
Y=±2,7 % |
|
Модуль ввода аналоговых сигналов SM 331 мод.: 6ES7 331 7KF02 0AB0 контроллера программируемого Simatic S7-400 (далее - Модуль 6ES7 331 7KF02 0AB0) |
Y ±0,5 % |
Y ±0,005 %/К |
15772-06 | |||||
|
2 |
Расход кислорода на плавку ярус 2 |
от 0 до 500 м3/мин |
Преобразователь давления измерительный SITRANS P DSIII мод. 7MF4433-1EA02-1AA1-Z |
Y<±(0,0029-r+ +0,071) % |
Yt<±(0,08-r+0,1) % |
30883-05 |
Y=±2,2 % |
Y=±2,7 % |
|
Модуль 6ES7 331 7KF02 0AB0 |
Y=±0,5 % |
Y ±0,005 %/К |
15772-06 | |||||
|
3 |
Давление кислорода на плавку ярус 1 |
от 0 до 25 кгс/см2 |
Преобразователь давления измерительный SITRANS P Z мод. 7MF1564-3CD00-1AA1 |
Y=±0,25% |
Yt=±0,25 %/10 ОС |
30883-05 |
Y=±0,6 % |
Y=±0,8 % |
|
Модуль 6ES7 331 7KF02 0AB0 |
Y=±0,5 % |
Y=±0,005 %/К |
15772-06 | |||||
|
4 |
Давление кислорода на плавку ярус 2 |
от 0 до 25 кгс/см2 |
Преобразователь давления измерительный SITRANS P Z мод. 7MF1563-3CD00-1AA1 |
Y=±0,25% |
Yt=±0,25 %/10 ОС |
30883-05 |
Y=±0,6 % |
Y=±0,8 % |
|
Модуль 6ES7 331 7KF02 0AB0 |
Y=±0,5 % |
Y=±0,005 %/К |
15772-06 | |||||
|
5 |
Расход технической воды на фурму стенд 1 |
от 0 до 160 м3/ч |
Преобразователь давления измерительный SITRANS P DSIII мод. 7MF4433-1FA02-1AA1-Z |
Y<±(0,0029-r+ +0,071) % |
Yt<±(0,08-r+0,1) % |
30883-05 |
Y=±2,0 % |
Y=±3 % |
|
Модуль 6ES7 331 7KF02 0AB0 |
Y=±0,5 % |
Y=±0,005 %/К |
15772-06 | |||||
|
6 |
Расход технической воды на фурму стенд 2 |
от 0 до 160 м3/ч |
Преобразователь давления измерительный SITRANS P DSIII мод. 7MF4433-1FA02-1AA1-Z |
Y<±(0,0029-r+ +0,071) % |
Yt<±(0,08-r+0,1) % |
30883-05 |
Y=±2,0 % |
Y=±3 % |
|
Модуль 6ES7 331 7KF02 0AB0 |
Y=±0,5 % |
Y=±0,005 %/К |
15772-06 | |||||
Таблица 2
|
№ ИК |
Наименование ИК ИУС |
Диапазон измерений физической величины, ед. измерений |
СИ, входящие в состав ИК ИУС |
Границы допускаемой основной погрешности ИК |
Границы допускаемой погрешности ИК в рабочих условиях | |||
|
Наименование, тип СИ |
Пределы допускаемой основной погрешности компонента ИК |
Пределы допускаемой дополнительной погрешности компонента ИК |
Номер в Гос. реестре СИ | |||||
|
7 |
Давление технической воды на фурму стенд 1 |
от 0 до 10 кгс/см2 |
Преобразователь давления измерительный SITRANS P Z мод. 7MF1563-3CB00-1AA1 |
Y=±0,25 % |
Yt=±0,25 %/10 ОС |
30883-05 |
Y=±0,7 % |
Y=±1,2 % |
|
Модуль 6ES7 331 7KF02 0AB0 |
Y=±0,5 % |
Y ±0,005 %/К |
15772-06 | |||||
|
8 |
Давление технической воды на фурму стенд 2 |
от 0 до 10 кгс/см2 |
Преобразователь давления измерительный SITRANS P Z мод. 7MF1564-3CB00-1AA1 |
Y=±0,25 % |
Yt=±0,25 %/10 ОС |
30883-05 |
Y=±0,7 % |
Y=±1,2 % |
|
Модуль 6ES7 331 7KF02 0AB0 |
Y=±0,5 % |
Y ±0,005 %/К |
15772-06 | |||||
|
9 |
Расход кислорода на сушку |
от 0 до 250 м3/мин |
Преобразователь давления измерительный SITRANS P DSIII мод. 7MF4433-1GA02-1AA1-Z |
Y<±(0,0029^+ +0,071) % |
Yt<±(0,084+0,1) % |
30883-05 |
Y=±2,3 % |
Y=±2,8 % |
|
Модуль 6ES7 331 7KF02 0AB0 |
Y=±0,5 % |
y ±0,005 %/К |
15772-06 | |||||
|
10 |
Расход азота |
от 0 до 500 м3/мин |
Преобразователь давления измерительный SITRANS P DSIII мод. 7MF4433-1FA02-1AA1-Z |
Y<±(0,0029-r+ +0,071) % |
Yt<±(0,084+0,1) % |
30883-05 |
Y=±2,2 % |
Y=±2,7 % |
|
Модуль 6ES7 331 7KF02 0AB0 |
Y=±0,5 % |
Y ±0,005 %/К |
15772-06 | |||||
|
11 |
Давление азота |
от 0 до 16 кгс/см2 |
Преобразователь давления измерительный SITRANS P Z мод. 7MF1563-3CBOO-1AA1 |
Y=±0,25 % |
Yt=±0,25 %/10 ОС |
30883-05 |
Y=±0,6 % |
Y=±0,8 % |
|
Модуль 6ES7 331 7KF02 0AB0 |
Y=±0,5 % |
Y ±0,005 %/К |
15772-06 | |||||
|
12 |
Давление кислорода на сушку |
от 0 до 25 кгс/см2 |
Преобразователь давления измерительный SITRANS P Z мод. 7MF1563-3CD00-1AA1 |
Y =±0,25 % |
Yt = ±0,25 %/10 ОС |
30883-05 |
Y=±0,6 % |
Y=±0,8 % |
|
Модуль 6ES7 331 7KF02 0AB0 |
Y=±0,5 % |
Y ±0,005 %/К |
15772-06 | |||||
|
13 |
Температура технической воды на фурму стенд 1 |
от 0 до 100 °С |
Термопреобразователь с унифицированным выходным сигналом мод. ТСМУ Метран 274-02-(100М) |
Y=±0,25 % |
Y=±0,25 % на каждые 10°С |
21968-06 |
A=±0,8 °С |
A=±1,4 °С |
|
Модуль 6ES7 331 7KF02 0AB0 |
Y=±0,5 % |
Y=±0,005 %/К |
15772-06 | |||||
Таблица 2
|
№ ИК |
Наименование ИК ИУС |
Диапазон измерений физической величины, ед. измерений |
СИ, входящие в состав ИК ИУС |
Границы допускаемой основной погрешности ИК |
Границы допускаемой погрешности ИК в рабочих условиях | |||
|
Наименование, тип СИ |
Пределы допускаемой основной погрешности компонента ИК |
Пределы допускаемой дополнительной погрешности компонента ИК |
Номер в Гос. реестре СИ | |||||
|
14 |
Температура технической воды на фурму стенд 2 |
от 0 до 100 °С |
Термопреобразователь с унифицированным выходным сигналом мод. ТСМУ Метран 274-02-(100М) |
Y=±0,25 % |
Y=±0,25 % на каждые 10°С |
21968-06 |
Д=±0,8 °С |
Д=±1,4 °С |
|
Модуль 6ES7 331 7KF02 0AB0 |
Y=±0,5 % |
у=±0,005 %/К |
15772-06 | |||||
|
15 |
Температура воздуха в шкафу AZ G039.1-1 |
от минус 50 до 50 °С |
Термопреобразователь сопротивления взрывобезопасный с унифицированным выходным сигналом ТСМУ 94185.00.100 |
Y=±0,5 % |
Y=±0,025 %/К |
17627-98 |
Д=±0,8 °С |
Д=±1,4 °С |
|
Модуль 6ES7 331 7KF02 0AB0 |
Y=±0,5 % |
Y=±0,005 %/К |
15772-06 | |||||
|
16 |
Температура кладки конвертера |
от 0 до 1100 °С |
Преобразователь термоэлектрический кабельный КТХА 01.16-020-К1-И-Т310 |
Класс 1 Д=±1,5 °С от 0 до 375 °С Д=±(0,004Ч) °С свыше 375 °С |
_ |
36765-09 |
Д=±9 °С от 0 до 375 °С Д=±(8+ +0,0041) °С свыше 375 ° С |
Д=±14 °С от 0 до 375 °С Д=±(12+ +0,0041) °С свыше 375 ° С |
|
Модуль 6ES7 331 7KF02 0AB0 |
Y=±0,7 % |
Y=±1,1 % |
15772-06 | |||||
|
17 |
Температура воды на торкретирование |
от 0 до 100 °С |
Термопреобразователь с унифицированным выходным сигналом мод. ТСМУ Метран 274-02-(100М) |
Y=±0,25 % |
Y=±0,25 % на каждые 10°С |
21968-06 |
Д=±0,8 °С |
Д=±1,4 °С |
|
Модуль 6ES7 331 7KF02 0AB0 |
Y=±0,5 % |
Y=±0,005 %/К |
15772-06 | |||||
|
18 |
Температура кислорода на плавку |
от минус 50 до 50 °С |
Термопреобразователь с унифицированным выходным сигналом мод. ТСМУ Метран 274-02-(100М) |
Y=±0,25 % |
Y=±0,25 % на каждые 10°С |
21968-06 |
Д=±0,8 °С |
Д=±1,4 °С |
|
Модуль 6ES7 331 7KF02 0AB0 |
Y=±0,5 % |
Y=±0,005 %/К |
15772-06 | |||||
|
19 |
Температура кислорода на сушку |
от минус 50 до 50 °С |
Термопреобразователь с унифицированным выходным сигналом мод. ТСМУ Метран 274-02-(100М) |
Y=±0,25 % |
Y=±0,25 % на каждые 10°С |
21968-06 |
Д=±0,8 °С |
Д=±1,4 °С |
|
Модуль 6ES7 331 7KF02 0AB0 |
Y=±0,5 % |
Y=±0,005 %/К |
15772-06 | |||||
Таблица 2
|
№ ИК |
Наименование ИК ИУС |
Диапазон измерений физической величины, ед. измерений |
СИ, входящие в состав ИК ИУС |
Границы допускаемой основной погрешности ИК |
Границы допускаемой погрешности ИК в рабочих условиях | |||
|
Наименование, тип СИ |
Пределы допускаемой основной погрешности компонента ИК |
Пределы допускаемой дополнительной погрешности компонента ИК |
Номер в Гос. реестре СИ | |||||
|
20 |
Температура воздуха в шкафу AZ 039.1-1 |
от минус 50 до 100 °С |
Термопреобразователь сопротивления взрывобезопасный с унифицированным выходным сигналом ТСМУ 94185.00.100 |
Y=±0,5 % |
Y=±0,025 %/К |
17627-98 |
Д=±1,0 °С |
Д=±1,6 °С |
|
Модуль 6ES7 331 7KF02 0AB0 |
Y=±0,5 % |
Y=±0,005 %/К |
15772-06 | |||||
|
21 |
Расход циркуляционной воды на фронтовой экран кессона |
от 0 до 320 м3/ч |
Преобразователь давления измерительный SITRANS P DSIII мод. 7MF4433-1FA02-1AA1-Z |
y<t(0,0029-r+ +0,071) % |
Yt<±(0,08-r+0,1) % |
30883-05 |
у=±2,2 % |
Y=±2,6 % |
|
Модуль 6ES7 331 7KF02 0AB0 |
Y=±0,5 % |
Y==±0,005 %/К |
15772-06 | |||||
|
22 |
Расход циркуляционной воды на левый экран кессона |
от 0 до 320 м3/ч |
Преобразователь давления измерительный SITRANS P DSIII мод. 7MF4433-1FA02-1AA1-Z |
y<t(0,0029-r+ +0,071) % |
Yt<±(0,084+0,1) % |
30883-05 |
у=±2,2 % |
Y=±2,6 % |
|
Модуль 6ES7 331 7KF02 0AB0 |
Y=±0,5 % |
Y==±0,005 %/К |
15772-06 | |||||
|
23 |
Расход циркуляционной воды на задний экран кессона |
от 0 до 320 м3/ч |
Преобразователь давления измерительный SITRANS P DSIII мод. 7MF4433-1FA02-1AA1-Z |
y<t(0,0029-r+ +0,071) % |
Yt<±(0,084+0,1) % |
30883-05 |
у=±2,2 % |
Y=±2,6 % |
|
Модуль 6ES7 331 7KF02 0AB0 |
Y ±0.5 % |
Y==±0,005 %/К |
15772-06 | |||||
|
24 |
Расход циркуляционной воды на правый экран кессона |
от 0 до 320 м3/ч |
Преобразователь давления измерительный SITRANS P DSIII мод. 7MF4433-1FA02-1AA1-Z |
y<t(0,0029-r+ +0,071) % |
Yt<±(0,084+0,1) % |
30883-05 |
у=±2,2 % |
Y=±2,6 % |
|
Модуль 6ES7 331 7KF02 0AB0 |
y ±0.5 % |
Y==±0,005 %/К |
15772-06 | |||||
|
25 |
Расход циркуляционной воды на фронтовой экран переходного газохода |
от 0 до 160 м3/ч |
Преобразователь давления измерительный SITRANS P DSIII мод. 7MF4433-1FA02-1AA1-Z |
y<t(0,0029-r+ +0,071) % |
Yt<±(0,08-r+0,1) % |
30883-05 |
у=±2,2 % |
Y=±2,6 % |
|
Модуль 6ES7 331 7KF02 0AB0 |
Y=±0,5 % |
Y==±0,005 %/К |
15772-06 | |||||
Таблица 2
|
№ ИК |
Наименование ИК ИУС |
Диапазон измерений физической величины, ед. измерений |
СИ, входящие в состав ИК ИУС |
Границы допускаемой основной погрешности ИК |
Границы допускаемой погрешности ИК в рабочих условиях | |||
|
Наименование, тип СИ |
Пределы допускаемой основной погрешности компонента ИК |
Пределы допускаемой дополнительной погрешности компонента ИК |
Номер в Гос. реестре СИ | |||||
|
26 |
Расход циркуляционной воды на задний экран переходного газохода |
от 0 до 160 м3/ч |
Преобразователь давления измерительный SITRANS P DSIII мод. 7MF4433-1FA02-1AA1-Z |
у<±(0,0029-г+ +0,071) % |
Yt<±(0,08-r+0,1) % |
30883-05 |
у=±2,2 % |
Y=±2,6 % |
|
Модуль 6ES7 331 7KF02 0AB0 |
у=±0,5 % |
Y==±0,005 %/К |
15772-06 | |||||
|
27 |
Расход технической воды на водоохлаждаемую панель укрытия конвертера |
от 0 до 630 м3/ч |
Преобразователь давления измерительный SITRANS P DSIII мод. 7MF4433-1FA02-1AA1-Z |
y<±(0,0029-r+ +0,071) % |
Yt<±(0,084+0,1) % |
30883-05 |
у=±2,3 % |
Y=±2,8 % |
|
Модуль 6ES7 331 7KF02 0AB0 |
Y=±0,5 % |
Y==±0,005 %/К |
15772-06 | |||||
|
28 |
Давление технической воды на “юбку” |
от 0 до 10 кгс/см2 |
Преобразователь давления измерительный SITRANS P Z мод. 7MF1564-3CB00-1AA1 |
Y=±0,25 % |
Yt=±0,25 %/10 ОС |
30883-05 |
у=±0,7 % |
Y=±1,2 % |
|
Модуль 6ES7 331 7KF02 0AB0 |
Y=±0,5 % |
Y=±0,005 %/К |
15772-06 | |||||
|
29 |
Расход технической воды на экран кессона сыпучих |
от 0 до 50 м3/мин |
Преобразователь давления измерительный SITRANS P DSIII мод. 7MF4433-1FA02-1AA1-Z |
y<±(0,0029-r+ +0,071) % |
Yt<±(0,08-r+0,1) % |
30883-05 |
у=±2,2 % |
Y=±2,7 % |
|
Модуль 6ES7 331 7KF02 0AB0 |
Y=±0,5 % |
Y=±0,005 %/К |
15772-06 | |||||
|
30 |
Расход технической воды на защитный экран кессона |
от 0 до 80 м3/мин |
Преобразователь давления измерительный SITRANS P DSIII мод. 7MF4433-1FA02-1AA1-Z |
y<±(0,0029-r+ +0,071) % |
Yt<±(0,08-r+0,1) % |
30883-05 |
у=±2,3 % |
Y=±2,8 % |
|
Модуль 6ES7 331 7KF02 0AB0 |
Y=±0,5 % |
Y=±0,005 %/К |
15772-06 | |||||
|
31 |
Расход технической воды на экран фурменного кессона |
от 0 до 50 м3/мин |
Преобразователь давления измерительный SITRANS P DSIII мод. 7MF4433-1FA02-1AA1-Z |
y<±(0,0029-r+ +0,071) % |
Yt<±(0,08-r+0,1) % |
30883-05 |
у=±2,2 % |
Y=±2,7 % |
|
Модуль 6ES7 331 7KF02 0AB0 |
Y=±0,5 % |
Y=±0,005 %/К |
15772-06 | |||||
Таблица 2
|
№ ИК |
Наименование ИК ИУС |
Диапазон измерений физической величины, ед. измерений |
СИ, входящие в состав ИК ИУС |
Границы допускаемой основной погрешности ИК |
Границы допускаемой погрешности ИК в рабочих условиях | |||
|
Наименование, тип СИ |
Пределы допускаемой основной погрешности компонента ИК |
Пределы допускаемой дополнительной погрешности компонента ИК |
Номер в Гос. реестре СИ | |||||
|
32 |
Давление воздуха на фурменный кессон и кессон сыпучих |
от 0 до 10 кгс/см2 |
Преобразователь давления измерительный SITRANS P Z мод. 7MF1564-3CB00-1AA1 |
Y=±0,25 % |
Yt=±0,25 %/10 ОС |
30883-05 |
у=±0,7 % |
Y=±1,2 % |
|
Модуль 6ES7 331 7KF02 0AB0 |
Y=±0,5 % |
у=±0,005 %/К |
15772-06 | |||||
|
33 |
Давление воздуха на течку извести и течку ферросплавов |
от 0 до 10 кгс/см2 |
Преобразователь давления измерительный SITRANS P Z мод. 7MF1564-3CB00-1AA1 |
Y=±0,25 % |
Yt=±0,25 %/10 ОС |
30883-05 |
у=±0,7 % |
Y=±1,2 % |
|
Модуль 6ES7 331 7KF02 0AB0 |
Y=±0,5 % |
Y=±0,005 %/К |
15772-06 | |||||
|
34 |
Температура технической воды на выходе из кессона сыпучих |
от 0 до 100 °С |
Термопреобразователь с унифицированным выходным сигналом мод. ТСМУ Метран 274-02-(100М) |
Y=±0,25 % |
Y=±0,25 % на каждые 10°С |
21968-06 |
А=±0,8 °С |
А=±1,4 °С |
|
Модуль 6ES7 331 7KF02 0AB0 |
Y=±0,5 % |
у=±0,005 %/К |
15772-06 | |||||
|
35 |
Расход питательной воды в период продувки |
от 0 до 400 м3/ч |
Преобразователь давления измерительный SITRANS P DSIII мод. 7MF4433-1FA02-1AA1-Z |
y<±(0,0029-r+ +0,071) % |
Yt<±(0,08-r+0,1) % |
30883-05 |
у=±2,3 % |
Y=±2,9 % |
|
Модуль 6ES7 331 7KF02 0AB0 |
Y=±0,5 % |
Y==±0,005 %/К |
15772-06 | |||||
|
36 |
Расход пара после барабана |
от 0 до 320 т/ч |
Преобразователь давления измерительный SITRANS P DSIII мод. 7MF4433-1FA02-1AA1-Z |
y<±(0,0029-r+ +0,071) % |
Yt<±(0,08-r+0,1) % |
30883-05 |
у=±2,2 % |
Y=±2,7 % |
|
Модуль 6ES7 331 7KF02 0AB0 |
Y=±0,5 % |
Y=±0,005 %/К |
15772-06 | |||||
|
37 |
Давление пара в барабане |
от 0 до 60 кгс/см2 |
Преобразователь давления измерительный SITRANS P Z мод. 7MF1564-3CG00-1AA1 |
Y=±0,25 % |
Yt=±0,25 %/10 ОС |
30883-05 |
y=±0,6 % |
Y=±0,8 % |
|
Модуль 6ES7 331 7KF02 0AB0 |
Y=±0,5 % |
Y=±0,005 %/К |
15772-06 | |||||
Таблица 2
|
№ ИК |
Наименование ИК ИУС |
Диапазон измерений физической величины, ед. измерений |
СИ, входящие в состав ИК ИУС |
Границы допускаемой основной погрешности ИК |
Границы допускаемой погрешности ИК в рабочих условиях | |||
|
Наименование, тип СИ |
Пределы допускаемой основной погрешности компонента ИК |
Пределы допускаемой дополнительной погрешности компонента ИК |
Номер в Гос. реестре СИ | |||||
|
38 |
Давление пара на разогрев барабана |
от 0 до 60 кгс/см2 |
Преобразователь давления измерительный SITRANS P Z мод. 7MF1564-3CG00-1AA1 |
Y=±0,25 % |
Yt=±0,25 %/10 ОС |
30883-05 |
Y=±0,6 % |
Y=±0,8 % |
|
Модуль 6ES7 331 7KF02 0AB0 |
Y=±0,5 % |
Y=±0,005 %/К |
15772-06 | |||||
|
39 |
Давление на подводе питательной воды после узла питания |
от 0 до 100 кгс/см2 |
Преобразователь давления измерительный SITRANS P Z мод. 7MF1564-3DA00-1AA1 |
Y=±0,25 % |
Yt=±0,25 %/10 ОС |
30883-05 |
Y=±0,6 % |
Y=±0,8 % |
|
Модуль 6ES7 331 7KF02 0AB0 |
Y=±0,5 % |
Y=±0,005 %/К |
15772-06 | |||||
|
40 |
Уровень воды в барабане котла т. 1 |
от минус 500 до 500 мм |
Преобразователь давления измерительный SITRANS P DSIII мод. 7MF4433-3DA00-1AA1-Z |
y<±(0,0029-r+ +0,071) % |
Yt<±(0,084+0,1) % |
30883-05 |
Y=±2,1 % |
Y=±2,8 % |
|
Модуль 6ES7 331 7KF02 0AB0 |
y=±0,5 % |
Y==±0,005 %/К |
15772-06 | |||||
|
41 |
Расход питательной воды в межпродувочный период |
от 0 до 100 м3/ч |
Преобразователь давления измерительный SITRANS P DSIII мод. 7MF4433-1FA02-1AA1-Z |
y<±(0,0029-r+ +0,071) % |
Yt<±(0,08-r+0,1) % |
30883-05 |
у=±2,3 % |
Y=±2,8 % |
|
Модуль 6ES7 331 7KF02 0AB0 |
Y=±0,5 % |
Y=±0,005 %/К |
15772-06 | |||||
|
42 |
Расход пара в межпродувочный период |
от 0 до 63 т/ч |
Преобразователь давления измерительный SITRANS P DSIII мод. 7MF4433-1FA02-1AA1-Z |
y<±(0,0029-r+ +0,071) % |
Yt<±(0,084+0,1) % |
30883-05 |
y=±2,3 % |
Y=±2,8 % |
|
Модуль 6ES7 331 7KF02 0AB0 |
Y=±0,5 % |
Y=±0,005 %/К |
15772-06 | |||||
|
43 |
Давление питательной воды нитка 1 |
от 0 до 100 кгс/см2 |
Преобразователь давления измерительный SITRANS P Z мод.7MF1564-3DA00-1AA1 |
Y=±0,25 % |
Yt=±0,25 %/10 ОС |
30883-05 |
y=±0,6 % |
Y=±0,8 % |
|
Модуль 6ES7 331 7KF02 0AB0 |
Y=±0,5 % |
Y=±0,005 %/К |
15772-06 | |||||
Таблица 2
|
№ ИК |
Наименование ИК ИУС |
Диапазон измерений физической величины, ед. измерений |
СИ, входящие в состав ИК ИУС |
Границы допускаемой основной погрешности ИК |
Границы допускаемой погрешности ИК в рабочих условиях | |||
|
Наименование, тип СИ |
Пределы допускаемой основной погрешности компонента ИК |
Пределы допускаемой дополнительной погрешности компонента ИК |
Номер в Гос. реестре СИ | |||||
|
44 |
Давление питательной воды нитка 2 |
от 0 до 100 кгс/см2 |
Преобразователь давления измерительный SITRANS P Z мод.7MF1564-3DA00-1AA1 |
Y=±0,25 % |
Yt=±0,25 %/10 ОС |
30883-05 |
Y=±0,6 % |
Y=±0,8 % |
|
Модуль 6ES7 331 7KF02 0AB0 |
Y=±0,5 % |
Y=±0,005 %/К |
15772-06 | |||||
|
45 |
Расход воды на непрерывную продувку |
от 0 до 50 м3/ч |
Преобразователь давления измерительный SITRANS P DSIII мод. 7MF4433-1GA02-1AA1-Z |
Y<±(0,0029^r+ +0,071) % |
Yt<±(0,08-r+0,1) % |
30883-05 |
Y ±2,4 % |
Y=±2,9 % |
|
Модуль 6ES7 331 7KF02 0AB0 |
Y=±0,5 % |
Y=±0,005 %/К |
15772-06 | |||||
|
46 |
Расход технической воды на нож гидро-затвора |
от 0 до 20 м3/ч |
Преобразователь давления измерительный SITRANS P DSIII мод. 7MF4433-1FA02-1AA1-Z |
y<±(0,0029-r+ +0,071) % |
Yt<±(0,08-r+0,1) % |
30883-05 |
y ±2,3 % |
Y=±2,9 % |
|
Модуль 6ES7 331 7KF02 0AB0 |
Y=±0,5 % |
Y=±0,005 %/К |
15772-06 | |||||
|
47 |
Давление оборотной воды перед газоочисткой |
от 0 до 10 кгс/см2 |
Преобразователь давления измерительный SITRANS P Z мод. 7MF1564-3CA00-1AA1 |
Y=±0,25 % |
Yt=±0,25 %/10 ОС |
30883-05 |
y=±0,6 % |
Y=±0,8 % |
|
Модуль 6ES7 331 7KF02 0AB0 |
y ±0,5 % |
Y==±0,005 %/К |
15772-06 | |||||
|
48 |
Расход оборотной воды на узел предварительного охлаждения |
от 0 до 200 м3/ч |
Преобразователь давления измерительный SITRANS P DSIII мод. 7MF4433-1EA02-1AA1-Z |
y<±(0,0029-r+ +0,071) % |
Yt<±(0,08-r+0,1) % |
30883-05 |
y ±2,4 % |
Y=±2,9 % |
|
Модуль 6ES7 331 7KF02 0AB0 |
Y=±0,5 % |
Y=±0,005 %/К |
15772-06 | |||||
|
49 |
Расход оборотной воды на орошаемый газоход |
от 0 до 400 м3/ч |
Преобразователь давления измерительный SITRANS P DSIII мод. 7MF4433-1EA02-1AA1-Z |
y<±(0,0029-r+ +0,071) % |
Yt<±(0,08-r+0,1) % |
30883-05 |
Y ±2,4 % |
Y=±2,9 % |
|
Модуль 6ES7 331 7KF02 0AB0 |
Y=±0,5 % |
Y=±0,005 %/К |
15772-06 | |||||
|
50 |
Расход оборотной воды на трубе Вентури |
от 0 до 400 м3/ч |
Преобразователь давления измерительный SITRANS P DSIII мод. 7MF4433-1EA02-1AA1-Z |
y<±(0,0029-r+ +0,071) % |
Yt<±(0,08-r+0,1) % |
30883-05 |
y ±2,4 % |
Y=±2,9 % |
|
Модуль 6ES7 331 7KF02 0AB0 |
Y=±0,5 % |
Y=±0,005 %/К |
15772-06 | |||||
Таблица 2
|
№ ИК |
Наименование ИК ИУС |
Диапазон измерений физической величины, ед. измерений |
СИ, входящие в состав ИК ИУС |
Границы допускаемой основной погрешности ИК |
Границы допускаемой погрешности ИК в рабочих условиях | |||
|
Наименование, тип СИ |
Пределы допускаемой основной погрешности компонента ИК |
Пределы допускаемой дополнительной погрешности компонента ИК |
Номер в Гос. реестре СИ | |||||
|
51 |
Давление технической воды на нож гидрозатвора |
от 0 до 10 кгс/см2 |
Преобразователь давления измерительный SITRANS P Z мод. 7MF1564-3CA00-1AA1 |
Y=±0,25 % |
Yt=±0,25 %/10 ОС |
30883-05 |
Y=±0,6 % |
Y=±0,8 % |
|
Модуль 6ES7 331 7KF02 0AB0 |
у=±0,5 % |
у=±0,005 %/К |
15772-06 | |||||
|
52 |
Температура технической воды на выходе из фурменного кессона |
от 0 до 100 °С |
Термопреобразователь с унифицированным выходным сигналом мод. ТСМУ Метран 274-02-(100М) |
Y=±0,25 % |
Y=±0,25 % на каждые 10°С |
21968-06 |
А=±0,8 °С |
А=±1,4 °С |
|
Модуль 6ES7 331 7KF02 0AB0 |
Y=±0,5 % |
Y=±0,005 %/К |
15772-06 | |||||
|
53 |
Уровень воды в пароаккуму-ляторе № 1 |
от минус 300 до 300 мм |
Преобразователь давления измерительный SITRANS P DSIII мод. 7MF4433-3DA00-1AA1-Z |
y<±(0,0029-r+ +0,071) % |
yt<±(0,08-r+0,1) % |
30883-05 |
у=±2,2 % |
Y=±2,8 % |
|
Модуль 6ES7 331 7KF02 0AB0 |
Y=±0,5 % |
Y=±0,005 %/К |
15772-06 | |||||
|
54 |
Разрежение дымовых газов в переходном газоходе |
от минус 50 до 50 кгс/м2 |
Преобразователь давления измерительный SITRANS P DSIII мод. 7MF4433-3CA00-1AA1-Z |
y<±(0,0029-r+ +0,071) % |
Yt<±(0,08-r+0,1) % |
30883-05 |
у=±2,0 % |
Y=±5 % |
|
Модуль 6ES7 331 7KF02 0AB0 |
Y=±0,5 % |
Y=±0,005 %/К |
15772-06 | |||||
|
55 |
Разрежение дымовых газов в опускном газоходе |
от 0 до 250 кгс/м2 |
Преобразователь давления измерительный SITRANS P DSIII мод. 7MF4433-3CA00-1AA1-Z |
y<±(0,0029-r+ +0,071) % |
Yt<±(0,08-r+0,1) % |
30883-05 |
у=±2,0 % |
Y=±2,6 % |
|
Модуль 6ES7 331 7KF02 0AB0 |
Y=±0,5 % |
Y=±0,005 %/К |
15772-06 | |||||
|
56 |
Разрежение дымовых газов перед орошаемым газоходом |
от 0 до 250 кгс/м2 |
Преобразователь давления измерительный SITRANS P DSIII мод. 7MF4433-3CA00-1AA1-Z |
y<±(0,0029-r+ +0,071) % |
Yt<±(0,08-r+0,1) % |
30883-05 |
у=±2,0 % |
Y=±2,6 % |
|
Модуль 6ES7 331 7KF02 0AB0 |
Y=±0,5 % |
Y=±0,005 %/К |
15772-06 | |||||
Таблица 2
|
№ ИК |
Наименование ИК ИУС |
Диапазон измерений физической величины, ед. измерений |
СИ, входящие в состав ИК ИУС |
Границы допускаемой основной погрешности ИК |
Границы допускаемой погрешности ИК в рабочих условиях | |||
|
Наименование, тип СИ |
Пределы допускаемой основной погрешности компонента ИК |
Пределы допускаемой дополнительной погрешности компонента ИК |
Номер в Гос. реестре СИ | |||||
|
57 |
Разрежение дымовых газов перед трубой Вентури |
от 0 до 250 кгс/м2 |
Преобразователь давления измерительный SITRANS P DSIII мод. 7MF4433-3CA00-1AA1-Z |
Y<±(0,0029^r+ +0,071) % |
Yt<±(0,08-r+0,1) % |
30883-05 |
Y=±2,0 % |
Y=±2,6 % |
|
Модуль 6ES7 331 7KF02 0AB0 |
Y=±0,5 % |
Y=±0,005 %/К |
15772-06 | |||||
|
58 |
Разрежение дымовых газов после трубы Вентури |
от 0 до 1600 кгс/м2 |
Преобразователь давления измерительный SITRANS P DSIII мод. 7MF4433-3DA00-1AA1-Z |
Y<±(0,0029-r+ +0,071) % |
Yt<±(0,08-r+0,1) % |
30883-05 |
Y=±2,3 % |
Y=±2,8 % |
|
Модуль 6ES7 331 7KF02 0AB0 |
Y=±0,5 % |
Y=±0,005 %/К |
15772-06 | |||||
|
59 |
Разрежение дымовых газов после газоочистки |
от 0 до 1600 кгс/м2 |
Преобразователь давления измерительный SITRANS P DSIII мод. 7MF4433-3DA00-1AA1-Z |
Y<±(0,0029-r+ +0,071) % |
Yt<±(0,084+0,1) % |
30883-05 |
Y=±2,3 % |
Y=±2,8 % |
|
Модуль 6ES7 331 7KF02 0AB0 |
Y=±0,5 % |
Y=±0,005 %/К |
15772-06 | |||||
|
60 |
Разность давлений газов на трубе Вентури |
от 0 до 1600 кгс/м2 |
Преобразователь давления измерительный SITRANS P DSIII мод. 7MF4433-3DA00-1AA1-Z |
Y<±(0,0029-r+ +0,071) % |
Yt<±(0,084+0,1) % |
30883-05 |
Y=±2,3 % |
Y=±2,8 % |
|
Модуль 6ES7 331 7KF02 0AB0 |
Y=±0,5 % |
Y=±0,005 %/К |
15772-06 | |||||
|
61 |
Расход технической воды на дополнительную панель |
от 0 до 150 м3/ч |
Преобразователь давления измерительный SITRANS P DSIII мод. 7MF4433-3DA00-1AA1-Z |
Y<±(0,0029-r+ +0,071) % |
Yt<±(0,08-r+0,1) % |
30883-05 |
Y=±2,3 % |
Y=±2,8 % |
|
Модуль 6ES7 331 7KF02 0AB0 |
Y=±0,5 % |
Y=±0,005 %/К |
15772-06 | |||||
|
62 |
Температура пара |
от 0 до 300 °С |
Преобразователь термоэлектрический ТХАВ -2088-02 |
Класс 2 A=±2,5 °С |
_ |
20285-10 |
A=±5 °С |
A=±6 °С |
|
Модуль 6ES7 331 7KF02 0AB0 |
Y=±0,7 % |
Y=±1,1 % |
15772-06 | |||||
|
63 |
Температура пара на разогрев барабана |
от 0 до 250 °С |
Преобразователь термоэлектрический кабельный ТХАУ Метран-271 02-200- 1,0-Н10 |
Y ±0,5 % |
Y=±0,45 % на каждые 10°С |
21968-06 |
A=±3 °С |
A=±5 °С |
|
Модуль 6ES7 331 7KF02 0AB0 |
Y=±0,5 % |
Y=±0,005 %/К |
15772-06 | |||||
Таблица 2
|
№ ИК |
Наименование ИК ИУС |
Диапазон измерений физической величины, ед. измерений |
СИ, входящие в состав ИК ИУС |
Границы допускаемой основной погрешности ИК |
Границы допускаемой погрешности ИК в рабочих условиях | |||
|
Наименование, тип СИ |
Пределы допускаемой основной погрешности компонента ИК |
Пределы допускаемой дополнительной погрешности компонента ИК |
Номер в Гос. реестре СИ | |||||
|
64 |
Температура воды на сливе из юбки |
от 0 до 100 °С |
Термопреобразователь с унифицированным выходным сигналом мод. ТСМУ Метран 274-02-(100М) |
Y=±0,25 % |
Y=±0,25 % на каждые 10°С |
21968-06 |
А=±0,8 °С |
А=±1,4 °С |
|
Модуль 6ES7 331 7KF02 0AB0 |
Y=±0,5 % |
Y=±0,005 %/К |
15772-06 | |||||
|
65 |
Температура питательной воды |
от 0 до 100 °С |
Термопреобразователь с унифицированным выходным сигналом мод. ТСМУ Метран 274-02-(100М) |
Y=±0,25 % |
Y=±0,25 % на каждые 10°С |
21968-06 |
А=±0,8 °С |
А=±1,4 °С |
|
Модуль 6ES7 331 7KF02 0AB0 |
Y=±0,5 % |
Y=±0,005 %/К |
15772-06 | |||||
|
66 |
Температура оборотной воды перед газоочисткой |
от 0 до 100 °С |
Термопреобразователь с унифицированным выходным сигналом мод. ТСМУ Метран 274-02-(100М) |
Y=±0,25 % |
Y=±0,25 % на каждые 10°С |
21968-06 |
А=±0,8 °С |
А=±1,4 °С |
|
Модуль 6ES7 331 7KF02 0AB0 |
Y=±0,5 % |
Y=±0,005 %/К |
15772-06 | |||||
|
67 |
Температура технической воды из бака гидрозатвора узла предварительного охлаждения |
от 0 до 100 °С |
Термопреобразователь с унифицированным выходным сигналом мод. ТСМУ Метран 274-02 |
Y=±0,25 % |
Y=±0,25 % на каждые 10°С |
21968-06 |
А=±0,8 °С |
А=±1,4 °С |
|
Модуль 6ES7 331 7KF02 0AB0 |
Y=±0,5 % |
Y=±0,005 %/К |
15772-06 | |||||
|
68 |
Расход циркуляционной воды на ХВО (химводоочи-стка) |
от 0 до 160 м3/ч |
Преобразователь давления измерительный SITRANS P DSIII мод. 7MF4433-1EA02-1AA1-Z |
y<±(0,0029-r+ +0,071) % |
Yt<±(0,08-r+0,1) % |
30883-05 |
Y=±2,4 % |
Y=±2,9 % |
|
Модуль 6ES7 331 7KF02 0AB0 |
Y=±0,5 % |
Y=±0,005 %/К |
15772-06 | |||||
Таблица 2
|
№ ИК |
Наименование ИК ИУС |
Диапазон измерений физической величины, ед. измерений |
СИ, входящие в состав ИК ИУС |
Границы допускаемой основной погрешности ИК |
Границы допускаемой погрешности ИК в рабочих условиях | |||
|
Наименование, тип СИ |
Пределы допускаемой основной погрешности компонента ИК |
Пределы допускаемой дополнительной погрешности компонента ИК |
Номер в Гос. реестре СИ | |||||
|
69 |
Температура технической воды из бака гидрозатвора орошаемого газохода |
от 0 до 100 °С |
Термопреобразователь с унифицированным выходным сигналом мод. ТСМУ Метран 274-02-(100М) |
Y=±0,25 % |
Y=±0,25 % на каждые 10°С |
21968-06 |
А=±0,8 °С |
А=±1,4 °С |
|
Модуль 6ES7 331 7KF02 0AB0 |
Y=±0,5 % |
Y=±0,005 %/К |
15772-06 | |||||
|
70 |
Температура технической воды из бака гидрозатвора после трубы Вентури |
от 0 до 100 °С |
Термопреобразователь с унифицированным выходным сигналом мод. ТСМУ Метран 274-02-(100М) |
Y=±0,25 % |
Y=±0,25 % на каждые 10°С |
21968-06 |
А=±0,8 °С |
А=±1,4 °С |
|
Модуль 6ES7 331 7KF02 0AB0 |
Y=±0,5 % |
Y=±0,005 %/К |
15772-06 | |||||
|
71 |
Температура в шкафу AZG 039.2-1 |
от 0 до 100 °С |
Термопреобразователь сопротивления взрывобезопасный с унифицированным выходным сигналом ТСМУ 94185.00.100 |
Y=±0,5 % |
Y=±0,025 %/К |
17627-98 |
А=±0,8 °С |
А=±1,4 °С |
|
Модуль 6ES7 331 7KF02 0AB0 |
Y=±0,5 % |
Y=±0,005 %/К |
15772-06 | |||||
|
72 |
Уровень воды в барабане котла т.2 |
от минус 500 до 500 мм |
Преобразователь давления измерительный SITRANS P DSIII мод. 7MF4433-3DA00-1AA1-Z |
y<±(0,0029-r+ +0,071) % |
Yt<±(0,08-r+0,1) % |
30883-05 |
Y=±2,1 % |
Y=±2,7 % |
|
Модуль 6ES7 331 7KF02 0AB0 |
Y=±0,5 % |
Y=±0,005 %/К |
15772-06 | |||||
|
73 |
Температура дымовых газов перед трубой Вентури |
от 0 до 100 °С |
Термопреобразователь с унифицированным выходным сигналом мод. ТСМУ Метран 274-02-(100М) |
Y=±0,25 % |
Y=±0,25 % на каждые 10°С |
21968-06 |
А=±0,8 °С |
А=±1,4 °С |
|
Модуль 6ES7 331 7KF02 0AB0 |
Y=±0,5 % |
Y=±0,005 %/К |
15772-06 | |||||
Таблица 2
|
№ ИК |
Наименование ИК ИУС |
Диапазон измерений физической величины, ед. измерений |
СИ, входящие в состав ИК ИУС |
Границы допускаемой основной погрешности ИК |
Границы допускаемой погрешности ИК в рабочих условиях | |||
|
Наименование, тип СИ |
Пределы допускаемой основной погрешности компонента ИК |
Пределы допускаемой дополнительной погрешности компонента ИК |
Номер в Гос. реестре СИ | |||||
|
74 |
Температура дымовых газов после газоочистки |
от 0 до 100 °С |
Термопреобразователь с унифицированным выходным сигналом мод. ТСМУ Метран 274-02-(100М) |
Y=±0,25 % |
Y=±0,25 % на каждые 10°С |
21968-06 |
A=±0,8 °С |
A=±1,4 °С |
|
Модуль 6ES7 331 7KF02 0AB0 |
Y=±0,5 % |
Y=±0,005 %/К |
15772-06 | |||||
|
75 |
Температура технической воды на гидросмыв гидрозатвора узла предварительного охлаждения |
от 0 до 100 °С |
Термопреобразователь с унифицированным выходным сигналом мод. ТСМУ Метран 274-02-(100М) |
Y=±0,25 % |
Y=±0,25 % на каждые 10°С |
21968-06 |
A=±0,8 °С |
A=±1,4 °С |
|
Модуль 6ES7 331 7KF02 0AB0 |
Y=±0,5 % |
у=±0,005 %/К |
15772-06 | |||||
|
76 |
Уровень воды в пароаккуму-ляторе № 2 |
от минус 350 до 300 мм |
Преобразователь давления измерительный SITRANS P DSIII мод. 7MF4433-3DA00-1AA1-Z |
y<±(0,0029-r+ +0,071) % |
Yt<±(0,084+0,1) % |
30883-05 |
у=±2,2 % |
Y=±2,8 % |
|
Модуль 6ES7 331 7KF02 0AB0 |
Y=±0,5 % |
у==±0,005 %/К |
15772-06 | |||||
|
77 |
Температура стенок бункера предварительного охлаждения т.1 |
от 0 до 400 °С |
Преобразователь термоэлектрический ТХАВ-0188-01-2000-2-25 |
Класс 2 A=±2,5 °С от 0 до 333 °С A=±(0,00751) °С свыше 333 °С |
_ |
20286-10 |
A=±5 °С от 0 до 333 °С A=±(2,8+ +0,00751) °С свыше 333 °С |
A=±7 °С от 0 до 333 °С A=±(4+ +0,00751) °С свыше 333 °С |
|
Модуль 6ES7 331 7KF02 0AB0 |
Y=±0,7 % |
Y=±1,1 % |
15772-06 | |||||
|
78 |
Температура стенок бункера предварительного охлаждения т.2 |
от 0 до 400 °С |
Преобразователь термоэлектрический ТХАВ-0188-01-2000-2-25 |
Класс 2 A=±2,5 °С от 0 до 333 °С A=±(0,00751) °С свыше 333 °С |
_ |
20286-10 |
A=±5 °С от 0 до 333 °С A=±(2,8+ +0,00751) °С свыше 333 °С |
A=±7 °С от 0 до 333 °С A=±(4+ +0,00751) °С свыше 333 °С |
|
Модуль 6ES7 331 7KF02 0AB0 |
Y=±0,7 % |
Y=±1,1 % |
15772-06 | |||||
Таблица 2
|
№ ИК |
Наименование ИК ИУС |
Диапазон измерений физической величины, ед. измерений |
СИ, входящие в состав ИК ИУС |
Границы допускаемой основной погрешности ИК |
Границы допускаемой погрешности ИК в рабочих условиях | |||
|
Наименование, тип СИ |
Пределы допускаемой основной погрешности компонента ИК |
Пределы допускаемой дополнительной погрешности компонента ИК |
Номер в Гос. реестре СИ | |||||
|
79 |
Температура стенок бункера предварительного охлаждения т.3 |
от 0 до 400 °С |
Преобразователь термоэлектрический ТХАВ-0188-01-2000-2-25 |
Класс 2 А=±2,5 °С от 0 до 333 °С А=±(0,00751) °С свыше 333 °С |
_ |
20286-10 |
А=±5 °С от 0 до 333 °С А=±(2,8+ +0,00751) °С свыше 333 °С |
А=±7 °С от 0 до 333 °С А=±(4+ +0,00751) °С свыше 333 °С |
|
Модуль 6ES7 331 7KF02 0AB0 |
Y=±0,7 % |
Y=±1,1 % |
15772-06 | |||||
|
80 |
Температура стенок бункера предварительного охлаждения т.4 |
от 0 до 400 °С |
Преобразователь термоэлектрический ТХАВ-0188-01-2000-2-25 |
Класс 2 А=±2,5 °С от 0 до 333 °С А=±(0,00751) °С свыше 333 °С |
_ |
20286-10 |
А=±5 °С от 0 до 333 °С А=±(2,8+ +0,00751) °С свыше 333 °С |
А=±7 °С от 0 до 333 °С А=±(4+ +0,00751) °С свыше 333 °С |
|
Модуль 6ES7 331 7KF02 0AB0 |
Y=±0,7 % |
Y=±1,1 % |
15772-06 | |||||
|
81 |
Температура стенок бункера предварительного охлаждения т.5 |
от 0 до 400 °С |
Преобразователь термоэлектрический ТХАВ-0188-01-2000-2-25 |
Класс 2 А=±2,5 °С от 0 до 333 °С А=±(0,00751) °С свыше 333 °С |
_ |
20286-10 |
А=±5 °С от 0 до 333 °С А=±(2,8+ +0,00751) °С свыше 333 °С |
А=±7 °С от 0 до 333 °С А=±(4+ +0,00751) °С свыше 333 °С |
|
Модуль 6ES7 331 7KF02 0AB0 |
Y=±0,7 % |
Y=±1,1 % |
15772-06 | |||||
|
82 |
Температура стенок бункера предварительного охлаждения т.6 |
от 0 до 400 °С |
Преобразователь термоэлектрический ТХАВ-0188-01-2000-2-25 |
Класс 2 А=±2,5 °С от 0 до 333 °С А=±(0,00751) °С свыше 333 °С |
_ |
20286-10 |
А=±5 °С от 0 до 333 °С А=±(2,8+ +0,00751) °С свыше 333 °С |
А=±7 °С от 0 до 333 °С А=±(4+ +0,00751) °С свыше 333 °С |
|
Модуль 6ES7 331 7KF02 0AB0 |
Y=±0,7 % |
Y=±1,1 % |
15772-06 | |||||
|
83 |
Температура стенок бункера предварительного охлаждения т.7 |
от 0 до 400 °С |
Преобразователь термоэлектрический ТХАВ-0188-01-2000-2-25 |
Класс 2 А=±2,5 °С от 0 до 333 °С А=±(0,00751) °С свыше 333 °С |
_ |
20286-10 |
А=±5 °С от 0 до 333 °С А=±(2,8+ +0,00751) °С свыше 333 °С |
А=±7 °С от 0 до 333 °С А=±(4+ +0,00751) °С свыше 333 °С |
|
Модуль 6ES7 331 7KF02 0AB0 |
Y=±0,7 % |
Y=±1,1 % |
15772-06 | |||||
Таблица 2
|
№ ИК |
Наименование ИК ИУС |
Диапазон измерений физической величины, ед. измерений |
СИ, входящие в состав ИК ИУС |
Границы допускаемой основной погрешности ИК |
Границы допускаемой погрешности ИК в рабочих условиях | |||
|
Наименование, тип СИ |
Пределы допускаемой основной погрешности компонента ИК |
Пределы допускаемой дополнительной погрешности компонента ИК |
Номер в Гос. реестре СИ | |||||
|
84 |
Температура стенок бункера предварительного охлаждения т.8 |
от 0 до 400 °С |
Преобразователь термоэлектрический ТХАВ-0188-01-2000-2-25 |
Класс 2 А=±2,5 °С от 0 до 333 °С А=±(0,00751) °С свыше 333 °С |
_ |
20286-10 |
А=±5 °С от 0 до 333 °С А=±(2,8+ +0,00751) °С свыше 333 °С |
А=±7 °С от 0 до 333 °С А=±(4+ +0,00751) °С свыше 333 °С |
|
Модуль 6ES7 331 7KF02 0AB0 |
Y=±0,7 % |
Y=±1,1 % |
15772-06 | |||||
|
85 |
Температура стенок бункера предварительного охлаждения т.9 |
от 0 до 400 °С |
Преобразователь термоэлектрический ТХАВ-0188-01-2000-2-25 |
Класс 2 А=±2,5 °С от 0 до 333 °С А=±(0,00751) °С свыше 333 °С |
_ |
20286-10 |
А=±5 °С от 0 до 333 °С А=±(2,8+ +0,00751) °С свыше 333 °С |
А=±7 °С от 0 до 333 °С А=±(4+ +0,00751) °С свыше 333 °С |
|
Модуль 6ES7 331 7KF02 0AB0 |
Y=±0,7 % |
Y=±1,1 % |
15772-06 | |||||
|
86 |
Температура стенок бункера предварительного охлаждения т.10 |
от 0 до 400 °С |
Преобразователь термоэлектрический ТХАВ-0188-01-2000-2-25 |
Класс 2 А=±2,5 °С от 0 до 333 °С А=±(0,00751) °С свыше 333 °С |
_ |
20286-10 |
А=±5 °С от 0 до 333 °С А=±(2,8+ +0,00751) °С свыше 333 °С |
А=±7 °С от 0 до 333 °С А=±(4+ +0,00751) °С свыше 333 °С |
|
Модуль 6ES7 331 7KF02 0AB0 |
Y=±0,7 % |
Y=±1,1 % |
15772-06 | |||||
|
87 |
Температура стенок бункера предварительного охлаждения т.11 |
от 0 до 400 °С |
Преобразователь термоэлектрический ТХАВ-0188-01-2000-2-25 |
Класс 2 А=±2,5 °С от 0 до 333 °С А=±(0,00751) °С свыше 333 °С |
_ |
20286-10 |
А=±5 °С от 0 до 333 °С А=±(2,8+ +0,00751) °С свыше 333 °С |
А=±7 °С от 0 до 333 °С А=±(4+ +0,00751) °С свыше 333 °С |
|
Модуль 6ES7 331 7KF02 0AB0 |
Y=±0,7 % |
Y=±1,1 % |
15772-06 | |||||
|
88 |
Температура стенок бункера предварительного охлаждения т.12 |
от 0 до 400 °С |
Преобразователь термоэлектрический ТХАВ-0188-01-2000-2-25 |
Класс 2 А=±2,5 °С от 0 до 333 °С А=±(0,00751) °С свыше 333 °С |
_ |
20286-10 |
А=±5 °С от 0 до 333 °С А=±(2,8+ +0,00751) °С свыше 333 °С |
А=±7 °С от 0 до 333 °С А=±(4+ +0,00751) °С свыше 333 °С |
|
Модуль 6ES7 331 7KF02 0AB0 |
Y=±0,7 % |
Y=±1,1 % |
15772-06 | |||||
Таблица 2
|
№ ИК |
Наименование ИК ИУС |
Диапазон измерений физической величины, ед. измерений |
СИ, входящие в состав ИК ИУС |
Границы допускаемой основной погрешности ИК |
Границы допускаемой погрешности ИК в рабочих условиях | |||
|
Наименование, тип СИ |
Пределы допускаемой основной погрешности компонента ИК |
Пределы допускаемой дополнительной погрешности компонента ИК |
Номер в Гос. реестре СИ | |||||
|
89 |
Температура дымовых газов в опускном газоходе |
от 0 до 1100 °С |
Преобразователь термоэлектрический кабельный КТХА 01.16-020-К1-И-Т310-20-1000 |
Класс 2 А=±2,5 °С от 0 до 333 °С А=±(0,00751) °С свыше 333 ° С |
_ |
36765-09 |
А=±10 °С от 0 до 333 °С А=±(8+ +0,00751) °С свыше 333 °С |
А=±15 °С от 0 до 333 °С А=±(12+ +0,00751) °С свыше 333 °С |
|
Модуль 6ES7 331 7KF02 0AB0 |
Y=±0,7 % |
у=±1,1 % |
15772-06 | |||||
|
90 |
Температура дымовых газов в переходном газоходе |
от 0 до 1100°С |
Преобразователь термоэлектрический кабельный КТХА 01.16-020-К1-И-Т310-20-1000 |
Класс 2 А=±2,5 °С от 0 до 333 °С А=±(0,00751) °С свыше 333 ° С |
_ |
36765-09 |
А=±10 °С от 0 до 333 °С А=±(8+ +0,00751) °С свыше 333 °С |
А=±15 °С от 0 до 333 °С А=±(12+ +0,00751) °С свыше 333 °С |
|
Модуль 6ES7 331 7KF02 0AB0 |
Y=±0,7 % |
у=±1,1 % |
15772-06 | |||||
|
91 |
Температура дымовых газов перед орошаемым газоходом |
от 0 до 600 °С |
Преобразователь термоэлектрический кабельный КТХА 01.16-020-К1-И-Т310-20-1000 |
Класс 2 А=±2,5 °С от 0 до 333 °С А=±(0,00751) °С свыше 333 ° С |
_ |
36765-09 |
А=±7 °С от 0 до 333 °С А=±(4+ +0,00751) °С свыше 333 °С |
А=±9 °С от 0 до 333 °С А=±(7+ +0,00751) °С свыше 333 °С |
|
Модуль 6ES7 331 7KF02 0AB0 |
Y=±0,7 % |
у=±1,1 % |
15772-06 | |||||
|
92 |
Температура в барабане внизу т. 1 |
от 0 до 400 °С |
Преобразователь термоэлектрический ТХАВ-0188-01-2000-2-25 |
Класс 2 А=±2,5 °С от 0 до 333 °С А=±(0,00751) °С свыше 333 ° С |
_ |
20286-10 |
А=±5 °С от 0 до 333 °С А=±(2,8+ +0,00751) °С свыше 333 °С |
А=±7 °С от 0 до 333 °С А=±(4+ +0,00751) °С свыше 333 °С |
|
Модуль 6ES7 331 7KF02 0AB0 |
Y=±0,7 % |
у=±1,1 % |
15772-06 | |||||
|
93 |
Температура в барабане внизу т.2 |
от 0 до 400 °С |
Преобразователь термоэлектрический ТХАВ-0188-01-2000-2-25 |
Класс 2 А=±2,5 °С от 0 до 333 °С А=±(0,00751) °С свыше 333 ° С |
_ |
20286-10 |
А=±5 °С от 0 до 333 °С А=±(2,8+ +0,00751) °С свыше 333 °С |
А=±7 °С от 0 до 333 °С А=±(4+ +0,00751) °С свыше 333 °С |
|
Модуль 6ES7 331 7KF02 0AB0 |
у=±0,7 % |
y=±1,1 % |
15772-06 | |||||
Таблица 2
|
№ ИК |
Наименование ИК ИУС |
Диапазон измерений физической величины, ед. измерений |
СИ, входящие в состав ИК ИУС |
Границы допускаемой основной погрешности ИК |
Границы допускаемой погрешности ИК в рабочих условиях | |||
|
Наименование, тип СИ |
Пределы допускаемой основной погрешности компонента ИК |
Пределы допускаемой дополнительной погрешности компонента ИК |
Номер в Гос. реестре СИ | |||||
|
94 |
Температура в барабане внизу т.3 |
от 0 до 400 °С |
Преобразователь термоэлектрический ТХАВ-0188-01-2000-2-25 |
Класс 2 А=±2,5 °С от 0 до 333 °С А=±(0,00751) °С свыше 333 ° С |
_ |
20286-10 |
А=±5 °С от 0 до 333 °С А=±(2,8+ +0,00751) °С свыше 333 °С |
А=±7 °С от 0 до 333 °С А=±(4+ +0,00751) °С свыше 333 °С |
|
Модуль 6ES7 331 7KF02 0AB0 |
Y=±0,7 % |
Y=±1,1 % |
15772-06 | |||||
|
95 |
Температура в барабане вверху т. 1 |
от 0 до 400 °С |
Преобразователь термоэлектрический ТХАВ-0188-01-2000-2-25 |
Класс 2 А=±2,5 °С от 0 до 333 °С А=±(0,00751) °С свыше 333 ° С |
_ |
20286-10 |
А=±5 °С от 0 до 333 °С А=±(2,8+ +0,00751) °С свыше 333 °С |
А=±7 °С от 0 до 333 °С А=±(4+ +0,00751) °С свыше 333 °С |
|
Модуль 6ES7 331 7KF02 0AB0 |
Y=±0,7 % |
Y=±1,1 % |
15772-06 | |||||
|
96 |
Температура в барабане вверху т.2 |
от 0 до 400 °С |
Преобразователь термоэлектрический ТХАВ-0188-01-2000-2-25 |
Класс 2 А=±2,5 °С от 0 до 333 °С А=±(0,00751) °С свыше 333 ° С |
_ |
20286-10 |
А=±5 °С от 0 до 333 °С А=±(2,8+ +0,00751) °С свыше 333 °С |
А=±7 °С от 0 до 333 °С А=±(4+ +0,00751) °С свыше 333 °С |
|
Модуль 6ES7 331 7KF02 0AB0 |
Y=±0,7 % |
Y=±1,1 % |
15772-06 | |||||
|
97 |
Температура в барабане вверху т.3 |
от 0 до 400 °С |
Преобразователь термоэлектрический ТХАВ-0188-01-2000-2-25 |
Класс 2 А=±2,5 °С от 0 до 333 °С А=±(0,00751) °С свыше 333 ° С |
_ |
20286-10 |
А=±5 °С от 0 до 333 °С А=±(2,8+ +0,00751) °С свыше 333 °С |
А=±7 °С от 0 до 333 °С А=±(4+ +0,00751) °С свыше 333 °С |
|
Модуль 6ES7 331 7KF02 0AB0 |
Y=±0,7 % |
Y=±1,1 % |
15772-06 | |||||
|
98 |
Температура технической воды на гидросмыв гидрозатвора орошаемого газохода |
от 0 до 100 °С |
Термопреобразователь с унифицированным выходным сигналом мод. ТСМУ Метран 274-02 |
Y=±0,25 % |
Y=±0,25 % на каждые 10°С |
21968-06 |
А=±0,8 °С |
А=±1,4 °С |
|
Модуль 6ES7 331 7KF02 0AB0 |
Y=±0,5 % |
Y=±0,005 %/К |
15772-06 | |||||
Таблица 2
|
№ ИК |
Наименование ИК ИУС |
Диапазон измерений физической величины, ед. измерений |
СИ, входящие в состав ИК ИУС |
Границы допускаемой основной погрешности ИК |
Границы допускаемой погрешности ИК в рабочих условиях | |||
|
Наименование, тип СИ |
Пределы допускаемой основной погрешности компонента ИК |
Пределы допускаемой дополнительной погрешности компонента ИК |
Номер в Гос. реестре СИ | |||||
|
99 |
Температура технической воды на гидросмыв гидрозатвора после трубы Вентури |
от 0 до 100 °С |
Термопреобразователь с унифицированным выходным сигналом мод. ТСМУ Метран 274-02 |
Y=±0,25 % |
Y=±0,25 % на каждые 10°С |
21968-06 |
А=±0,8 °С |
А=±1,4 °С |
|
Модуль 6ES7 331 7KF02 0AB0 |
Y=±0,5 % |
у=±0,005 %/К |
15772-06 | |||||
|
100 |
Температура технической воды на выходе из дополнительной панели |
от 0 до 100 °С |
Термопреобразователь с унифицированным выходным сигналом мод. ТСМУ Метран 274-02 |
Y=±0,25 % |
Y=±0,25 % на каждые 10°С |
36766-08 |
А=±0,8 °С |
А=±1,4 °С |
|
Модуль 6ES7 331 7KF02 0AB0 |
Y=±0,5 % |
Y=±0,005 %/К |
15772-06 | |||||
|
101 |
Температура технической воды на выходе из защитного экрана (башмак) |
от 0 до 100 °С |
Термопреобразователь с унифицированным выходным сигналом мод. ТСМУ Метран 274-02-(100М) |
Y=±0,25 % |
Y=±0,25 % на каждые 10°С |
36766-08 |
А=±0,8 °С |
А=±1,4 °С |
|
Модуль 6ES7 331 7KF02 0AB0 |
Y=±0,5 % |
Y=±0,005 %/К |
15772-06 | |||||
|
102 |
Расход циркуляционной воды на ширму 1 опускного газохода, т.1 |
от 0 до 125 м3/ч |
Преобразователь давления измерительный SITRANS P DSIII мод. 7MF4433-1FA02-1AC1 |
y<±(0,0029-r+ +0,071) % |
Yt<±(0,08-r+0,1) % |
30883-05 |
у=±2,3 % |
Y=±2,8 % |
|
Модуль 6ES7 331 7KF02 0AB0 |
Y=±0,5 % |
Y=±0,005 %/К |
15772-06 | |||||
|
103 |
Расход циркуляционной воды на ширму 1 опускного газохода, т.2 |
от 0 до 125 м3/ч |
Преобразователь давления измерительный SITRANS P DSIII мод. 7MF4433-1FA02-1AC1 |
y<±(0,0029-r+ +0,071) % |
Yt<±(0,08-r+0,1) % |
30883-05 |
у=±2,3 % |
Y=±2,8 % |
|
Модуль 6ES7 331 7KF02 0AB0 |
Y=±0,5 % |
Y=±0,005 %/К |
15772-06 | |||||
Таблица 2
|
№ ИК |
Наименование ИК ИУС |
Диапазон измерений физической величины, ед. измерений |
СИ, входящие в состав ИК ИУС |
Границы допускаемой основной погрешности ИК |
Границы допускаемой погрешности ИК в рабочих условиях | |||
|
Наименование, тип СИ |
Пределы допускаемой основной погрешности компонента ИК |
Пределы допускаемой дополнительной погрешности компонента ИК |
Номер в Гос. реестре СИ | |||||
|
104 |
Расход циркуляционной воды на ширму 2 опускного газохода, т.1 |
от 0 до 125 м3/ч |
Преобразователь давления измерительный SITRANS P DSIII мод. 7MF4433-1FA02-1AC1 |
у<±(0,0029-г+ +0,071) % |
Yt<±(0,08-r+0,1) % |
30883-05 |
у=±2,3 % |
Y=±2,8 % |
|
Модуль 6ES7 331 7KF02 0AB0 |
Y=±0,5 % |
Y=±0,005 %/К |
15772-06 | |||||
|
105 |
Расход циркуляционной воды на ширму 2 опускного газохода, т.2 |
от 0 до 125 м3/ч |
Преобразователь давления измерительный SITRANS P DSIII мод. 7MF4433-1FA02-1AC1 |
y<±(0,0029-r+ +0,071) % |
Yt<±(0,08-r+0,1) % |
30883-05 |
у=±2,3 % |
Y=±2,8 % |
|
Модуль 6ES7 331 7KF02 0AB0 |
Y=±0,5 % |
Y=±0,005 %/К |
15772-06 | |||||
|
106 |
Уровень воды в барабане котла т.3 |
от минус 500 до 500 мм |
Преобразователь давления измерительный SITRANS P DSIII мод. 7MF4433-3DA00-1AA1-Z |
y<±(0,0029-r+ +0,071) % |
Yt<±(0,08-r+0,1) % |
30883-05 |
Y=±2,1 % |
Y=±2,8 % |
|
Модуль 6ES7 331 7KF02 0AB0 |
Y=±0,5 % |
Y==±0,005 %/К |
15772-06 | |||||
|
107 |
Уровень воды в пароаккуму-ляторе № 3 |
от минус 350 до 300 мм |
Преобразователь давления измерительный SITRANS P DSIII мод. 7MF4433-3DA00-1AA1-Z |
y<±(0,0029-r+ +0,071) % |
Yt<±(0,08-r+0,1) % |
30883-05 |
Y=±2,2 % |
Y=±2,8 % |
|
Модуль 6ES7 331 7KF02 0AB0 |
Y=±0,5 % |
Y==±0,005 %/К |
15772-06 | |||||
|
108 |
Расход циркуляционной воды на ширму 3 опускного газохода, т.1 |
от 0 до 125 м3/ч |
Преобразователь давления измерительный SITRANS P DSIII мод. 7MF4433-1FA02-1AC1 |
y<±(0,0029-r+ +0,071) % |
Yt<±(0,08-r+0,1) % |
30883-05 |
у=±2,3 % |
Y=±2,8 % |
|
Модуль 6ES7 331 7KF02 0AB0 |
Y=±0,5 % |
Y=±0,005 %/К |
15772-06 | |||||
|
109 |
Расход циркуляционной воды на ширму 3 опускного газохода, т.2 |
от 0 до 125 м3/ч |
Преобразователь давления измерительный SITRANS P DSIII мод. 7MF4433-1FA02-1AC1 |
y<±(0,0029-r+ +0,071) % |
Yt<±(0,08-r+0,1) % |
30883-05 |
у=±2,3 % |
Y=±2,8 % |
|
Модуль 6ES7 331 7KF02 0AB0 |
Y=±0,5 % |
Y=±0,005 %/К |
15772-06 | |||||
Таблица 2
|
№ ИК |
Наименование ИК ИУС |
Диапазон измерений физической величины, ед. измерений |
СИ, входящие в состав ИК ИУС |
Границы допускаемой основной погрешности ИК |
Границы допускаемой погрешности ИК в рабочих условиях | |||
|
Наименование, тип СИ |
Пределы допускаемой основной погрешности компонента ИК |
Пределы допускаемой дополнительной погрешности компонента ИК |
Номер в Гос. реестре СИ | |||||
|
110 |
Расход циркуляционной воды на фронтовой экран опускного газохода |
от 0 до 320 м3/ч |
Преобразователь давления измерительный SITRANS P DSIII мод. 7MF4433-1FA02-1AC1 |
у<±(0,0029-г+ +0,071) % |
Yt<±(0,08-r+0,1) % |
30883-05 |
у=±2,2 % |
Y=±2,6 % |
|
Модуль 6ES7 331 7KF02 0AB0 |
Y=±0,5 % |
Y=±0,005 %/К |
15772-06 | |||||
|
111 |
Расход циркуляционной воды на левый экран опускного газохода |
от 0 до 320 м3/ч |
Преобразователь давления измерительный SITRANS P DSIII мод. 7MF4433-1FA02-1AC1 |
y<±(0,0029-r+ +0,071) % |
Yt<±(0,08-r+0,1) % |
30883-05 |
у=±2,2 % |
Y=±2,6 % |
|
Модуль 6ES7 331 7KF02 0AB0 |
Y=±0,5 % |
Y=±0,005 %/К |
15772-06 | |||||
|
112 |
Расход циркуляционной воды на задний экран опускного газохода |
от 0 до 320 м3/ч |
Преобразователь давления измерительный SITRANS P DSIII мод. 7MF4433-1FA02-1AC1 |
y<±(0,0029-r+ +0,071) % |
Yt<±(0,08-r+0,1) % |
30883-05 |
у=±2,2 % |
Y=±2,6 % |
|
Модуль 6ES7 331 7KF02 0AB0 |
Y=±0,5 % |
Y=±0,005 %/К |
15772-06 | |||||
|
113 |
Расход циркуляционной воды на правый экран опускного газохода |
от 0 до 320 м3/ч |
Преобразователь давления измерительный SITRANS P DSIII мод. 7MF4433-1FA02-1AA1-Z |
y<±(0,0029-r+ +0,071) % |
Yt<±(0,08-r+0,1) % |
30883-05 |
у=±2,2 % |
Y=±2,6 % |
|
Модуль 6ES7 331 7KF02 0AB0 |
Y=±0,5 % |
Y=±0,005 %/К |
15772-06 | |||||
|
114 |
Расход циркуляционной воды на ширму 4 опускного газохода, т.1 |
от 0 до 125 м3/ч |
Преобразователь давления измерительный SITRANS P DSIII мод. 7MF4433-1FA02-1AC1 |
y<±(0,0029-r+ +0,071) % |
Yt<±(0,08-r+0,1) % |
30883-05 |
у=±2,3 % |
Y=±2,8 % |
|
Модуль 6ES7 331 7KF02 0AB0 |
Y=±0,5 % |
Y=±0,005 %/К |
15772-06 | |||||
Таблица 2
|
№ ИК |
Наименование ИК ИУС |
Диапазон измерений физической величины, ед. измерений |
СИ, входящие в состав ИК ИУС |
Границы допускаемой основной погрешности ИК |
Границы допускаемой погрешности ИК в рабочих условиях | |||
|
Наименование, тип СИ |
Пределы допускаемой основной погрешности компонента ИК |
Пределы допускаемой дополнительной погрешности компонента ИК |
Номер в Гос. реестре СИ | |||||
|
115 |
Расход циркуляционной воды на ширму 4 опускного газохода, т.2 |
от 0 до 125 м3/ч |
Преобразователь давления измерительный SITRANS P DSIII мод. 7MF4433-1FA02-1AC1 |
у<±(0,0029-г+ +0,071) % |
Yt<±(0,08-r+0,1) % |
30883-05 |
у=±2,3 % |
Y=±2,8 % |
|
Модуль 6ES7 331 7KF02 0AB0 |
Y=±0,5 % |
Y=±0,005 %/К |
15772-06 | |||||
|
116 |
Расход циркуляционной воды на левый экран подъемного газохода |
от 0 до 320 м3/ч |
Преобразователь давления измерительный SITRANS P DSIII мод. 7MF4433-1FA02-1AC1 |
y<±(0,0029-r+ +0,071) % |
Yt<±(0,08-r+0,1) % |
30883-05 |
у=±2,2 % |
Y=±2,6 % |
|
Модуль 6ES7 331 7KF02 0AB0 |
Y=±0,5 % |
Y=±0,005 %/К |
15772-06 | |||||
|
117 |
Расход циркуляционной воды на правый экран подъемного газохода |
от 0 до 320 м3/ч |
Преобразователь давления измерительный SITRANS P DSIII мод. 7MF4433-1FA02-1AC1 |
y<±(0,0029-r+ +0,071) % |
Yt<±(0,08-r+0,1) % |
30883-05 |
у=±2,2 % |
Y=±2,6 % |
|
Модуль 6ES7 331 7KF02 0AB0 |
Y=±0,5 % |
Y=±0,005 %/К |
15772-06 | |||||
|
118 |
Расход циркуляционной воды на задний экран подъемного газохода |
от 0 до 320 м3/ч |
Преобразователь давления измерительный SITRANS P DSIII мод. 7MF4433-1FA02-1AC1 |
y<±(0,0029-r+ +0,071) % |
Yt<±(0,08-r+0,1) % |
30883-05 |
у=±2,2 % |
Y=±2,6 % |
|
Модуль 6ES7 331 7KF02 0AB0 |
Y=±0,5 % |
Y=±0,005 %/К |
15772-06 | |||||
|
119 |
Расход циркуляционной воды на фронтовой экран подъемного газохода |
от 0 до 320 м3/ч |
Преобразователь давления измерительный SITRANS P DSIII мод. 7MF4433-1FA02-1AC1 |
y<±(0,0029-r+ +0,071) % |
Yt<±(0,08-r+0,1) % |
30883-05 |
у=±2,2 % |
Y=±2,6 % |
|
Модуль 6ES7 331 7KF02 0AB0 |
Y=±0,5 % |
Y=±0,005 %/К |
15772-06 | |||||
Таблица 2
|
№ ИК |
Наименование ИК ИУС |
Диапазон измерений физической величины, ед. измерений |
СИ, входящие в состав ИК ИУС |
Границы допускаемой основной погрешности ИК |
Границы допускаемой погрешности ИК в рабочих условиях | |||
|
Наименование, тип СИ |
Пределы допускаемой основной погрешности компонента ИК |
Пределы допускаемой дополнительной погрешности компонента ИК |
Номер в Гос. реестре СИ | |||||
|
120 |
Расход циркуляционной воды на защитный экран подъемного газохода |
от 0 до 50 м3/ч |
Преобразователь давления измерительный SITRANS P DSIII мод. 7MF4433-1GA02-1AA1-Z |
у<±(0,0029-г+ +0,071) % |
yt<±(0,08-r+0,1) % |
30883-05 |
у=±2,4 % |
Y=±2,9 % |
|
Модуль 6ES7 331 7KF02 0AB0 |
Y=±0,5 % |
Y=±0,005 %/К |
15772-06 | |||||
|
121 |
Расход циркуляционной воды на защитный экран и крышку подъемного газохода |
от 0 до 125 м3/ч |
Преобразователь давления измерительный SITRANS P DSIII мод. 7MF4433-1FA02-1AC1 |
y<±(0,0029-r+ +0,071) % |
Yt<±(0,084+0,1) % |
30883-05 |
у=±2,3 % |
Y=±2,8 % |
|
Модуль 6ES7 331 7KF02 0AB0 |
Y=±0,5 % |
Y=±0,005 %/К |
15772-06 | |||||
|
122 |
Расход циркуляционной воды на ширму 5 опускного газохода, т.1 |
от 0 до 125 м3/ч |
Преобразователь давления измерительный SITRANS P DSIII мод. 7MF4433-1FA02-1AC1 |
y<±(0,0029-r+ +0,071) % |
yt<±(0,08-r+0,1) % |
30883-05 |
у=±2,3 % |
Y=±2,8 % |
|
Модуль 6ES7 331 7KF02 0AB0 |
Y=±0,5 % |
Y=±0,005 %/К |
15772-06 | |||||
|
123 |
Расход циркуляционной воды на ширму 5 опускного газохода, т.2 |
от 0 до 125 м3/ч |
Преобразователь давления измерительный SITRANS P DSIII мод. 7MF4433-1FA02-1AC1 |
y<±(0,0029-r+ +0,071) % |
yt<±(0,08-r+0,1) % |
30883-05 |
у=±2,3 % |
Y=±2,8 % |
|
Модуль 6ES7 331 7KF02 0AB0 |
Y=±0,5 % |
Y=±0,005 %/К |
15772-06 | |||||
|
124 |
Температура пара РУ-1 |
от 0 до 400 °С |
Преобразователь термоэлектрический ТХАВ -2088-02 |
Класс 2 A=±2,5 °С от 0 до 333 °С A=±(0,00751) °С свыше 333 °С |
_ |
20285-10 |
A=±5 °С от 0 до 333 °С A=±(2,8+ +0,00751) °С свыше 333 °С |
A=±7 °С от 0 до 333 °С A=±(4+ +0,00751) °С свыше 333 °С |
|
Модуль 6ES7 331 7KF02 0AB0 |
Y=±0,7 % |
Y=±1,1 % |
15772-06 | |||||
Таблица 2
|
№ ИК |
Наименование ИК ИУС |
Диапазон измерений физической величины, ед. измерений |
СИ, входящие в состав ИК ИУС |
Границы допускаемой основной погрешности ИК |
Границы допускаемой погрешности ИК в рабочих условиях | |||
|
Наименование, тип СИ |
Пределы допускаемой основной погрешности компонента ИК |
Пределы допускаемой дополнительной погрешности компонента ИК |
Номер в Гос. реестре СИ | |||||
|
125 |
Температура пара РУ-2 |
от 0 до 400 °С |
Преобразователь термоэлектрический ТХАВ -2088-02 |
Класс 2 А=±2,5 °С от 0 до 333 °С А=±(0,00751) °С свыше 333 °С |
_ |
20285-10 |
А=±5 °С от 0 до 333 °С А=±(2,8+ +0,00751) °С свыше 333 °С |
А=±7 °С от 0 до 333 °С А=±(4+ +0,00751) °С свыше 333 °С |
|
Модуль 6ES7 331 7KF02 0AB0 |
Y=±0,7 % |
Y=±1,1 % |
15772-06 | |||||
|
126 |
Температура пара РУ-3 |
от 0 до 400 °С |
Преобразователь термоэлектрический ТХАВ -2088-02 |
Класс 2 А=±2,5 °С от 0 до 333 °С А=±(0,00751) °С свыше 333 °С |
_ |
20285-10 |
А=±5 °С от 0 до 333 °С А=±(2,8+ +0,00751) °С свыше 333 °С |
А=±7 °С от 0 до 333 °С А=±(4+ +0,00751) °С свыше 333 °С |
|
Модуль 6ES7 331 7KF02 0AB0 |
Y=±0,7 % |
Y=±1,1 % |
15772-06 | |||||
|
127 |
Давление пара РУ-1 |
от 0 до 16 кгс/см2 |
Преобразователь давления измерительный SITRANS P Z мод. 7MF1564-3CB00-1AA1 |
Y=±0,25 % |
Yt=±0,25 %/10 ОС |
30883-05 |
Y=±0,6 % |
Y=±0,8 % |
|
Модуль 6ES7 331 7KF02 0AB0 |
Y=±0,5 % |
Y=±0,005 %/К |
15772-06 | |||||
|
128 |
Давление пара РУ-2 |
от 0 до 16 кгс/см2 |
Преобразователь давления измерительный SITRANS P Z мод. 7MF1564-3CB00-1AA1 |
Y=±0,25 % |
Yt=±0,25 %/10 ОС |
30883-05 |
Y=±0,6 % |
Y=±0,8 % |
|
Модуль 6ES7 331 7KF02 0AB0 |
Y=±0,5 % |
Y=±0,005 %/К |
15772-06 | |||||
|
129 |
Давление пара РУ-3 |
от 0 до 16 кгс/см2 |
Преобразователь давления измерительный SITRANS P Z мод. 7MF1564-3CB00-1AA1 |
Y=±0,25 % |
Yt=±0,25 %/10 ОС |
30883-05 |
y=±0,6 % |
Y=±0,8 % |
|
Модуль 6ES7 331 7KF02 0AB0 |
Y=±0,5 % |
Y=±0,005 %/К |
15772-06 | |||||
|
130 |
Давление пара на ЦПП |
от 0 до 60 кгс/см2 |
Преобразователь давления измерительный SITRANS P Z мод. 7MF1564-3CG00-1AA1 |
Y=±0,25 % |
Yt=±0,25 %/10 ОС |
30883-05 |
Y=±0,6 % |
Y=±0,8 % |
|
Модуль 6ES7 331 7KF02 0AB0 |
Y=±0,5 % |
Y=±0,005 %/К |
15772-06 | |||||
Таблица 2
|
№ ИК |
Наименование ИК ИУС |
Диапазон измерений физической величины, ед. измерений |
СИ, входящие в состав ИК ИУС |
Границы допускаемой основной погрешности ИК |
Границы допускаемой погрешности ИК в рабочих условиях | |||
|
Наименование, тип СИ |
Пределы допускаемой основной погрешности компонента ИК |
Пределы допускаемой дополнительной погрешности компонента ИК |
Номер в Гос. реестре СИ | |||||
|
131 |
Давление пара в пароаккуму-ляторе № 1 |
от 0 до 16 кгс/см2 |
Преобразователь давления измерительный SITRANS P Z мод. 7MF1564-3CB00-1AA1 |
Y=±0,25 % |
Yt=±0,25 %/10 ОС |
30883-05 |
Y=±0,6% |
Y=±0,8 % |
|
Модуль 6ES7 331 7KF02 0AB0 |
Y ±0,5 % |
Y=±0,005 %/К |
15772-06 | |||||
|
132 |
Давление пара в пароаккуму-ляторе № 2 |
от 0 до 16 кгс/см2 |
Преобразователь давления измерительный SITRANS P Z мод. 7MF1564-3CB00-1AA1 |
Y=±0,25 % |
Yt=±0,25 %/10 ОС |
30883-05 |
Y=±0,6% |
Y=±0,8 % |
|
Модуль 6ES7 331 7KF02 0AB0 |
Y ±0,5 % |
Y=±0,005 %/К |
15772-06 | |||||
|
133 |
Давление пара в пароаккуму-ляторе № 3 |
от 0 до 16 кгс/см2 |
Преобразователь давления измерительный SITRANS P Z мод. 7MF1564-3CB00-1AA1 |
Y=±0,25 % |
Yt=±0,25 %/10 ОС |
30883-05 |
Y=±0,6% |
Y=±0,8 % |
|
Модуль 6ES7 331 7KF02 0AB0 |
Y ±0,5 % |
Y=±0,005 %/К |
15772-06 | |||||
|
134 |
Расход пара РУ-1 |
от 0 до 80 т/ч |
Преобразователь давления измерительный SITRANS P DSIII мод. 7MF4433-1FA02-1AC1 |
Y<±(0,0029-r+ +0,071) % |
Yt<±(0,08-r+0,1) % |
30883-05 |
Y ±2,3 % |
Y=±2,8 % |
|
Модуль 6ES7 331 7KF02 0AB0 |
Y=±0,5 % |
Y=±0,005 %/К |
15772-06 | |||||
|
135 |
Расход пара РУ-2 |
от 0 до 80 т/ч |
Преобразователь давления измерительный SITRANS P DSIII мод. 7MF4433-1FA02-1AC1 |
Y<±(0,0029-r+ +0,071) % |
Yt<±(0,08-r+0,1) % |
30883-05 |
Y ±2,3 % |
Y=±2,8 % |
|
Модуль 6ES7 331 7KF02 0AB0 |
Y=±0,5 % |
Y=±0,005 %/К |
15772-06 | |||||
|
136 |
Расход пара РУ-3 |
от 0 до 80 т/ч |
Преобразователь давления измерительный SITRANS P DSIII мод. 7MF4433-1FA02-1AC1 |
Y<±(0,0029-r+ +0,071) % |
Yt<±(0,08-r+0,1) % |
30883-05 |
y ±2,3 % |
Y=±2,8 % |
|
Модуль 6ES7 331 7KF02 0AB0 |
Y=±0,5 % |
Y=±0,005 %/К |
15772-06 | |||||
Таблица 2
|
№ ИК |
Наименование ИК ИУС |
Диапазон измерений физической величины, ед. измерений |
СИ, входящие в состав ИК ИУС |
Границы допускаемой основной погрешности ИК |
Границы допускаемой погрешности ИК в рабочих условиях | |||
|
Наименование, тип СИ |
Пределы допускаемой основной погрешности компонента ИК |
Пределы допускаемой дополнительной погрешности компонента ИК |
Номер в Гос. реестре СИ | |||||
|
137 |
Температура подшипника дымососа АС-1, т.1 |
от 0 до 100 °С |
Термопреобразователь с унифицированным выходным сигналом мод. ТСМУ Метран 274-02-(100М) |
Y=±0,25 % |
Y=±0,25 % на каждые 10°С |
21968-06 |
А=±0,8 °С |
А=±1,4 °С |
|
Модуль 6ES7 331 7KF02 0AB0 |
Y=±0,5 % |
Y=±0,005 %/К |
15772-06 | |||||
|
138 |
Температура подшипника дымососа АС-1, т.2 |
от 0 до 100 °С |
Термопреобразователь с унифицированным выходным сигналом мод. ТСМУ Метран 274-02-(100М) |
Y=±0,25 % |
Y=±0,25 % на каждые 10°С |
21968-06 |
А=±0,8 °С |
А=±1,4 °С |
|
Модуль 6ES7 331 7KF02 0AB0 |
Y=±0,5 % |
Y=±0,005 %/К |
15772-06 | |||||
|
139 |
Разность давлений воздуха на фильтре АС-1 |
от 0 до 0,025 кгс/см2 |
Преобразователь давления измерительный SITRANS P DSIII мод. 7MF4433-1CAO2-1AA1-Z |
y<±(0,0029-r+ +0,071) % |
Yt<±(0,08-r+0,1) % |
30883-05 |
у=±2,0 % |
Y=±2,6 % |
|
Модуль 6ES7 331 7KF02 0AB0 |
Y=±0,5 % |
Y=±0,005 %/К |
15772-06 | |||||
|
140 |
Разрежение на фильтре АС-1 |
от 0 до 600 кгс/м2 |
Преобразователь давления измерительный SITRANS P DSIII мод. 7MF4433-1DA02-1AA1-Z |
y<±(0,0029-r+ +0,071) % |
Yt<±(0,08-r+0,1) % |
30883-05 |
у=±2,0 % |
Y=±3 % |
|
Модуль 6ES7 331 7KF02 0AB0 |
Y=±0,5 % |
Y=±0,005 %/К |
15772-06 | |||||
|
141 |
Давление воды после циркуляционного насоса НЦ1 |
от 0 до 60 кгс/см2 |
Преобразователь давления измерительный SITRANS P Z мод. 7MF1564-3DA00-1AA1 |
Y=±0,25 % |
Yt=±0,25 %/10 ОС |
30883-05 |
у=±0,7 % |
Y=±1,2 % |
|
Модуль 6ES7 331 7KF02 0AB0 |
Y=±0,5 % |
_ |
15772-06 | |||||
|
142 |
Температура в шкафу AZ 039.2-2 |
от 0 до 100 °С |
Термопреобразователь сопротивления взрывобезопасный с унифицированным выходным сигналом ТСМУ 94185.00.100 |
Y=±0,5 % |
Y=±0,025 %/К |
17627-98 |
А=±1,3 °С |
А=±2,4 °С |
|
Модуль 6ES7 331 7KF02 0AB0 |
Y=±0,5 % |
Y==±0,005 %/К |
15772-06 | |||||
Таблица 2
|
№ ИК |
Наименование ИК ИУС |
Диапазон измерений физической величины, ед. измерений |
СИ, входящие в состав ИК ИУС |
Границы допускаемой основной погрешности ИК |
Границы допускаемой погрешности ИК в рабочих условиях | |||
|
Наименование, тип СИ |
Пределы допускаемой основной погрешности компонента ИК |
Пределы допускаемой дополнительной погрешности компонента ИК |
Номер в Гос. реестре СИ | |||||
|
143 |
Давление воды после циркуляционного насоса НЦ2 |
от 0 до 60 кгс/см2 |
Преобразователь давления измерительный SITRANS P Z мод. 7MF1564-3DA00-1AA1 |
Y=±0,25 % |
Yt=±0,25 %/10 ОС |
30883-05 |
у=±0,7 % |
Y=±1,2 % |
|
Модуль 6ES7 331 7KF02 0AB0 |
Y=±0,5 % |
у=±0,005 %/К |
15772-06 | |||||
|
144 |
Давление воды после циркуляционного насоса НЦ3 |
от 0 до 60 кгс/см2 |
Преобразователь давления измерительный SITRANS P Z мод. 7MF1564-3DA00-1AA1 |
Y=±0,25 % |
Yt=±0,25 %/10 ОС |
30883-05 |
у=±0,7 % |
Y=±1,2 % |
|
Модуль 6ES7 331 7KF02 0AB0 |
Y ±0,5 % |
у=±0,005 %/К |
15772-06 | |||||
|
145 |
Давление воды после циркуляционного насоса НЦ4 |
от 0 до 60 кгс/см2 |
Преобразователь давления измерительный SITRANS P Z мод. 7MF1564-3DA00-1AA1 |
Y=±0,25 % |
Yt=±0,25 %/10 ОС |
30883-05 |
у=±0,7 % |
Y=±1,2 % |
|
Модуль 6ES7 331 7KF02 0AB0 |
Y=±0,5 % |
Y=±0,005 %/К |
15772-06 | |||||
|
146 |
Давление воды после циркуляционного насоса НЦ5 |
от 0 до 60 кгс/см2 |
Преобразователь давления измерительный SITRANS P Z мод. 7MF1564-3DA00-1AA1 |
Y=±0,25 % |
Yt=±0,25 %/10 ОС |
30883-05 |
у=±0,7 % |
Y=±1,2 % |
|
Модуль 6ES7 331 7KF02 0AB0 |
Y=±0,5 % |
у=±0,005 %/К |
15772-06 | |||||
|
147 |
Давление воды после циркуляционного насоса НЦ6 |
от 0 до 60 кгс/см2 |
Преобразователь давления измерительный SITRANS P Z мод. 7MF1564-3CG00-1AA1 |
Y=±0,25 % |
Yt=±0,25 %/10 ОС |
30883-05 |
Y=±0,6 % |
Y=±0,8 % |
|
Модуль 6ES7 331 7KF02 0AB0 |
Y=±0,5 % |
у=±0,005 %/К |
15772-06 | |||||
|
148 |
Давление воды после циркуляционного насоса НЦ7 |
от 0 до 60 кгс/см2 |
Преобразователь давления измерительный SITRANS P Z мод. 7MF1564-3CG00-1AA1 |
Y=±0,25 % |
Yt=±0,25 %/10 ОС |
30883-05 |
Y=±0,6 % |
Y=±0,8 % |
|
Модуль 6ES7 331 7KF02 0AB0 |
y ±0,5 % |
у=±0,005 %/К |
15772-06 | |||||
Таблица 2
|
№ ИК |
Наименование ИК ИУС |
Диапазон измерений физической величины, ед. измерений |
СИ, входящие в состав ИК ИУС |
Границы допускаемой основной погрешности ИК |
Границы допускаемой погрешности ИК в рабочих условиях | |||
|
Наименование, тип СИ |
Пределы допускаемой основной погрешности компонента ИК |
Пределы допускаемой дополнительной погрешности компонента ИК |
Номер в Гос. реестре СИ | |||||
|
149 |
Давление воды после циркуляционного насоса НЦ8 |
от 0 до 60 кгс/см2 |
Преобразователь давления измерительный SITRANS P Z мод. 7MF1564-3CG00-1AA1 |
Y=±0,25 % |
Yt=±0,25 %/10 °С |
30883-05 |
Y=±0,6 % |
Y=±0,8 % |
|
Модуль 6ES7 331 7KF02 0AB0 |
y ±0,5 % |
у=±0,005 %/К |
15772-06 | |||||
|
150 |
Разрежение дымовых газов перед дымососом |
от 0 до 0,16 кгс/см2 |
Преобразователь давления измерительный SITRANS P DSIII мод. 7MF4433-3DA00-1AA1-Z |
Y<±(0,00294+ +0,071) % |
Yt<±(0,084+0,1) % |
30883-05 |
Y ±2,3 % |
Y=±2,8 % |
|
Модуль 6ES7 331 7KF02 0AB0 |
Y=±0,5 % |
Y=±0,005 %/К |
15772-06 | |||||
|
151 |
Давление дымовых газов на свече |
от 0 до 0,01 кгс/см2 |
Преобразователь давления измерительный SITRANS P DSIII мод. 7MF4433 -1CA02-1AA1-Z |
Y<±(0,00294+ +0,071) % |
Yt<±(0,084+0,1) % |
30883-05 |
Y ±2,3 % |
Y=±5 % |
|
Модуль 6ES7 331 7KF02 0AB0 |
Y=±0,5 % |
Y=±0,005 %/К |
15772-06 | |||||
|
152 |
Давление масла на насосы (основное) |
от 0 до 2,5 кгс/см2 |
Преобразователь давления измерительный SITRANS P Z мод. 7MF1564-3CA00-1AA1 |
Y=±0,25 % |
Yt=±0,25 %/10 °С |
30883-05 |
Y=±1,3 % |
Y=±2,7 % |
|
Модуль 6ES7 331 7KF02 0AB0 |
Y=±0,5 % |
Y=±0,005 %/К |
15772-06 | |||||
|
153 |
Давление масла на насосы (резервное) |
от 0 до 2,5 кгс/см2 |
Преобразователь давления измерительный SITRANS P Z мод. 7MF1564-3CA00-1AA1 |
Y=±0,25 % |
Yt=±0,25 %/10 °С |
30883-05 |
Y=±1,3 % |
Y=±2,7 % |
|
Модуль 6ES7 331 7KF02 0AB0 |
Y=±0,5 % |
Y=±0,005 %/К |
15772-06 | |||||
|
154 |
Давление технической воды на охлаждение двигателя дымососа |
от 0 до 6 кгс/см2 |
Преобразователь давления измерительный SITRANS P Z мод. 7MF1564-3CA00-1AA1 |
Y=±0,25 % |
Yt=±0,25 %/10 °С |
30883-05 |
Y ±0,7 % |
Y=±1,2 % |
|
Модуль 6ES7 331 7KF02 0AB0 |
Y=±0,5 % |
Y=±0,005 %/К |
15772-06 | |||||
|
155 |
Температура масла |
от 0 до 100 °С |
Термопреобразователь с унифицированным выходным сигналом мод. ТСМУ Метран 274-02-(100М) |
Y=±0,25 % |
Y=±0,25 % на каждые 10°С |
21968-06 |
A=±0,8 °С |
A=±1,4 °C |
|
Модуль 6ES7 331 7KF02 0AB0 |
y ±0,5 % |
у=±0,005 %/К |
15772-06 | |||||
Таблица 2
|
№ ИК |
Наименование ИК ИУС |
Диапазон измерений физической величины, ед. измерений |
СИ, входящие в состав ИК ИУС |
Границы допускаемой основной погрешности ИК |
Границы допускаемой погрешности ИК в рабочих условиях | |||
|
Наименование, тип СИ |
Пределы допускаемой основной погрешности компонента ИК |
Пределы допускаемой дополнительной погрешности компонента ИК |
Номер в Гос. реестре СИ | |||||
|
156 |
Температура дымовых газов перед дымососом |
от 0 до 100 °С |
Термопреобразователь с унифицированным выходным сигналом мод. ТСМУ Метран 274-02-(100М) |
Y=±0,25 % |
Y=±0,25 % на каждые 10°С |
21968-06 |
А=±0,8 °С |
А=±1,4 °С |
|
Модуль 6ES7 331 7KF02 0AB0 |
Y=±0,5 % |
Y=±0,005 %/К |
15772-06 | |||||
|
157 |
Температура в шкафу AZ 039.2-3 |
от 0 до 100 °С |
Термопреобразователь сопротивления взрывобезопасный с унифицированным выходным сигналом ТСМУ 94185.00.100 |
Y=±0,5 % |
Y=±0,025 %/К |
17627-98 |
А=±1,3 °С |
А=±2,4 °С |
|
Модуль 6ES7 331 7KF02 0AB0 |
у=±0,5 % |
у=±0,005 %/К |
15772-06 | |||||
|
158 |
Температура подшипника 1 дымососа |
от 0 до 100 °С |
Термопреобразователь с унифицированным выходным сигналом мод. ТСМУ Метран 274-02-(100М) |
Y=±0,25 % |
Y=±0,25 % на каждые 10°С |
21968-06 |
А=±0,8 °С |
А=±1,4 °С |
|
Модуль 6ES7 331 7KF02 0AB0 |
y=±0,5 % |
у=±0,005 %/К |
15772-06 | |||||
|
159 |
Температура подшипника 2 дымососа |
от 0 до 100 °С |
Термопреобразователь с унифицированным выходным сигналом мод. ТСМУ Метран 274-02-(100М) |
Y=±0,25 % |
Y=±0,25 % на каждые 10°С |
21968-06 |
А=±0,8 °С |
А=±1,4 °С |
|
Модуль 6ES7 331 7KF02 0AB0 |
y=±0,5 % |
у=±0,005 %/К |
15772-06 | |||||
Примечания:
1) В таблице приняты следующие обозначения: А - абсолютная погрешность; у — приведенная погрешность, yt - пределы приведенной дополнительной погрешности от влияния температуры окружающего воздуха; r = max диапазон измерения / установленный диапазон измерения; t - измеренная температура, 0С.
2) Допускается применение первичных измерительных преобразователей аналогичных типов, прошедших испытания в целях утверждения типа с аналогичными техническими и метрологическими характеристиками
Знак утверждения типа
Знак утверждения типа наносится типографским способом на титульный лист документа «Система измерительно-управляющая конвертера № 1 кислородно-конвертерного цеха № 1 ОАО «ЕВРАЗ ЗСМК». Паспорт».
Комплектность
В комплект ИУС входят технические средства, специализированные программные средства, а также документация, представленные в таблицах 2 - 4, соответственно.
Измерительные и комплексные компоненты ИУС представлены в таблице 2, вычислительные и вспомогательные компоненты представлены в таблице 3, программное обеспечение (включая программное обеспечение контроллеров программируемых) - в таблице 3, техническая документация - в таблице 4.
Таблица 3
|
№ |
Наименование |
ПО |
Количество, шт. |
|
1 |
В состав АРМ 1 «Машинист дистрибутора», АРМ 4 «Оператор котла» и АРМ 5 «Оператор котла» входят: - компьютер в промышленном исполнении, минимальные требования: процессор Pentium IV; 3.0 ГГц; 512 Мбайт ОЗУ; 128 Гбайт HDD; FDD; CDROM; Ethernet; Монитор 19” (2 шт.); клавиатура (2 шт.); мышь (2 шт.) |
Операционная система: Microsoft Windows 2000 Server. Прикладное ПО: СУБД Microsoft SQL Server 2000 SP3; SCADA система - SIMATIC WinCC v.6.0, Siemens AG; проект: konv_1 |
3 |
|
2 |
В состав АРМ 2 «Машинист дистрибутора», АРМ 3 «Машинист дистрибутора» входят: - компьютер в промышленном исполнении, минимальные требования: процессор Pentium IV; 3.0 ГГц; 512 Мбайт ОЗУ; 128 Гбайт HDD; FDD; CDROM; Ethernet; Монитор 19”; клавиатура; мышь |
Операционная система: Microsoft Windows 2000 Server. Прикладное ПО: СУБД Microsoft SQL Server 2000 SP3; SCADA система - SIMATIC WinCC v.6.0, Siemens AG; проект: konv_1 |
2 |
|
3 |
В состав АРМ 6 «Машинист эксгаустера» и АРМ 7 «Машинист эксгаустера» входят: - компьютер в промышленном исполнении, минимальные требования: процессор Pentium IV; 3.0 ГГц; 512 Мбайт ОЗУ; 128 Гбайт HDD; FDD; CDROM; Ethernet; Монитор 19”; клавиатура; мышь |
Операционная система: Microsoft Windows 2000 Server. Прикладное ПО: СУБД Microsoft SQL Server 2000 SP3; SCADA система - SIMATIC WinCC v.6.0, Siemens AG; проект: dimosos |
2 |
Таблица 3
|
№ |
Наименование |
ПО |
Количество, шт. |
|
4 |
В состав серверов № 1, № 2, № 3 входят: - компьютер в промышленном исполнении, минимальные требования: процессор Pentium IV; 3.0 ГГц; 512 Мбайт ОЗУ; 128 Гбайт HDD; FDD; CDROM; Ethernet; клавиатура; мышь |
Операционная система: Microsoft Windows 2000 Server. Прикладное ПО: СУБД Microsoft SQL Server 2000 SP3; SCADA система - SIMATIC WinCC v.6.0, Siemens AG; проект: konv_1 |
3 |
|
5 |
Контроллер программируемый SIMATIC S7-400 (ZG1) |
Система программирования STEP7; проект: zagruz konv1 |
1 |
|
6 |
Контроллер программируемый SIMATIC S7-400 (ZG2) |
Система программирования STEP7; проект: zagruz kotel1 |
1 |
|
7 |
Программатор, минимальные требования: ноутбук 15"; Pentium IV; 3.0 ГГц; 512 Мбайт ОЗУ; 80 Гбайт HDD; DVD-R/RW; FDD; Ethernet; USB/MPI адаптер |
Операционная система: Microsoft Windows ХР Pro. Прикладное ПО: Пакет PCS7 v.6.0; система программирования STEP 7 |
1 |
|
8 |
Источник бесперебойного питания APC Black Smart-UPS 3000 VA/2700 W |
_ |
5 |
|
9 |
Стабилизированный блок питания модульного типа SITOP POWER 120/230-500 В АС (ивх), 24 В/10 A DC (ивых) |
_ |
24 |
|
10 |
Информационное табло MID PI1.8-SR18.03F |
_ |
2 |
Таблица 4
|
№ |
Наименование |
Коли-чество, шт. |
|
1 |
АСНм 46-09 «Модернизания автоматизированной системы управления технологическим процессом выплавки стали в конверторе № 1». Основные технические решения |
1 |
|
2 |
РИЦ039.00-ИЭ1 « Модернизация АСУ ТП выплавки стали в конвертере № 1 в рамках проекта замены конвертера и котла ОКГ-160У-1». Руководство пользователя |
1 |
|
3 |
РИЦ039.00-ИЭ2 « Модернизация АСУ ТП выплавки стали в конвертере № 1 в рамках проекта замены конвертера и котла ОКГ-160У-1». Руководство пользователя |
1 |
|
4 |
«Система измерительно-управляющая конвертера № 1 кислородноконвертерного цеха № 1 ОАО «ЕВРАЗ ЗСМК». Паспорт |
1 |
|
5 |
«Система измерительно-управляющая конвертера № 1 кислородноконвертерного цеха № 1 ОАО «ЕВРАЗ ЗСМК». Методика поверки |
1 |
Поверка
осуществляется по документу МП 51383-12 «Система измерительно-управляющая конвертера № 1 кислородно-конвертерного цеха № 1 ОАО «ЕВРАЗ ЗСМК». Методика поверки», утвержденному руководителем ГЦИ СИ ФБУ «Томский ЦСМ» «30» ноября 2011 г.
Основные средства поверки:
- средства измерений в соответствии с нормативной документацией по поверке первичных измерительных преобразователей;
- калибратор многофункциональный MC5-R. Основные метрологические характеристики калибратора приведены в таблице 5;
- миллиомметр Е6-18/1. Основные метрологические характеристики миллиомметра Е6-18/1 приведены в таблице 5.
Таблица 5
|
Наименование и тип средства поверки |
Основные метрологические характеристики | |
|
Диапазон измерений, номинальное значение |
Погрешность, класс точности, цена деления | |
|
Калибратор многофункциональный MC5-R |
Воспроизведение сигналов силы постоянного тока в диапазоне от 0 до 20 мА (при RHarp = 800 Ом) |
Д = ±(0,2Д0-Чоказ. +1) мкА |
|
Воспроизведение сигналов термопар типа ХА(К) по ГОСТ Р 8.585-2001 в диапазоне температуры: | ||
|
- от минус 200 до 0 °С; - от 0 до 1000 °С; - от 1000 до 1372 °С |
Д = ±(0,1 + 1Д0<Тпоказ.) °С; Д = ±(0,1 + 0,2'10’3-Тпоказ.) °С; Д = ±(0,340-3^ Тпоказ.) °С | |
|
Воспроизведение сигналов термопреобразователей сопротивления Pt100 в диапазоне температуры: - от минус 200 до 0 °С; - от 0 до 850 °С |
Д = ±0,10 °С; Д = ±(0,1 + 0,25'10’3-Тпоказ.) °С | |
|
Воспроизведение сигналов термопреобразователей сопротивления 100М в диапазоне температуры: - от минус 60 до 200 °С |
Д = ±(0,1 + 0,4^10-3 Тпоказ.) °С | |
|
Миллиомметр Е6-18/1 |
от 0,0001 до 100 Ом |
6 = ±1,5 % |
Примечания
1) В таблице приняты следующие обозначения: Д - абсолютная погрешность; 6 - относительная погрешность; 1показ., Тпоказ. - показания тока и температуры соответственно.
2) Разрешающая способность для термопар 0,01 °С, Явх > 10 МОм.
3) Разрешающая способность для термопреобразователей сопротивления 0,01 °С
Сведения о методах измерений
РИЦ039.00-ИЭ1 «Модернизация АСУ ТП выплавки стали в конвертере № 1 в рамках проекта замены конвертера и котла ОКГ-160У-1». Руководство пользователя.
РИЦ039.00-ИЭ2 «Модернизация АСУ ТП выплавки стали в конвертере № 1 в рамках проекта замены конвертера и котла ОКГ-160У-1». Руководство пользователя.
Нормативные документы
1 ГОСТ Р 8.596-2002 ГСИ Метрологическое обеспечение измерительных систем. Основные положения.
2 ГОСТ Р 51841-2001 Программируемые контроллеры. Общие технические требования и методы испытаний.
3 АСНм 46-09 «Модернизания автоматизированной системы управления технологическим процессом выплавки стали в конверторе № 1». Основные технические решения.
Рекомендации к применению
Осуществление производственного контроля за соблюдением установленных законодательством Российской Федерации требований промышленной безопасности к эксплуатации опасного производственного объекта.
Смотрите также