51762-12: УС-01 Усилители нормализующие логарифмические - Производители, поставщики и поверители

Усилители нормализующие логарифмические УС-01

ALL-Pribors default picture
Номер в ГРСИ РФ: 51762-12
Производитель / заявитель: ООО НПП "Датчик", г.Ростов-на-Дону
Скачать
51762-12: Описание типа
2017-51762-12.pdf
Скачать 154.4 КБ
51762-12: Методика поверки
2022-mp51762-12.pdf
Скачать 2 MБ
Свидетельство об утверждении типа СИ Открыть ...
Нет данных о поставщике
Поверка
Усилители нормализующие логарифмические УС-01 поверка на: www.ktopoverit.ru
КтоПоверит
Онлайн-сервис метрологических услуг

Усилители нормализующие логарифмические УС-01 (далее ╞ усилители или приборы) предназначены для измерения среднеквадратичного значения (СКЗ) напряжения в третьоктавной полосе частот со среднегеометрической частотой 10 кГц.

Информация по Госреестру

Основные данные
Номер по Госреестру 51762-12
Действует по 16.10.2027
Наименование Усилители нормализующие логарифмические
Модель УС-01
Код идентификации производства ОС
СИ не соответствует критериям подтверждения производства на территории РФ в соответствии с постановлением №719
Характер производства Серийное
Идентификатор записи ФИФ ОЕИ 6910909b-d3d3-1f54-d59e-5a2a1529174a
Год регистрации 2012
Информация устарела
Общие данные
Год регистрации 2012
Страна-производитель  Россия 
Информация о сертификате
Срок действия сертификата 20.11.2017
Номер сертификата 48754
Тип сертификата (C - серия/E - партия) C
Дата протокола Приказ 1044 п. 27 от 20.11.2012
Производитель / Заявитель

Общество с ограниченной ответственностью Научно-производственное предприятие "Датчик" (ООО НПП "Датчик), г. Ростов-на-Дону

 Россия 

Поверка

Методика поверки / информация о поверке ДАШВ 41.16.12.00.000 МП
Межповерочный интервал / Периодичность поверки
1 год
Зарегистрировано поверок
Найдено поверителей
Успешных поверок (СИ пригодно) 165 (77%)
Неуспешных поверок (СИ непригодно) 50 (23 %)
Актуальность информации 19.04.2026
Найти результаты поверки
Указан в паспорте или на самом приборе

Поверители

КтоПоверит
Онлайн-сервис метрологических услуг
Усилители нормализующие логарифмические УС-01 поверка на: www.ktopoverit.ru
КтоПоверит
Онлайн-сервис метрологических услуг

Скачать

51762-12: Описание типа
2017-51762-12.pdf
Скачать 154.4 КБ
51762-12: Методика поверки
2022-mp51762-12.pdf
Скачать 2 MБ
Свидетельство об утверждении типа СИ Открыть ...

Описание типа

Назначение

Усилители нормализующие логарифмические УС-01 (далее - усилители или приборы) предназначены для измерения среднеквадратичного значения (СКЗ) напряжения в третьоктав-ной полосе частот со среднегеометрической частотой 10 кГц.

Описание

Усилитель представляет собой функционально законченное электронное устройство в котором реализованы четыре измерительных канала, к усилителю подключаются четыре входные цепи, цепь питания 24В и цифровой интерфейс связи. Конструктивно усилитель выполнен в пластиковом корпусе с элементами крепления на рейку ТН35-7,5 по ГОСТ Р МЭК 60715-2003 и разъемами для подключения внешних цепей.

Усилитель предназначен для преобразования электрического сигнала в цифровой код пропорциональный среднеквадратичному значению (СКЗ) напряжения в третьоктавной полосе частот входного электрического сигнала. Источником входного сигнала усилителя может служит пьезоэлектрический преобразователь с выходной емкостью от 8 до 40 нФ. Усилители могут эксплуатироваться в климатических условиях, соответствующие группе 3 по ГОСТ 22261.

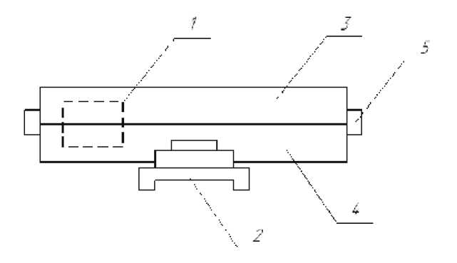
Фотографии общего вида усилителя приведены ниже:

На рисунке ниже обозначено место установки пломбы-наклейки

1 - место установки пломбы; 2 - крепление на рейку; 3 - верхняя крышка корпуса; 4 -нижняя крышка корпуса; 5 - разъемы для подключения

Программное обеспечение

(ПО) «USUtility-User» представляет собой внешнее программное обеспечение, предназначенное для проведения поверки усилителя. ПО не является обязательным составным элементом для работы усилителя и применяется в целях автоматизации и оптимизации процедуры поверки прибора.

Идентификационные данные программного обеспечения указаны в таблице 1

Таблица 1

Наименование программного обеспечения

Идентификационное наименование программного обеспечения

Номер версии (идентификационный номер) программного обеспечения

Цифровой идентификатор программного обеспечения(контрольная сумма исполняемого кода)

Алгоритм вычисления цифрового идентификатора программного обеспечения

USUtility-User

USUtility

2.1

7568a513865c67cc5e09

64daee8c360c

MD5

Уровень защиты ПО соответствует уровню «С» согласно МИ 3286-2010. ПО контроллеров и измеренные данные достаточно защищены от преднамеренных и не преднамеренных изменений при помощи специальных средств защиты.

Технические характеристики

№ п.п.

Наименование характеристики

Показатели точности

1

Диапазон СКЗ входных напряжений в третьоктав-ной полосе частот со средне геометрической частотой 10 кГц, В

от 540-6 до 0,2

2

Пределы допускаемой погрешности преобразования СКЗ входного напряжения при нормальных условиях (НУ), В

±(0.03U + Г10-6)

3

Рабочие условия эксплуатации

температура окружающей среды, °С

от 5 до 40

влажность воздуха, %

от 45 до 80

атмосферное давление, мм.рт. ст

от 630 до 800

напряжение питания, В

от 18 до 30

амплитуда пульсации питающего напряжения, не более, мВ

50

4

Пределы допускаемой погрешности преобразования СКЗ входного напряжения при изменении температуры окружающей среды, В:

при минимальном значении рабочей температуры (+5ОС)

от -(0,03U + Ы0-6) до +(0,035U + Г10-6)

при максимальном значении рабочей температуры (+40ОС)

от -(0,04U + Ы0-6) до +(0,03U + Г10-6)

5

Время установления рабочего режима, ч

0,5

6

Продолжительность непрерывной работы

в течение всего срока службы

7

Входной импеданс

имеет реактивный характер, соответствующий параллельно соединенным индуктивности 85±35 мГн и ёмкости 3,5±1 нФ

8

Количество измерительных каналов в одном усилителе, шт.

4

№ п.п.

Наименование характеристики

Показатели точности

9

Частотная характеристика

Частота, Гц

Минимальный; максимальный предел относительного затухания, дБ

1840

+70; +v

3257,8

+61; +от

5299,6

+42; + v;

7718,1

+ 17,5; +v

8909

+2; +5

8909

-0,3; +5

9193,2

-0,3; +1,3

9470,2

-0,3; +0,6

9739,4

-0,3; +0,4

10000

-0,3; +0,3

10267,6

-0,3;+0,4

10559,4

-0,3; +0,6

10877,6

-0,3; +1,3

11224,6

-0,3; +5

11224,6

+2; +5

12956,5

+ 17,5; +v

18869,5

+42; +v

30695,5

+61; +v

54347,4

+70; +v

10

Диапазон напряжения питания, В

от 18 до 30

11

Потребляемый ток, не более, А

0,2

12

Габаритные размеры, не более, мм

165x120x50

13

Масса, не более, кг

330

14

Тип цифрового интерфейса

RS-485

15

Средний срок службы усилителя, не менее, лет

5

16

Средняя наработка на отказ, ч

45 000

Знак утверждения типа

Знак утверждения типа наносится на титульный лист руководства по эксплуатации и формуляра печатным методом.

Комплектность

В комплект усилителя входят:

Обозначение документа

Наименование и условное обозначение

Количество

Усилитель

1 шт.

ДАШВ 41.16.12.00.000 РЭ

Руководство по эксплуатации (РЭ)

1 1

1 шт.

ДАШВ 41.16.12.00.000 ФО

Формуляр

1 шт.

ДАШВ 41.16.12.00.000 МП

Методика поверки (МП)

1 шт.

Комплект принадлежностей для поверки

1 2

1 шт.

Примечания:

1. Усилители могут упаковываться в общую для партии упаковку и комплектоваться одним РЭ на партию.

2. Комплект принадлежностей для поверки поставляется по отдельному заказу.

Поверка

осуществляется в соответствии с документом ДАШВ 41.16.12.00.000 МП «Усилитель нормализующий логарифмический УС-1. Методика поверки», утвержденным ГЦИ СИ ФБУ «Ростовский ЦСМ» в 2012 году.

Основные средства поверки:

Вольтметр универсальный цифровой В7-78/1 (Госреестр № 31773-06);

Генератор сигналов специальной формы АКИП-3402 (Госреестр № 40102-08);

Цифровой измеритель Е7-8 (Госреестр № 4353-74).

Сведения о методиках (методах) измерений изложены в ДАШВ 41.16.12.00.000 РЭ «Усилитель нормализующий логарифмический УС-1. Руководство по эксплуатации»

Нормативные документы

ТУ 4221-001-80370159-2012 Усилитель нормализующий логарифмический УС-1.

Технические условия.

Рекомендации к применению

-осуществление производственного контроля за соблюдением установленных законодательством Российской Федерации требований промышленной безопасности к эксплуатации опасного производственного объекта

Смотрите также

Default ALL-Pribors Device Photo
51763-12
ЭМИС-ЭЛЕКТРА Системы автоматизированные информационно-измерительные коммерческого учета электроэнергии и мощности
ЗАО "Электронные и механические измерительные системы", РОССИЯ, г.Челябинск
Системы автоматизированные информационно-измерительные коммерческого учета электроэнергии и мощности ЭМИС-ЭЛЕКТРА (далее - АИИС КУЭ, система) предназначены для измерений активной и реактивной электроэнергии и мощности, поставленной/потребленной за ус...
Default ALL-Pribors Device Photo
51764-12
Fluke 1621 Тестеры заземления
Фирма "Fluke Corporation", СОЕДИНЕННЫЕ ШТАТЫ
Тестеры заземления Fluke 1621 (далее тестеры) предназначены для измерения сопротивления заземления заземляющего электрода, измерения сопротивления переменному току, а так же обнаружения напряжения наводок.
Комплексы измерительно-вычислительные для мониторинга работающих механизмов 3500/40, 3500/42М, 3500/44М, 3500/45, 3500/46М, 3500/50, 3500/53, 3500/60, 3500/61, 3500/62, 3500/63, 3500/64, 3500/65, 3500/70М, 3500/72М, 3500/77М, 1900/65А, ADRE 408 DSPi...
Default ALL-Pribors Device Photo
Система автоматизированная информационно-измерительная коммерческого учета электроэнергии ОАО ┌Волжский Оргсинтез√ предназначена для измерений активной и реактивной электроэнергии, измерения времени в координированной шкале времени UTC.
Default ALL-Pribors Device Photo
Система автоматизированная информационно-измерительная коммерческого учета электроэнергии (мощности) (АИИС КУЭ) ┌АСПО√ (далее по тексту ╞ АИИС КУЭ) предназначена для измерения активной и реактивной электроэнергии, для осуществления эффективного автом...