Расходомеры-счетчики вихревые ИРВИС-РС4М
| Номер в ГРСИ РФ: | 55172-13 |
|---|---|
| Категория: | Расходомеры |
| Производитель / заявитель: | ООО НПП "Ирвис", г.Казань |
Расходомеры-счетчики вихревые ИРВИС-РС4М предназначены для измерения и индикации объемного расхода и объема при рабочих условиях водорода, гелия, неагрессивных горючих и инертных газов (далее - газы), водяного пара, и вычисления объемного расхода (объема) газов, приведенных к стандартным условиям по ГОСТ 2939-63, массового расхода пара, количества тепловой энергии на основании измеренных температуры, давления и объемного расхода.
Информация по Госреестру
| Основные данные | |
|---|---|
| Номер по Госреестру | 55172-13 |
| Действует | по 13.07.2029 |
| Наименование | Расходомеры-счетчики вихревые |
| Модель | ИРВИС-РС4М |
| Код идентификации производства |
ОС
СИ не соответствует критериям подтверждения производства на территории
РФ в соответствии с постановлением №719
|
| Характер производства | Серийное |
| Идентификатор записи ФИФ ОЕИ | c4ea9dce-ffed-1ec0-d2f9-cdb7562cc088 |
| Год регистрации | 2013 |
| Общие данные | |
|---|---|
| Год регистрации | 2013 |
| Страна-производитель | Россия |
| Информация о сертификате | |
| Срок действия сертификата | 10.10.2018 |
| Тип сертификата (C - серия/E - партия) | C |
| Дата протокола | Приказ 1165 п. 03 от 10.10.2013 |
Производитель / Заявитель
Общество с ограниченной ответственностью научно-производственное предприятие «ИРВИС» (ООО НПП «ИРВИС»), г. Казань
Россия
Поверка
| Методика поверки / информация о поверке | 9100.0000.00 МП5 - первичная поверка;ИРВС 9100.000.00 РЭ5. Раздел 5 - периодическая поверка |
| Межповерочный интервал / Периодичность поверки |
3 года
|
| Зарегистрировано поверок |
5415
|
| Найдено поверителей | |
| Успешных поверок (СИ пригодно) | 5395 (100%) |
| Неуспешных поверок (СИ непригодно) | 20 (0 %) |
| Актуальность информации | 21.04.2026 |
Поверители
Скачать
|
55172-13: Описание типа
2022-55172-13.pdf
|
Скачать | 542.2 КБ | |
|
55172-13: Методика поверки
2022-mp55172-13.pdf
|
Скачать | 1.4 MБ |
Описание типа
Назначение
Расходомеры-счетчики вихревые ИРВИС-РС4М (далее - расходомеры-счетчики) предназначены для измерения и индикации объемного расхода и объема при рабочих условиях водорода, гелия, неагрессивных горючих и инертных газов (далее - газы), водяного пара, и вычисления объемного расхода (объема) газов, приведенных к стандартным условиям по ГОСТ 2939-63, массового расхода пара, количества тепловой энергии на основании измеренных температуры, давления и объемного расхода.
Описание
Принцип действия расходомеров-счетчиков основан на эффекте формирования за телом обтекания цепочки вихрей (вихревой дорожки Кармана), частота следования которых в широком диапазоне скоростей пропорциональна объемному расходу среды. Фиксация частоты срыва вихрей производится чувствительным элементом детектора вихрей (далее - ДВ), чувствительного к пульсациям скорости либо давления, расположенным в канале перетока тела обтекания. При этом безразмерная частота формирования вихрей (число Sh) зависит только от соотношения инерционных и вязких сил при обтекании тела (числа Рейнольдса Re). Соотношение между этими двумя числами гидродинамического подобия является универсальным для различных сред и их параметров. Градуировочная зависимость расходомера-счетчика, полученная в результате сличения с образцовым расходомером, позволяет по частоте выходного сигнала определять значение объемного расхода среды.
Расходомеры-счетчики проводят расчет коэффициента сжимаемости газов, для приведения измеренного объемного расхода (объема) к стандартным условиям. Для природного газа коэффициент сжимаемости вычисляется по ГОСТ 30319.2-2015 и ГОСТ 30319.3-2015, для свободного нефтяного газа по ГСССД МР 113-2003, для других газов - в соответствии с нормативно-справочной документацией на эти газы, в том числе по ГСССД МР 118-2005, ГСССД МР 135-2007 и ГСССД МР 147-2008.
Расходомеры-счетчики в зависимости от модификации, конструктивного исполнения и комплектации состоят из первичных преобразователей (далее - ПП) и блоков интерфейса и питания (далее - БИП), являющихся автономными блоками, а также измерительных участков (далее - ИУ), устройств подготовки потока (далее - УПП), шлюзовых камер, соединительных кабелей, соединительных кабелей первичных преобразователей давления и температуры. В составе расходомера-счетчика может быть более одного ПП и/или более одного БИП.
ПП состоит из первичного преобразователя расхода (далее - ППР), первичного преобразователя давления (далее - ППД), первичного преобразователя температуры (далее -ППТ), блока преобразователя-усилителя (далее - БПУ), индикатора потока ИРВИС - ИП.
ППР представляет собой отрезок трубопровода с установленным в нем вихревым преобразователем расхода. Вихревой преобразователь расхода представляет собой тело обтекания с установленным в нем ДВ.
БИП состоит из корпуса БИП, блока индикации с кнопками управления БИ, барьера искрозащиты БИЗ, специализированного многоканального регистратора информации РИ, токового интерфейса ТИ, блока питания сетевого БПС, блока питания внешнего БПВ, адаптера внешнего питания АВП, устройства бесперебойного питания ИРВИС-УБП,
коммуникационного кабеля, блока четырехзначной индикации БИ4, блока управления БУ, адаптера питания АП. Состав БИП зависит от модификации расходомера-счетчика и может выпускаться в бескорпусном исполнении для монтажа на DIN-рейку.
Сигналы ДВ, ППД и ППТ обрабатываются в БПУ и в виде цифрового кода передаются по соединительному кабелю в РИ.
БИП обеспечивает питание одного или нескольких ПП по искробезопасной цепи. Специализированный многоканальный регистратор информации РИ, в составе БИП, обеспечивает прием данных об измеренных параметрах с одного или нескольких ПП.
ИУ и УПП представляют собой отрезки трубопроводов прямой или специальной формы, предназначенные для нормализации потока с целью обеспечения корректности измерений, производимых расходомером-счетчиком. В зависимости от условий применения и конструктивных особенностей УПП могут иметь следующие модификации: «Турбулизатор-ТР», «Турбулизатор-У», «Турбулизатор-У-Эндо», «Турбулизатор-Шг» и «Турбулизатор-Шг-Эндо».
Расходомеры-счетчики по конструктивному исполнению ПП имеют три модификации: полнопроходную (ИРВИС-РС4М-Пп), вставную (ИРВИС-РС4М-В) и погружную (ИРВИС-РС4М-Пр).
Расходомеры-счетчики по условиям применения имеют три исполнения, которые обозначаются:
ИРВИС-РС4М-ХХ-16(25...100) Газ с давлением до 1,6 (2,5; 4,0; 6,3; 10) МПа;
ИРВИС-РС4М-ХХ-Пар Газ при давлении до 10 МПа, водяной пар при давлении до
2,5 МПа и температурой до 250 °С;
ИРВИС-РС4М-ХХ-АэрМ Водород технический ГОСТ 3022 марок А, Б и В, гелий
ТУ 51-490-80 марок А, Б и В.
Расходомеры-счетчики в зависимости от типа, примененного ДВ имеют три исполнения: ППС, ДДП, ДИМ.
В состав расходомера-счетчика может входить устройство ИРВИС-Извещатель, предназначенное для дистанционного контроля текущих значений и получения архивов, а также оповещения о нештатной работе. Для копирования архивов из памяти расходомера счетчика используется комплект вспомогательных устройств «Диспетчеризация ногами».
Для диагностики расходомеров-счетчиков, а также считывания, обработки и анализа архивных и текущих данных с расходомеров-счетчиков может применяться программное обеспечение «ИРВИС-ТП. Диспетчер».
В состав расходомеров-счетчиков может входить индикатор потока, предназначенный для индикации расхода газа ниже порога чувствительности расходомера-счетчика.
Общий вид расходомеров-счетчиков представлен на рисунке 1. Внешний вид БИП представлен на рисунке 2
а) модификация ИРВИС-РС4М-Пп
б) модификация ИРВИС-РС4М-Пп-Пар(АэрМ)
в) модификация ИРВИС-РС4М-Пр
г) модификация ИРВИС-РС4М-В
Рисунок 1 - Общий вид ПП расходомеров-счетчиков
а) корпусное исполнение б) бескорпусное исполнение
Рисунок 2 - Общий вид БИП
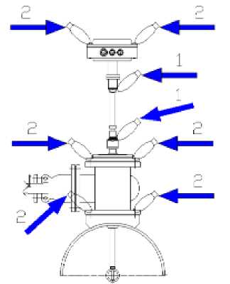
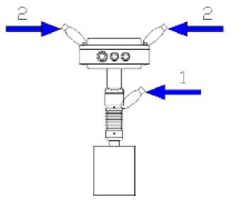
Пломбировка расходомеров-счетчиков осуществляется нанесением знака поверки и установкой пломб предприятия, проводившего пусконаладочные работы и (или) установкой специальных разрушаемых стикеров изготовителя.
Пломбировка расходомеров-счетчиков нанесением знака поверки осуществляется давлением на свинцовые (пластмассовые) пломбы, установленных на контровочных проволоках, проведенных через специальные отверстия, отмеченные цифрой 1 на рисунке 3 и в виде оттиска каучукового клейма, нанесенного на маркировочные таблички первичного преобразователя и блока интерфейса и питания, отмеченные цифрой 4 на рисунке 3.
Пломбировка расходомеров-счетчиков предприятием, производившим
пусконаладочные работы, осуществляется установкой свинцовых (пластмассовых) пломб, установленных на контровочных проволоках, проведенных через специальные отверстия, отмеченных цифрой 2 на рисунке 3.
Пломбировка расходомеров-счетчиков установкой специальных разрушаемых стикеров изготовителя осуществляется для блока интерфейса и питания, имеющего бескорпусное исполнение. Места нанесения специальных разрушаемых стикеров отмечены цифрой 3 на рисунке 3.
Заводской номер расходомера-счетчика наносится на маркировочную табличку методом лазерной гравировки.
а) модификация ИРВИС-РС4М-Пп
б) модификация ИРВИС-РС4М-Пп-Пар
в) модификация ИРВИС-РС4М-Пр
г) модификация ИРВИС-РС4М-В
д) блок интерфейса и питания в корпусном
исполнении
е) блок интерфейса и питания в бескорпусном
исполнении
з) маркировочная табличка первичного преобразователя
Рисунок 3 - Схема пломбировки от несанкционированного доступа, обозначение места нанесения знака поверки
ж) маркировочная табличка блока интерфейса и питания
Программное обеспечение
Программное обеспечение (далее - ПО) является встроенным ПО БИП, БПУ и обеспечивает реализацию функций расходомеров-счетчиков.
Защита ПО расходомеров-счетчиков от непреднамеренных и преднамеренных изменений и обеспечение его соответствия утвержденному типу, осуществляется путем разделения, идентификации, защиты от несанкционированного доступа. Идентификация ПО расходомеров-счетчиков осуществляется путем отображения на дисплее структуры идентификационных данных. Часть этой структуры, относящаяся к идентификации ПО расходомеров-счетчиков, представляет собой хэш-сумму (контрольную сумму) ПО. Программный код от непреднамеренных и преднамеренных изменений и считываний защищен с помощью log-битов защиты, ведения доступного только для чтения журнала событий.
Доступ к ПО расходомеров-счетчиков для пользователя закрыт. При изменении установленных параметров (исходных данных) в ПО системы обеспечивается подтверждение изменений, проверка изменений на соответствие требованиям реализованных алгоритмов, при этом сообщения о событиях (изменениях) записываются в журнал событий, доступный только для чтения. Данные, содержащие результаты измерений, защищены от любых искажений путем кодирования.
Уровень защиты ПО «высокий» в соответствии с Р 50.2.077-2014.
Таблица 1 - Идентификационные данные ПО
|
Идентификационные данные (признаки) |
Значение | ||
|
Наименование ПО |
расходомеров-счетчиков одноканальных |
расходомеров-счетчиков многоканальных |
расходомеров-счетчиков многоканальных специальной комплектации (с индикатором потока, реверсивных и т.п.) |
|
Идентификационное наименование ПО1 |
РИ |
РИ |
РИ |
|
Номер версии ПО2 |
423..449, 461..499 |
863..899 |
613..619, 623..629, 657..670 |
|
Цифровой идентификатор ПО |
0x641666AF |
0x3B476C2C |
0xCCC0EC4C |
|
Идентификационные данные (признаки) |
Значение | ||
|
Алгоритм вычисления цифрового идентификатора ПО |
CRC-32 |
CRC-32 |
CRC-32 |
|
Примечания: 1 В документации, распечатываемых отчетах, при выводе через интерфейс пользователя, интерфейс связи (RS232, RS485) идентификационное наименование ПО, номер аппаратной комплектации, номер версии ПО могут разделяться знаком «дефис» («-»), идентификационное наименование ПО может выводится кириллицей («РИ») или латиницей («RI»). 2 Последняя цифра трехзначного номера версии ПО относится к обозначению метрологически незначимой части ПО, по этой причине не влияет на контрольную сумму метрологически значимой части ПО. | |||
Для конфигурирования, диагностики расходомера-счетчика вихревого ИРВИС-РС4М, проведения поверки, а также считывания, обработки и анализа архивных и текущих данных с расходомеров-счетчиков может применяться программное обеспечение «ИРВИС-ТП».
Технические характеристики
Таблица 2 - Метрологические характеристики
|
Наименование параметра |
Значение параметра | |||
|
Модификация расходомера-счетчика | ||||
|
ИРВИС-РС4М-Пп-1 |
ИРВИС-РС4М-Пп-0,7 |
ИРВИС-РС4М-В |
ИРВИС-РС4М-Пр | |
|
Диапазон измерений объемного расхода газа при рабочих условиях, м3/ч |
от 7 до 12000 |
от 11 до 12000 |
от 717 до 120001 (при DN300) | |
|
Диапазон измерений массового расхода пара, т/ч |
от 0,0049 до 130,9 |
от 0,015 до 130,9 |
от 0,5 до 139 (при DN300)1 | |
|
Диапазон измерений температуры, °С |
от - 40 до + 250 | |||
|
Диапазон измерений абсолютного давления, МПа: - природного газа - прочих газов |
от 0,05 до 10,00 от 0,05 до 10,00 | |||
|
Номинальный диаметр DN |
27, 50, 80, 100, 150, 200, 300 |
50, 80, 100, 150, 200, 300 |
от 300 до 2000 | |
|
Пределы допускаемой относительной погрешности (относительной расширенной неопределенности) при измерении объемного расхода (объема) газа и пара при рабочих условиях, %: Qпор — Q < Опер Опер — Q — Q. |
±(0,533 + 1,467Qop/Q) ±0,9 |
±(0,133+ 1,867Qop/Q) ±0,6 |
±(0,933 + 1,067Qm3p/Q) ±1,2 |
±(0,933+ 1,067Qm3p/Q) ±1,2 |
|
Наименование параметра |
Значение параметра | |||
|
Модификация расходомера-счетчика | ||||
|
ИРВИС-РС4М-Пп-1 |
ИРВИС-РС4М-Пп-0,7 |
ИРВИС-РС4М-В |
ИРВИС-РС4М- Пр | |
|
Пределы допускаемой относительной погрешности (относительной расширенной неопределенности) при измерении температуры, % |
±0,25 | |||
|
Пределы допускаемой относительной погрешности (относительной расширенной неопределенности) при измерении абсолютного давления, % |
±0,3 | |||
|
Пределы допускаемой относительной погрешности (относительной расширенной неопределенности) вычислений объемного расхода (объема) газа при стандартных условиях, обусловленной алгоритмом вычислений и его программной реализацией, % |
±0,05 | |||
|
Пределы допускаемой основной относительной погрешности (относительной расширенной неопределенности) расходомера-счетчика при измерении объемного расхода (объема) газа, приведенного к стандартным условиям, или массы газа, с учетом погрешностей измерения объемного расхода, давления, температуры и вычисления коэффициента сжимаемости в диапазоне расходов, %: Qnop < Q < Q^ Рпер < Q < Рнаиб |
±(0,5 + 2Qпoр/Q) ±1 |
±(0,1 + 2,4Qop/Q) ±0,7 |
±(0,67 + 3,33Qop/Q) ±1,5 |
±(0,67 + 3,33Qop/Q) ±1,5 |
|
Наименование параметра |
Значение параметра | |||
|
Модификация расходомера-счетчика | ||||
|
ИРВИС-РС4М-Пп-1 |
ИРВИС-РС4М-Пп-0,7 |
ИРВИС-РС4М-В |
ИРВИС-РС4М-Пр | |
|
Пределы допускаемой относительной погрешности при измерении энергосодержания (без учета погрешности определения теплоты сгорания газа) и количества тепловой энергии (без учета погрешности вычисления энтальпии водяного пара) в диапазоне расходов, %: Qпор — Q + Qпер Рпер — Q — Рнаиб |
+(0,5 + 2Qпор/Q) +1 |
+(0,1 + 2^пор^ +0,7 |
+(0,67 + З,ЗЗQпор/Q) +1,5 |
+(0,67 + 3,33Qпор/Q) +1,5 |
|
Пределы допускаемой относительной погрешности преобразования цифровых сигналов в выходные аналоговые (токовые) по ГОСТ 26.011-80, % |
+0,2 | |||
|
Пределы допускаемой относительной погрешности расходомера-счетчика при наборе дозы от 100 до 9999 м3, % |
+2 | |||
|
Пределы допускаемой относительной погрешности счетчика времени наработки, % |
+0,01 | |||
|
Пределы дополнительной относительной погрешности расходомера-счетчика при измерении объемного расхода (объема) от влияния изменения температуры окружающей среды от (20+5) С в рабочем диапазоне температур, %/10 °С. |
+0,15 | |||
Примечания:
1 Диапазон измерения зависит от диаметра трубопровода, на котором применяется расходомер-счетчик, и определяется в соответствии с руководством по эксплуатации.
Qпор - пороговое значение измеряемого расхода;
Qпер - переходное значение измеряемого расхода;
Рнаиб - наибольшее значение измеряемого расхода.
Методика определения Qпор и Qпер приведена в технических условиях.
Значения объемных расходов измеряемой среды даны для следующих условий:
рабочий газ - воздух; давление Рабс = 0,1 МПа, температура - плюс 20 °С;
рабочий газ - перегретый или насыщенный сухой водяной пар при температуре плюс 250 °С.
Таблица 3 - Основные технические характеристики
|
Наименование параметра |
Значение |
|
Измеряемая среда |
природный газ по ГОСТ 5542-2014, свободный нефтяной газ, водород, гелий, ацетилен, другие горючие газы, воздух, инертные газы, перегретый водяной и насыщенный сухой пар |
|
Выходные сигналы |
частотный (от 0 до 10000 Гц); импульсный; аналоговый1 (от 0 до 5 мА и от 4 до 20 мА); |
|
Цифровые интерфейсы связи |
RS232, RS485, Ethernet TCP/IP1, сотовая связь1, СТРП-18.21 |
|
Параметры измеряемой среды: - вязкость газов, Па •с |
от 6-10-6 до 35-10-6 |
|
Параметры электрического питания: - напряжение переменного тока, В - частота переменного тока, Гц |
220 + 50+1 |
|
Потребляемая мощность, Вт, не более |
25 |
|
Габаритные размеры ПП, мм, не более: - высота - ширина - длина Габаритные размеры БИП, мм, не более: - высота - ширина - длина |
от 193 до 260 от 190 до 202 от 200 до 1115 250 430 155 |
|
Масса, кг, не более - ПП - БИП |
от 3,5 до 302 3,5 |
|
Условия эксплуатации: - температура окружающей среды, °С а) ПП б) БИП - относительная влажность при температуре плюс 35 °С, %, не более - атмосферное давление, кПа |
от -40 до +45; от -10 до +452 (95 + 3)% от 84,0 до 106,7 |
|
Устойчивость к воздействию синусоидальных вибраций: - ИРВИС-РС4-ХХ-ДДП - ИРВИС-РС4-Пп-ППС |
частота синусоидальных вибраций от 5 до 150 Гц, амплитуда ускорения не более 6,8 м/с2; частота синусоидальных вибраций от 5 до 55 Гц, амплитуда смещения для частоты ниже частоты перехода 0,35 мм, амплитуда ускорения для частоты выше частоты перехода 19,6 м/с2 |
|
Средняя наработка на отказ, ч Средний срок службы, лет |
80000 15 |
|
Наименование параметра |
Значение |
|
Маркировка взрывозащиты: - ПП - БИП |
1Ex ib d ПС T4 Gb X [Ex ib Gb] IIC |
|
Степень защиты по ГОСТ 14254-2015 |
IP543 |
|
Примечания: 1 Комплектуется по заказу. 2 По специальному заказу возможно исполнение БИП - от минус 40 до плюс 45 °С. 3 Степень защиты БИП в бескорпусном исполнении определяется степенью защиты шкафа (корпуса), в котором он установлен (не менее IP54). | |
Знак утверждения типа
наносится на маркировочные таблички, прикрепляемые к ПП и БИП расходомера-счетчика методом лазерной гравировки (шелкографии и т.п.) и на титульные листы руководства по эксплуатации типографским способом.
Комплектность
Таблица 4 - Комплектность средства измерений
|
Наименование |
Обозначение |
Количес тво |
Примечание |
|
Первичный преобразователь1 |
В зависимости от модификации |
от 1 до 4 шт. |
Количество ПП определяется по заказу |
|
Индикатор потока ИРВИС-ИП |
от 1 до 2 шт. |
Поставляется по заказу в составе расходомера-счетчика | |
|
ИУ |
от 1 до 4 шт. |
Поставляется по заказу в составе расходомера-счетчика | |
|
УПП |
от 1 до 4 шт. |
Поставляется по заказу в составе расходомера-счетчика | |
|
Блок интерфейса и питания |
от 1 до 4 шт. |
Количество БИП определяется по заказу | |
|
ИРВИС-Извещатель |
1 шт. |
Поставляется по заказу | |
|
Расходомеры-счетчики ИРВИС-РС4М. Паспорт |
ИРВС 9100.0000.00 ПС5 |
1 экз. | |
|
Расходомеры-счетчики ИРВИС-РС4М. Руководство по эксплуатации |
ИРВС 9100.0000.00 РЭ5 |
1 экз. |
На каждые 5 расходомеров-счетчиков, направляемых в один адрес |
|
Первичный преобразователь температуры. Паспорт |
В зависимости от типа |
1 экз. |
— |
|
Первичный преобразователь температуры. Свидетельство о поверке (при его наличии) |
В зависимости от типа |
1 экз. |
— |
|
Наименование |
Обозначение |
Количес тво |
Примечание |
|
Соединительный кабель |
МКЭШ 5^0,52 ГОСТ 10348-80 |
10 м |
— |
|
Более 10м |
Поставляется по заказу в составе расходомера-счетчика | ||
|
Комплект ЗИП: - вставка плавкая ВП-1-2; - детектор вихрей |
ОЮО.480.003.ТУ |
2 шт. 1 шт. |
В составе расходомера-счетчика модели ИРВИС-РС4М-ХХ-ППС |
|
Комплект монтажный. |
1 шт. |
Поставляется по заказу в составе расходомера-счетчика | |
|
ИУ. Паспорт. |
1 экз. |
Поставляется по заказу в составе расходомера-счетчика | |
|
Комплект «Диспетчеризация ногами» |
1 комплект. |
— | |
|
ИРВИС-РС4. Инструкция по эксплуатации комплекта «Диспетчеризация ногами» |
И9101-204 |
1 экз. |
— |
|
Модуль «ИРВИС-ТП. Диспетчер», в комплекте с нуль-модемным кабелем |
ПО ИРВИС-ТП. Диспетчер. Версия ХХ |
1 шт. |
Поставляется по заказу в составе расходомера-счетчика |
Примечания:
1 Первичный ППД поверяется в составе расходомера-счетчика. Отдельного свидетельства о поверке ППД не выпускается.
2 Марка кабеля может быть заменена на другую с аналогичными характеристиками;
3 Только для бескорпусного исполнения БИП.
Сведения о методах измерений
Методика измерений газа изложена в ГОСТ Р 8.740-2011 «ГСИ. Расход и количество газа. Методика измерений с помощью турбинных, ротационных и вихревых расходомеров и счетчиков»
Методика измерений водяного пара изложена в ФР.1.29.2003.00885 «ГСИ. Расход и количество газа. Методика выполнения измерений расходомерами газа вихревыми».
Нормативные документы
Приказ Росстандарта от 29.12.2018 №2825 «Об утверждении Государственной
поверочной схемы для средств измерений объемного и массового расходов газа»
ГОСТ 30319.2-2015 Газ природный. Методы расчета физических свойств. Вычисление физических свойств на основе данных о плотности при стандартных условиях и содержании азота и диоксида углерода
ГОСТ 30319.3-2015 Газ природный. Методы расчета физических свойств. Вычисление физических свойств на основе данных о компонентном составе
ГОСТ Р 8.740-2011 ГСИ. Расход и количество газа. Методика измерений с помощью турбинных, ротационных и вихревых расходомеров и счетчиков
ГОСТ Р 8.741-2011 ГСИ. Объем природного газа. Общие требования к методикам измерений
ГОСТ Р 8.615-2005 ГСИ. Измерения количества извлекаемых из недр нефти и нефтяного газа
ГОСТ Р 8.733-2011 ГСИ. Системы измерений количества и параметров свободного нефтяного газа. Общие метрологические и технические требования
Расходомеры-счетчики вихревые ИРВИС-РС4М. Технические условия.
ИРВС 9100.0000.00 ТУ5
Другие Расходомеры




