Расходомеры-счетчики газа ультразвуковые Turbo Flow UFG
| Номер в ГРСИ РФ: | 56432-14 |
|---|---|
| Категория: | Счетчики газа |
| Производитель / заявитель: | ООО НПО "Турбулентность-Дон", с.Чалтырь |
|
56432-14: Методика поверки
МП 208-112-2025
2025-mp56432-14.pdf
|
Скачать | 3.6 MБ | |
|
56432-14: Методика поверки
МП 208-026-2023
2023-mp56432-14-1.pdf
|
Скачать | 1.4 MБ | |
|
56432-14: Методика поверки
МП 208-055-2017
2025-mp56432-14-1.pdf
|
Скачать | 418.7 КБ | |
|
56432-14: Методика поверки
МП 208-055-2017 с изм.№1
2025-mp56432-14-2.pdf
|
Скачать | 2.2 MБ | |
|
56432-14: Описание типа
2025-56432-14-1.pdf
|
Скачать | 1.8 MБ | |
|
56432-14: Описание типа
2025-56432-14-2.pdf
|
Скачать | 161.8 КБ | |
|
56432-14: Описание типа
2024-56432-14-1.pdf
|
Скачать | 1.5 MБ | |
|
56432-14: Методика поверки
2025-mp56432-14-3.pdf
|
Скачать | 233.9 КБ |
Расходомеры - счетчики газа ультразвуковые Turbo Flow UFG (далее - расходомеры) предназначены для измерений объемного расхода и объема газа при рабочих условиях и вычислений объемного расхода и объема газа, приведенного к стандартным условиям, а также для вычислений массового расхода и массы газов, в том числе природного и свободного нефтяного газа, сжигаемого на факелах.
Информация по Госреестру
| Основные данные | |||||||||||||
|---|---|---|---|---|---|---|---|---|---|---|---|---|---|
| Номер по Госреестру | 56432-14 | ||||||||||||
| Действует | по 19.07.2028 | ||||||||||||
| Наименование | Расходомеры-счетчики газа ультразвуковые | ||||||||||||
| Модель | Turbo Flow UFG | ||||||||||||
| Модификации |
Turbo Flow UFG-Н Turbo Flow UFG-F Turbo Flow UFG-Z |
||||||||||||
| Приказы |
№2477 от
17.11.2025
— О внесении изменений в сведения об утвержденных типах средств измерений
|
||||||||||||
| Код идентификации производства |
ОС
СИ не соответствует критериям подтверждения производства на территории
РФ в соответствии с постановлением №719
|
||||||||||||
| Характер производства | Серийное | ||||||||||||
| Идентификатор записи ФИФ ОЕИ | 21db6e62-ff5f-8ac1-df83-541324c37aa0 | ||||||||||||
| Испытания |
|
||||||||||||
| Год регистрации | 2014 | ||||||||||||
| Общие данные | |
|---|---|
| Класс СИ | 29.01.02 |
| Год регистрации | 2014 |
| Страна-производитель | Россия |
| Информация о сертификате | |
| Срок действия сертификата | 05.02.2019 |
| Тип сертификата (C - серия/E - партия) | C |
| Дата протокола | Приказ 85 п. 81 от 05.02.2014 |
Производитель / Заявитель
ООО НПО «Турбулентность-Дон», РОССИЯ, 346815, Ростовская обл., Мясниковский м.р-н, Краснокрымское с.п., автодорога Ростов-на-Дону – Новошахтинск тер., 1-й км, зд. 6/8
Россия
Поверка
| Методика поверки / информация о поверке |
МП 208-112-2025 Государственная система обеспечения единства измерений. Расходомеры-счетчики газа ультразвуковые Turbo Flow UFG. Методика поверки
(с 17.11.2025)
МП 208-026-2023 Государственная система обеспечения единства измерений. Расходомеры-счетчики газа ультразвуковые Turbo Flow UFG. Методика поверки
(с 22.08.2023)
МП 208-055-2017 Расходомеры-счетчики газа ультразвуковые Turbo Flow UFG. Методика поверки
(с 13.11.2017)
МП 208-055-2017 с изм.№1 Расходомеры-счетчики газа ультразвуковые Turbo Flow UFG. Методика поверки
(с 02.12.2022)
Расходомеры-счетчики газа ультразвуковые Turbo Flow UFG. Методика поверки
(с 19.07.2014)
|
| Межповерочный интервал / Периодичность поверки |
4 года
|
| Зарегистрировано поверок |
8496
|
| Найдено поверителей | |
| Успешных поверок (СИ пригодно) | 8434 (99%) |
| Неуспешных поверок (СИ непригодно) | 62 (1 %) |
| Актуальность информации | 15.05.2026 |
Поверители
Скачать
|
56432-14: Описание типа
2024-56432-14.pdf
Файл устарел
|
Скачать | 1.5 MБ | |
|
56432-14: Методика поверки
2023-mp56432-14.pdf
Файл устарел
|
Скачать | 7.7 MБ | |
|
56432-14: Описание типа
2025-56432-14.pdf
Файл устарел
|
Скачать | 1.8 MБ | |
|
56432-14: Методика поверки
МП 208-112-2025
2025-mp56432-14.pdf
|
Скачать | 3.6 MБ | |
|
56432-14: Методика поверки
МП 208-026-2023
2023-mp56432-14-1.pdf
|
Скачать | 1.4 MБ | |
|
56432-14: Методика поверки
МП 208-055-2017
2025-mp56432-14-1.pdf
|
Скачать | 418.7 КБ | |
|
56432-14: Методика поверки
МП 208-055-2017 с изм.№1
2025-mp56432-14-2.pdf
|
Скачать | 2.2 MБ | |
|
56432-14: Описание типа
2025-56432-14-1.pdf
|
Скачать | 1.8 MБ | |
|
56432-14: Описание типа
2025-56432-14-2.pdf
|
Скачать | 161.8 КБ | |
|
56432-14: Описание типа
2024-56432-14-1.pdf
|
Скачать | 1.5 MБ | |
|
56432-14: Методика поверки
2025-mp56432-14-3.pdf
|
Скачать | 233.9 КБ |
Описание типа
Назначение
Расходомеры - счетчики газа ультразвуковые Turbo Flow UFG (далее - расходомеры) предназначены для измерений объемного расхода и объема газа при рабочих условиях и вычислений объемного расхода и объема газа, приведенного к стандартным условиям, а также для вычислений массового расхода и массы газов, в том числе природного и свободного нефтяного газа, сжигаемого на факелах.
Описание
Принцип работы расходомеров основан на методе измерений разности между временем прохождения ультразвуковых импульсов по потоку и против потока газа. Измеренная разность времени пропорциональна скорости потока и объемному расходу газа. По измеренным значениям объемного расхода и объема при рабочих условиях, давления, температуры и плотности газа по стандартизованным алгоритмам вычисляют объемный расход и объем газа, приведенный к стандартным условиям, а также массовый расход и массу газа. Информация о плотности при стандартных условиях, составе и давлении измеряемой среды может быть задана в виде условно-постоянных параметров.
В зависимости от комплектации в состав расходомеров могут входить:
- преобразователь расхода ультразвуковой (далее - УПР) в корпусном или бескорпус-ном исполнении с установленными ультразвуковыми приемо-передатчиками;
- выносной или встроенный преобразователь температуры;
- выносной или встроенный преобразователь давления;
- преобразователь плотности газа Turbo Flow UDM (регистрационный номер 86699-22);
- электронный блок (далее - ЭБ), который осуществляет прием - передачу сигналов от ультразвуковых приемо-передатчиков, преобразователей давления, температуры, плотности, их преобразование, обработку и вычисление объемного и массового расхода газа, расчетного значения плотности, с последующим формированием цифровых выходных сигналов. ЭБ устанавливается на УПР или удаленно;
- вычислитель расхода (далее - ВР), который обрабатывает входные сигналы и вычисляет объем, объемный расход и объем газа, приведенный к стандартным условиям, а также массовый расход и массу газа, или корректор объема газа «Суперфлоу 23» (регистрационный номер 61729-15). ВР может быть встроен в ЭБ или вынесен в расходомерный шкаф (далее - РШ).
Расходомеры изготавливаются по заказу в любой цветовой гамме.
В расходомерах возможно частичное или полное дублирование ультразвуковых прие-мо-передатчиков, ЭБ с ВР, преобразователей давления, преобразователей температуры.
Для возможности дистанционного считывания информации расходомер может быть укомплектован выносным терминалом (далее - ВТ или ВТ(М), либо РШ с промышленным компьютером (далее -РШ с ПК).
Расходомеры имеют модификации Turbo Flow UFG-Н, Turbo Flow UFG-F и Turbo Flow UFG-Z, которые отличаются конструкцией УПР, вариантами размещения ультразвуковых при-емо-передатчиков на измерительном трубопроводе, диапазоном измерений объемного расхода газа, общепромышленным или взрывозащищенным исполнением. Расходомеры Turbo Flow UFG-Н опционально могут быть оснащены встроенным запорным клапаном.
Расходомеры выпускаются в исполнениях С0, С1Т, С1ТР, С1ТР/2, С2ТР, С3ТР, С4, С5ТР, которые отличаются составом и выполняемыми функциями, указанными в таблице 1.
Расходомеры имеют исполнения А, Б, В, Г, Д, которые отличаются значениями допускаемой относительной погрешности, количеством пар приемопередатчиков и вариантом размещения на измерительном трубопроводе. При необходимости сокращения длин прямолинейных участков до и после расходомера для исполнений В, Г, Д в комплект поставки могут входить прямолинейные участки 2DN до расходомера и 1DN после расходомера с устройством формирования потока УФП С1, изготовленные ООО НПО «Турбулентность-ДОН».
В зависимости от диапазонов температуры окружающей и измеряемой среды расходомеры имеют исполнения М и Х.
Знак утверждения типа наносится на маркировочную табличку, закрепленную на корпусе ЭБ и РШ (при наличии) методом аппликации или лазерной гравировки. Заводской номер, состоящий из шести арабских цифр, наносится на маркировочную табличку, закрепленную на корпусе ЭБ. Формат и место нанесения заводского номера (1) и знака утверждения типа (2) представлены на рисунках 23 и 24.
Ограничение доступа к местам настройки (регулировки), расположенным в ЭБ, осуществляется путем нанесения свинцовых или мастичных пломб с изображением знака поверки на винтах крепления ЭБ к УПР. Схема пломбировки от несанкционированного доступа, обозначение мест нанесения знаков поверки представлены на рисунках 14 - 22.
Таблица - Исполнения расходомеров в зависимости от состава и выполняемых функций
|
Исполнение |
УПР, ЭБ |
Преобразователи |
ВР встроен в ЭБ |
ВР вынесен в РШ |
ВТ/ВТ(М) или РШ с ПК |
Корректор объема газа «Суперфлоу 23» |
Преобразователь плотности UDM | |
|
Температуры |
Давления | |||||||
|
СО |
+ |
- |
- |
- |
- |
+/- |
- |
- |
|
С1Т |
+ |
+ |
- |
+ |
- |
+/- |
- |
- |
|
C1TP |
+ |
+ |
+ |
+ |
- |
+/- |
- |
- |
|
C1TP/2 |
+ |
+ |
+ |
+ |
- |
+/- |
- |
- |
|
C2TP |
+ |
+ |
+ |
- |
+ |
+/- |
- |
- |
|
C3TP |
+ |
+ |
+ |
- |
- |
+ |
- |
- |
|
C4 |
+ |
- |
- |
- |
- |
+/- |
+ |
- |
|
C5TP |
+ |
+ |
+ |
+ |
- |
+/- |
- |
+ |
Примечание: «+» - входит в состав расходомера, «-» - не входит в состав расходомера «+/-» - может входить опционально (по заказу)
В модификациях UFG-H и UFG-Z применяются только исполнения С0, С1Т, С1ТР.
В расходомерах предусмотрены:
- возможность замены попарно согласованных ультразвуковых приемопередатчиков, под рабочим давлением без остановки потока газа;
- автоматическая самодиагностика и проверка нулевых и контрольных значений измеряемых величин;
- возможность измерений расхода газа в прямом и в обратном направлении (реверсивный режим);
- выбор метода приведения объема (объемного расхода) газа к стандартным условиям:
« PT - пересчет» для исполнения С1Т по измеренным значениям объема (объемного расхода) при рабочих условиях, температуры и условно-постоянным данным по давлению и составу газа;
« PTZ - пересчет» для исполнений C1TP, C1TP/2, C2TP, C3TP, С4, С5ТР по измеренным значениям объема (объемного расхода) при рабочих условиях, температуры и давления газа и условно-постоянным данным по составу газа;
« р - пересчет» для исполнений C1TP, C1TP/2, C2TP, C3TP, С5ТР по измеренным значениям объема (объемного расхода) при рабочих условиях, плотности при рабочих и стандартных условиях;
- для исполнений C1TP, C1TP/2, C2TP, C3TP возможность подключения преобразователей плотности;
- для исполнений C1TP, C1TP/2, C2TP, C3TP по заказу доступна функция индикации рассчитанной плотности измеряемой среды в рабочих и стандартных условиях.
Расходомеры обеспечивают выполнение следующих функций:
- архивирование в энергонезависимой памяти и вывод на показывающее устройство результатов измерений и вычислений объема, расхода, температуры, давления, плотности, архивов событий и параметров функционирования;
- введение и регистрацию значений условно-постоянных величин;
- защиту от несанкционированного доступа к параметризации и архивам;
- передачу измеренных данных, параметров настройки и архивной информации;
- разделение и ограничение напряжения и тока в искробезопасных цепях;
- диагностическую функцию расчета плотности.
Расходомеры обеспечивают индикацию следующих параметров:
- коэффициента сжимаемости;
- текущего значения объемного расхода газа;
- текущего значения объемного расхода газа, приведенного к стандартным условиям**;
- текущего значения температуры измеряемой среды*;
- текущего значения давления измеряемой среды***;
- текущего значения скорости потока измеряемой среды;
- текущего значения скорости звука;
- текущего значения накопленного объема газа, приведенного к стандартным условиям**;
- текущего значения массового расхода газа**;
- текущего значения плотности газа;***
- текущего значения плотности газа при стандартных условиях;***
- текущих параметров даты и времени;
- суммарного объема, массы и объема газа, приведенного к стандартным условиям за установленные интервалы времени (сутки);***
- суммарного накопленного рабочего объема, массы и объема газа, приведенного к стандартным условиям;***
- параметров функционирования расходомера.
Примечание:
* - для всех исполнений кроме С0 и C4;
* * - для всех исполнений кроме С0, С1Т и C4;
* ** - для исполнений C1TP, C1TP/2, C2TP, C3TP и C5TP.
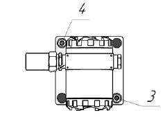
Общий вид расходомеров представлен на рисунках 1 - 13.
Рисунок 1 -Корпус круглого сечения с раздельными защитными крышками
Рисунок 2 -Корпус прямоугольного сечения с совмещенными защитными крышками
Рисунок 3 -Корпус круглого сечения с защитным кожухом
Рисунок 4 -Расходомерный шкаф
Рисунок 5 -Расходомерный шкаф с промышленным компьютером
Рисунок 6 -Выносной терминал (ВТ)
Рисунок 7 -Выносной терминал в металлическом корпусе (ВТМ)
Рисунок 8 -
Расходомеры - счетчики газа ультразвуковые Turbo Flow UFG-H
Рисунок 9 -Расходомеры - счетчики газа ультразвуковые Turbo Flow UFG-Z с креплением гайкой
Рисунок 10 -
Расходомеры - счетчики газа ультразвуковые Turbo Flow UFG-Z с креплением фланцем
Рисунок 11 - Расходомеры - счетчики газа
Рисунок 12 - Расходомеры - счетчики газа ультразвуковые Turbo Flow UFG-Z с ЭБ в корпусе
ультразвуковые Turbo Flow UFG-Z с ЭБ установленным отдельно от корпуса
Рисунок 13 - Расходомеры - счетчики газа ультразвуковые Turbo Flow UFG-Z с ЭБ в корпусе
Вид сверху
Вид сбоку
Рисунок 14 - Корпус круглого сечения с раздельными защитными крышками
Вид сбоку
Вид сверху
Рисунок 15 - Корпус прямоугольного сечения с совмещенными защитными крышками
Вид сверху
Вид сбоку
Рисунок 16 - Корпус круглого сечения с защитным кожухом
Рисунок 17 - Расходомерный шкаф
Рисунок 18 - Расходомеры - счетчики газа ультразвуковые Turbo Flow UFG-H
Рисунок 19 - Выносной терминал (ВТ)
Рисунок 20 - Выносной терминал в металлическом корпусе (ВТМ)
Рисунок 21 - Расходомеры -счетчики газа ультразвуковые Turbo Flow UFG-Z
Рисунок 22 - Электронный блок
1 - пломба свинцовая для нанесения знака поверки;
2 - пломба свинцовая предприятия-изготовителя;
3 - места для нанесения знака поверки способом давления на специальную мастику;
4 - пломбы предприятия-изготовителя способом давления на специальную мастику;
5 - самоклеющаяся пломба из легкоразрушаемого материала предприятия-изготовителя;
6 - отверстия для пломбирования газоснабжающими организациями.
Максимальное избыточное рабочее давление:
1
2
Диаметр номинальный 80
1/1
10 .18 [R[@
Расходомер - счётчик газа ультразвуковой Turbo Flow UFG-F г
Tixft'
Предел(ы) допускаемой । ,
относительной погрешности:-----
о 190040 Изготовлен
Рисунок 23 - Маркировочная табличка расходомеров - счетчиков газа ультразвуковых
Turbo Flow UFG-F и Turbo Flow UFG-Z
Рисунок 24 - Маркировочнаятабличка расходомеров - с. чиков газа ультразвуковых
Turbo Flow UFG-H
Программное обеспечение
Программное обеспечение (далее - ПО) расходомеров по аппаратному обеспечению является встроенным. Преобразование измеряемых величин и обработка измерительных данных выполняется с использованием внутренних аппаратных и программных средств. ПО хранится в энергонезависимой памяти. Программная среда постоянна, отсутствуют средства и пользовательская оболочка для программирования или изменения ПО.
Метрологические характеристики расходомеров нормированы с учетом влияния программного обеспечения.
Программное обеспечение разделено на:
- метрологически значимую часть;
- метрологически незначимую часть.
Разделение программного обеспечения выполнено внутри кода ПО на уровне языка программирования. К метрологически значимой части ПО относятся:
- программные модули, принимающие участие в обработке (расчетах) результатов измерений или влияющие на них;
- программные модули, осуществляющие отображение измерительной информации, ее хранение, передачу, идентификацию, защиту ПО и данных;
- параметры, участвующие в вычислениях и влияющие на результат измерений;
- компоненты защищенного интерфейса для обмена данными с внешними устройствами.
Примененные специальные средства защиты в достаточной мере исключают возможность несанкционированной модификации, обновления (загрузки), удаления и иных преднамеренных изменений метрологически значимой части ПО и измеренных (вычисленных) данных.
Уровень защиты программного обеспечения расходомеров от преднамеренных и непреднамеренных изменений - «средний» в соответствии с Р 50.2.077-2014.
Таблица 2 - Идентификационные данные программного обеспечения
|
Идентификационные данные (признаки) |
Значение | |
|
Turbo Flow UFG-Н |
Turbo Flow UFG-F, Turbo Flow UFG-Z | |
|
Идентификационное наименование ПО |
UFG.H |
UFG.F/Z |
|
Номер версии (идентификационный номер) ПО |
2.00 |
5.00 |
|
Цифровой идентификатор ПО |
0x26423682 |
0х978А00А1 |
|
Алгоритм вычисления цифрового идентификатора программного обеспечения |
CRC-32 |
CRC-32 |
Технические характеристики
Таблица 3 - Метрологические характеристики
|
Наименование характеристики |
Значение | ||||||
|
UFG-H |
UFG-F |
UFG-Z | |||||
|
1 |
2 |
3 |
4 |
5 | |||
|
Диапазон измерений объемного расхода газа в рабочих условиях, м3/ч |
от 0,016 до 1600 |
от 0,025 до 32000 |
от 300 до 150000 |
от 5,3 до 665000 | |||
|
Скорость потока газа в обоих направлениях, м/с, не более |
60 |
45 |
35 |
120 | |||
|
Динамический диапазон Qmi^Qmax*1 |
1:20, 1:30, 1:50, 1:65, 1:80, 1:100, 1:130, 1:160, 1:200, 1:400, 1:500, 1:1000, 1:2000, 1:2500 |
1:20, 1:30, 1:50, 1:65, 1:80, 1:100, 1:130, 1:160, 1:200, 1:400, 1:700, 1:800, 1:1000, 1:1150, 1:2000, 1:2600 |
1:50, 1:65, 1:80, 1:100 |
1:20, 1:30, 1:50, 1:65, 1:80, 1:100, 1:130, 1:160, 1:200, 1:400, 1:700, 1:800 | |||
|
Пределы допускаемой относительной погрешности измерений объемного расхода и объема газа при рабочих условиях, для комбинаций пар приемопередатчиков в диапазоне расходов *1 |
Qmin<Q <0,01Qmax |
0,01Qmax <Q<Qmax |
Qmin<Q < 0,01Qmax |
0,01Qmax <Q<Qmax |
Qmin< Q <Qmax |
Qmin<Q <0,01Qmax |
0,01Qmax <Q<Qmax |
|
исполнение Д- 1 пара приемопередатчиков, % |
±3,0 |
±1,5 |
±3,0/3,2*2(3,5)*3 |
±1,5/1,7*2 (2,0) *3 |
- |
±3,0/3,2*2*9 |
±1,5/1,7*2*9 |
|
исполнение Г - 2, 4*4 пары приемопередатчиков, % |
±2,0 |
±1,0 |
±2,0/2,2*2(2,5)*3 |
±1,0/1,2*2 (1,5) *3 |
- |
- | |
|
исполнение В - 2, 4, 6, 8 пар приемопередатчиков, % |
- |
±1,0/1,2*2 (1,5)*3 |
- | ||||
|
исполнение Б - 4, 6, 8 пар приемопередатчиков, % |
- |
±0,5/0,7*2 (1,0)*3 |
- | ||||
|
1 |
2 |
3 |
4 |
5 |
|
исполнение А - 4, 6, 8, 12*8,16*8 пар приемо-передатчиков, % |
- |
±0,5/0,7*2(0,7)*3 |
- |
- |
|
Повторяемость для исполнения С1ТР/2, в диапазонах измерений согласно таблице 5, % |
- |
0,1 |
- |
- |
|
Верхний предел измерений избыточного давления (ВПИ) *5, МПа |
от 0,0025 до 0,5 |
от 0,0025 до 32 | ||
|
Верхний предел измерений абсолютного давления (ВПИ) *5, МПа |
от 0,1 до 0,6 |
от 0,1 до 32 | ||
|
Пределы допускаемой относительной погрешности измерений давления*5, % |
±0,5 |
±(0,1+0,01-ВПИ/Р), где P - измеряемое давление | ||
|
Рабочий диапазон измерений давления*5, % ВПИ |
от 25 до 100 |
от 10 до 100 | ||
|
Диапазоны измерений плотности газа в рабочих условиях преобразователя плотности газа для исполнения C5TP, кг/м3 |
- |
от 0,14 до 350*6 | ||
|
Пределы допускаемой относительной погрешности измерений плотности газа для исполнения C5TP*7, % при рабочих условиях при стандартных условиях |
- |
±0,14; ±0,3; ±0,5; ±1,5 ±(|Х|+ 0,1 %), где Х - пределы допускаемой относительной погрешности измерений плотности газа в рабочих условиях | ||
|
1 |
2 |
3 |
4 |
5 |
|
Пределы допускаемой приведенной к диапазону измерений погрешности расходомера при преобразовании значения расхода газа в токовый выходной сигнал от 4 до 20 мА*5, % |
- |
±0,1 | ||
|
Пределы допускаемой относительной погрешности расходомера при преобразовании значения расхода газа в частотный выходной сигнал*5, % |
±0,1 | |||
|
Диапазон измерений температуры газа*5, °С для исполнения М для исполнения Х |
от -30 до +70 | |||
|
от -50 до +70 |
от -65 до +280 | |||
|
Пределы допускаемой абсолютной погрешности измерений температуры газа*5, °С |
±(0,5 + 0,005- |t|) |
±(0,15 + 0,002- |t|) | ||
|
где t - измеряемая температура | ||||
|
Пределы допускаемой относительной погрешности вычислителя ВР, вычислений массового расхода и массы газа, объемного расхода и объема газа, приведенного к стандартным условиям*5, % |
±0,01 | |||
Таблица 4 - Основные технические характеристики
|
Наименование характеристики |
Значение | |||
|
UFG-H |
UFG-F |
UFG-Z | ||
|
1 |
2 |
3 |
4 |
5 |
|
Диаметр номинальный DN |
от 15 до 100 |
от 15 до 500 |
от 600 до 1400 |
от 100 до 1400 |
|
Цифровые проводные интерфейсы |
протокол HART, протокол MODBUS RTU по интерфейсам RS-232, RS-232 TTL и RS-485, Namur | |||
|
Цифровые беспроводные интерфейсы |
GSM, GPRS, Bluetooth, IrDA (ИК-порт), Zig Bee, M2M 433/868 МГц, NB-IOT, NB-Fi, LoRa | |||
|
Маркировка взрывозащиты |
1Ex db ib [ia Ga] IIC T4 Gb 1Ex db [ia Ga] IIC T4 G 1Ex db ma ib [ia Ga] IIC T4 Gb 1Ex db ma [ia Ga] IIC T4 Gb |
1Ex db ma ^а Ga] IIC Т4 Gb | ||
|
Степень защиты по ГОСТ 14254-2015 |
IP65 | |||
|
Параметры электрического питания, В: -от встроенной батареи -от внешнего блока питания |
3,6 от 12 до 24 |
от 12 до 24 | ||
|
Потребляемая мощность, Вт, не более |
10 |
10 | ||
|
Условия эксплуатации: - температура окружающего воздуха, °С для исполнения М для исполнения Х - относительная влажность воздуха, %, - атмосферное давление, кПа |
от -30 до +70 |
от -50 до +80 | ||
|
от -40 до +70 |
от -60 до +70 | |||
|
до 95 от 84,0 до 106,7 | ||||
|
1 |
2 |
3 |
4 |
5 |
|
Масса, кг |
от 0,7 до 40,0 |
от 12 до 25000 |
30*10 | |
|
Габаритные размеры, мм, не более | ||||
|
- высота |
400 |
2400 |
350*11 | |
|
- ширина |
400 |
2200 |
350*11 | |
|
- длина |
1000 |
4200 |
2000*11 | |
|
Средняя наработка на отказ, ч, |
70000 | |||
|
не менее | ||||
* 1 конкретные значения указываются в эксплуатационной документации изготовителя;
* 2 погрешность в зависимости от метода проведения поверки - проливной / имитационный (первичный имитационный и/или периодический имитационный при условии первичной поверки проливным методом);
* 3 в скобках указана погрешность при периодическом имитационном методе, при условии проведения первичной поверки имитационным методом;
* 4 исполнение с 4 парами приемопередатчиков для UFG-F с DN 200 и более;
* 5 для всех исполнений кроме С4. Для исполнения С4 метрологические характеристики соответствуют эксплуатационной документации на применяемый корректор объема газа «Суперфлоу 23»;
* 6 диапазон измерений плотности газа в рабочих условиях зависит от модификации преобразователя плотности UDM, входящего в состав расходомера, и указывается в эксплуатационной документации изготовителя;
* 7 пределы допускаемой относительной погрешности измерений объемного расхода и объема газа, приведенного к стандартным условиям, массового расхода и массы газа методом прямых измерений для исполнения C5TP зависят от исполнения и модификации расходомера, в том числе от метрологических характеристик преобразователя плотности газа Turbo Flow UDM, входящего в состав расходомера, и указываются в паспорте на расходомер. В исполнении C5TP используются не менее двух пар приемопередатчиков, при этом пределы допускаемой относительной погрешности измерений объемного расхода и объема газа, приведенного к стандартным условиям, массового расхода и массы газа методом прямых измерений не превышают ±3,4 %;
* 8 по специальному заказу с удвоенным количеством пар ультразвуковых приемо-передатчиков только для исполнения dTP/2;
* 9 без учета погрешности измерений геометрических параметров измерительного сечения;
* 10 без учета массы корпуса расходомера UFG-Z;
* 11 без учета габаритных размеров корпуса расходомера.
Лист № 15
Всего листов 17
Таблица 5 - Диапазоны измерений расхода газа и скоростей потока газа, в которых обеспечивается повторяемость для исполнения С1ТР/2
|
Диаметр номинальный |
Расход газа в рабочих условиях, м3/ч |
Скорость потока, м/с | ||
|
минимальное значение |
максимальное значение |
минимальное значение |
максимальное значение | |
|
DN50 |
14 |
280 |
2,0 |
40 |
|
DN65 |
23 |
440 |
2,0 |
37 |
|
DN80 |
36 |
700 |
2,0 |
39 |
|
DN100 |
56 |
1100 |
2,0 |
39 |
|
DN125 |
88 |
1750 |
2,0 |
39 |
|
DN150 |
127 |
2400 |
2,0 |
38 |
|
DN200 |
192 |
4400 |
1,7 |
39 |
|
DN250 |
300 |
6900 |
1,7 |
39 |
|
DN300 |
381 |
10000 |
1,5 |
39 |
|
DN350 |
519 |
12000 |
1,5 |
35 |
|
DN400 |
678 |
16000 |
1,5 |
35 |
|
DN450 |
858 |
20000 |
1,5 |
35 |
|
DN500 |
1060 |
25000 |
1,5 |
35 |
|
DN600 |
1526 |
30000 |
1,5 |
29 |
|
DN700 |
2078 |
40000 |
1,5 |
29 |
|
DN800 |
2714 |
50000 |
1,5 |
28 |
Знак утверждения типа
наносится на маркировочную табличку, закрепленную на корпусе ЭБ и РШ (при наличии) методом аппликации или лазерной гравировки и на титульные листы руководства по эксплуатации и паспорта печатным способом.
Комплектность
Таблица 6 - Комплектность средства измерений
|
Наименование |
Обозначение |
Количество |
|
Расходомер - счетчик газа ультразвуковой |
Turbo Flow UFG-H Turbo Flow UFG-F Turbo Flow UFG-Z |
1 шт. |
|
Расходомеры - счетчики газа ультразвуковые Turbo Flow UFG. Руководство по эксплуатации |
ТУАС.407252.001 РЭ |
1 экз. Допускается поставлять один экземпляр в один адрес отгрузки |
|
Расходомеры - счетчики газа ультразвуковые Turbo Flow UFG. Паспорт |
ТУАС.407252.001 ПС |
1 экз. |
|
ГСИ. Расходомеры - счетчики газа ультразвуковые Turbo Flow UFG. Методика поверки |
1 экз. Допускается поставлять один экземпляр в один адрес отгрузки | |
|
Эксплуатационная документация на корректор объема газа «Суперфлоу-23» |
1 комплект (для исполнения С4) | |
|
Эксплуатационная документация на преобразователь плотности газа Turbo Flow UDM |
1 комплект (для исполнения С5ТР) |
|
Наименование |
Обозначение |
Количество |
|
Комплект монтажных частей |
1 комплект (по заказу) | |
|
Прямолинейные участки с устройством формирования потока УФП С1 |
1 комплект (по заказу) |
Сведения о методах измерений
приведены в разделе 2 «Использование по назначению» Руководства по эксплуатации ТУАС.407252.001 РЭ.
Нормативные документы
Приказ Росстандарта от 11 мая 2022 г. № 1133 «Об утверждении государственной поверочной схемы для средств измерений объемного и массового расходов газа»;
ГОСТ 8.611-2013 ГСИ. Расход и количество газа. Методика (метод) измерений с помощью ультразвуковых преобразователей расхода;
ГОСТ 30319.2-2015 Газ природный. Методы расчета физических свойств. Вычисление физических свойств на основе данных о плотности при стандартных условиях и содержании азота и диоксида углерода;
ГОСТ 30319.3-2015 Газ природный. Методы расчета физических свойств. Вычисление физических свойств на основе данных о компонентном составе;
ГСССД МР 273-2018 Методика расчетного определения плотности, фактора сжимаемости, скорости звука, показателя адиабаты, коэффициента динамической вязкости влажных газовых смесей в диапазоне температур от 263 К до 500 К при давлениях до 30 МПа;
ГСССД МР 118-2005 Расчет плотности, фактора сжимаемости, показателя адиабаты и коэффициента динамической вязкости умеренно сжатых газовых смесей;
ГСССД МР 229-2014 Методика расчетного определения термодинамических свойств и коэффициента динамической вязкости природного газа при температурах 250.350 К и давлениях до 30 МПа на основе ГОСТ Р 8.662-2009 и ГОСТ Р 8.770-2011;
ГСССД МР 134-2007 Расчет плотности, фактора сжимаемости, показателя адиабаты и коэффициента динамической вязкости азота, ацетилена, кислорода, диоксида углерода, аммиака, аргона и водорода в диапазоне температур 200 ... 425 K и давлений до 10 МПа;
ГСССД МР 277 - 2019 «Методика расчётного определения плотности гелиевого концентрата в диапазонах температур от -5° С до 45° С и абсолютных давлений от 0,1 МПа до 17 МПа»;
ТУ 4213-012-70670506-2013 Расходомеры - счетчики газа ультразвуковые Turbo Flow UFG. Технические условия.
































