59515-14: "АЛКО-1М" Системы измерительные - Производители, поставщики и поверители

Системы измерительные "АЛКО-1М"

ALL-Pribors default picture
Номер в ГРСИ РФ: 59515-14
Производитель / заявитель: АО "Арзамасский приборостроительный завод имени П.И. Пландина", г.Арзамас
Скачать
59515-14: Описание типа
2024-59515-14.pdf
Скачать 454.6 КБ
59515-14: Методика поверки
2024-mp59515-14.pdf
Скачать 2.3 MБ
Нет данных о поставщике
Поверка
Системы измерительные "АЛКО-1М" поверка на: www.ktopoverit.ru
КтоПоверит
Онлайн-сервис метрологических услуг

Системы измерительные АЛКО-1М (в дальнейшем - системы) предназначены для измерений и учета объема коньячных спиртов, спиртных напитков (в том числе водки), вина, фруктового вина, ликерного вина, игристого вина (шампанского), винных напитков, пива и напитков на основе пива (в дальнейшем - измеряемая среда) с удельной электропроводностью от 5-10-5 до 10 См/м, объемной концентрации (в дальнейшем - крепость) и объема этилового спирта, содержащегося в измеряемой среде, температуры измеряемой среды, а также формирование информации для передачи в единую государственную автоматизированную систему учета объема производства и оборота этилового спирта алкогольной и спиртосодержащей продукции (ЕГАИС).

Информация по Госреестру

Основные данные
Номер по Госреестру 59515-14
Действует по 17.10.2029
Наименование Системы измерительные
Модель "АЛКО-1М"
Характер производства Серийное
Идентификатор записи ФИФ ОЕИ 3ced7763-68a6-ec19-30d7-f81bd1b0f6e1
Год регистрации 2014
Информация устарела
Общие данные
Год регистрации 2014
Страна-производитель  Россия 
Информация о сертификате
Срок действия сертификата 24.12.2019
Тип сертификата (C - серия/E - партия) C
Дата протокола Приказ 2097 п. 68 от 24.12.2014
Производитель / Заявитель

Акционерное общество "Арзамасский приборостроительный завод имени П.И. Пландина"(АО "АПЗ"), Нижегородская обл., г. Арзамас

 Россия 

Поверка

Методика поверки / информация о поверке ЛГФИ.407219.004-30 МИ
Межповерочный интервал / Периодичность поверки
1 год
Зарегистрировано поверок
Найдено поверителей
Успешных поверок (СИ пригодно) 2979 (100%)
Неуспешных поверок (СИ непригодно) 2 (0 %)
Актуальность информации 05.04.2026
Найти результаты поверки
Указан в паспорте или на самом приборе

Поверители

КтоПоверит
Онлайн-сервис метрологических услуг
Системы измерительные "АЛКО-1М" поверка на: www.ktopoverit.ru
КтоПоверит
Онлайн-сервис метрологических услуг

Скачать

59515-14: Описание типа
2024-59515-14.pdf
Скачать 454.6 КБ
59515-14: Методика поверки
2024-mp59515-14.pdf
Скачать 2.3 MБ

Описание типа

Назначение

Системы измерительные «АЛКО-1М» (в дальнейшем - системы) предназначены для измерений и учета объема коньячных спиртов, спиртных напитков (в том числе водки), вина, фруктового вина, ликерного вина, игристого вина (шампанского), винных напитков, пива и напитков на основе пива (в дальнейшем - измеряемая среда) с удельной электропроводностью от 4-10’3 до 10 См/м, объемной концентрации (в дальнейшем - крепость) и объема этилового спирта, содержащегося в измеряемой среде, температуры измеряемой среды, а также формирования информации для передачи в единую государственную автоматизированную систему учета объема производства и оборота этилового спирта алкогольной и спиртосодержащей продукции (ЕГАИС).

Описание

Принцип действия систем основан на измерении и учете объема (объемного расхода), процентного содержания (концентрации), температуры измеряемой среды с последующим расчетом объема безводного спирта, а также подсчете количества бутылок, прошедших по линии розлива.

Система включает в себя специализированный вычислитель СВ-5 (в дальнейшем - СВ) и устройства, именуемые в дальнейшем датчиками:

- первичный преобразователь расхода ППР-7 электромагнитный для измерений расхода среды;

- оптический спиртомер «ИКОНЭТ-МП» (регистрационный № 19880-07) или плотномер-спиртомер ПЛОТ-3С-М-Ц (регистрационный № 58753-14), являющийся для СВ датчиком объемной концентрации этилового спирта в измеряемой среде;

- термопреобразователь сопротивления платиновый с градуировочной характеристикой 100П типа ТС-Б-Р (регистрационный № 43287-09) или ТС-Б, ТС-Б-Ex (регистрационный №72995-20) или ТСП-Н (регистрационный №38959-17), или ТП-9201-02 (регистрационный №48114-11) или ТСП-1199, TGn-1199Exd (регистрационный №  49041-12) или

ТСП012 (регистрационный №43587-10) или ОВЕН ДТС035-100П.А4.60.МГ, ОВЕН ДТС035-100П.А4.60.МГ Ех (регистрационный №28354-10) для измерений температуры среды;

- универсальный счетчик бутылок УСБ-3 (УСБ-5) или управляющий модуль учета продукции УМУП (в дальнейшем - счетчик бутылок) для измерений количества бутылок, прошедших через зону контроля счетчика.

Сигналы от всех перечисленных датчиков передаются на специализированный вычислитель СВ, который производит их обработку, индикацию и архивацию параметров измеряемой среды.

Для визуализации всех показателей измеряемой среды, вывода их на печать, формирование информации для передачи в ЕГАИС система должна быть подключена к устройству сбора и передачи данных - персональному компьютеру (УСПД-ПК).

Один контроллер связи КС позволяет подключать до 4-х систем к одному УСПД-ПК. Возможно каскадное включение 4-х КС. В этом случае имеется возможность использовать один УСПД-ПК для вывода информации с 13-ти систем.

Система выводит на индикатор СВ и экран дисплея следующие параметры: суммарный объем измеряемой среды при рабочей температуре и приведенный к температуре 20 °С; суммарный объем безводного спирта, содержащегося в измеряемой среде, приведенный к температуре 20 °С; текущий объемный расход; крепость измеряемой среды; температуру измеряемой среды; суммарное количество бутылок, прошедших по линии розлива; текущее время и текущую дату; сообщения об ошибках.

Система также обеспечивает: сохранение ранее измеренных значений объемов, крепости, количества бутылок и времени наработки при отключении питания системы с отметкой в памяти момента отключения; индикацию показателей за смену с возможностью сброса текущей индикации; хранение в архиве шестнадцати сброшенных информаций о показателях за смену; создание суточного архива глубиной 5 лет, часового глубиной 6 месяцев и возможность вывода из архивов на собственный индикатор информации о суммарных объемах, крепости, температуре, количестве бутылок, отключении питания системы и ошибках за любые сутки пяти лет или за любой час шести месяцев по отношению к текущей дате, индицируемой СВ; вывод на экран УСПД-ПК информации из архивов; возможность корректировки текущей даты и текущего времени, изменения масштабирующего коэффициента, ввода кода пользователя системы, изменения пароля пользователя.

Условное обозначение системы состоит из наименования «АЛКО-1М», значения Ду входящего в комплект поставки ППР-7, обозначения исполнения в зависимости от типа спиртомера и диапазона измеряемой крепости (только для систем, укомплектованных спиртомером).

В зависимости от типа спиртомера и диапазона измерений крепости система выпускается в нескольких исполнениях:

- «2» - спиртомер типа «ИКОНЭТ-МП» «1», диапазон от 3 до 60 %;

- «3» - спиртомер типа «ИКОНЭТ-МП» «3», диапазон от 38 до 75 %;

- «4» - спиртомер типа ПЛОТ-3С-М-Ц-А, диапазон от 3 до 60 %;

- «5» - спиртомер типа ПЛОТ-3С-М-Ц-Б, диапазон от 36 до 75 %.

ППР-7 в комплекте с СВ, а также каждый из остальных датчиков системы обладают взаимозаменяемостью.

Конкретный состав системы (наличие в системе счетчиков бутылок, спиртомера, модемов, КС) определяется вариантом поставки (по заказу потребителя).

Наименование систем, их заводские номера, основные технические характеристики указываются термотрансферным методом на информационный шильдик, устанавливаемый на монтажный шкаф. Заводские номера систем состоят из арабских цифр по системе нумерации предприятия-изготовителя. Пример информационного шильдика представлен на рисунке 1.

Рисунок 1 - Пример информационного шильдика

Общий вид СВ и места пломбирования приведены на рисунке 2.

1 - пломба завода-изготовителя; 2 - клеймо поверителя;

3 - пломбы специалиста, проводившего пуско-наладочные работы

Рисунок 2 - Общий вид СВ и места пломбирования

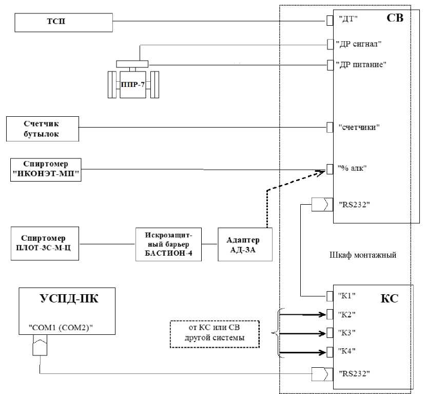
Схема соединений составных частей системы приведена на рисунке 3.

Рисунок 3 - Схема соединений составных частей системы

Программное обеспечение

Программное обеспечение, записанное в микроконтроллер СВ, обрабатывает данные, поступающие от датчиков, производит вычисление расхода, объемов, температуры измеряемой среды, определяет внештатные ситуации с формированием сигнала аварии, производит отображение текущей и архивной информации на собственном индикаторе, формирует часовой и суточный архивы, обеспечивает передачу данных на УСПД-ПК.

Запись программного обеспечения в микроконтроллер осуществляется через технологический разъем, находящийся внутри электронного блока СВ. При выходе из производства СВ пломбируется пломбами ОТК и поверителя согласно рисунку 2. Конструкция СВ не допускает каким-либо иным способом запись программного обеспечения в микроконтроллер.

Таблица 1 - Идентификационные данные программного обеспечения, записанного в СВ

Наименовани е программного обеспечения

Идентификационно е наименование ПО

Номер версии (идентификационны й номер) ПО

Цифровой идентификато р ПО (контрольная сумма исполняемого кода)

Алгоритм вычисления цифрового идентификатор а ПО

W_5_15.txt

ЛГФИ.00242-01

версия 5.15

07А3

16-ти битная сумма всех байт, входящих в файл кода программы

Уровень защиты программного обеспечения от непреднамеренных и преднамеренных изменений - С, в соответствии с МИ 3286-2010.

Технические характеристики

Таблица 2 - Диапазоны расходов и масса 1И1Р-7 в зависимости от диаметра условного прохода

Наименование параметра

Значение параметра

Диаметр   условного   прохода

ППР-7, мм

20

32

40

50

80

100

150

Максимальный расход (Qmax), л/с (м3/ч)

1,00 (3,60)

3,33 (12,0)

4,00 (14,4)

6,4 (23,04)

22,2 (80)

33,3

(120)

69,4

(250)

Минимальный расход (Qmin), л/с (м3/ч)

0,034 (0,12)

0,22 (0,80)

0,40 (1,44)

0,64 (2,30)

0,8 (2,88)

1,26 (4,54)

3,2 (11,52)

Масса ППР-7, кг, не более

4,0

4,3

5,0

6,0

9,0

11,0

19,5

Таблица 3 - Метрологические и технические характеристики

Наименование характеристики

Значение

Пределы допускаемой относительной погрешности системы при измерении суммарного объема, %

±0,5

Диапазон измерений крепости, %, для систем исполнений: «2» и «4»

от 3 до 60

«3»

от 38 до 75

«5»

от 36 до 75

Пределы допускаемой абсолютной погрешности измерений крепости, %, для систем исполнений:

«3», «4», «5»

±0,2

«2» в диапазоне: от 9 до 60 %

±0,2

от 3 до 9 %

±0,25

Наименование характеристики

Значение

Пределы допускаемой относительной погрешности измерений объема безводного спирта, приведенного к температуре плюс 20 °С, %:

- в диапазоне крепости от 38 до 75 %

- в диапазоне крепости от 20 до 38 %

- в диапазоне крепости от 8 до 20 % для исполнения «4» и в диапазоне крепости от 9 до 20 % для исполнения «2»

- в диапазоне крепости от 6 до 8 % для исполнения «4» и в диапазоне крепости от 7 до 9 % для исполнения «2»

- в диапазоне крепости от 3 до 6 % для исполнения «4» и в диапазоне крепости от 3 до 7 % для исполнения «2»

±0,8

±1,5

±3,0

±4,0

±(AS-100)/S*

Диапазон температур измеряемой среды, °С

от - 30 до +80**

Пределы допускаемой  абсолютной погрешности  измерений

температуры, °С

±0,5

Давление измеряемой среды, МПа, не более:

- для систем со спиртомером ПЛОТ-3С-М-Ц и систем без спиртомера

- для систем со спиртомером «ИКОНЭТ-МП «

1,6 0,25

Длина соединительных кабелей между СВ и датчиками, м, не более

50

Напряжение питания: - частота, Гц - напряжение, В

50±1

220132

Потребляемая мощность, В-А, не более

250

Система устойчива к воздействию внешнего магнитного поля: - постоянного напряженностью, А/м

- переменного частотой 50 Гц, напряженностью, А/м

до 400 до 80

Время готовности системы к работе, с, не более

- для систем, укомплектованных спиртомером ПЛОТ-3С-М-Ц

- для систем, укомплектованных спиртомером «ИКОНЭТ-МП»

30

600

Степень защиты датчиков системы по ГОСТ 14254-2015, не менее

IP54

Масса СВ, КС, кг, не более

4,0

Средняя наработка на отказ, ч, не менее

12 000

Средний срок службы, лет, не менее

12

* - где AS - пределы допускаемой абсолютной погрешности измерений крепости, %;

S - измеряемое значение крепости, %.

* * - диапазон может быть ограничен эксплуатационной документацией изготовителя

спиртомера в зависимости от его исполнения и крепости измеряемой спиртсодержащей жидкости.

Знак утверждения типа

наносится на лицевую панель вычислителя СВ методом трафаретной печати и на титульный лист паспорта - типографским способом.

Комплектность

Таблица 4 - Комплектность средства измерений

Наименование

Обозначение

Количество

Примечание

Система измерительная

«АЛКО-1М»

1 экз.

Состав согласно заказу

Комплект эксплуатационной документации

1 компл.

Системы измерительные «АЛКО-1М».

Методика поверки.

1 экз.

Сведения о методах измерений

приведены в разделе 2.2 ЛГФИ.407219.004 РЭ «Система измерительная «АЛКО-1М».

Руководство по эксплуатации».

Нормативные документы

Постановление Правительства Российской Федерации от 31 декабря 2020 г. № 2466 «О ведении и функционировании единой государственной автоматизированной информационной системы учета объема производства и оборота этилового спирта, алкогольной и спиртосодержащей продукции»;

Приказ Росстандарта от 26 сентября 2022 г. № 2356 «Об утверждении Государственной поверочной схемы для средств измерений массы и объема жидкости в потоке, объема жидкости и вместимости при статических измерениях, массового и объемного расходов жидкости»;

ГОСТ Р 52931-2008 Приборы контроля и регулирования технологических процессов. Общие технические условия;

ГОСТ 12.2.007.0-75 ССБТ. Изделия электротехнические. Общие требования безопасности;

ЛГФИ.407219.004 ТУ Системы измерительные «АЛКО-1М». Технические условия.

Смотрите также

Default ALL-Pribors Device Photo
Система автоматизированная информационно-измерительная для учета сырой воды и промышленных стоков Т605/5-6/7 (далее - Система или АИИС) предназначена для измерений объемного расхода, давления и температуры сырой воды и промышленных стоков в трубопров...
Default ALL-Pribors Device Photo
Система автоматизированная информационно-измерительная учета энергоресурсов Филиала ОАО «Концерн Росэнергоатом» «Ростовская атомная станция» (АИИС УЭ Ростовской АЭС) предназначена для измерений тепловой энергии, расхода, массы, давления и температуры...
59518-14
ЛХ-611АМ Датчики быстропеременных давлений
Акционерное общество «Научно-исследовательский институт физических измерений»(АО «НИИФИ»), г. Пенза
Датчик быстропеременных давлений ЛХ-611АМ (далее - датчик) предназначен для измерения быстропеременных давлений жидких и газообразных сред.
59519-14
CTB, CTS Трансформаторы тока
Фирма "Eaton Industries B.V.", Нидерланды
Трансформаторы тока CTB, CTS (далее - трансформаторы) предназначены для передачи сигналов измерительной информации средствам измерений, устройствам защиты, автоматики, сигнализации и управления в электрических установках переменного тока промышленной...
Default ALL-Pribors Device Photo
5952-82
ТХА-2076 Термопреобразователи
Завод "Термоприбор", Украина, г.Львов; ОАО "Электротермометрия", Украина, г.Луцк
Для непрерывного измерения температуры теплоносителя, бетонной защиты и металлоконструкций реакторов типа ВВЭР.