59552-14: Bm212 Датчики давления - Производители, поставщики и поверители

Датчики давления Bm212

ALL-Pribors default picture
Номер в ГРСИ РФ: 59552-14
Категория: Датчики давления
Производитель / заявитель: ОАО "НИИ физических измерений" (НИИФИ), г.Пенза
Скачать
59552-14: Описание типа
2024-59552-14.pdf
Скачать 508.1 КБ
59552-14: Методика поверки
2022-mp59552-14.pdf
Скачать 342.1 КБ
Нет данных о поставщике
Поверка
Датчики давления Bm212 поверка на: www.ktopoverit.ru
КтоПоверит
Онлайн-сервис метрологических услуг

Датчики давления Вт 212 (далее - датчики) предназначены для измерения процессов статико-динамического давления в жидких и газообразных средах.

Информация по Госреестру

Основные данные
Номер по Госреестру 59552-14
Действует по 10.12.2029
Наименование Датчики давления
Модель Bm212
Характер производства Серийное
Идентификатор записи ФИФ ОЕИ be88d400-c925-c2f8-4048-0702615a256e
Год регистрации 2014
Информация устарела
Общие данные
Год регистрации 2014
Страна-производитель  Россия 
Информация о сертификате
Срок действия сертификата 24.12.2019
Тип сертификата (C - серия/E - партия) C
Дата протокола Приказ 2097 п. 107 от 24.12.2014
Производитель / Заявитель

Акционерное общество «Научно-исследовательский институт физических измерений» (АО «НИИФИ»), г. Пенза

 Россия 

Поверка

Методика поверки / информация о поверке Bm 2.832.023 МП"
Межповерочный интервал / Периодичность поверки
2 года
Зарегистрировано поверок
Найдено поверителей
Успешных поверок (СИ пригодно) 1874 (99%)
Неуспешных поверок (СИ непригодно) 24 (1 %)
Актуальность информации 05.04.2026
Найти результаты поверки
Указан в паспорте или на самом приборе

Поверители

КтоПоверит
Онлайн-сервис метрологических услуг
Датчики давления Bm212 поверка на: www.ktopoverit.ru
КтоПоверит
Онлайн-сервис метрологических услуг

Скачать

59552-14: Описание типа
2024-59552-14.pdf
Скачать 508.1 КБ
59552-14: Методика поверки
2022-mp59552-14.pdf
Скачать 342.1 КБ

Описание типа

Назначение

Датчики давления Вт 212 (далее - датчики) предназначены для измерения процессов статико-динамического давления в жидких и газообразных средах.

Описание

Принцип действия датчика основан на преобразовании воспринимающим элементом (мембраной) измеряемого давления в деформацию, которая приводит к соответственному изменению электрического сопротивления тензорезисторов и выходного напряжения постоянного тока мостовой измерительной цепи, собранной из тензорезисторов.

Датчик имеет три варианта исполнения - Вт 212, Вт 212А.1 и Вт 212Б.

В зависимости от наличия (I) или отсутствия (II) тепловоспринимающей втулки каждый вариант исполнения имеет по две модификации каждая по 12 исполнений, отличающиеся диапазоном измерений давления: Вт 212 I/28 - Вт 212 I/1250 и Вт 212 II/28 -Вт 212 II/1250, Вт 212А.1 I/28 - Вт 212А.1 I/1250 и Вт 212А.1 II/28 - Вт 212А.1 II/1250, Вт 212Б I/28 - Вт 212Б I/1250 и Вт 212Б II/28 - Вт 212Б II/1250.

Конструктивно датчик Вт 212 состоит из чувствительного элемента, контактной колодки, гермопроходника, корпуса, накидной гайки резьбой М18х1,5-7Н для подсоединения к рабочей магистрали, вилки РСГ7ТВ для подключения к измерительному тракту изделия потребителя. Соединение корпуса с вилкой РСГ7ТВ осуществляется с помощью кабельной перемычки.

Конструктивно датчик Вт 212Б состоит из чувствительного элемента, контактной колодкой с откачной трубкой для вакуумирования замембранной полости датчика, корпуса, накидной гайки резьбой М18х1,5-7Н для подсоединения к рабочей магистрали, вилки РСГ7ТВ для подключения к измерительному тракту изделия потребителя. Соединение корпуса с вилкой РСГ7ТВ осуществляется с помощью кабельной перемычки.

Конструктивно датчик Вт 212А.1 состоит из чувствительного элемента, контактной колодкой с откачной трубкой для вакуумирования замембранной полости датчика, корпуса, выполненного под углом, накидной гайки резьбой М18х1,5-6Н для подсоединения к рабочей магистрали, вилки РСГ7ТВ для подключения к измерительному тракту изделия потребителя. Соединение корпуса с вилкой РСГ7ТВ осуществляется с помощью кабельной перемычки.

Чувствительный элемент датчиков представляет собой цельноточеную мембрану, на которой методом тонкопленочной технологии нанесена измерительная схема в виде моста Уитстона. Выводы измерительных схем соединены с контактами контактной колодки золотыми проводниками методом контактной сварки. Выводы контактной колодки соединены с контактами вилки РСГ7ТВ проводами кабельной перемычки. В электрическую схему для компенсации изменения начального выходного сигнала от воздействия температуры включен термокомпенсационный резистор, для подгонки начального выходного сигнала включен балансировочный резистор, для подгонки выходного сигнала при давлении, соответствующем верхнему значению диапазона измерений, - резистор чувствительности.

Общий вид датчиков Вт 212, Вт 212Б с указанием мест нанесения заводского номера, маркировки приведен на рисунке 1, датчика Вт 212А.1 - на рисунке 2. Габаритные и установочные размеры датчиков Вт 212, Вт 212Б - на рисунке 3, датчика Вт 212А.1 - на рисунке 4.

Маркировка исполнения выполняется методом лазерного гравирования на корпусе в виде буквенно-цифрового обозначения, заводской номер выполняется методом лазерного гравирования на корпусе в виде цифрового обозначения.

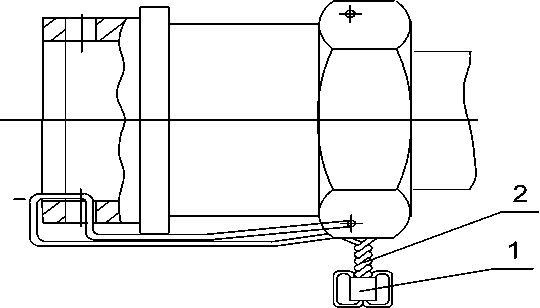
От несанкционированного доступа датчик опломбирован способом 1 по ОСТ 92-8918-77. Схема пломбирования датчиков Вт 212, Вт 212Б, Вт 212А.1 приведена на рисунке 5.

Нанесение знака поверки на датчик не предусмотрено.

Место нанесения заводского номера и маркировки

Рисунок 1 - Внешний вид датчиков Вт 212, Вт 212Б

Место нанесения заводского номера и маркировки

Рисунок 2 - Внешний вид датчика Вт 212А.1

Рисунок 3 - Габаритно-установочные размеры датчиков Вт 212, Вт 212Б

Рисунок 4 - Габаритно-установочные размеры датчика Вт 212А.1

1 - пломба I - 6х8 - АД I М ГОСТ 18677, 2 - проволока 0,5 12Х18Н10Т ГОСТ 18143.

Рисунок 5 - Схема пломбирования от несанкционированного доступа

Технические характеристики

Таблица 1

Наименование характеристики

Значение

1. Диапазоны измерений давления, *105 Па

от 0 до 28, от 0 до 40,

от 0 до 56, от 0 до 80, от 0 до 110, от 0 до 160, от 0 до 220, от 0 до 300, от 0 до 450, от 0 до 600; от 0 до 900, от 0 до 1250

2. Электрическое сопротивление диагоналей мостовой схемы датчика в нормальных климатических условиях, Ом: 1-3

2-4

от 660 до 740

от 660 до 840

3. Начальный выходной сигнал, %

±7 от номинального значения выходного сигнала

4. Номинальный выходной сигнал в единицах калибровочного сопротивления, кОм

(12015°)

5. Пределы допускаемой приведенной основной погрешности измерения давления, %

± 0,6

6. Пределы допускаемой приведенной погрешности от нелинейности статической характеристики, %

± 1,0

7. Приведенные значения коэффициентов функции влияния температуры измеряемой среды от минус 196 до 50 °С, 1/°С в пределах:

- на начальный выходной сигнал

- на чувствительность

± 2П0-4

± 5П0-4

8. Приведенные значения коэффициентов функции влияния перегрузочного давления, равного 150 % от диапазона измерений, 1/ % перегрузки, в пределах:

- на начальный выходной сигнал

- на чувствительность

± 2П0-4

± П10-4

9. Габаритные и установочные размеры: - Вт212, Вт212Б

- Вт212А.1

М18х1,5 - 7Н; (545 ± 50) мм

М18х1,5 - 6Н; (545 ± 50) мм

10. Масса датчика, кг, не более

0,12

П р и м е ч а н и е - Нормальные климатические условия характеризуются температурой воздуха от 15 до 35 °С, относительной влажностью воздуха от 45 до 75 %, атмосферным давлением от 86 до 106 кПа (от 645 до 795 мм рт.ст.).

Знак утверждения типа

наносится типографским способом на титульные листы эксплуатационной документации, нанесение знака утверждения типа на датчик не предусмотрено.

Комплектность

Таблица 2

Наименование

Обозначение

Количество

Датчики давления

Вт 212

1 шт.

Прокладка

Вт 8.680.147

1 шт.

Формуляр

Вт 2.832.023 ФО,

Вт 2.832.023 - 01 ФО (для Вт 212 11/80)

1 экз.

Техническое описание и руководство по эксплуатации

Вт 2.832.023 ТО

1 экз.

Инструкция по входному контролю

Вт 2.832.023 И11

1 экз.

Технологическая инструкция

583.25200.00023

1 экз.

Методика поверки

_

1 экз.

Сведения о методах измерений

приведены в разделе «Подготовка к работе» технического описания и руководства по эксплуатации Вт 2.832.023 ТО.

Нормативные документы

Датчик давления Вт 212. Технические условия Вт 2.832.023 ТУ.

Другие Датчики давления

Default ALL-Pribors Device Photo
6122-77
Тритон-2 Датчики атмосферного давления
ОАО "Гидрометприбор", РОССИЯ, г.Москва
Разрешена установочная серия до 01.01.1979 г. 20 шт.
Default ALL-Pribors Device Photo
7330-79
ВТ-1202 Датчики давления частотные
П/я В-8558, УКРАИНА, г.Чернигов
Разрешен серийный выпуск до 01.07.1984 г.
Default ALL-Pribors Device Photo
7550-80
ЛХ-611А Датчики давления
П/я В-8558, УКРАИНА, г.Чернигов
Default ALL-Pribors Device Photo
7728-80
ДДЧ Датчики давления частотные
Опытный завод им.М.И.Калинина, АЗЕРБАЙДЖАН, г.Баку
Разрешен серийный выпуск до 01.01.1988