Весы бункерные ABS
| Номер в ГРСИ РФ: | 60691-15 |
|---|---|
| Категория: | Весы |
| Производитель / заявитель: | Фирма "PRECIA MOLEN", Нидерланды |
Весы бункерные ABS (далее - весы), предназначены для автоматического измерения массы сыпучих или жидких грузов путем деления их на отдельные порции и определения общей массы как суммы масс отдельных порций (доз) при учетных и технологических операциях.
Информация по Госреестру
| Основные данные | |
|---|---|
| Номер по Госреестру | 60691-15 |
| Действует | по 18.03.2025 |
| Наименование | Весы бункерные |
| Модель | ABS |
| Код идентификации производства |
ОС
СИ не соответствует критериям подтверждения производства на территории
РФ в соответствии с постановлением №719
|
| Характер производства | Серийное |
| Идентификатор записи ФИФ ОЕИ | 4271805e-39a2-cccd-9fb0-e848f3ac8716 |
Производитель / Заявитель
Фирма "PRECIA SA", Франция; Фирма "PRECIA-MOLEN", Нидерланды
Поверка
| Межповерочный интервал / Периодичность поверки |
1 год
|
| Зарегистрировано поверок | |
| Найдено поверителей | |
| Успешных поверок (СИ пригодно) | 138 (99%) |
| Неуспешных поверок (СИ непригодно) | 1 (1 %) |
| Актуальность информации | 24.05.2026 |
Поверители
Скачать
|
60691-15: Описание типа
2020-60691-15.pdf
|
Скачать | 363.8 КБ | |
|
60691-15: Методика поверки
2022-mp60691-15.pdf
|
Скачать | 609.4 КБ |
Описание типа
Назначение
Весы бункерные ABS (далее - весы), предназначены для автоматического измерения массы сыпучих или жидких грузов путем деления их на отдельные порции и определения общей массы как суммы масс отдельных порций (доз) при учетных и технологических операциях.
Описание
Принцип действия весов основан на преобразовании деформации упругих элементов датчиков, возникающей под действием силы тяжести взвешиваемого груза, в электрический сигнал, изменяющийся пропорционально массе груза. Электрические сигналы с датчиков суммируются и поступают на индикатор, где суммарный сигнал преобразуется в цифровой код и значение массы груза индицируется на цифровом табло индикатора.
Конструктивно весы состоят из грузоприемного устройства (далее - ГУ) в виде бункера с устройствами загрузки и выгрузки материала, опирающегося через датчики весоизмерительные тензорезисторные (далее - датчики) на силовую раму (каркас) и весоизмерительного прибора (индикатора).
Внешний вид весов ABS представлен на рисунках 1 и 2.
Рисунок 1 - Внешний вид весов ABS-X
Рисунок 2 - Внешний вид весов ABS-XL (с местом установки датчика).
В качестве индикатора в весах используются приборы весоизмерительные I400 фирмы «PRECIA-MOLEN», Нидерланды (Госреестр № 58867-14).
I 410 D-AT
I 410 D-NS
Рисунок 3 - Общий вид приборов весоизмерительных
I 410 D-Q
В весах применяются датчики, указанные в таблице 1.
Таблица 1
|
Модификация весов |
Тензометрический датчик | |||
|
Марка |
Модель |
Max (кг) |
Регистрационный номер | |
|
ABS-X003 |
SCAIME (PRECIA) |
F60X (BBL) |
50 |
49506-12 |
|
HBM |
Z6 |
15400-13 | ||
|
ABS-X004 |
SCAIME (PRECIA) |
F60X (BBL) |
100 |
49506-12 |
|
HBM |
Z6 |
15400-13 | ||
|
ABS-X007 |
SCAIME (PRECIA) |
F60X (BBL) |
200 |
49506-12 |
|
HBM |
Z6 |
15400-13 | ||
|
ABS-X015 |
SCAIME (PRECIA) |
F60X (BBL) |
200 |
49506-12 |
|
HBM |
Z6 |
15400-13 | ||
|
ABS-X020 |
SCAIME (PRECIA) |
F60X (BBL) |
500 |
49506-12 |
|
HBM |
Z6 |
15400-13 | ||
|
ABS-X027 |
SCAIME (PRECIA) |
F60X (BBL) |
500 |
49506-12 |
|
HBM |
Z6 |
15400-13 | ||
|
ABS-XL02 (SCS) |
FLINTEC |
SB4 |
500 |
46027-10 |
|
HBM |
HLCB2 |
550 |
21177-13 | |
|
ABS-XL03 (SCS) |
FLINTEC |
SB4 |
1000 |
46027-10 |
|
HBM |
HLCB2 |
1100 |
21177-13 | |
|
ABS-XL04 (SCS) |
FLINTEC |
SB4 |
1000 |
46027-10 |
|
HBM |
HLCB2 |
1100 |
21177-13 | |
|
ABS-XL06 (SCS) |
FLINTEC |
SB4 |
2000 |
46027-10 |
|
HBM |
HLCB2 |
2200 |
21177-13 | |
|
ABS-XL08 (SCS) |
FLINTEC |
SB4 |
2000 |
46027-10 |
|
HBM |
HLCB2 |
2200 |
21177-13 | |
|
ABS-XL10 (SCS) |
FLINTEC |
SB4 |
5000 |
46027-10 |
|
HBM |
HLCB2 |
4400 |
21177-13 | |
|
ABS-XL12 (SCS) |
FLINTEC |
SB4 |
5000 |
46027-10 |
|
HBM |
HLCB2 |
4400 |
21177-13 | |
|
ABS-XL14 (SCS) |
FLINTEC |
SB4 |
5000 |
46027-10 |
|
HBM |
HLCB2 |
4400 |
21177-13 | |
|
ABS-XL16 (SCS) |
FLINTEC |
SB4 |
5000 |
46027-10 |
|
HBM |
HLCB2 |
4400 |
21177-13 | |
|
ABS-XL18 (SCS) |
FLINTEC |
SB4 |
10000 |
46027-10 |
|
HBM |
Z7 |
- | ||
|
ABS-XL20 (SCS) |
FLINTEC |
SB4 |
10000 |
46027-10 |
|
HBM |
Z7 |
- | ||
|
ABS-XL22 (SCS) |
FLINTEC |
SB4 |
10000 |
46027-10 |
|
HBM |
Z7 |
- | ||
|
ABS-XL27 (SCS) |
FLINTEC |
SB4 |
10000 |
46027-10 |
|
HBM |
Z7 |
- | ||
|
ABS-XL33 |
ZEMIC |
BM14A |
25000 |
55371-13 |
|
HBM |
RTN |
15000 |
21175-13 | |
|
ABS-XL40 |
ZEMIC |
BM14A |
25000 |
55371-13 |
|
HBM |
RTN |
15000 |
21175-13 | |
Весы имеют два режима работы: неавтоматический и автоматический. При неавтоматическом режиме управление весами осуществляется при помощи клавиатуры, расположенной на передней панели индикатора. В автоматическом режиме взвешивание материала осуществляется дискретными ненормируемыми порциями. После взвешивания каждой порции общая масса всех взвешенных порций вычисляется нарастающим итогом. При этом цикл работы весов включает в себя следующие стадии:
- заполнение ГУ материалом с прекращением его подачи по достижении массы порции, близкого к заданному значению;
- взвешивание полученной порции:
- выгрузка материала;
- взвешивание незаполненного (после выгрузки материала) ГУ,
- вычисление массы выгруженной порции материала, как разности значений массы загруженного и незаполненного ГУ;
- вычисление и регистрация нарастающим итогом общей массы всех порций.
Весы снабжены следующими устройствами и функциями:
- устройство автоматической (в автоматическом режиме) и полуавтоматической (в неавтоматическом режиме) установки на нуль;
- автоматическая остановка работы весов по достижению общей суммы выгруженных масс, близкой заданному значению (в автоматическом режиме);
- сигнализация о превышении нагрузки.
На маркировочной табличке, закрепляемой на ГУ весов, наносят:
- наименование предприятия-изготовителя;
- обозначение весов;
- заводской номер;
- значение максимальной нагрузки;
- значение минимальной нагрузки ;
- минимальное значение минимальной суммируемой нагрузки в виде ^min=;
- действительная цена деления;
- диапазон температур;
- знак утверждения типа.
Весы выпускаются в различных модификациях, отличающихся метрологическими характеристиками, способом подачи материала в ГУ, габаритными размерами ГУ и имеющих обозначение ABS-X(L)ZZZ, где:
A BS - обозначение типа весов;
Х - весы с малой пропускной способностью до 267 м3/ч;
X L - весы с большей пропускной способностью до 2000 м3/ч
ZZZ - обозначение максимальной пропускной способности, например Х020 для 200 м3/ч или XL14 для 1400 м3/ч.
разрушаемая наклейка
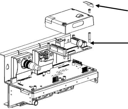
Рисунок 6 — Схема пломбировки весов (индикатора)
разъемы датчика
Программное обеспечение
Программное обеспечение (ПО) весов реализовано в преобразователе и является встроенным. Идентификационным признаком ПО служит номер версии, который отображается на дисплее индикатора при включении весов. Уровень защиты ПО от непреднамеренных и преднамеренных воздействий в соответствии с Р 50.2.077-2014 - «высокий». Для предотвращения воздействий и защиты законодательно контролируемых параметров используется электронное клеймо - случайное генерируемое число, которое автоматически обновляется после каждого сохранения изменений, внесенных в законодательно контролируемые параметры.
Идентификационные данные программного обеспечения приведены в таблице 2.
Таблица 2
|
Идентификационные данные (признаки) |
Значение |
|
Идентификационное наименование ПО | |
|
Номер версии (идентификационный номер) ПО |
V3.x.y |
|
Цифровой идентификатор ПО |
—* |
|
Другие идентификационные данные (если имеются) | |
|
* Конструкция весов не предусматривает вычисление цифрового идентификатора ПО. Примечания. «V3» означает номер версии метрологически значимой части ПО. «х» и «у»: числа от 0 до 255 и означает номер версии метрологически незначимой (сервисной) части ПО | |
Технические характеристики
Максимальная нагрузка (Мах), минимальное значение минимальной суммируемой нагрузки при измерении общей массы в зависимости от пределов допускаемой относительной погрешности (Xmin), а также действительная цена деления (d) основного и суммирующего отсчетного устройства указаны в таблице 3.
Таблица 3
|
Модификация |
Нагрузка (кг) |
Минимальное значение минимальной суммируемой нагрузки (У min), кг |
Действительная цена деления (d) основного и суммирующего устройства, кг | ||||
|
макси мальная |
мини мальная |
0,2 |
0,5 |
1 |
2 | ||
|
ABS-X003 |
60 |
12 |
20 |
12 |
12 |
12 |
0,02 |
|
ABS-X004 |
100 |
20 |
50 |
20 |
20 |
20 |
0,05 |
|
ABS-X007 |
200 |
40 |
50 |
40 |
40 |
40 |
0,05 |
|
ABS-X015 |
400 |
80 |
100 |
80 |
80 |
80 |
0,1 |
|
ABS-X020 |
600 |
120 |
100 |
120 |
120 |
120 |
0,1 |
|
ABS-X027 |
800 |
160 |
200 |
160 |
160 |
160 |
0,2 |
|
ABS-XL02 (SCS) |
800 |
160 |
500 |
200 |
200 |
200 |
0,5 |
|
ABS-XL03 (SCS) |
1200 |
240 |
1000 |
400 |
400 |
400 |
1 |
|
ABS-XL04 (SCS) |
1500 |
300 |
1000 |
400 |
400 |
400 |
1 |
|
ABS-XL06 (SCS) |
2500 |
500 |
2000 |
800 |
800 |
800 |
2 |
|
ABS-XL08 (SCS) |
3500 |
700 |
2000 |
800 |
800 |
800 |
2 |
|
ABS-XL10 (SCS) |
4000 |
800 |
2000 |
800 |
800 |
800 |
2 |
|
ABS-XL12 (SCS) |
5000 |
1000 |
2000 |
1000 |
1000 |
1000 |
2 |
|
ABS-XL14 (SCS) |
7500 |
1500 |
5000 |
2000 |
2000 |
2000 |
5 |
|
ABS-XL16 (SCS) |
10000 |
2000 |
5000 |
2000 |
2000 |
2000 |
5 |
|
ABS-XL18 (SCS) |
12000 |
2400 |
10000 |
4000 |
4000 |
4000 |
10 |
|
ABS-XL20 (SCS) |
15000 |
3000 |
10000 |
4000 |
4000 |
4000 |
10 |
|
ABS-XL22 (SCS) |
15000 |
3000 |
10000 |
4000 |
4000 |
4000 |
10 |
|
ABS-XL27 (SCS) |
20000 |
4000 |
10000 |
4000 |
4000 |
4000 |
10 |
|
ABS-XL33 (SCS) |
25000 |
5000 |
20000 |
8000 |
8000 |
8000 |
20 |
|
ABS-XL40(SCS) |
30000 |
6000 |
20000 |
8000 |
8000 |
8000 |
20 |
Пределы абсолютной допускаемой погрешности весов при измерении массы дозы (неавтоматический режим), при первичной поверке/в эксплуатации (в единицах d):
- в интервале до 500^d включ.................................................................................±0,5/±1,0
- в интервале свыше 500^d до 2000^d включ..........................................................±1,0/±2,0
- в интервале свыше 2000^d.....................................................................................±1,5/±3,0
Пределы допускаемой относительной погрешности весов при измерении общей массы при первичной поверке/в эксплуатации (автоматический режим), % от измеряемой массы
..........................................................±0,10(±0,2); ±0,25 (±0,5); ±0,50 (±1,0); ±1,0 (±2,0)
Условия эксплуатации:
- диапазон температуры, °С................................................................от минус 30 до +40
- относительная влажность воздуха при 25 °С, не более, %.................................80
Параметры электрического питания для весов:
- напряжение, В............................................................................................ от 198 до 242
- частота, Гц ..................................................................................................... от 49 до 51
- потребляемая мощность, В •А, не более.................................................................. 100
Габаритные размеры и масса весов приведены в таблице 4.
Таблица 4
|
Модификация |
Габаритные размеры, мм, не более |
Масса весов, кг, не более | ||
|
ширина |
длина |
высота | ||
|
ABS-X003 |
1053 |
1085 |
1326 |
400 |
|
ABS-X004 |
1053 |
1085 |
1326 |
400 |
|
ABS-X007 |
1053 |
1085 |
1486 |
400 |
|
ABS-X015 |
1182 |
1246 |
1902 |
500 |
|
ABS-X020 |
1480 |
1502 |
2100 |
1000 |
|
ABS-X027 |
1480 |
1502 |
2568 |
1150 |
|
ABS-XL02 (SCS) |
1510 |
1960 |
2050 |
1100 |
|
ABS-XL03 (SCS) |
1510 |
2160 |
2340 |
1250 |
|
ABS-XL04 (SCS) |
1760 |
2230 |
2700 |
1650 |
|
ABS-XL06 (SCS) |
2310 |
2660 |
2480 |
2650 |
|
ABS-XL08 (SCS) |
2310 |
2660 |
3030 |
2900 |
|
ABS-XL10 (SCS) |
2660 |
2660 |
2570 |
3750 |
|
ABS-XL12 (SCS) |
2660 |
3200 |
2920 |
3980 |
|
ABS-XL14 (SCS) |
2660 |
3200 |
3565 |
4480 |
|
ABS-XL16 (SCS) |
2660 |
3200 |
4070 |
4770 |
|
ABS-XL18 (SCS) |
2660 |
3200 |
4780 |
5490 |
|
ABS-XL20 (SCS) |
2660 |
3200 |
5680 |
6000 |
|
ABS-XL22 (SCS) |
3250 |
4010 |
3900 |
6900 |
|
ABS-XL27 (SCS) |
3250 |
4010 |
4960 |
7850 |
|
ABS-XL33 (SCS) |
3250 |
4010 |
6020 |
8800 |
|
ABS-XL40 (SCS) |
3250 |
6240 |
5600 |
11500 |
Знак утверждения типа
наносится типографским способом на титульный лист руководства по эксплуатации и термосублимационным или механическим способом на маркировочную табличку, расположенную на ГУ весов.
Комплектность
Таблица 5 - Комплектность средства измерений
|
Наименование |
Количество |
|
Весы |
1 шт. |
|
Методика поверки (МП) |
1 экз. |
|
Руководство по эксплуатации |
1 экз. |
Поверка
осуществляется по документу МП 60691-15 "Весы бункерные ABS. Методика поверки", утвержденному ФГУП "ВНИИМС" 29.12.2014 г.
Идентификационные данные, а также процедура идентификации программного обеспечения приведены в Приложении 1 «Программное обеспечение» Руководства по эксплуатации весов бункерных ABS-X и Приложении 1 «Программное обеспечение» Руководства по эксплуатации весов бункерных ABS-XL.
Основные средства поверки:
- гири класса точности М1 или М1-2 по ГОСТ OIML R 111-1-2009,
- весы неавтоматического действия класса точности - средний (III) по ГОСТ OIML R 76-1-2011.
Допускается применение аналогичных средств поверки, обеспечивающих определение метрологических характеристик поверяемых СИ с требуемой точностью.
Знак поверки наносится на корпус весов с лицевой стороны и /или на свидетельство о поверке.
Сведения о методах измерений
«Весы бункерные ABS-X. Руководство по эксплуатации» Приложение 2 «Использование по назначению».
«Весы бункерные ABS-XL. Руководство по эксплуатации» Приложение 2 «Использование по назначению».
Нормативные документы
Техническая документация фирмы-изготовителя






