Полуприцепы-цистерны ППЦ-СН
| Номер в ГРСИ РФ: | 61247-15 |
|---|---|
| Категория: | Полуприцепы-цистерны |
| Производитель / заявитель: | ООО "ФоксТанк Моторс", г.Кстово |
Полуприцепы-цистерны ППЦ-СН (далее - цистерны) предназначены для измерений объема нефтепродуктов плотностью от 700 до 860 кг/м3.
Информация по Госреестру
| Основные данные | |
|---|---|
| Номер по Госреестру | 61247-15 |
| Действует | по 31.07.2025 |
| Наименование | Полуприцепы-цистерны |
| Модель | ППЦ-СН |
| Код идентификации производства |
ОС
СИ не соответствует критериям подтверждения производства на территории
РФ в соответствии с постановлением №719
|
| Характер производства | Серийное |
| Идентификатор записи ФИФ ОЕИ | 8a1f89e8-d288-b2a3-022e-03396f92c0f4 |
Производитель / Заявитель
ООО "ФоксТанк Моторс", РОССИЯ, г.Нижний Новгород
Поверка
| Межповерочный интервал / Периодичность поверки |
1 год
|
| Зарегистрировано поверок |
1254
|
| Найдено поверителей | |
| Успешных поверок (СИ пригодно) | 1254 (100%) |
| Неуспешных поверок (СИ непригодно) | 0 (0 %) |
| Актуальность информации | 10.05.2026 |
Поверители
Скачать
|
61247-15: Описание типа
2018-61247-15.pdf
|
Скачать | 392.8 КБ | |
|
61247-15: Методика поверки
2021-mp61247-15.pdf
|
Скачать | 338 КБ |
Описание типа
Назначение
Полуприцепы-цистерны ППЦ-СН (далее - ППЦ) предназначены для измерений объема нефтепродуктов плотностью от 700 до 860 кг/м3.
Описание
Принцип действия ППЦ основан на заполнении их нефтепродуктом до указателя уровня налива, соответствующего определенному объему нефтепродукта. Слив нефтепродукта производится самотеком или через насос.
ППЦ состоят из стальной сварной цистерны, имеющей в поперечном сечении круглую, форму, установленной на 3-х или 4-х осном шасси. ППЦ являются транспортными мерами полной вместимости (далее - ТМ). Цистерна состоит из герметичных секций. Внутри секций имеются перегородки-волнорезы с отверстиями-лазами. Каждая секция цистерны оборудована заливной горловиной круглой формы с установленным указателем уровня налива из металлического уголка. В зависимости от места расположения указателя уровня налива цистерна может быть оборудована металлическим компенсационным коробом для предотвращения перелива нефтепродукта вследствии объемного расширения из-за изменения температуры.
Технологическое оборудование предназначено для операций налива-слива нефтепродуктов и включает в себя:
- съемную крышку горловины с заливным люком и дыхательным клапаном;
- клапан донный;
- кран шаровой;
- рукава напорно-всасывающие;
- насос по дополнительному заказу.
ППЦ имеют модификации ППЦ-СН-250, ППЦ-СН-260, ППЦ-СН-270, ППЦ-СН-280, ППЦ-СН-290, ППЦ-СН-300, ППЦ-СН-310, ППЦ-СН-320, ППЦ-СН-330, ППЦ-СН-340, ППЦ-СН-350, ППЦ-СН-360, ППЦ-СН-370, ППЦ-СН-380, ППЦ-СН-390, ППЦ-СН-400, ППЦ-СН-410, ППЦ-СН-420, ППЦ-СН-430, ППЦ-СН-440 и ППЦ-СН-450 которые отличаются геометрическими размерами и номинальной вместимостью.
На боковых сторонах и сзади ППЦ имеют надпись «ОГНЕОПАСНО», знак ограничения скорости и знаки с информационными табличками для обозначения транспортного средства, перевозящего опасный груз.
Общие виды ППЦ представлены на рисунках 1 и 2.
Рисунок 1 - Общий вид полуприцепа-цистерны ППЦ-СН-320
Рисунок 2 - Общий вид полуприцепа-цистерны ППЦ-СН-450
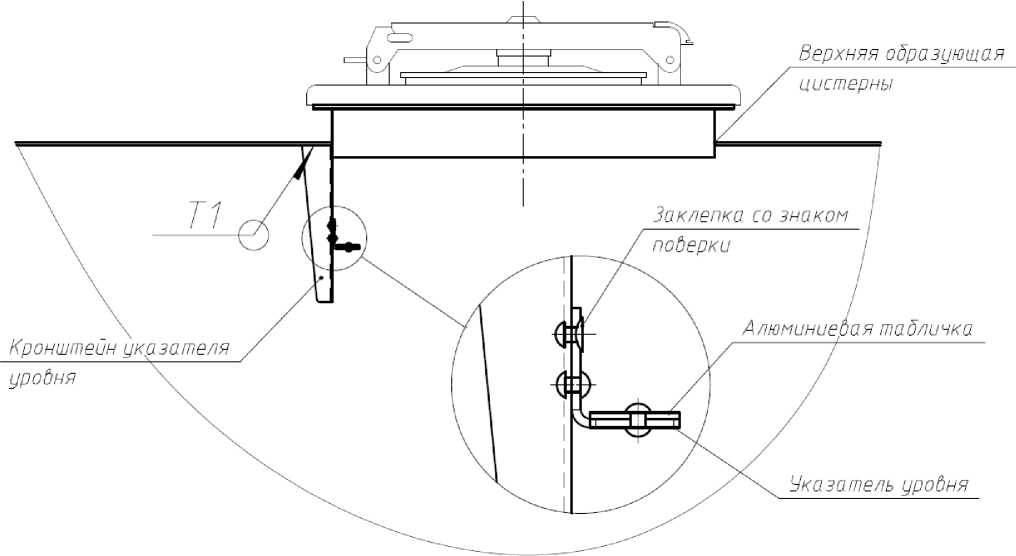
Схема пломбировки для защиты от несанкционированного изменения положения указателя уровня налива, обозначение места нанесения знака поверки представлена на рисунках 3 и 4.
Рисунок 3 - Схема пломбировки от несанкционированного изменения положения указателя уровня налива, обозначение места нанесения знака поверки на заклепку при наличии компенсационного короба
Рисунок 4 - Схема пломбировки от несанкционированного изменения положения указателя уровня налива, обозначение места нанесения знака поверки на заклепку без компенсационного короба
Программное обеспечение отсутствует.
Технические характеристики
Таблица 1 - Метрологические характеристики
|
Наименование характеристики |
Значение | |||
|
ППЦ-СН-250 |
ППЦ-СН-260 |
ППЦ-СН-270 |
ППЦ-СН-280 | |
|
Номинальная вместимость, дм3 |
25000 |
26000 |
27000 |
28000 |
|
Таблица 2 - Метрологические ха |
рактеристики | |||
|
Наименование характеристики |
Значение | |||
|
ППЦ-СН-290 |
ППЦ-СН-300 |
ППЦ-СН-310 |
ППЦ-СН-320 | |
|
Номинальная вместимость, дм3 |
29000 |
30000 |
31000 |
32000 |
|
Таблица 3 - Метрологические ха |
рактеристики | |||
|
Наименование характеристики |
Значение | |||
|
ППЦ-СН-330 |
ППЦ-СН-340 |
ППЦ-СН-350 |
ППЦ-СН-360 | |
|
Номинальная вместимость, дм3 |
33000 |
34000 |
35000 |
36000 |
|
Таблица 4 - Метрологические ха |
рактеристики | |||
|
Наименование характеристики |
Значение | |||
|
ППЦ-СН-370 |
ППЦ-СН-380 |
ППЦ-СН-390 |
ППЦ-СН-400 | |
|
Номинальная вместимость, дм3 |
37000 |
38000 |
39000 |
40000 |
Таблица 5 - Метрологические характеристики
|
Наименование характеристики |
Значение | |||
|
ППЦ-СН-410 |
ППЦ-СН-420 |
ППЦ-СН-430 |
ППЦ-СН-440 | |
|
Номинальная вместимость, дм3 |
41000 |
42000 |
43000 |
44000 |
Таблица 6 - Метрологические характеристики
|
Наименование характеристики |
Значение |
|
ППЦ-СН-450 | |
|
Номинальная вместимость, дм3 |
45000 |
Таблица 7 - Метрологические характеристики
|
Наименование характеристики |
Значение |
|
Пределы допускаемой относительной погрешности ТМ, % |
±0,4 |
|
Разность между номинальной и действительной вместимостью ТМ, %, не более |
±1,5 |
Таблица 8 - Основные технические характеристики
|
Наименование характеристики |
Значение | |||
|
ППЦ-СН-250 |
ППЦ-СН-260 |
ППЦ-СН-270 |
ППЦ-СН-280 | |
|
Снаряженная масса, кг, не более |
8900 |
9000 |
9100 |
9200 |
|
Длина, мм, не более |
10500 |
10500 |
11000 |
11000 |
|
Ширина, мм, не более |
2550 |
2550 |
2550 |
2550 |
|
Высота, мм, не более |
4000 |
4000 |
4000 |
4000 |
Таблица 9 - Основные технические характеристики
|
Наименование характеристики |
Значение | |||
|
ППЦ-СН-290 |
ППЦ-СН-300 |
ППЦ-СН-310 |
ППЦ-СН-320 | |
|
Снаряженная масса, кг, не более |
9300 |
9400 |
9500 |
9600 |
|
Длина, мм, не более |
11500 |
12000 |
12000 |
12000 |
|
Ширина, мм, не более |
2550 |
2550 |
2550 |
2550 |
|
Высота, мм, не более |
4000 |
4000 |
4000 |
4000 |
Таблица 10 - Основные технические характеристики
|
Наименование характеристики |
Значение | |||
|
ППЦ-СН-330 |
ППЦ-СН-340 |
ППЦ-СН-350 |
ППЦ-СН-360 | |
|
Снаряженная масса, кг, не более |
9800 |
10300 |
10800 |
10900 |
|
Длина, мм, не более |
12500 |
13000 |
13500 |
14000 |
|
Ширина, мм, не более |
2550 |
2550 |
2550 |
2550 |
|
Высота, мм, не более |
4000 |
4000 |
4000 |
4000 |
Таблица 11 - Основные технические характеристики
|
Наименование характеристики |
Значение | |||
|
ППЦ-СН-370 |
ППЦ-СН-380 |
ППЦ-СН-390 |
ППЦ-СН-400 | |
|
Снаряженная масса, кг, не более |
11000 |
11100 |
11200 |
11300 |
|
Длина, мм, не более |
12000 |
12500 |
13000 |
12000 |
|
Ширина, мм, не более |
2550 |
2550 |
2550 |
2550 |
|
Высота, мм, не более |
4000 |
4000 |
4000 |
4000 |
Таблица 12 - Основные технические характеристики
|
Наименование характеристики |
Значение | |||
|
ППЦ-СН-410 |
ППЦ-СН-420 |
ППЦ-СН-430 |
ППЦ-СН-440 | |
|
Снаряженная масса, кг, не более |
11400 |
11600 |
11700 |
11800 |
|
Длина, мм, не более |
12500 |
13000 |
13000 |
13500 |
|
Ширина, мм, не более |
2550 |
2550 |
2550 |
2550 |
|
Высота, мм, не более |
4000 |
4000 |
4000 |
4000 |
Таблица 13 - Основные технические характеристики
|
Наименование характеристики |
Значение |
|
ППЦ-СН-450 | |
|
Снаряженная масса, кг, не более |
12000 |
|
Длина, мм, не более |
14000 |
|
Ширина, мм, не более |
2550 |
|
Высота, мм, не более |
4000 |
Таблица 14 - Основные технические характеристики
|
Наименование характеристики |
Значение |
|
Температура окружающей среды при эксплуатации, °С |
от -40 до +50 |
Знак утверждения типа
наносится на маркировочную табличку методом гравировки и на титульный лист руководства по эксплуатации и формуляра печатным способом.
Комплектность
Таблица 15 - Комплектность средства измерений
|
Наименование |
Обозначение |
Количество |
|
Полуприцеп-цистерна ППЦ-СН |
ППЦ-СН-ХХХ |
1 шт. |
|
Запасные части, инструменты и принадлежности |
1 комплект | |
|
Руководство по эксплуатации |
ППЦ-СН.РЭ |
1 шт. |
|
Формуляр |
966611-000.ФО |
1 шт. |
Поверка
осуществляется по документу ГОСТ 8.600-2011 «ГСИ. Автоцистерны для жидких нефтепродуктов. Методика поверки».
Основные средства поверки:
комплекс градуировки резервуаров ТОКАР (регистрационный номер 33536-06), пределы относительной погрешности измерений объема жидкости ±0,15 %.
Допускается применение аналогичных средств поверки, обеспечивающих определение метрологических характеристик поверяемых СИ с требуемой точностью.
Знак поверки наносится на заклепку, проходящую через кронштейн указателя уровня и указатель уровня налива и на свидетельство о поверке.
Сведения о методах измерений
приведены в эксплуатационном документе.
Нормативные документы
ТУ 4525-008-62239059-2009 Полуприцепы-цистерны ППЦ. Технические условия

