Весы крановые ВА
| Номер в ГРСИ РФ: | 63007-16 |
|---|---|
| Категория: | Весы |
| Производитель / заявитель: | ООО "ТОПАУ-Электроник", г.Новоуральск |
|
63007-16: Описание типа
2020-63007-16.pdf
|
Скачать | 540.7 КБ |
Весы крановые ВА (весы) предназначены для статического измерения массы грузов, перемещаемых грузоподъемными кранами.
Информация по Госреестру
| Основные данные | |
|---|---|
| Номер по Госреестру | 63007-16 |
| Действует | по 09.12.2025 |
| Наименование | Весы крановые |
| Модель | ВА |
| Характер производства | Серийное |
| Идентификатор записи ФИФ ОЕИ | 82308515-e4fa-41d3-b2cd-e1288bf317c4 |
Производитель / Заявитель
ООО "Техника Оборудование Приборы Автоматика Установки - Электроник" (ТОПАУ-Электроник), РОССИЯ, г.Новоуральск
Поверка
| Межповерочный интервал / Периодичность поверки |
1 год
|
| Зарегистрировано поверок |
2226
|
| Найдено поверителей | |
| Успешных поверок (СИ пригодно) | 2171 (98%) |
| Неуспешных поверок (СИ непригодно) | 55 (2 %) |
| Актуальность информации | 20.05.2026 |
Поверители
Скачать
|
63007-16: Описание типа
2020-63007-16.pdf
|
Скачать | 540.7 КБ |
Описание типа
Назначение
Весы крановые ВА (весы) предназначены для статического измерения массы грузов, перемещаемых грузоподъемными кранами.
Описание
Принцип действия весов основан на преобразовании деформации упругого элемента весоизмерительного тензорезисторного датчика сжатия (датчика), возникающей под действием силы тяжести взвешиваемого груза, в выходной электрический сигнал, изменяющийся пропорционально массе взвешиваемого груза. Сигнал преобразуется аналого-цифровым преобразователем (АЦП) электронного устройства (индикатора) в цифровой код, обрабатывается микропроцессором и выводится на дисплей в виде результата взвешивания.
Конструктивно весы состоят из стального корпуса со встроенными датчиком, индикатором и аккумуляторной батареей (АКБ), грузоприемного устройства (крюка) и деталей, передающих силу от крюка к датчику.
Весы имеют четыре модификации: ВА 05061, ВА 10061, ВА 25061, ВА 50061. Отличительные особенности приведены в таблицах 2, 3.
Дополнительные устройства и функции:
- устройство первоначальной установки на нуль;
- полуавтоматическое устройство установки на нуль;
- устройство автоматического слежения за нулем;
- устройство тарирования - выборки массы тары;
- устройство, позволяющее показывать значение массы нетто, брутто или тары в любой момент;
- устройство запоминающее с суммированием показаний нескольких взвешиваний;
- устройство показывающее с расширением (d < e);
- устройство контроля напряжения АКБ;
Рисунок 1 - устройство ограничения показаний (массы брутто свыше
(Max + 9e), при снижении напряжении АКБ ниже минимально допустимого, при нестабильном равновесии);
- «спящий» режим;
защищенный режим («Настройка»):
- устройство выбора параметров конфигурации (d, Max);
- устройство юстировки внешней нагрузкой;
- устройство изменения значения юстировочной нагрузки;
- устройство выбора гравитационного коэффициента (30 значений);
- энергонезависимая память (для фиксации эффектов действий пользователя - перегруз весов, вход в режим «Настройка» и изменение ранее установленных настроек).
Установка пломбы с оттиском клейма поверителя на головку винта индикатора (рисунок 1) исключает несанкционированный доступ внутрь корпуса к индикатору и датчику и защищает их от механической замены и модификации.
Программное обеспечение
В весах используется встроенное программное обеспечение (ПО). ПО записано в память микропроцессора, который вместе с другими электронными устройствами находится на плате индикатора и не может быть модифицировано, загружено или прочитано через какой -либо интерфейс или с помощью других средств после принятия защитных мер и поверки. Доступ в режим «Настройка» осуществляется только с помощью сервисного пульта СП.
Каждый раз при входе в режим «Настройка» и изменении ранее установленных метрологически значимых параметров несбрасываемые счетчики изменяют свои показания.
Т а б л и ц а 1 Идентификационные данные ПО
|
Идентификационные данные (признаки) |
Значение |
|
Идентификационное наименование ПО |
10108 |
|
Номер версии (идентификационный номер ПО) |
3121 |
|
Цифровой идентификатор ПО |
- |
|
Другие идентификационные данные (если имеются) |
- |
Идентификация ПО: при включении весов и одновременном нажатии кнопки Мс на рабочем пульте ИК-3 на дисплее последовательно отображаются: тест индикации, данные ПО -10108, 3121 (табл.1), значение гравитационного коэффициента и его номер по несбрасываемому счетчику.
Влияние ПО на метрологические характеристики учтено при их нормировании.
Уровень защиты ПО и измерительной информации от преднамеренных и непреднамеренных изменений в соответствии с Р 50.2.077-2014 - высокий.
Конструкция весов исключает возможность несанкционированного влияния на ПО весов и измерительную информацию.
Технические характеристики
Весы имеют четыре модификации: ВА 05061, ВА 10061, ВА 25061, ВА 50061. Отличительные особенности приведены в таблицах 2, 3.
1 Класс точности по ГОСТ OIML R 76-1-2011 .....................................средний (III)
2 Максимальная (Max), минимальная (Min) нагрузки, действительная цена деления (d), поверочное деление (е), число поверочных делений (n), пределы допускаемой погрешности при поверке приведены в таблице 2.
Т а б л и ц а 2
|
Модель |
Max, кг |
Min, кг |
d=e, кг |
n |
Интервалы взвешивания, кг |
Пределы допускаемой погрешности при поверке (mpe), кг |
|
ВА 05061 |
5000 |
40 |
2 |
2500 |
От 40 до 1000 включ. Св. 1000 до 4000 включ. Св. 4000 до 5000 включ. |
± 1 ± 2 ± 3 |
|
ВА 10061 |
10000 |
100 |
5 |
2000 |
От 100 до 2500 включ. Св. 2500 до 10000 включ. |
± 2,5 ± 5 |
|
ВА 25061 |
25000 |
200 |
10 |
2500 |
От 200 до 5000 включ. Св. 5000 до 20000 включ. Св. 20000 до 25000 включ. |
± 5 ± 10 ± 15 |
|
ВА 50061 |
50000 |
400 |
20 |
2500 |
От 400 до 10000 включ. Св. 10000 до 40000 включ. Св. 40000 до 50000 включ. |
± 10 ± 20 ± 30 |
3 Диапазон показаний.............................................................. от 0 до (Max +9е)
4 Число разрядов цифрового дисплея, шт
5 Высота цифр (букв) цифрового дисплея, мм
6 Диапазон выборки массы тары.........................................................от 0 до Max
7 Диапазон первоначальной установки на нуль, не более, % от Мах
8 Пределы допускаемой погрешности в эксплуатации и при осуществлении надзора во время эксплуатации равны удвоенным значениям пределов допускаемых погрешностей при поверке.
9 Значения пределов допускаемой погрешности применимы к значениям массы нетто при любом возможном значении массы тары.
10 Пределы допускаемой погрешности при установке на нуль, кг.......................±
11 Время установления показаний, с, не более
12 Электропитание весов (от аккумуляторной батареи), В.........................от 5,4 до 6,4
13 Потребляемая мощность, ВА, не более
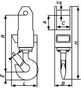
14 Размеры и масса весов указаны на рисунках 1 и 2 и в таблице 3.
Рисунок 1
Рисунок 2
Т а б л и ц а 3 - Размеры и масса весов
Размеры, мм
|
Модель |
A |
B |
C |
E |
G |
R |
L |
S |
H |
Рис. |
Масса, кг, не более |
|
Предельные отклонения - (+10, -5) | |||||||||||
|
ВА 05061 |
140 |
270 |
78 |
46 |
47,5 |
550 |
350 |
32 |
655 |
1 |
54 |
|
ВА 10061 |
190 |
280 |
105 |
66 |
57,5 |
715 |
405 |
45 |
830 |
1 |
78 |
|
ВА 25061 |
340 |
300 |
180 |
100 |
110 |
1070 |
423 |
60 |
1205 |
1 |
150 |
|
ВА 50061 |
280 |
350 |
240 |
160 |
130 |
1170 |
500 |
85 |
1490 |
2 |
280 |
П р и м е ч а н и я - Узлы подвеса (крюк и скоба) могут быть изменены под условия заказчика в определенных пределах.
15 Диапазон рабочих температур, °С...................................от минус 40 до плюс 40
16 Показатели надежности
16.1 Вероятность безотказной работы за 2000 часов..........................................0,92
16.2 Критериями отказа весов считаются превышения пределов допускаемых погрешностей, не устраняемые юстировкой, и (или) неисправности, ограничивающие дальнейшее применение весов по назначению.
16.3 Средний срок службы весов, лет, не менее......................................................8
Знак утверждения типа
наносится на маркировочную табличку весов, закрепленную на индикаторе, фотохимическим способом и на титульные листы эксплуатационной документации типографским способом.
Комплектность
Таблица 4
1 Весы (с установленной аккумуляторной батареей)...........................................1 шт
2 Пульт дистанционного управления...............................................................1 шт
3 Устройство зарядное.................................................................................1 шт
4 Документация (комплект)..........................................................................1 шт
5 Упаковка................................................................................................1 шт
Поверка
осуществляется по документу ГОСТ OIML R 76-1 Приложение ДА «Методика поверки весов» в соответствии с разделом «Поверка» документа «Весы крановые ВА. Руководство по эксплуатации».
Основные средства поверки:
- рабочие эталоны массы 4-го разряда по приказу Росстандарта от 29 декабря 2018 г. № 2818 Об утверждении Государственной поверочной схемы для средств измерений массы (гири класса точности М1 по ГОСТ OIML R 111- 1-2009 «ГСИ. Гири классов точности Е1, E2, F1, F2, M1, M1-2, M2, M2-3 и M3. Часть 1. Метрологические и технические требования»).
- рабочие эталоны силы 1-го разряда согласно ГОСТ 8.640 - 2014 «ГСИ.
Государственная поверочная схема для средств измерения силы» (установки силовоспроизводящие с пределами допускаемых значений доверительных границ относительной погрешности 0,03 % не более).
Допускается применение аналогичных средств поверки, обеспечивающих определение метрологических характеристик поверяемых СИ с требуемой точностью.
Сведения о методиках (методах) измерений приведены в документе «Весы крановые ВА. Руководство по эксплуатации».
Нормативные документы
1 ГОСТ OIML R 76-1-2011 ГСИ. Весы неавтоматического действия. Часть 1. Метрологические и технические требования. Испытания
2 Приказ Росстандарта от 29 декабря 2018 г. № 2818 Об утверждении Государственной поверочной схемы для средств измерений массы

