63972-16: УГС-2 Установки для приготовления парогазовых смесей - Производители, поставщики и поверители

Установки для приготовления парогазовых смесей УГС-2

ALL-Pribors default picture
Номер в ГРСИ РФ: 63972-16
Производитель / заявитель: ФГУП СПО "Аналитприбор", г.Смоленск
Скачать
63972-16: Описание типа
2016-63972-16.pdf
Скачать 159.2 КБ
63972-16: Методика поверки ИБЯЛ.413229.001 МП
2016-mp63972-16-2.pdf
Скачать 585 КБ
Нет данных о поставщике
Поверка
Установки для приготовления парогазовых смесей УГС-2 поверка на: www.ktopoverit.ru
КтоПоверит
Онлайн-сервис метрологических услуг

Установки для приготовления парогазовых смесей УГС-2 (далее - установки), предназначены для приготовления аттестованных смесей (далее - АС) паров горючих жидкостей в газе-разбавителе для проведения исследовательских испытаний и технологических работ.

Информация по Госреестру

Основные данные
Номер по Госреестру 63972-16
Действует по 18.05.2031
Наименование Установки для приготовления парогазовых смесей
Модель УГС-2
Приказы
50 от 16.01.2026 — О продлении срока действия утвержденных типов средств измерений
Код идентификации производства ОС
СИ не соответствует критериям подтверждения производства на территории РФ в соответствии с постановлением №719
Характер производства Серийное
Идентификатор записи ФИФ ОЕИ ce6f2ba6-9437-ecbd-a807-134ad287e3b7
Производитель / Заявитель

ФГУП СПО "Аналитприбор", РОССИЯ, 214031, Смоленская область, г. Смоленск, ул. Бабушкина, д. 3

Поверка

Методика поверки / информация о поверке
ИБЯЛ.413229.001 МП Установки для приготовления парогазовых смесей УГС-2. Методика поверки
Межповерочный интервал / Периодичность поверки
1 год
Зарегистрировано поверок
Найдено поверителей
Успешных поверок (СИ пригодно) 9 (100%)
Неуспешных поверок (СИ непригодно) 0 (0 %)
Актуальность информации 15.03.2026
Найти результаты поверки
Указан в паспорте или на самом приборе

Поверители

КтоПоверит
Онлайн-сервис метрологических услуг
Установки для приготовления парогазовых смесей УГС-2 поверка на: www.ktopoverit.ru
КтоПоверит
Онлайн-сервис метрологических услуг

Скачать

63972-16: Описание типа
2016-63972-16.pdf
Скачать 159.2 КБ
63972-16: Методика поверки
2016-mp63972-16.pdf Файл устарел
Скачать 585 КБ
63972-16: Описание типа
2016-63972-16-1.pdf Файл устарел
Скачать 159.2 КБ
63972-16: Методика поверки
2016-mp63972-16-1.pdf Файл устарел
Скачать 585 КБ
63972-16: Методика поверки ИБЯЛ.413229.001 МП
2016-mp63972-16-2.pdf
Скачать 585 КБ

Описание типа

Назначение

Установки для приготовления парогазовых смесей УГС-2 (далее - установки), предназначены для приготовления аттестованных смесей (далее - АС) паров горючих жидкостей в газе-разбавителе для проведения исследовательских испытаний и технологических работ.

Описание

Принцип действия установок - статический объёмный метод приготовления газовых смесей, заключающийся в испарении навески горючей жидкости с последующим смешиванием паров с воздухом или азотом.

Установка представляет собой стационарный одноблочный автоматический прибор периодического действия.

Способ подачи пробы на проверяемый газоанализатор (сигнализатор, датчик и т.п.) -принудительный

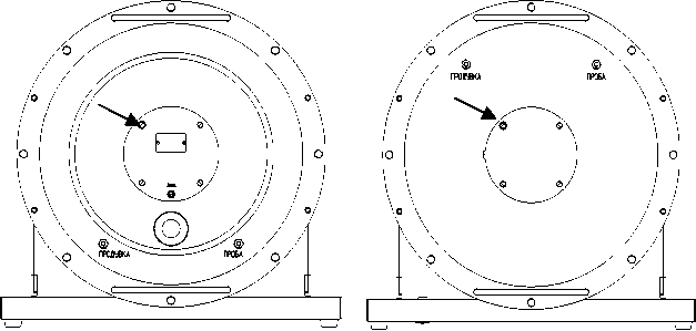
Конструктивно камера испарительная выполнена в металлическом корпусе цилиндрической формы, установленной на подставку. К подставке крепится клеммная колодка «Цпит». С обоих сторон корпус камеры испарительной закрыт фланцами. На каждом фланце установлены: электродвигатель закрытый кожухом, ручки, штуцера «ПРОБА» и «ПРОДУВКА». На левом фланце расположен герметизированный вход загрузочного люка.

Рисунок 1 - Внешний вид установки

2а) - Вид слева

2б) - Вид справа

Рисунок 2 - Внешний вид установки с указанием мест пломбировки

Технические характеристики

Метрологические характеристики представлены в таблицах 1, 2.

Таблица 1 - Установка обеспечивает приготовление АС со следующими целевыми компонентами_________________________________________________________________________

1) акрилонитрил, акролеин, аллиловый спирт, аллилацетат, амиловый спирт, анилин, ацетальдегид, ацетонитрил, бензальдегид, бензол, бутанол, гексан, гептан, гептил, декан, диизопропиловый эфир, диизопропиловый спирт, диметилдиоксан, диметилкотон, диметоксиметан, диметилэтилкарбинол, диоксановые спирты, дихлорэтан, дициклопентадиен, диэтиламин, диэтиловый эфир, диэтиленоксид, спирт изобутиловый, изооктан, изопентан, изопрен, изопропиловый спирт, крезол, ксилол, метилметакрилат, метилбутандиол, метиловый спирт, метилакрилат, метилфуран, метилцеллозольв, метилэтилкетон, муравьиная кислота, нитробензол, нитроэтан, нонан, октан, спирт пропиловый, стирол, тетрагидрофуран, толуол, триэтиламин, уксусная кислота, уксуснобутиловый эфир, уксусновиниловый эфир, уксуснометиловый эфир, уксусноэтиловый эфир, уксусный альдегид, фенол, фуран, фурфурол, циклогексан, циклогексанон, циклогексиламин, циклопентадиен, этилбензол, этанол, этилцеллозольв, этилацетат;_____________________________________________________________________

2) амилены (смесь), бензин, топливо дизельное, керосин, мазут, нафтил, пары нефти, петролейный эфир, пиперилены, скипидар, сольвент, топливо для реактивных двигателей, уайт-спирит, разбавители и растворители.

Поверочный компонент установки - гексан

Газ-разбавитель - азот газообразный особой чистоты ГОСТ 9293-74 или воздух кл. 1

ГОСТ 17433-80

Таблица 2 - Метрологические характеристики установки

Диапазон содержания целевого компонента (паров горючей жидкости) в приготавливаемой АС:

- для веществ указанных в п.1 таблицы 1, % НКПР

- для веществ указанных в п.2 таблицы 1, г/м3

от 5 до 50, от 1 до 10

Пределы допускаемой относительной погрешности приготовления заданного значения содержания целевого компонента в создаваемой АС, %

±7,5

Внутренний объем камеры испарительной, дм3

30,0±1,0

Электрическое питание камеры испарительной - от источника питания постоянного тока, с максимальным выходным током не менее 5 А и напряжением, В

5±1

Потребляемая камерой испарительной мощность, Вт, не более:

25

Габаритные размеры камеры испарительной, мм, не более:

- длина

470

- ширина

460

- высота

440

Таблица 3 - Технические характеристики установки

Масса камеры испарительной, кг, не более:

30

Степень защиты установки по ГОСТ 14254-96:

IP20

По способу защиты персонала от поражения электрическим током по ГОСТ 12.2.007.0-75 установка относится к классу

III

Рабочие условия эксплуатации:

- окружающая среда - невзрывоопасна;

- диапазон температуры окружающей среды, °С

- диапазон температуры приготавливаемой газовой смеси, °С

- диапазон атмосферного давления:

- кПа

- мм рт.ст.

- верхнее значение относительной влажности окружающей среды при 35 °С и более низких температурах, без конденсации влаги, %

от +15 до +80

от +15 до +80

от 84 до 106,7

от 630 до 800

80

- синусоидальная вибрация с частотой от 10 до 55 Гц и амплитудой смещения 0,15 мм;

- содержание вредных веществ в окружающей среде должно соответствовать требованиям ГОСТ 12.1.005-88 для воздуха рабочей зоны;

- рабочее положение камеры испарительной - горизонтальное, угол наклона в любом направлении не более 5°.

По устойчивости к механическим воздействиям установки относятся к группе N1 по ГОСТ Р 52931-2008.

Установки относятся к изделиям третьего порядка по ГОСТ Р 52931-2008.

По устойчивости к воздействию температуры и влажности окружающего воздуха установки соответствуют климатическому исполнению УХЛ категории размещения 4.2 по ГОСТ 15150-69 в диапазоне температур окружающей среды от 15 до 80 °С.

По устойчивости к воздействию температуры и влажности окружающей среды по ГОСТ Р 52931-2008 установки соответствуют группе исполнения В4 в диапазоне температур окружающей среды от 15 до 80 °С.

По устойчивости к воздействию атмосферного давления установки соответствуют группе исполнения Р1 по ГОСТ Р 52931-2008.

Установки соответствуют требованиям к электромагнитной совместимости по ТР ТС 020/2011, предъявляемым к оборудованию класса А по ГОСТ Р 51522.1-2011.

Знак утверждения типа

наносится на титульный лист (центр листа) руководства по эксплуатации типографским способом и на табличку, крепящуюся к кожуху электродвигателя, расположенную на боковой поверхности камеры испарительной, методом фотохимпечати.

Комплектность

Таблица 4 - Комплектность средства измерений

Установка для приготовления парогазовых смесей УГС-2

1 шт.

Ведомость эксплуатационных документов

1 экз.

Комплект эксплуатационных документов, в составе: - Руководство по эксплуатации

1 экз.

- Методика поверки

1 экз.

- Паспорт

1 экз.

- Ведомость ЗИП

1 экз.

Комплект ЗИП (согласно ведомости ЗИП)

1 шт.

Поверка

осуществляется в соответствии с документом ИБЯЛ.413229.001 МП «Установки для приготовления парогазовых смесей УГС-2. Методика поверки», утвержденным первым заместителем генерального Директора - заместителем по научной работе ФГУП «ВНИИФТРИ» в июне 2015 г.

Основные средства поверки:

ГСО-ПГС по ТУ 2114-001-00226247-2010, в баллонах под давлением:

- н-гексан в азоте №10463-2014;

- азот газообразный особой чистоты ГОСТ 9293-74.

Сведения о методах измерений

Установка для приготовления парогазовых смесей УГС-2. Руководство по эксплуатации. ИБЯЛ.413229.001 РЭ.

Нормативные документы

1 ГОСТ 14254-96. Степени зашиты, обеспечиваемые оболочками (Код IP).

2 ГОСТ Р 51522.1-2011. СТСЭ. Электрическое оборудование для измерения, управления и лабораторного применения. Требования и методы испытаний.

3 ГОСТ 12.2.007.0-75. Изделия электротехнические. Общие требования безопасности.

4 ГОСТ Р 52931-2008. Приборы контроля и регулирования технологических процессов. Общие технические условия.

5 Установка для приготовления парогазовых смесей УГС-2. Технические условия ИБЯЛ.413229.001 ТУ.

Смотрите также

63971-16
iSpace Системы лазерные координатно-измерительные
Фирма "Nikon Metrology Europe NV", БЕЛЬГИЯ
Системы лазерные координатно-измерительные iSpace (далее системы iSpace) предназначены для измерений координат с целью определения геометрических размеров деталей сложной формы в инженерной геодезии, в автомобильной, судостроительной, ракетнокосмичес...
63970-16
NORGAU серии NTT Измерители крутящего момента силы электронные
Компания "William Tools Co., Ltd.", ТАЙВАНЬ (КИТАЙ)
Измерители крутящего момента силы электронные NORGAU серии NTT (далее -измерители) предназначены для использования при проведении поверки и калибровки динамометрических ключей и отверток, воспроизводящих крутящий момент силы.
63969-16
LMK 5 Камера фотометрическая
Фирма "TechnoTeam Bildverarbeitung GmbH", ГЕРМАНИЯ
Камера фотометрическая LMK 5 (далее по тексту - камера) предназначена для измерения яркости источников света и отражающих поверхностей.
63968-16
МАК-01 Аппаратура
АО "Моринформсистема-Агат-КИП", г. Рязань
Аппаратура МАК-01 предназначена для измерений, обработки и представления информации о значениях плотности потока нейтронов при проведении загрузки ядерного топлива и последующем физическом пуске реактора.
63967-16
АМД-15 Дефектоскопы автоматизированные мультипрограммные ультразвуковые
АО "НТЦ диагностики и неразрушающего контроля" (ДНК), РОССИЯ, г.Москва
Дефектоскопы автоматизированные мультипрограммные ультразвуковые АМД-15 (далее - дефектоскопы) предназначены для измерений амплитуд эхо-сигналов, отраженных от дефектов типа нарушения сплошности или однородности материала трубопроводов, измерения инт...