Система измерений количества и показателей качества нефти Западно-Усть-Балыкского месторождения ОАО "Славнефть-Мегионнефтегаз" СИКН № 1502
| Номер в ГРСИ РФ: | 66020-16 |
|---|---|
| Производитель / заявитель: | ЗАО "ИПФ Вектор", г.Тюмень |
Система измерений количества и показателей качества нефти Западно-Усть-Балыкского месторождения ОАО «Славнефть-Мегионнефтегаз» СИКН № 1502 (далее - СИКН) предназначена для измерений массового расхода (массы) нефти.
Информация по Госреестру
| Основные данные | |||||||
|---|---|---|---|---|---|---|---|
| Номер по Госреестру | 66020-16 | ||||||
| Наименование | Система измерений количества и показателей качества нефти Западно-Усть-Балыкского месторождения ОАО "Славнефть-Мегионнефтегаз" СИКН № 1502 | ||||||
| Приказы |
№1988 от
16.09.2025
— О внесении изменений в сведения об утвержденных типах средств измерений
|
||||||
| Код идентификации производства |
ОС
СИ не соответствует критериям подтверждения производства на территории
РФ в соответствии с постановлением №719
|
||||||
| Характер производства | Единичное | ||||||
| Идентификатор записи ФИФ ОЕИ | 7cf75a93-e622-695d-46ff-d2a1d1551b80 | ||||||
| Испытания |
|
||||||
Производитель / Заявитель
ООО «ИПФ Вектор», РОССИЯ, 625031, Тюменская область, г. Тюмень, ул. Шишкова, 88
Поверка
| Методика поверки / информация о поверке |
ВЯ.31.1100338.00 МП Государственная система обеспечения единства измерений. Система измерений количества и показателей качества нефти Западно-Усть-Балыкского месторождения ОАО «Славнефть-Мегионнефтегаз» СИКН № 1502. Методика поверки
(с 16.09.2025)
ВЯ.10.1704875.00 МП Государственная система обеспечения единства измерений. Система измерений количества и показателей качества нефти Западно-Усть-Балыкского месторождения ОАО «Славнефть-Мегионнефтегаз» СИКН № 1502. Методика поверки
(по 16.09.2025)
|
| Межповерочный интервал / Периодичность поверки |
1 год
|
| Зарегистрировано поверок | |
| Найдено поверителей | |
| Успешных поверок (СИ пригодно) | 22 (100%) |
| Неуспешных поверок (СИ непригодно) | 0 (0 %) |
| Актуальность информации | 29.03.2026 |
Поверители
Скачать
|
66020-16: Описание типа
2023-66020-16.pdf
|
Скачать | 349.9 КБ | |
|
66020-16: Методика поверки
2021-mp66020-16.pdf
Файл устарел
|
Скачать | 377.9 КБ | |
|
66020-16: Описание типа
2023-66020-16-1.pdf
Файл устарел
|
Скачать | 349.9 КБ | |
|
66020-16: Описание типа
2025-66020-16.pdf
Файл устарел
|
Скачать | 295 КБ | |
|
66020-16: Методика поверки
2021-mp66020-16-1.pdf
Файл устарел
|
Скачать | 377.9 КБ | |
|
66020-16: Методика поверки
2025-mp66020-16.pdf
Файл устарел
|
Скачать | 2.3 MБ | |
|
66020-16: Описание типа
2025-66020-16-1.pdf
|
Скачать | 295 КБ | |
|
66020-16: Методика поверки
ВЯ.31.1100338.00 МП
2025-mp66020-16-1.pdf
|
Скачать | 2.3 MБ | |
|
66020-16: Методика поверки
ВЯ.10.1704875.00 МП
2021-mp66020-16-2.pdf
|
Скачать | 377.9 КБ |
Описание типа
Назначение
Система измерений количества и показателей качества нефти Западно-Усть-Балыкского месторождения ОАО «Славнефть-Мегионнефтегаз» СИКН № 1502 (далее - СИКН) предназначена для измерений массового расхода (массы) нефти.
Описание
Принцип действия СИКН основан на прямом методе динамических измерений с помощью преобразователей массового расхода жидкости. Выходные сигналы преобразователей расхода, давления, температуры, плотности, объёмной доли воды в нефти по линиям связи поступают в систему обработки информации, которая принимает и обрабатывает информацию с последующим вычислением массы нефти.
СИКН представляет собой единичный экземпляр измерительной системы. Конструктивно СИКН состоит из функционально объединённых блоков:
1) Блок измерительных линий (БИЛ), предназначенный для непрерывного измерения массового расхода нефти.
2) Блок измерений показателей качества нефти (БИК), предназначенный для непрерывного автоматического измерения показателей качества нефти.
3) Система обработки информации (СОИ), предназначенная для сбора и обработки сигналов, поступающих от измерительных преобразователей, вычислений показателей и параметров нефти по реализованному в ней алгоритму, а также индикации и регистрации результатов измерений и вычислений.
В составе СИКН функционально выделены измерительные каналы (ИК) массового расхода, определение метрологических характеристик которых осуществляется комплектным методом при поверке СИКН.
Состав СИКН представлен в таблице 1.
Таблица 1 - Состав СИКН
|
Наименование и тип средства измерений |
Регистрационный номер в Федеральном информационном фонде по обеспечению единства измерений |
|
Счётчики-расходомеры массовые Micro Motion мод. CMF300 (далее - МПР) |
45115-10 45115-16 |
|
Термопреобразователи сопротивления платиновые с унифицированным выходным сигналом ТСПУ модели 65644 |
27129-04 |
|
Датчики температуры 644 |
39539-08 |
|
Датчики температуры Rosemount 644 |
63889-16 |
|
Преобразователи давления измерительные EJX мод. EJX 530 |
28456-09 |
|
Преобразователи (датчики) давления измерительные EJ* мод. EJX (серия А) модель 530 |
59868-15 |
|
Преобразователи давления измерительные EJA-E мод. EJA530E |
66959-17 |
|
Преобразователи плотности жидкости измерительные 7835 |
15644-06 52638-13 |
|
Влагомеры нефти поточные УДВН-1пм |
14557-10 14557-15 |
|
Комплексы измерительно-вычислительные «Вектор-02» |
43724-10 |
СИКН обеспечивает выполнение следующих функций:
- автоматизированные измерения массового расхода нефти по каждой измерительной линии и в целом по СИКН;
- автоматизированные измерения температуры, давления, плотности, объёмной доли воды в нефти;
- автоматизированные вычисления суммарной массы нефти за отдельные периоды (2 часа, смена, сутки, с начала партии);
- автоматизированные вычисления массы нетто нефти с учётом показателей качества нефти измеренных или введённых вручную по результатам лабораторного анализа (плотность, влагосодержание, кинематическая вязкость, массовая доля механических примесей, массовая концентрация хлористых солей) за отдельные периоды (2 часа, смена, сутки, с начала партии);
- автоматизированные вычисления средних значений температуры, давления, плотности, массовой доли воды в нефти рассчитанных для отдельных периодов (2 часа, смена, сутки, с начала партии).
- автоматическая обработка результатов поверки и контроля метрологических характеристик средств измерений;
- световая и звуковая сигнализация аварийных состояний СИКН и выхода характеристик нефти за установленные пределы;
- передача измеряемых и расчётных параметров.
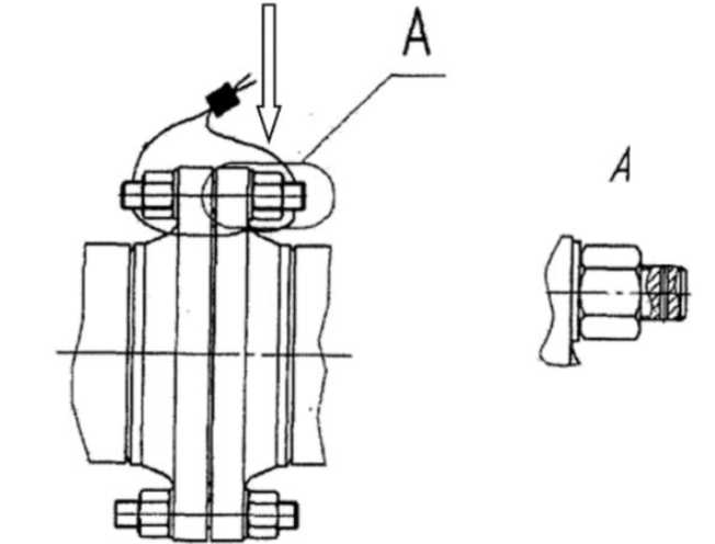
Для защиты от несанкционированных настройки и вмешательства, которые могут повлиять на результаты измерений, на каждый МПР, входящий в состав ИК массового расхода нефти устанавливают две пломбы. Пломбы располагают на диаметрально противоположных фланцах, на контровочных проволоках пропущенных через отверстия в шпильках. На пломбы методом давления наносят знак поверки. Схема установки пломбы приведена на рисунке 1.
Пломбирование средств измерений, находящихся в составе системы измерений количества и показателей качества нефти Западно-Усть-Балыкского месторождения ОАО «Славнефть-Мегионнефтегаз» СИКН № 1502 осуществляется согласно требований их описаний типа или МИ 3002-2006 «Рекомендация. ГСИ. Правила пломбирования и клеймения средств измерений и оборудования, применяемых в составе систем измерений количества и показателей качества нефти и поверочных установок». СИКН присвоен заводской номер 65. Заводской номер виде цифрового обозначения нанесён на стеновую панель при входе в операторную. Нанесение знака поверки на СИКН не предусмотрено.
Общий вид СИКН представлен на рисунке 3.
Рисунок 1 - Схема установки пломбы
Рисунок 2 - Место нанесения заводского номера
Рисунок 3 - Общий вид СИКН
Программное обеспечение
СИКН имеет программное обеспечение (ПО), представленное встроенным прикладным ПО измерительно-вычислительного комплекса «Вектор-02» и ПО автоматизированного рабочего места оператора «АРМ Вектор». Идентификационные данные программного обеспечения приведены в таблице 2.
Уровень защиты программного обеспечения высокий в соответствии с Р 50.2.077-2014.
Таблица 2 - Идентификационные данные программного обеспечения
|
Идентификационные данные (признаки) |
ИВК «Вектор-02» |
«АРМ Вектор» |
|
Идентификационное наименование ПО |
_ |
_ |
|
Номер версии (идентификационный номер) ПО |
6.4.1 |
9.13 |
|
Цифровой идентификатор ПО |
2B217A52 |
AC7F9EE3 |
Технические характеристики
Таблица 3 - Состав и основные метрологические характеристики измерительных каналов
|
Номер ИК |
Наименование ИК |
Количество ИК, место установки |
Состав ИК |
Диапазон измерений, т/ч |
Пределы допускаемой относительной погрешности, % | |
|
Первичные измерительные преобразователи |
Вторичная часть | |||||
|
1 |
ИК массового расхода нефти |
4 БИЛ |
Счетчики-расходомеры массовые Micro Motion модели CMF 300 |
Комплексы измерительновычислительные «Вектор-02» |
от 7 до 240 |
±0,20 |
|
2, 3, 4 |
±0,25 | |||||
Таблица 4 - Метрологические характеристики
|
Наименование характеристики |
Значение |
|
Рабочий диапазон массового расхода нефти, т/ч |
от 7 до 240 |
|
Пределы допускаемой относительной погрешности измерения, %: - массы брутто нефти - массы нетто нефти |
±0,25 ±0,35 |
|
Примечание - При эксплуатации СИКН в диапазоне массового расхода нефти от 7 до 12 т/ч должны выполняться условия, регламентированные методикой измерений. | |
Таблица 5 - Технические характеристики
|
Наименование характеристики |
Значение |
|
1 |
2 |
|
Количество измерительных линий |
4 (3 рабочие, 1 контрольная с функцией резервной) |
|
Рабочая среда |
нефть по ГОСТ Р 51858-2002 |
|
Характеристики измеряемой среды: - температура, °С - давление, МПа - плотность в рабочем диапазоне температур, кг/м3 - массовая доля воды в нефти, %, не более - массовая доля механических примесей, %, не более - массовая концентрация хлористых солей, мг/дм3, не более - содержание свободного газа |
от +5 до +40 от 0,3 до 5,1 от 800 до 950 0,5 0,05 100 не допускается |
|
Условия эксплуатации: Температура окружающего воздуха, °С: - в БИЛ, БИК, и операторной |
от +5 до +40 |
|
Параметры электрического питания: - напряжение питания переменного тока, В 3-х фазное Однофазное - частота переменного тока, Гц |
380±38 220±22 50±0,4 |
Знак утверждения типа
наносится на титульный лист эксплуатационной документации методом штемпелевания.
Комплектность
Таблица 6 - Комплектность средства измерений
|
Наименование |
Обозначение |
Количество, экз. |
|
Система измерений количества и показателей качества нефти Западно-Усть-Балыкского месторождения ОАО «Славнефть - Мегионнефтегаз» СИКН № 1502 |
_ |
1 |
|
Инструкция по эксплуатации |
_ |
1 |
Сведения о методах измерений
приведены в документе «Инструкция. Масса нефти. Методика измерений с применением системы измерений количества и показателей качества нефти (СИКН) № 1502 Западно-Усть-Балыкского месторождения ОАО «Славнефть-Мегионнефтегаз»,
регистрационный номер в Федеральном информационном фонде по обеспечению единства измерений ФР.1.29.2023.46833.
Нормативные документы
Постановление Правительства РФ от 16 ноября 2020 г. № 1847 «Об утверждении перечня измерений, относящихся к сфере государственного регулирования обеспечения единства измерений» (Пункт 6.1.1)
Приказ Росстандарта от 26 сентября 2022 г. № 2356 «Об утверждении Государственной поверочной схемы для средств измерений массы и объёма жидкости в потоке, объёма жидкости и вместимости при статических измерениях, массового и объёмного расходов жидкости»
Смотрите также

