Системы термометрии комплексные автоматизированные КАСТ-01
| Номер в ГРСИ РФ: | 69197-17 |
|---|---|
| Категория: | Термометры |
| Производитель / заявитель: | ООО "Комплектэлектро Плюс", г.Москва |
Системы термометрии комплексные автоматизированные КАСТ-01 (далее по тексту -системы или системы КАСТ-01) предназначены для непрерывных или циклических многозонных измерений температуры зерна и продуктов его переработки при хранении в складах силосного и напольного типа, и подачи аварийно-предупредительной сигнализации в случае превышения установленного предельного значения температуры.
Информация по Госреестру
| Основные данные | |
|---|---|
| Номер по Госреестру | 69197-17 |
| Действует | по 16.11.2027 |
| Наименование | Системы термометрии комплексные автоматизированные |
| Модель | КАСТ-01 |
| Код идентификации производства |
ОС
СИ не соответствует критериям подтверждения производства на территории
РФ в соответствии с постановлением №719
|
| Характер производства | Серийное |
| Идентификатор записи ФИФ ОЕИ | 1d233792-b7be-aa16-fbd3-9e835bb0e1d0 |
Производитель / Заявитель
Общество с ограниченной ответственностью "Комплектэлектро Плюс" (ООО "Комплектэлектро Плюс"), г. Москва
Поверка
| Межповерочный интервал / Периодичность поверки |
4 года
|
| Зарегистрировано поверок | |
| Найдено поверителей | |
| Успешных поверок (СИ пригодно) | 494 (100%) |
| Неуспешных поверок (СИ непригодно) | 0 (0 %) |
| Актуальность информации | 19.04.2026 |
Поверители
Скачать
|
69197-17: Описание типа
2023-69197-17.pdf
|
Скачать | 720.9 КБ | |
|
69197-17: Методика поверки
2023-mp69197-17.pdf
|
Скачать | 4.8 MБ |
Описание типа
Назначение
Системы термометрии комплексные автоматизированные КАСТ-01 (далее по тексту -системы или системы КАСТ-01) предназначены для непрерывных или циклических многозонных измерений температуры зерна и продуктов его переработки при хранении в складах силосного и напольного типа, и подачи аварийно-предупредительной сигнализации в случае превышения установленного предельного значения температуры.
Описание
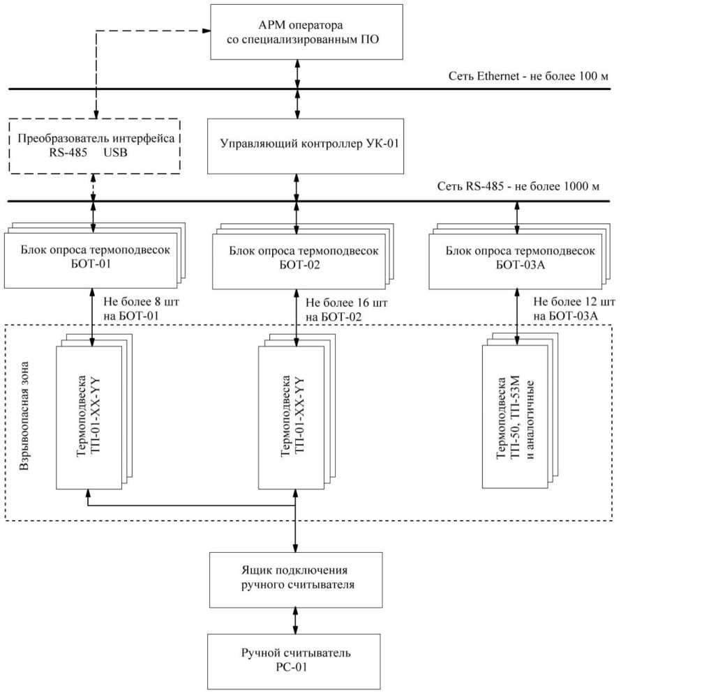
Принцип действия системы основан на преобразовании кодовых сигналов от цифровых датчиков температуры DS18B20, установленных в термоподвесках типов ТП 01-XX-YY в сигналы интерфейса RS485, или преобразовании выходных сигналов от термопреобразователей сопротивления, установленных в аналоговых термоподвесках различных типов, в сигналы интерфейса RS485. По интерфейсу RS485 данные от термоподвесок поступают через блоки опроса термоподвесок БОТ-01, БОТ-02 и БОТ-03А в управляющий контроллер УК-01, который осуществляет отображение информации по температуре и относительной влажности, отслеживание достижения температурой заданных уставок и передачу данных в другие системы управления по интерфейсу RS485. К контроллеру УК-01 может подключаться до 512 термоподвесок типов ТП-01-XX-YY.
Системы относятся к проектно-компонуемым системам. На рисунке 1 представлена структура системы КАСТ-01.
Рисунок 1 - Структурная схема системы КАСТ-01
В состав системы входят:
- термоподвески типов ТП-01-XX-YY, предназначенные для непрерывного многозонного измерения температуры зерна и продуктов его переработки при хранении в технологических емкостях;
- блоки опроса термоподвесок БОТ-01 и БОТ-02 (состоит из двух блоков БОТ-01), предназначенные для непрерывного опроса термоподвесок ТП-01-XX-YY в автоматическом режиме и передачи информации на управляющий контроллер УК-01 или рабочую станцию;
- блок опроса термоподвесок БОТ-03А, предназначенный для непрерывного опроса аналоговых термоподвесок, изготовленных на основе медных термопреобразователей сопротивления с НСХ типов «50М» и «53М», и передачи информации на рабочую станцию или на управляющий контроллер УК-01;
- управляющий контроллер УК-01, предназначенный для настройки системы, непрерывного опроса блоков БОТ-01, БОТ-02, БОТ-03А, считывания с них данных о температуре, индикации значений температуры, формирования сигналов тревоги при выходе контролируемых параметров за пределы установленных диапазонов, а также для связи с рабочей станцией;
- ручной считыватель РС-01, предназначенный для просмотра информации с датчиков температуры термоподвесок и термошпаг;
- ящик подключения ручного считывателя ЯП-01-ХХ, предназначенный для подключения ручного считывателя РС-01 к термоподвескам и термошпагам.
На рисунках 2-7 представлены фотографии компонентов системы КАСТ-01.
Рисунок 2 - Общий вид контроллера УК-01
Рисунок 3 - Общий вид блока опроса термоподвесок БОТ-01
Рисунок 4 - Общий вид термоподвески типа ТП-01-XX-YY
Рисунок 5 - Общий вид ручного считывателя РС-01
Рисунок 6 - Общий вид ящика подключения ручного считывателя ЯП-01-ХХ
Рисунок 7 - Общий вид блока опроса термоподвесок БОТ-03А
Заводской номер системы наносится на корпус блока опроса термоподвесок при помощи информационной таблички или наклейки. Конструкция систем не предусматривает нанесение знака поверки на средство измерений. Пломбирование систем не предусмотрено.
Программное обеспечение
Программное обеспечение систем КАСТ-01 (далее ПО КАСТ-01) предназначено для обеспечения работы всех его компонентов, входящих в состав системы: термоподвесок, блоков опроса термоподвесок БОТ-01, БОТ-02 и БОТ-03А, управляющего контроллера УК-01 и ручного считывателя РС-01.
ПО КАСТ-01 является комплексом программ и включает в себя несколько программных компонентов:
- ПО БОТ-01 - программа для блока опроса термоподвесок БОТ-01, предназначена для циклического опроса данных с датчика температуры, подключенных к блоку БОТ-01 посредством интерфейса 1-Wire и предоставления этих данных через интерфейс RS485 по протоколу Modbus RTU.
- ПО БОТ-02 - программа для составных блоков опроса термоподвесок БОТ-01, предназначенная для циклического опроса данных с датчика температуры, подключенных к блоку БОТ-01 посредством интерфейса 1-Wire и предоставления этих данных через интерфейс RS485 по протоколу Modbus RTU
- ПО БОТ-03А программа для блока опроса термоподвесок БОТ-03А, предназначена для циклического опроса данных с термопреобразователей сопротивления, подключенных к блоку БОТ-03А и предоставления этих данных через интерфейс RS485 по протоколу Modbus RTU.
- ПО РС-01 - программа для ручного считывателя РС-01предназначена для опроса данных с датчиков температуры, подключенных к блоку РС-01 посредством интерфейса 1-Wire и сохранения этих данных для последующего просмотра.
- ПО УК-01 - программа для управляющего контроллера УК-01, предназначена для настройки системы, циклического считывания дынных о температуре с блоков БОТ-01, БОТ-02 и БОТ-03А посредством интерфейса RS485 по протоколу Modbus RTU, отображения полученных значений и предоставления этих данных через интерфейс Ethernet.
ПО КАСТ-01 является встроенным программным обеспечением для микроконтроллеров приборов БОТ-01, БОТ-02, БОТ-03А, РС-01 и УК-01, куда оно записывается на этапе производства этих приборов. Метрологические характеристики системы КАСТ-01 оценены с учетом влияния на них ПО КАСТ-01. Уровень защиты внутреннего ПО от преднамеренного и непреднамеренного доступа соответствует уровню «высокий» согласно рекомендации по метрологии Р 50.2.077-2014 -не требуется специальных средств защиты, исключающих возможность несанкционированной модификации, обновления (загрузки), удаления и иных преднамеренных изменений метрологически значимой встроенной части ПО СИ и измеренных данных.
|
Таблица 1 - Идентификационные данные |
ПО БОТ-01 |
|
Идентификационные данные |
Значение |
|
Идентификационное наименование ПО |
BOT01_140 |
|
Номер версии ПО |
не ниже 140 |
|
Цифровой идентификатор ПО |
отсутствует |
|
Таблица 2 - Идентификационные данные ' |
ПО БОТ-02 |
|
Идентификационные данные |
Значение |
|
Идентификационное наименование ПО |
BOT01_140 |
|
Номер версии ПО |
не ниже 140 |
|
Цифровой идентификатор ПО |
отсутствует |
Таблица 3 - Идентификационные данные ПО БОТ-03А
|
Идентификационные данные |
Значение |
|
Идентификационное наименование ПО |
BOT01_140 |
|
Номер версии ПО |
не ниже 140 |
|
Цифровой идентификатор ПО |
отсутствует |
|
Таблица 4 - Идентификационные данные ' |
ПО РС-01 |
|
Идентификационные данные |
Значение |
|
Идентификационное наименование ПО |
РС01_21 |
|
Номер версии ПО |
не ниже 2.1 |
|
Цифровой идентификатор ПО |
отсутствует |
Таблица 5 - Идентификационные данные ПО УК-01
|
Идентификационные данные |
Значение |
|
Идентификационное наименование ПО |
UK1 |
|
Номер версии ПО |
не ниже 1.2 |
|
Цифровой идентификатор ПО |
2E2D3085734D1896342900B0869FFD81 |
ПО КАСТ-01 обеспечивает сбор данных о температуре с микросхем DS18B20, установленных в измерительных шлейфах термоподвесок ТП-01-XX-YY и передачу их контроллеру УК-01, осуществляющему отображение данных на индикаторе, формирующему аварийно-предупредительный сигнал в случае регистрации температуры, превышающей установленные предельные значения, ретрансляцию этих данных на другие устройства.
Взаимосвязь управляющего контроллера УК-01 и персонального компьютера обеспечивается двумя приложениями - OPC сервером LS OPC Server и клиентской программой КАСТ-01.
Программа LS OPC Server позволяет считывать заданный объем данных из управляющего контроллера УК-01 (в зависимости от конфигурации системы КАСТ-01) и предоставлять возможность стороннему программному обеспечению получить доступ к этим данным посредство протокола OPC Data Access. Клиентская программа КАСТ-01 позволяет считывать заданный объем данных из системы OPC сервера (LS OPC Server), отображать полученную информацию в удобном для просмотра виде и вести базу полученных данных. Данные программные приложения не являются метрологически значимыми и не влияют на метрологические характеристики системы КАСТ-01.
Технические характеристики
Основные метрологические и технические характеристики системы КАСТ-01 приведены в таблице 6.
Таблица 6
|
Наименование характеристики |
Значение |
|
Диапазон измерений температуры, °C |
от -40 до +70 |
|
Разрешающая способность, °C |
0,1 |
|
Пределы допускаемой абсолютной погрешности измерений, °C: - в диапазоне от -40 до 0 °C включ. - в диапазоне св. 0 до +50 °C включ. - в диапазоне св. +50 до +70 °C |
±2,0 ±1,0 ±2,0 |
|
Пределы допускаемой абсолютной погрешности при измерении сигналов от термопреобразователей сопротивления с типами НСХ «50М» (а=0,00426 °С-1) и «53М» (гр.23), °C |
±1,0 1)1 |
|
Параметры электрического питания: - напряжение переменного тока, В - частота переменного тока, Гц - потребляемая мощность, Вт, не более |
от 187 до 242 от 49 до 51 2000 |
|
Средняя наработка на отказ, ч, не менее |
67000 |
|
Средний срок службы, лет, не менее |
10 |
|
Примечание: 1) - без учета погрешности подключаемых аналоговых термоподвесок | |
Основные технические характеристики термоподвесок ТП-01-XX-YY приведены в таблице 7.
Таблица 7
|
Наименование характеристики |
Значение |
|
Параметры электрического питания: - напряжение постоянного тока, В - потребляемая мощность, Вт, не более |
от 4,5 до 5,5 1 |
|
Длина термоподвески, м |
от 0,9 до 50,1 |
|
Количество датчиков температуры, шт. |
от 1 до 50 |
|
Степень защиты, обеспечиваемой оболочкой по ГОСТ 14254-2015 |
IP65 |
|
Габаритные размеры, мм |
95*75хН, где H=90+1000xL, L -длина термоподвески, указанная при заказе |
|
Масса, кг, не более |
20 |
|
Маркировка взрывозащиты |
Ex ta IIIC T130 °C Da |
|
Рабочие условия эксплуатации: - температура окружающего воздуха, °C - относительная влажность воздуха, % - атмосферное давление, кПа |
от -40 до +70 от 5 до 98 от 84 до 106,7 |
|
Срок службы, лет, не менее |
10 |
Основные технические характеристики блока опроса термоподвесок БОТ-01 приведены в таблице 8.
Таблица 8
|
Наименование характеристики |
Значение |
|
Параметры электрического питания: - напряжение переменного тока, В - частота переменного тока, Гц - потребляемая мощность, Вт, не более |
от 187 до 242 от 49 до 51 15 |
|
Выходное напряжение постоянного тока для питания термоподвесок ТП-01-XX-YY, В |
от 4,5 до 5,5 |
|
Количество подключаемых термоподвесок ТП-01-ХХ, шт. |
8 |
|
Степень защиты, обеспечиваемой оболочкой по ГОСТ 14254-2015 |
IP54 |
|
Габаритные размеры, мм |
205x185x82 |
|
Масса, кг, не более |
2,5 |
|
Рабочие условия эксплуатации: - температура окружающего воздуха, °C - относительная влажность воздуха, % - атмосферное давление, кПа |
от -40 до +50 от 5 до 98 от 84 до 106,7 |
|
Срок службы, лет, не менее |
10 |
Основные технические характеристики блока опроса термоподвесок БОТ-02 приведены в таблице 9.
Таблица 9
|
Наименование характеристики |
Значение |
|
Параметры электрического питания: - напряжение переменного тока, В - частота переменного тока, Гц - потребляемая мощность, Вт, не более |
от 187 до 242 от 49 до 51 30 |
|
Выходное напряжение постоянного тока для питания термоподвесок ТП-01-XX-YY, В |
от 4,5 до 5,5 |
|
Количество подключаемых термоподвесок ТП-01-XX-YY, шт. |
16 |
|
Габаритные размеры, мм |
229x312x132 |
|
Масса, кг, не более |
3,5 |
|
Рабочие условия эксплуатации: - температура окружающего воздуха, °C - относительная влажность воздуха, % - атмосферное давление, кПа |
от -40 до +50 от 5 до 98 от 84 до 106,7 |
|
Степень защиты, обеспечиваемой оболочкой по ГОСТ 14254-2015 |
IP54 |
|
Срок службы, лет, не менее |
10 |
Основные технические характеристики блока опроса термоподвесок БОТ-03А приведены в таблице 10.
Таблица 10
|
Наименование характеристики |
Значение |
|
Параметры электрического питания: - напряжение переменного тока, В - частота переменного тока, Гц - потребляемая мощность, Вт, не более |
от 187 до 242 от 49 до 51 15 |
|
Количество подключаемых термоподвесок, шт. |
12 |
|
Габаритные размеры, мм |
281x256x102 |
|
Масса, кг, не более |
2,5 |
|
Рабочие условия эксплуатации: - температура окружающего воздуха, °C - относительная влажность воздуха, % - атмосферное давление, кПа |
от -40 до +50 от 5 до 98 от 84 до 106,7 |
|
Срок службы, лет, не менее |
10 |
Основные технические характеристики управляющего контроллера УК-01 приведены в таблице 11.
Таблица 11
|
Наименование характеристики |
Значение |
|
Параметры электрического питания: - напряжение переменного тока, В - частота переменного тока, Гц - потребляемая мощность, Вт, не более |
от 187 до 242 от 49 до 51 250 |
|
Разрядность индикации температуры |
3 |
|
Дискретность индикации температуры, °С |
0,1 |
|
Разрядность индикации влажности |
2 |
|
Дискретность индикации относительной влажности, % |
1 |
|
Интерфейс связи с рабочей станцией |
Ethernet |
|
Суммарное количество подключаемых термоподвесок ТП-01-XX-YY, не более |
512 |
|
Рабочие условия эксплуатации: - температура окружающего воздуха, °C - относительная влажность воздуха, % |
от +5 до +40 от 5 до 98 |
Основные технические характеристики ручного считывателя РС-01 приведены в таблице
12.
Таблица 12
|
Наименование характеристики |
Значение |
|
Параметры электрического питания: - напряжение постоянного тока, В - потребляемая мощность, Вт, не более |
9 5 |
|
Суммарное количество подключаемых термоподвесок ТП-01-XX-YY, шт. |
1 |
|
Интерфейс связи c PC |
USB |
|
Объем памяти (кол-во термоподвесок ТП-01-50-50), шт. |
100 |
|
Степень защиты, обеспечиваемой оболочкой по ГОСТ 14254-2015 |
IP40 |
|
Масса, кг, не более |
0,3 |
|
Габаритные размеры, мм |
150x80x38 |
|
Рабочие условия эксплуатации: - температура окружающего воздуха, °C - относительная влажность воздуха, % - атмосферное давление, кПа |
от +5 до +40 от 5 до 98 от 84 до 106,7 |
|
Срок службы, лет, не менее |
10 |
Основные технические характеристики ящика подключения ручного считывателя ЯП-01-ХХ приведены в таблице 13.
Таблица 13
|
Наименование характеристики |
Значение |
|
Количество подключаемых термоподвесок, |
от 1 до 16 |
|
Степень защиты, обеспечиваемой оболочкой по ГОСТ 14254-2015 |
IP54 |
|
Масса, кг, не более |
1,5 |
|
Габаритные размеры, мм |
205x180x82 |
|
Рабочие условия эксплуатации: - температура окружающего воздуха, °C - относительная влажность воздуха, % - атмосферное давление, кПа |
от -40 до +50 от 5 до 98 от 84 до 106,7 |
|
Срок службы, лет, не менее |
10 |
Знак утверждения типа
наносится на титульный лист паспорта и руководства по эксплуатации типографским способом.
Комплектность
Таблица 14
|
Наименование |
Обозначение |
Количество |
|
Термоподвеска ТП-01 |
ТП-01-XX-YY |
не более 5121) шт. |
|
Блок подвесок |
БОТ-01 |
не более 641) шт. |
|
Блок подвесок |
БОТ-02 |
не более 321) шт. |
|
Блок опроса термоподвесок |
БОТ-03А |
1) |
|
Управляющий контроллер |
УК-01 |
1шт. |
|
Ручной считыватель |
РС-01 |
1 шт. |
|
Ящик подключения ручного считывателя |
ЯП-01 |
1) |
|
Руководство по эксплуатации |
26.51.43-004-02836694РЭ |
1 экз. |
|
Руководство по эксплуатации |
26.51.43-007-02836694РЭ |
1 экз. 2) |
|
Паспорт |
26.51.43-004-02836694ПС |
1 экз. |
|
Примечания 1) - количество указывается при заказе 2) - при наличии в заказе блоков опроса термоподвесок БОТ-03А | ||
Сведения о методах измерений
приведены в разделе «Порядок работы» Руководства по эксплуатации.
Нормативные документы
ГОСТ Р 52931-2008 Приборы контроля и регулирования технологических процессов. Общие технические условия;
Приказ Федерального агентства по техническому регулированию и метрологии от 23 декабря 2022 г. № 3253 «Об утверждении Государственной поверочной схемы для средств измерений температуры»;
Приказ Федерального агентства по техническому регулированию и метрологии от 30 декабря 2019 г. № 3456 «Об утверждении государственной поверочной схемы для средств измерений электрического сопротивления постоянного и переменного тока»;
ТУ 26.51.43-004-02836694-2017 Системы термометрии комплексные автоматизированные КАСТ-01. Технические условия.
Другие Термометры





