Преобразователи интеллектуальные ПИ РМ
| Номер в ГРСИ РФ: | 70187-18 |
|---|---|
| Производитель / заявитель: | ОАО "НПП "Эталон", г.Омск |
Преобразователи интеллектуальные ПИ РМ (далее по тексту - преобразователи) предназначены для измерений:
Информация по Госреестру
| Основные данные | |
|---|---|
| Номер по Госреестру | 70187-18 |
| Действует | по 24.01.2028 |
| Наименование | Преобразователи интеллектуальные |
| Модель | ПИ РМ |
| Характер производства | Серийное |
| Идентификатор записи ФИФ ОЕИ | 7d1a1cd1-6b13-7347-7d4b-30aa03934f01 |
Производитель / Заявитель
Акционерное общество "Научно-производственное предприятие "Эталон" (АО "НПП "Эталон"), г. Омск
РОССИЯ
Поверка
| Межповерочный интервал / Периодичность поверки |
2 года
|
| Зарегистрировано поверок | |
| Найдено поверителей | |
| Успешных поверок (СИ пригодно) | 11 (100%) |
| Неуспешных поверок (СИ непригодно) | 0 (0 %) |
| Актуальность информации | 29.03.2026 |
Поверители
Скачать
|
70187-18: Описание типа
2022-70187-18.pdf
|
Скачать | 306.4 КБ | |
|
70187-18: Методика поверки
2018-mp70187-18.pdf
|
Скачать | 188.5 КБ |
Описание типа
Назначение
Преобразователи интеллектуальные ПИ РМ (далее по тексту - преобразователи) предназначены для измерений:
- температуры с помощью подключенных преобразователей термоэлектрических и термопреобразователей сопротивления;
- унифицированных выходных сигналов напряжения и тока от подключенных измерительных преобразователей.
Описание
Принцип действия преобразователей основан на аналого-цифровом преобразовании сигналов первичных преобразователей температуры или других физических величин с последующей передачей измерительной информации по радиоканалу на персональный компьютер (далее по тексту - ПК).
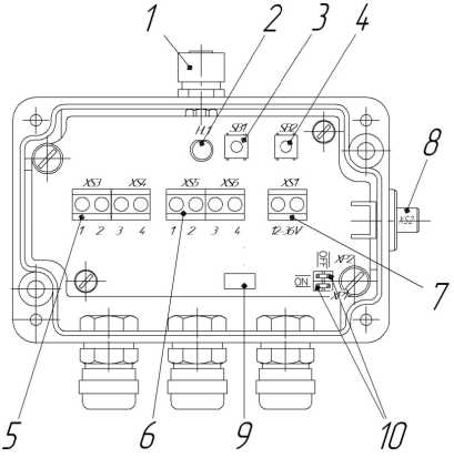
Конструкция преобразователей приведена на рисунке 1.
1 - Зажим защитного заземления; 2 - Светодиодный индикатор; 3 - Кнопка сброса настройки на радиоканал по умолчанию; 4 - Кнопка для перезагрузки преобразователя; 5, 6 - Разъемы для подключения преобразователей первого и второго каналов; 7 - Разъем для подключения питания преобразователя; 8 - Разъем для подключения антенны; 9 - Этикетка с серийным (заводским) номером изделия; 10 - Разъемы для соединения корпуса с общим проводом преобразователя
Р и с у н о к 1 - Конструкция преобразователей
Преобразователи выпускаются в двух модификациях: преобразователи интеллектуальные ПИ РМ-ТС/ТП и преобразователи интеллектуальные ПИ РМ-Т/Н, которые отличаются типами входных сигналов.
Преобразователи являются стационарными, однофункциональными, ремонтируемыми в условиях предприятия-изготовителя изделиями.
Общий вид преобразователей представлен на рисунке 2.
Пломбирование преобразователей не предусмотрено.
Рисунок 2 - Внешний вид преобразователей
Заводской номер в виде цифрового обозначения, обеспечивающий идентификацию каждого экземпляра средств измерений, наносится на этикетку, расположенную на плате преобразователей, методом лазерной печати и на корпус преобразователей методом лазерной гравировки.
Программное обеспечение
Программное обеспечение «МИРС» (далее по тексту - ПО) осуществляет сбор, графическое отображение и архивирование измерительной информации. ПО через подключенный к ПК переходник «USB/РМ» осуществляет периодический опрос добавленных в сеть преобразователей в соответствии с их серийными номерами. При этом преобразователь и переходник «USB/РМ» должны быть настроены на один и тот же радиочастотный канал (по умолчанию канал № 16). На одном канале возможна работа до 50 преобразователей различных исполнений.
При необходимости на одном или нескольких ПК, могут одновременно работать до 8 копий ПО на разных частотных каналах (с №16 до №23). При этом каждая копия ПО должна работать с собственным переходником «USB/РМ».
Внутреннее программное обеспечение (далее по тексту - ВПО) записано в микроконтроллере преобразователей и предназначено для управления работой преобразователей, сбора, обработки и передачи измерительной информации.
Преобразователь поддерживает возможность обновления ВПО по радиоканалу.
Идентификационные данные ВПО приведены в таблице 1.
Уровень защиты ПО «низкий» в соответствии с Р 50.2.077-2014.
Таблица 1- Идентификационные данные программного обеспечения
|
Идентификационные данные (признаки) |
Значение | ||
|
Идентификационное наименование ПО |
ПО «МИРС» |
ВПО | |
|
ПИ РМ-ТС/ТП |
ПИ РМ-Т/Н | ||
|
Номер версии (идентификационный номер) ПО |
не ниже 1.0.0.7 |
не ниже 17.5 |
не ниже 17.5 |
|
Цифровой идентификатор ПО |
05EA67EA 9C8FBB0A C717F280 ACF109EE |
0xEB02 |
0x3A8C |
|
Алгоритм вычисления контрольной суммы |
MD5 |
CRC16 |
CRC16 |
Нормирование метрологических характеристик преобразователей проведено с учетом того, что ВПО является неотъемлемой частью преобразователей.
Технические характеристики
Т а б л и ц а 2 - Тип входного сигнала, диапазон измерений, пределы допускаемой основной
приведенной погрешности измерений преобразователей
|
Модификация преобразователя |
Тип входного сигнала (НСХ, унифицированный сигнал) |
Диапазон измерений |
Пределы допускаемой основной приведенной (к диапазону измерений) погрешности измерений, % |
|
ПИ РМ-ТС/ТП |
ПП(8) |
от 0 до +1750 °С |
± 0,5 |
|
ПИ РМ-ТС/ТП |
пр(в) |
от +600 до +1700 °С |
± 0,5 |
|
ПИ РМ-ТС/ТП |
ЖК(1) |
от -100 до +1200 °С |
± 0,2 |
|
ПИ РМ-ТС/ТП |
ХА(К) |
от -100 до +1300 °С |
± 0,2 |
|
ПИ РМ-ТС/ТП |
xk(l) |
от -100 до +600°С |
± 0,2 |
|
ПИ РМ-ТС/ТП |
50П |
от -100 до +750°С |
± 0,2 |
|
ПИ РМ-ТС/ТП |
100П |
от -100 до +750°С |
± 0,2 |
|
ПИ РМ-ТС/ТП |
Pt50 |
от -100 до +750°С |
± 0,2 |
|
ПИ РМ-ТС/ТП |
Pt100 |
от -100 до +750°С |
± 0,2 |
|
ПИ РМ-ТС/ТП |
50М |
от -100 до +200°С |
± 0,2 |
|
ПИ РМ-ТС/ТП |
100М |
от -100 до +200°С |
± 0,2 |
|
ПИ РМ-Т/Н |
ток (4-20) мА |
от -99999 до 99999 ед.* |
± 0,2 |
|
ПИ РМ-Т/Н |
напряжение (0-5) В |
от -99999 до 99999 ед.* |
± 0,2 |
|
ПИ РМ-Т/Н |
напряжение (0-10) В |
от -99999 до 99999 ед.* |
± 0,2 |
|
* Под «ед» понимается единица физической величины, измеряемая первичным преобразователем с унифицированным выходным сигналом. | |||
Таблица 3 - Метрологические характеристики
|
Наименование характеристики |
Значение |
|
Пределы допускаемой дополнительной погрешности, вызванной изменением температуры окружающей среды в диапазоне рабочих температур, на каждые 10 °С, в долях от пределов допускаемой основной погрешности измерений |
0,5 |
|
Нормальные условия измерений: - температура окружающего воздуха, °С - относительная влажность, % - атмосферное давление, кПа - напряжение питания, В |
от +15 до +25 от 30 до 80 от 84,0 до 106,7 (24,00 ± 0,48) |
Таблица 4 - Основные технические характеристики
|
Наименование характеристики |
Значение для модификации | |
|
ПИ РМ-ТС/ТП |
ПИ РМ-Т/Н | |
|
Количество измерительных каналов |
2 | |
|
Схема подключения термопреобразователей сопротивления |
4-х проводная |
_ |
|
Входное сопротивление измерительных каналов, кОм, не менее |
_ |
100 |
|
Количество частотных каналов |
8 | |
|
Полоса радиочастот, МГ ц |
от 433,2 до 434,6 | |
|
Напряжение питания постоянного тока, В |
от 12 до 36 | |
|
Ток потребления, мА, не более |
100 | |
|
Потребляемая мощность, Вт, не более |
2 | |
|
Время установления рабочего режима, мин, не более |
10 | |
|
Габаритные размеры, мм, не более: - высота - ширина - длина |
34 94 108 | |
|
Масса, кг, не более |
0,5 | |
|
Условия эксплуатации: - температура окружающего воздуха, °С - относительная влажность при температуре +30 °С, % - атмосферное давление, кПа |
от -40 до +70 до 100 от 84,0 до 106,7 | |
|
Средний срок службы, лет |
10 | |
|
Средняя наработка на отказ, ч |
100000 | |
|
Степень защиты, обеспечиваемая оболочкой |
IP54 по ГОСТ 14254-2015 | |
Знак утверждения типа
наносится на корпус преобразователей методом лазерной гравировки и на титульные листы паспорта и руководства по эксплуатации типографским способом.
Комплектность
Таблица 5- Комплектность средства измерений
|
Наименование |
Обозначение |
Количество |
|
Преобразователь интеллектуальный ПИ РМ |
_ |
1 шт. |
|
Антенна ВУ-433-01 |
МКСН.464659.001 |
1 шт. |
|
Программное обеспечение «МИРС» |
МКСН.64302566540.00027-01 |
1 комплект |
|
Кронштейн ALMF-001BK с винтом (Gainta) |
_ |
2 шт. |
|
Переходник USB/PM |
МКСН.467141.003 |
1 шт.* |
|
Паспорт |
МКСН.405544.028 ПС |
1 экз. |
|
Руководство по эксплуатации |
МКСН.405544.028 РЭ |
1 экз. |
|
Методика поверки |
ОЦСМ 026196-2017 МП |
1 экз.* |
|
* Поставляется по заявке потребителя. | ||
Сведения о методах измерений
приведены в разделе 1.6 «Устройство и принцип работы» документа МКСН.405544.028 РЭ «Преобразователь интеллектуальный ПИ РМ. Руководство по эксплуатации».
Нормативные документы
ГОСТ Р 52931-2008 «Приборы контроля и регулирования технологических процессов.
Общие технические условия»;
МКСН.405544.028 ТУ «Преобразователи интеллектуальные ПИ РМ. Технические условия».
