72699-18: Система измерительная автоматизированной системы управления технологическим процессом контроля и управления нагнетателями коксового газа № 2, № 3, № 4 Коксохимического производства АО "ЕВРАЗ ЗСМК" - Производители, поставщики и поверители

Система измерительная автоматизированной системы управления технологическим процессом контроля и управления нагнетателями коксового газа № 2, № 3, № 4 Коксохимического производства АО "ЕВРАЗ ЗСМК"

ALL-Pribors default picture
Номер в ГРСИ РФ: 72699-18
Производитель / заявитель: АО "Сибирский Тяжпромэлектропроект", г.Новокузнецк
Скачать
72699-18: Описание типа
2023-72699-18.pdf
Скачать 125.6 КБ
72699-18: Методика поверки
2022-mp72699-18.pdf
Скачать 437.2 КБ
Нет данных о поставщике
Поверка
Система измерительная автоматизированной системы управления технологическим процессом контроля и управления нагнетателями коксового газа № 2, № 3, № 4 Коксохимического производства АО "ЕВРАЗ ЗСМК" поверка на: www.ktopoverit.ru
КтоПоверит
Онлайн-сервис метрологических услуг

Система измерительная автоматизированной системы управления технологическим процессом контроля и управления нагнетателями коксового газа № 2, № 3, № 4 Коксохимического производства АО «ЕВРАЗ ЗСМК» (ИС) предназначена для измерений температуры (газа, воды, масла, подшипников, вкладыша подшипника, колодки, шестерни редуктора, корпуса), давления газа, разрежения газа и процентной концентрации кислорода; для автоматического непрерывного контроля технологических параметров, их визуализации, регистрации и хранения, диагностики состояния оборудования ИС, формирования сигналов предупредительной и аварийной сигнализации.

Информация по Госреестру

Основные данные
Номер по Госреестру 72699-18
Наименование Система измерительная автоматизированной системы управления технологическим процессом контроля и управления нагнетателями коксового газа № 2, № 3, № 4 Коксохимического производства АО "ЕВРАЗ ЗСМК"
Характер производства Единичное
Идентификатор записи ФИФ ОЕИ 56289491-629e-ad95-bd37-2db1bc5f84d4
Испытания
Дата Модель Заводской номер
Н481
Производитель / Заявитель

АО "Сибирский Тяжпромэлектропроект", г. Новокузнецк

РОССИЯ

Поверка

Межповерочный интервал / Периодичность поверки
1 год
Зарегистрировано поверок
Найдено поверителей
Успешных поверок (СИ пригодно) 8 (100%)
Неуспешных поверок (СИ непригодно) 0 (0 %)
Актуальность информации 29.03.2026
Найти результаты поверки
Указан в паспорте или на самом приборе

Поверители

КтоПоверит
Онлайн-сервис метрологических услуг
Система измерительная автоматизированной системы управления технологическим процессом контроля и управления нагнетателями коксового газа № 2, № 3, № 4 Коксохимического производства АО "ЕВРАЗ ЗСМК" поверка на: www.ktopoverit.ru
КтоПоверит
Онлайн-сервис метрологических услуг

Скачать

72699-18: Описание типа
2023-72699-18.pdf
Скачать 125.6 КБ
72699-18: Методика поверки
2022-mp72699-18.pdf
Скачать 437.2 КБ

Описание типа

Назначение

Система измерительная автоматизированной системы управления технологическим процессом контроля и управления нагнетателями коксового газа № 2, № 3, № 4 Коксохимического производства АО «ЕВРАЗ ЗСМК» (ИС) предназначена для измерений температуры (газа, воды, масла, подшипников, вкладыша подшипника, колодки, шестерни редуктора, корпуса), давления газа, разрежения газа и процентной концентрации кислорода; для автоматического непрерывного контроля технологических параметров, их визуализации, регистрации и хранения, диагностики состояния оборудования ИС, формирования сигналов предупредительной и аварийной сигнализации.

Описание

ИС является средством измерений единичного производства. Принцип действия ИС состоит в том, что первичные измерительные преобразователи непрерывно выполняют измерение физических величин и их преобразование в унифицированные электрические сигналы, поступающие на модули аналогового ввода программируемых контроллеров. Контроллеры циклически опрашивают поступившие сигналы и выполняют их аналогоцифровое преобразование, осуществляют преобразование цифровых кодов в значения технологических параметров. С контроллера, по цифровому каналу, информация поступает на сервера станций визуализации, предназначенных для отображения параметров технологических процессов в физических величинах и ведения архива данных. В ИС предусмотрено дублирование серверов, что обеспечивает возможность предоставления информации и долговременное хранение при отказе одного из них.

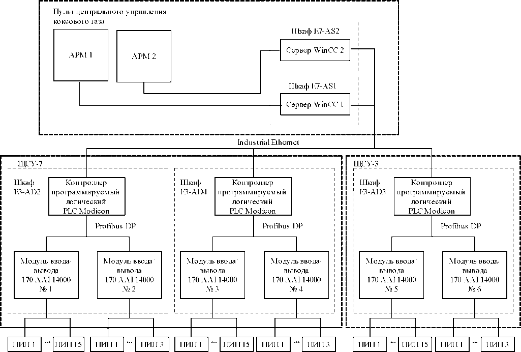
Конструктивно ИС представляет собой трехуровневую систему, построенную по иерархическому принципу.

Измерительные каналы (ИК) ИС состоят из следующих компонентов (по ГОСТ Р 8.5962002):

1) измерительные компоненты - первичные измерительные преобразователи, имеющие нормированные метрологические характеристики (нижний уровень ИС);

2) комплексные компоненты - контроллеры программируемые логические (PLC) PLC Modicon (средний уровень ИС);

3) вычислительные компоненты - автоматизированные рабочие места (АРМ), предназначенные для отображения параметров технологических процессов, состояния оборудования ИС, выдачи аварийной сигнализации, ввода технологических параметров (верхний ИС);

4) связующие компоненты - технические устройства и средства связи, используемые для приема и передачи сигналов, несущих информацию об измеряемой величине от одного компонента ИС к другому;

5) вспомогательные компоненты - приборы световой и звуковой сигнализации, используемые для отображения состояния отдельных рабочих процессов и работы оборудования, а также для сигнализации неисправностей.

Измерительные каналы ИС имеют простую структуру, которая позволяет реализовать прямой метод измерений путем последовательных измерительных преобразований. ИС имеет в своем составе 54 измерительных канала. Структурная схема ИС приведена на рисунке 1.

Все компоненты ИС размещаются в специализированных запираемых шкафах, размещенных в специальных помещениях, имеющие ограничение доступа.

ПИП- первичный измерительный преобразователь

Рисунок 1 - Структурная схема ИС

Пломбирование ИС не предусмотрено.

Программное обеспечение

ИС работает под управлением программного обеспечения (ПО) состоящего из следующих компонентов:

- разработанных на основе GENESIS32 v9 программных проектов автоматизации «CPU_NKG2_Params», «CPU_NKG3_Params», «CPU_NKG4_Params». ПО SCADA (метрологически значимая часть ПО ИС) выполняет функцию отображения результатов измерений технологических параметров, сообщений, мнемосхем, основных параметров технологического процесса, сигналов сигнализации, а также передачи управляющих воздействий от оператора;

- разработанных на основе Concept 2.6 программных проектов автоматизации «NKG2_AD2», «NKG3_AD3», «NKG4_AD4». ПО контроллеров Modicon (метрологически значимая часть ПО ИС) осуществляет автоматизированный сбор, передачу, обработку измерительной информации, обеспечивает работу блокировок, предупредительной и аварийной сигнализации.

Защита от несанкционированного изменения параметров настроек измерительных каналов, алгоритмов измерений, преобразования и вычисления параметров метрологически значимой части ПО обеспечивается системой паролирования доступа к интерфейсу ПО. Идентификационные данные ПО ИС приведены в таблице 1.

Таблица 1 - Идентификационные данные программного обеспечения

Идентификационные данные (признаки)

Значение

Идентификационное наименование ПО

Проекты контроллеров PLC: «NKG2_AD2», «NKG3_AD3», «NKG4_AD4» Проект Genesis32 подсистемы визуализации: «CPU_NKG2_Params», «CPU_NKG3_Params», «CPU_NKG4_Params»

Номер версии (идентификационный номер ПО)

_

Цифровой идентификатор ПО

Для файлов конфигурации проекта «NKG2_AD2»: \CPU\PLC_NKG\NKG2\NKG2_AD2.P3 40cb07648ff7662fd1978560c0974dc1 \CPU\PLC_NKG\NKG2\NKG2_AD2.PRJ 11d000e3a3fa64fb410b2afc3276b34c

Для файлов конфигурации проекта «NKG3_AD3»: \CPU\PLC_NKG\NKG3\NKG3_AD3.P3 f2efbf31b85ea50aa6451e8cf58f9bbc \CPU\PLC_NKG\NKG3\NKG3_AD3.PRJ 11d000e3a3fa64fb410b2afc3276b34c

Для файлов конфигурации проекта «NKG4_AD4»: \CPU\PLC_NKG\NKG4\NKG4_AD4.P3 baee612212a00265151ee640936f34e4 \CPU\PLC_NKG\NKG4\NKG4_AD4.PRJ 11d000e3a3fa64fb410b2afc3276b34c

Для файлов конфигурации проекта «CPU_NKG2_Params»: \CPU\GenCPU\CPU_PGH_Params2.gdf f2d6697b0fe4571ba8a97e0ed525c551

Для файлов конфигурации проекта «CPU_NKG3_Params»: \CPU\GenCPU\CPU_PGH_Params3.gdf 8bb2550c5806870cfeabb4bdc6526bd9

Для файлов конфигурации проекта «CPU_NKG4_Params»: \CPU\GenCPU\CPU_PGH_Params4.gdf 680d40863b816a1485870d64c42e63eb

Алгоритм вычисления цифрового идентификатора ПО

MD5

Метрологические характеристики нормированы с учетом ПО контроллера. Уровень защиты ПО контроллера и ПО АРМ от непреднамеренных и преднамеренных изменений соответствует уровню "высокий" по классификации Р 50.2.077-2014.

Технические характеристики

Таблица 2 - Основные технические характеристики

Наименования характеристики

Значение

Параметры электрического питания:

- напряжение переменного тока, В

220±22

- частота переменного тока, Гц

- напряжение постоянного тока, В

50/60

24±2,4

Параметры сигналов с измерительных преобразователей: - электрический ток (по ГОСТ 26.011-80), мА

от 4 до 20

Климатические условия эксплуатации

определены документацией компонентов ИС

Средний срок службы, лет, не менее

8

ПО ИС поддерживает синхронизацию с сервером точного времени, обеспечивая привязку времени полученных данных к национальной шкале координированного времени Российской Федерации UTC (SU) с погрешностью в пределах ±1 с.

Таблица 3 - Метрологические характеристики

№ ИК

Наименование ИК

Диапазон измерений физической величины, ед. измерений

СИ, входящие в состав ИК ИУС

Границы допускаемой основной погрешности ИК

Г раницы допускаемой погрешности ИК в рабочих условиях

Наименование, тип СИ

Г осреестр №

Пределы допускаемой основной погрешности компонента ИК

Пределы допускаемой дополнительной погрешности компонента ИК

1

2

3

4

5

6

7

8

9

PLC Modicon

1

Температура опорного подшипника НКГ № 2

от 0 до +150 °С

Т ермопреобразователь с унифицированным выходным сигналом Метран-270, мод. ТСМУ Метран-274 (далее- ТСМУ Метран-274)

21968-11

Y=±0,25 %

Y=±0,25 % /10 °С

Д=±0,8 °С

Д=±3,5 °С

Модуль серии Momentum 170 AAI 14000

(далее-170 AAI 14000)

18649-09

Y=±0,25 %

Y=±0,45 %

2

Температура вкладыша опорноупорного подшипника НКГ № 2

от 0 до +150 °С

ТСМУ Метран-274

21968-11

Y=±0,25 %

Y=±0,25 % /10 °С

Д=±0,8 °С

Д=±3,5 °С

170 AAI 14000

18649-09

Y=±0,25 %

Y=±0,45 %

3

Температура подшипника электродвигателя со стороны нагнетателя НКГ № 2

от 0 до +150 °С

ТСМУ Метран-274

21968-11

Y=±0,25 %

Y=±0,25 % /10 °С

Д=±0,8 °С

Д=±3,5 °С

170 AAI 14000

18649-09

Y=±0,25 %

Y=±0,45 %

1

2

3

4

5

6

7

8

9

4

Температура подшипника колеса редуктора со стороны НКГ № 2

от 0 до +150 °С

ТСМУ Метран-274

21968-11

Y=±0,25 %

Y=±0,25 % /10 °С

Д=±0,8 °С

Д=±3,5 °С

170 AAI 14000

18649-09

Y=±0,25 %

Y=±0,45 %

5

Температура подшипника колеса редуктора со стороны электродвигателя нагнетателя НКГ № 2

от 0 до +150 °С

ТСМУ Метран-274

21968-11

Y=±0,25 %

Y=±0,25 % /10 °С

Д=±0,8 °С

Д=±3,5 °С

170 AAI 14000

18649-09

Y=±0,25 %

Y=±0,45 %

6

Температура колодки опорноупорного подшипника НКГ № 2

от 0 до +150 °С

ТСМУ Метран-274

21968-11

Y=±0,25 %

Y=±0,25 % /10 °С

Д=±0,8 °С

Д=±3,5 °С

170 AAI 14000

18649-09

Y=±0,25 %

Y=±0,45 %

7

Температура торцевого подшипника электродвигателя НКГ № 2

от 0 до +150 °С

ТСМУ Метран-274

21968-11

Y=±0,25 %

Y=±0,25 % /10 °С

Д=±0,8 °С

Д=±3,5 °С

170 AAI 14000

18649-09

Y=±0,25 %

Y=±0,45 %

8

Температура шестерни редуктора со стороны нагнетателя НКГ № 2

от 0 до +150 °С

ТСМУ Метран-274

21968-11

Y=±0,25 %

Y=±0,25 % /10 °С

Д=±0,8 °С

Д=±3,5 °С

170 AAI 14000

18649-09

Y=±0,25 %

Y=±0,45 %

1

2

3

4

5

6

7

8

9

9

Температура шестерни редуктора со стороны электродвигателя НКГ № 2

от 0 до +150 °С

ТСМУ Метран-274

21968-11

Y=±0,25 %

Y=±0,25 % /10 °С

Д=±0,8 °С

Д=±3,5 °С

170 AAI 14000

18649-09

Y=±0,25 %

Y=±0,45 %

10

Температура масла после охлаждения НКГ № 2

от 0 до +150 °С

ТСМУ Метран-274

21968-11

Y=±0,25 %

Y=±0,25 % /10 °С

Д=±0,8 °С

Д=±3,5 °С

170 AAI 14000

18649-09

Y=±0,25 %

Y=±0,45 %

11

Температура масла до охлаждения НКГ № 2

от 0 до +150 °С

ТСМУ Метран-274

21968-11

Y=±0,25 %

Y=±0,25 % /10 °С

Д=±0,8 °С

Д=±3,5 °С

170 AAI 14000

18649-09

Y=±0,25 %

Y=±0,45 %

12

Температура коксового газа до нагнетателя НКГ № 2

от 0 до +150 °С

ТСМУ Метран-274

21968-11

Y=±0,25 %

Y=±0,25 % /10 °С

Д=±0,8 °С

Д=±3,5 °С

170 AAI 14000

18649-09

Y=±0,25 %

Y=±0,45 %

13

Температура коксового газа после нагнетателя НКГ № 2

от 0 до +150 °С

ТСМУ Метран-274

21968-11

Y=±0,25 %

Y=±0,25 % /10 °С

Д=±0,8 °С

Д=±3,5 °С

170 AAI 14000

18649-09

Y=±0,25 %

Y=±0,45 %

14

Температура корпуса НКГ № 2

от 0 до +150 °С

ТСМУ Метран-274

21968-11

Y=±0,25 %

Y=±0,25 % /10 °С

Д=±0,8 °С

Д=±3,5 °С

170 AAI 14000

18649-09

Y=±0,25 %

Y=±0,45 %

15

Температура воды на охлаждение НКГ № 2

от 0 до +150 °С

ТСМУ Метран-274

30984-06

Д=±0,6 %

-

Д=±0,8 °С

Д=±3,5 °С

170 AAI 14000

18649-09

Y=±0,25 %

Y=±0,45 %

1

2

3

4

5

6

7

8

9

16

Содержание кислорода в коксовом газе НКГ № 2

от 0 до 30 %

Г азоанализатор Аналитик 001, исп.

ЛЕТА.413412.001-03 (далее- Аналитик 001)

30984-06

Д=±0,6 %

-

Y=±2,4 %

Y=±2,5 %

170 AAI 14000

18649-09

Y=±0,25 %

Y=±0,45 %

17

Разрежение коксового газа перед НКГ № 2

от -1000 до 0 мм вод. ст.

Преобразователь давления измерительный EJA 110 (далее- EJA 110)

32854-13

Y=±0,075 %

Y=±0,07 % /10 °C

Y=±0,4 %

Y=±0,9 %

170 AAI 14000

18649-09

Y=±0,25 %

Y=±0,45 %

18

Давление коксового газа после НКГ № 2

от 0 до 4000 мм вод. ст.

Датчики давления Метран-150, мод 150CD

32854-13

Y=±0,075 %

Y=±0,07 % /10 °C

Y=±0,3 %

Y=±0,7 %

170 AAI 14000

18649-09

Y=±0,25 %

Y=±0,45 %

PLC Modicon

19

Температура опорного подшипника НКГ № 3

от 0 до +150 °С

Т ермопреобразователь с унифицированным выходным сигналом ТСМУ, мод. ТСМУ-3212 (далее-ТСМУ-3212)

42454-15

Y=±0,5 %

Y=±0,25 %/10 °C

Д=±1,1 °C

Д=±4,1 °C

170 AAI 14000

18649-09

Y=±0,25 %

Y=±0,45 %

20

Температура вкладыша опорноупорного подшипника НКГ № 3

от 0 до +100 °С

ТСМУ-3212

42454-15

Y=±0,5 %

Y=±0,25 %/10 °C

Д=±0,8 °C

Д=±2,7 °C

170 AAI 14000

18649-09

Y=±0,25 %

Y=±0,45 %

1

2

3

4

5

6

7

8

9

21

Температура подшипника электродвигателя со стороны нагнетателя НКГ № 3

от 0 до +100 °С

ТСМУ-3212

42454-15

Y=±0,5 %

Y=±0,25 %/10 °C

Д=±0,8 °С

Д=±2,7 °С

170 AAI 14000

18649-09

Y=±0,25 %

Y=±0,45 %

22

Температура подшипника колеса редуктора со стороны НКГ № 3

от 0 до +100 °С

ТСМУ-3212

42454-15

Y=±0,5 %

Y=±0,25 %/10 °C

Д=±0,8 °С

Д=±2,7 °С

170 AAI 14000

18649-09

Y=±0,25 %

Y=±0,45 %

23

Температура подшипника колеса редуктора со стороны электродвигателя нагнетателя НКГ № 3

от 0 до +100 °С

ТСМУ-3212

42454-15

Y=±0,5 %

Y=±0,25 %/10 °C

Д=±0,8 °С

Д=±2,7 °С

170 AAI 14000

18649-09

Y=±0,25 %

Y=±0,45 %

24

Температура колодки опорноупорного подшипника НКГ № 3

от 0 до +100 °С

ТСМУ-3212

42454-15

Y=±0,5 %

Y=±0,25 %/10 °C

Д=±0,8 °С

Д=±2,7 °С

170 AAI 14000

18649-09

Y=±0,25 %

Y=±0,45 %

25

Температура торцевого подшипника электродвигат еля НКГ № 3

от 0 до +100 °С

ТСМУ-3212

42454-15

Y=±0,5 %

Y=±0,25 %/10 °C

Д=±0,8 °С

Д=±2,7 °С

170 AAI 14000

18649-09

Y=±0,25 %

Y=±0,45 %

1

2

3

4

5

6

7

8

9

26

Температура шестерни редуктора со стороны нагнетателя НКГ № 3

от 0 до +100 °С

ТСМУ-3212

42454-15

Y=±0,5 %

Y=±0,25 %/10 °C

Д=±0,8 °С

Д=±2,7 °С

170 AAI 14000

18649-09

Y=±0,25 %

Y=±0,45 %

27

Температура шестерни редуктора со стороны электродвигателя НКГ № 3

от 0 до +100 °С

ТСМУ-3212

42454-15

Y=±0,5 %

Y=±0,25 %/10 °C

Д=±0,8 °С

Д=±2,7 °С

170 AAI 14000

18649-09

Y=±0,25 %

Y=±0,45 %

28

Температура масла после охлаждения НКГ № 3

от 0 до +150 °С

ТСМУ Метран-274

21968-11

Y=±0,25 %

Y=±0,25 % /10 °С

Д=±0,8 °С

Д=±3,5 °С

170 AAI 14000

18649-09

Y=±0,25 %

Y=±0,45 %

29

Температура масла до охлаждения НКГ № 3

от 0 до +150 °С

ТСМУ Метран-274

21968-11

Y=±0,25 %

Y=±0,25 % /10 °С

Д=±0,8 °С

Д=±3,5 °С

170 AAI 14000

18649-09

Y=±0,25 %

Y=±0,45 %

30

Температура коксового газа до нагнетателя НКГ № 3

от 0 до +150 °С

ТСМУ Метран-274

21968-11

Y=±0,25 %

Y=±0,25 % /10 °С

Д=±0,8 °С

Д=±3,5 °С

170 AAI 14000

18649-09

Y=±0,25 %

Y=±0,45 %

31

Температура коксового газа после нагнетателя НКГ № 3

от 0 до +150 °С

ТСМУ Метран-274

21968-11

Y=±0,25 %

Y=±0,25 % /10 °С

Д=±0,8 °С

Д=±3,5 °С

170 AAI 14000

18649-09

Y=±0,25 %

Y=±0,45 %

32

Температура корпуса НКГ № 3

от 0 до +100 °С

ТСМУ-3212

42454-15

Y=±0,5 %

Y=±0,25 %/10 °C

Д=±0,8 °С

Д=±2,7 °С

170 AAI 14000

18649-09

Y=±0,25 %

Y=±0,45 %

1

2

3

4

5

6

7

8

9

33

Температура воды на охлаждение НКГ № 3

от 0 до +150 °С

ТСМУ Метран-274

21968-11

Y=±0,25 %

Y=±0,25 % /10 °C

Д=±0,8 °C

Д=±3,5 °C

170 AAI 14000

18649-09

Y=±0,25 %

Y=±0,45 %

34

Содержание кислорода в коксовом газе НКГ № 3

от 0 до 30 %

Аналитик 001

30984-06

Д=±0,6 %

-

Y=±2,4 %

Y=±2,5 %

170 AAI 14000

18649-09

Y=±0,25 %

Y=±0,45 %

35

Разрежение коксового газа перед НКГ № 3

от -1000 до 0 мм вод. ст.

EJA 110

14495-09

Y=±0,25 %

Y=±0,1 % /10 °C

Y=±0,4 %

Y=±0,9 %

170 AAI 14000

18649-09

Y=±0,25 %

Y=±0,45 %

36

Давление коксового газа после НКГ № 3

от 0 до 4000 мм вод. ст.

Датчики давления Метран-100, мод.

Метран- 100-Ех-ДД

22235-01

Y=±0,25 %

Y=±0,1 % /10 °C

Y=±0,4 %

Y=±0,9 %

170 AAI 14000

18649-09

Y=±0,25 %

Y=±0,45 %

PLC Modicon

37

Температура опорного подшипника НКГ № 4

от 0 до +150 °С

ТСМУ Метран-274

21968-11

Y=±0,25 %

Y=±0,25 % /10 °C

Д=±0,8 °C

Д=±3,5 °C

170 AAI 14000

18649-09

Y=±0,25 %

Y=±0,45 %

38

Температура вкладыша опорноупорного подшипника НКГ № 4

от 0 до +150 °С

ТСМУ Метран-274

21968-11

Y=±0,25 %

Y=±0,25 % /10 °C

Д=±0,8 °C

Д=±3,5 °C

170 AAI 14000

18649-09

Y=±0,25 %

Y=±0,45 %

1

2

3

4

5

6

7

8

9

39

Температура подшипника электродвигателя со стороны нагнетателя НКГ № 4

от 0 до +150 °С

ТСМУ Метран-274

21968-11

Y=±0,25 %

Y=±0,25 % /10 °С

Д=±0,8 °С

Д=±3,5 °С

170 AAI 14000

18649-09

Y=±0,25 %

Y=±0,45 %

40

Температура подшипника колеса редуктора со стороны НКГ № 4

от 0 до +150 °С

ТСМУ Метран-274

21968-11

Y=±0,25 %

Y=±0,25 % /10 °С

Д=±0,8 °С

Д=±3,5 °С

170 AAI 14000

18649-09

Y=±0,25 %

Y=±0,45 %

41

Температура подшипника колеса редуктора со стороны электродвигателя нагнетателя НКГ № 4

от 0 до +150 °С

ТСМУ Метран-274

21968-11

Y=±0,25 %

Y=±0,25 % /10 °С

Д=±0,8 °С

Д=±3,5 °С

170 AAI 14000

18649-09

Y=±0,25 %

Y=±0,45 %

42

Температура колодки опорноупорного подшипника НКГ № 4

от 0 до +150 °С

ТСМУ Метран-274

21968-11

Y=±0,25 %

Y=±0,25 % /10 °С

Д=±0,8 °С

Д=±3,5 °С

170 AAI 14000

18649-09

Y=±0,25 %

Y=±0,45 %

43

Температура торцевого подшипника электродвигателя НКГ № 4

от 0 до +150 °С

ТСМУ Метран-274

21968-11

Y=±0,25 %

Y=±0,25 % /10 °С

Д=±0,8 °С

Д=±3,5 °С

170 AAI 14000

18649-09

Y=±0,25 %

Y=±0,45 %

1

2

3

4

5

6

7

8

9

44

Температура шестерни редуктора со стороны нагнетателя НКГ № 4

от 0 до +150 °С

ТСМУ Метран-274

21968-11

Y=±0,25 %

Y=±0,25 % /10 °С

Д=±0,8 °С

Д=±3,5 °С

170 AAI 14000

18649-09

Y=±0,25 %

Y=±0,45 %

45

Температура шестерни редуктора со стороны электродвигателя НКГ № 4

от 0 до +150 °С

ТСМУ Метран-274

21968-11

Y=±0,25 %

Y=±0,25 % /10 °С

Д=±0,8 °С

Д=±3,5 °С

170 AAI 14000

18649-09

Y=±0,25 %

Y=±0,45 %

46

Температура масла после охлаждения НКГ № 4

от 0 до +150 °С

ТСМУ Метран-274

21968-11

Y=±0,25 %

Y=±0,25 % /10 °С

Д=±0,8 °С

Д=±3,5 °С

170 AAI 14000

18649-09

Y=±0,25 %

Y=±0,45 %

47

Температура масла до охлаждения НКГ № 4

от 0 до +150 °С

ТСМУ Метран-274

21968-11

Y=±0,25 %

Y=±0,25 % /10 °С

Д=±0,8 °С

Д=±3,5 °С

170 AAI 14000

18649-09

Y=±0,25 %

Y=±0,45 %

48

Температура коксового газа до нагнетателя НКГ № 4

от 0 до +150 °С

ТСМУ Метран-274

21968-11

Y=±0,25 %

Y=±0,25 % /10 °С

Д=±0,8 °С

Д=±3,5 °С

170 AAI 14000

18649-09

Y=±0,25 %

Y=±0,45 %

49

Температура коксового газа после нагнетателя НКГ № 4

от 0 до +150 °С

ТСМУ Метран-274

21968-11

Y=±0,25 %

Y=±0,25 % /10 °С

Д=±0,8 °С

Д=±3,5 °С

170 AAI 14000

18649-09

Y=±0,25 %

Y=±0,45 %

50

Температура корпуса НКГ № 4

от 0 до +150 °С

ТСМУ Метран-274

21968-11

Y=±0,25 %

Y=±0,25 % /10 °С

Д=±0,8 °С

Д=±3,5 °С

170 AAI 14000

18649-09

Y=±0,25 %

Y=±0,45 %

1

2

3

4

5

6

7

8

9

51

Температура воды на охлаждение НКГ № 4

от 0 до +150 °С

ТСМУ Метран-274

21968-11

Y=±0,25 %

Y=±0,25 % /10 °C

Д=±0,8 °C

Д=±3,5 °C

170 AAI 14000

18649-09

Y=±0,25 %

Y=±0,45 %

52

Содержание кислорода в коксовом газе НКГ № 4

от 0 до 30 %

Аналитик 001

30984-06

Д=±0,6 %

-

Y=±2,4 %

Y=±2,5 %

170 AAI 14000

18649-09

Y=±0,25 %

Y=±0,45 %

53

Разрежение коксового газа перед НКГ № 4

от -1000 до 0 мм вод. ст.

EJA 110

14495-09

Y=±0,25 %

Y=±0,1 % /10 °C

Y=±0,4 %

Y=±0,9 %

170 AAI 14000

18649-09

Y=±0,25 %

Y=±0,45 %

54

Давление коксового газа после НКГ № 4

от 0 до 4000 мм вод. ст.

Преобразователь давления измерительный SITRANS P DSIII 7MF 4433

30883-05

Y=±0,25 %

Y=±0,25 %/10 °C

Y=±0,4 %

Y=±1,9 %

170 AAI 14000

18649-09

Y=±0,25 %

Y=±0,45 %

Примечания - Д - абсолютная погрешность; у - приведенная погрешность к верхнему значению диапазона измерения; НКГ -

нагнетатель коксового газа.

Знак утверждения типа

наносится на титульный лист паспорта типографским способом.

Комплектность

В состав ИС входят:

- технические средства (измерительные и комплексные компоненты) представлены в таблице 3;

- вычислительные, вспомогательные компоненты и техническая документация в таблице

4.

Таблица 4 - Комплектность средства измерений

Наименование

Количество

Автоматизированное рабочее место

2 шт.

Контроллер программируемый PLC Modicon

3 шт.

Н481-ЭМ4-ТО.ИС Коксохимическое производство ЦХУ и ПКХП. Машинонасосное отделение. Нагнетатели коксового газа № 2, 3, 4. Система управления. АО ЕВРАЗ Объединенный Западно-Сибирский Металлургический Комбинат. Техническое описание измерительной системы и Руководство пользователя

1 экз.

МП Н481-18 Система измерительная автоматизированной системы управления технологическим процессом контроля и управления нагнетателями коксового газа № 2, № 3, № 4 Коксохимического производства АО «ЕВРАЗ ЗСМК». Методика поверки

1 экз.

Система измерительная автоматизированной системы управления технологическим процессом контроля и управления нагнетателями коксового газа № 2, № 3, № 4 Коксохимического производства АО «ЕВРАЗ ЗСМК». Паспорт

1 экз.

Поверка

осуществляется по документу МП Н481-18 «Система измерительная автоматизированной системы управления технологическим процессом контроля и управления нагнетателями коксового газа № 2, № 3, № 4 Коксохимического производства АО «ЕВРАЗ ЗСМК». Методика поверки», утвержденному ФБУ «Кемеровский ЦСМ» 10 мая 2018 г.

Основные средства поверки:

- средства измерений и эталоны в соответствии с нормативной документацией по поверке первичных измерительных преобразователей и PLC;

- термогигрометр ИВА-6Р-Д, регистрационный номер в Федеральном информационном фонде № 46434-11;

- мультиметр цифровой 34401А, регистрационный номер в Федеральном информационном фонде № 54848-13.

Допускается применение аналогичных средств поверки, обеспечивающих определение метрологических характеристик поверяемых СИ с требуемой точностью.

Знак поверки наносится на свидетельство о поверке ИС в виде оттиска поверительного клейма.

Сведения о методах измерений

отсутствуют.

Нормативные документы

ГОСТ Р 8.596-2002 ГСИ. Метрологическое обеспечение измерительных систем. Основные положения

ГОСТ Р 52931-2008 Приборы контроля и регулирования технологических процессов. Общие технические условия

Смотрите также

72700-18
HAAKE Вискозиметры ротационные
Фирма "Thermo Electron (Karlsruhe) GmbH", Германия
Вискозиметры ротационные HAAKE (далее - вискозиметры) предназначены для измерений динамической вязкости жидкости и исследования реологических свойств материалов.
72701-18
HAAKE Реометры
Фирма "Thermo Electron (Karlsruhe) GmbH", Германия
Реометры HAAKE (далее - реометры) предназначены для измерений динамической вязкости жидкости и исследования реологических свойств материалов.
Default ALL-Pribors Device Photo
Система автоматизированная информационно-измерительная коммерческого учета электроэнергии (АИИС КУЭ) ООО «Газпром энерго» ООО «Газпром трансгаз Югорск» Комсомольское ЛПУ предназначена для измерений активной и реактивной электроэнергии, потребленной з...
Default ALL-Pribors Device Photo
72703-18
Система измерительная массового расхода (массы) воды поз. FT36 цеха № 01 ЗБ ОАО "ТАИФ-НК"
ОАО «ТАИФ-НК», РОССИЯ, 423570, Республика Татарстан, г. Нижнекамск, ОПС-11, а/я 20
Система измерительная массового расхода (массы) воды поз. FT36 цеха № 01 ЗБ ОАО «ТАИФ-НК» (далее - ИС) предназначена для измерений объемного расхода (объема) воды.
Default ALL-Pribors Device Photo
72704-18
Система измерительная массового расхода (массы) химобессоленной воды поз. FT39331 цеха № 01 ЗБ ОАО "ТАИФ-НК"
Открытое акционерное общество «ТАИФ-НК» (ОАО «ТАИФ-НК»), г. Нижнекамск
Система измерительная массового расхода (массы) химобессоленной воды поз. FT39331 цеха № 01 ЗБ ОАО «ТАИФ-НК» (далее - ИС) предназначена для измерений массового расхода и массы воды.