Газосигнализаторы СЕНС СГ-А2
| Номер в ГРСИ РФ: | 76364-19 |
|---|---|
| Категория: | Газоанализаторы |
| Производитель / заявитель: | ООО НПП "Сенсор", г.Заречный |
Газосигнализаторы СЕНС СГ-А2 (далее - газосигнализаторы) предназначены для автоматического, непрерывного измерения довзрывоопасных концентраций горючих газов и паров и сигнализации о превышении установленных порогов срабатывания сигнализации.
Информация по Госреестру
| Основные данные | |||||||||||||||||||
|---|---|---|---|---|---|---|---|---|---|---|---|---|---|---|---|---|---|---|---|
| Номер по Госреестру | 76364-19 | ||||||||||||||||||
| Действует | по 18.10.2029 | ||||||||||||||||||
| Наименование | Газосигнализаторы | ||||||||||||||||||
| Модель | СЕНС СГ-А2 | ||||||||||||||||||
| Модификации |
СЕНС СГ - А2 - A - B - C - D - E, где: A –код, определяющий тип поверочного компонента B –код, определяющий вариант исполнения устройства крепления С –код, определяющий вариант исполнения кабельных вводов или длину кабеля D –код, определяющий вариант исполнения кабельных вводов Е –код, определяющий вариант исполнения выходного интерфейса на испытания представлены: СЕНС СГ-А2-СН4-КСВЗ СЕНС СГ-А2-С3Н8-ППК СЕНС УР1-1D12-Фл.Е-100-25-Р94НЖ-Ex-10 СЕНС УР1-1D12-Фл.Е-100-25-Р94НЖ-Ex-5 СЕНС УР1-1D12-Фл.Е-100-25-Р94НЖ-Ex-6 |
||||||||||||||||||
| Приказы |
№1225 от
19.06.2025
— О внесении изменений в сведения об утвержденных типах средств измерений
№2794 от
18.12.2025
— О внесении изменений в сведения об утвержденных типах средств измерений
|
||||||||||||||||||
| Код идентификации производства |
РФ
СИ соответствует критериям подтверждения производства на территории
РФ в соответствии с постановлением №719
|
||||||||||||||||||
| Характер производства | Серийное | ||||||||||||||||||
| Идентификатор записи ФИФ ОЕИ | ca8ad865-1596-3043-a0fb-5d1061155465 | ||||||||||||||||||
| Испытания |
|
||||||||||||||||||
Производитель / Заявитель
ООО НПП «СЕНСОР», РОССИЯ, 442961, Пензенская обл., г. Заречный, ул. Промышленная, стр. 5
РОССИЯ
Поверка
| Методика поверки / информация о поверке |
МП 677-2025 Государственная система обеспечения единства измерений. Газосигнализаторы СЕНС СГ-А2. Методика поверки
(с 18.12.2025)
|
| Межповерочный интервал / Периодичность поверки |
2 года
|
| Зарегистрировано поверок |
5597
|
| Найдено поверителей | |
| Успешных поверок (СИ пригодно) | 5530 (99%) |
| Неуспешных поверок (СИ непригодно) | 67 (1 %) |
| Актуальность информации | 09.05.2026 |
Поверители
Скачать
|
76364-19: Описание типа
2023-76364-19.pdf
Файл устарел
|
Скачать | 508.9 КБ | |
|
76364-19: Методика поверки
2019-mp76364-19.pdf
Файл устарел
|
Скачать | 2.5 MБ | |
|
76364-19: Описание типа
2023-76364-19-1.pdf
Файл устарел
|
Скачать | 508.9 КБ | |
|
76364-19: Методика поверки
2019-mp76364-19-1.pdf
Файл устарел
|
Скачать | 2.5 MБ | |
|
76364-19: Описание типа
2023-76364-19-2.pdf
|
Скачать | 508.9 КБ | |
|
76364-19: Описание типа
2025-76364-19.pdf
|
Скачать | 424.3 КБ | |
|
76364-19: Методика поверки
2019-mp76364-19-2.pdf
|
Скачать | 2.5 MБ | |
|
76364-19: Методика поверки
МП 677-2025
2026-mp76364-19.pdf
|
Скачать | 1.3 MБ |
Описание типа
Назначение
Газосигнализаторы СЕНС СГ-А2 (далее - газосигнализаторы) предназначены для автоматического, непрерывного измерения довзрывоопасных концентраций горючих газов и паров и сигнализации о превышении установленных порогов срабатывания сигнализации.
Описание
Принцип действия газосигнализаторов основан на преобразовании с помощью оптического первичного преобразователя значений концентрации горючего газа в измерительный сигнал, пропорциональный содержанию определяемого компонента в воздухе, и выработке управляющих сигналов в соответствии с алгоритмом работы газосигнализаторов.
Метод измерений - прямой, инфракрасная абсорбция.
Способ отбора пробы - диффузионный.
Тип газосигнализаторов - стационарный, автоматический, электрический, одноканальный, непрерывного действия.
Конструкция газосигнализаторов представляет собой датчик газа в цилиндрическом металлическом корпусе. В корпусе имеется отсек для первичного преобразователя. Отсек закрывается колпаком с входным окном, закрытым огнепреградителем и защитным фильтром.
В состав коробки соединительной взрывозащищенной (далее - КСВЗ), обеспечивающей подключения датчика газа к внешним цепям, входят взрывозащищенные кабельные вводы, внутренняя и внешняя клемма заземления и кронштейн для крепления на месте эксплуатации.
В состав газосигнализаторов с постоянно присоединенным кабелем (далее - ППК) входят взрывозащищенный кабельный ввод и кронштейн, на котором установлена клемма заземления.
Газосигнализаторы обеспечивают выполнение следующих функций:
- измерение содержания определяемого компонента;
- выдачу цифровых сигналов по цифровым последовательным интерфейсам трехпроводной линии связи-питания системы измерительной СЕНС (протоколу СЕНС) и RS-485 (протоколам ModbusRTU или СЕНС, выбираемым пользователем).
Газосигнализаторы имеют несколько вариантов исполнения:
- в зависимости от поверочного компонента - метан (СН4) или пропан (С3Н8);
- с КСВЗ или без неё с ППК;
- с различными вариантами исполнения кабельных вводов или длиной кабеля (для газосигнализаторов с вариантом исполнения с ППК);
- в зависимости от выходного интерфейса - СЕНС (протокол СЕНС), RS-485 (протокол ModbusRTU).
Определяемые компоненты для вариантов исполнения газосигнализаторов с поверочным компонентом пропан (С3Н8): пропан (С3Н8), гексан (С6Н14), бутан (С4Н10), изобутан
(2 метилпропан) (1-С4Н10), н-пентан (С5Н12), циклопентан (С5Н10), пропилен (СзНб), метиловый спирт (метанол) (СН3ОН), этанол (этиловый спирт) (С2Н5ОН), этан (С2Н6), 2-бутанон (этилметилкетон, метил ацетон, метилэтилкетон) (С4Н9ОН), 1-бутен (n-бутилен, этилэтилен) (ПС4Н8).
Определяемые компоненты для вариантов исполнения газосигнализаторов с поверочным компонентом метан (СН4): метан (СН4), этилен (этен) (С2Н4), ацетон (2-пропанон, диметилкетон) (СН3СОСН3).
Вариант исполнения газосигнализаторов определяется в соответствии со структурой условного обозначения по эксплуатационной документации следующим образом:
Газосигнализатор СЕНС СГ - А2 - A - B - C - D - E:
где A - код, определяющий тип поверочного компонента;
B - код, определяющий вариант исполнения устройства крепления;
С - код, определяющий вариант исполнения кабельных вводов или длину кабеля;
D - код, определяющий вариант исполнения кабельных вводов;
Е - код, определяющий вариант исполнения выходного интерфейса.
Примечания:
1 Подробное описание вариантов исполнения газосигнализатора приведено в руководстве по эксплуатации;
2 Коды вариантов исполнений по умолчанию не указываются.
Заводской номер газосигнализатора наносится на информационную табличку, размещенную на корпусе газосигнализатора, в цифровом формате, способом лазерной или ударно-точечной маркировки.
Нанесение знака поверки на газосигнализаторы не предусмотрено.
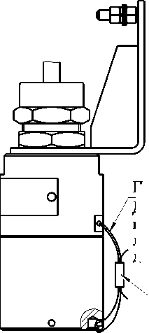
Внешний вид газосигнализаторов показан на рисунках 1 и 2.
В зависимости от варианта исполнения газосигнализатора конструкция кабельного ввода может отличаться от представленных на рисунках 1 и 2.
Место нанесения заводского номера
Место нанесения знака утверждения типа
Рисунок 1 - Внешний вид газосигнализатора с вариантом исполнения с КСВЗ
Рисунок 2 - Внешний вид газосигнализатора с вариантом исполнения с ППК
Конструкция газосигнализаторов обеспечивает ограничение доступа к внутренним элементам с целью предотвращения несанкционированного доступа. Схема пломбировки от несанкционированного доступа приведена на рисунке 3.
Пломба
Проволока 0,5.
Допускается пломбировать проволокой вязальной любой стандартной марки диаметром 0,5 мм.
а)
Проволока 0,5.
Допускается пломбировать проволокой вязальной любой стандартной марки диаметром 0,5 мм.
\ Пломба
б)
а) газосигнализатор с вариантом исполнения с КСВЗ б) газосигнализатор с вариантом исполнения с ППК
Рисунок 3 - Схема пломбировки газосигнализаторов
Программное обеспечение
В газосигнализаторах применяется встроенное программное обеспечение (далее - ПО), которое устанавливается (прошивается) в энергонезависимую память микроконтроллера газосигнализаторов при изготовлении. ПО имеет разделение на метрологически значимую часть и метрологически незначимую часть ПО.
Встроенное ПО предназначено для выполнения математической обработки результатов измерений от первичного преобразователя, хранения в энергонезависимой памяти результатов измерений, формирования цифровых сигналов, настройки и проведения диагностики газосигнализаторов.
Метрологически значимая часть исполняемого кода программы во внутренней памяти микроконтроллера защищается циклической контрольной суммой, которая непрерывно контролируется соответствующей функцией диагностики. При обнаружении ошибок контрольной суммы функция диагностики установит флаг ошибки.
Просмотр номера версии и цифрового идентификатора ПО возможен с помощью любой аппаратуры сбора данных, поддерживающей протоколы газосигнализаторов.
Встроенное ПО защищено от непреднамеренных и преднамеренных изменений посредством ввода пароля и механическим пломбированием.
Защита ПО и измерительной информации от непреднамеренных и преднамеренных изменений соответствует уровню «средний» по Р 50.2.077-2014.
Идентификационные данные метрологически значимой части ПО приведены в таблице 1.
Таблица 1 - Идентификационные данных метрологически значимой части ПО
|
Идентификационные данные (признаки) |
Значение |
|
Идентификационное наименование ПО |
Программа СЕНС СГ-А2 |
|
Номер версии (идентификационный номер) ПО |
А94Х* |
|
Цифровой идентификатор ПО (hex) |
0x9BD634E3 |
|
Алгоритм вычисления цифрового идентификатора ПО |
CRC32 |
|
* Последний индекс значения номера версии ПО допускает наличие буквенных или цифровых значений, отвечающих за метрологически незначимую часть ПО. | |
Технические характеристики
Метрологические характеристики приведены в таблицах 2-4.
Таблица 2 - Определяемые компоненты, диапазоны измерений и пределы допускаемой основной погрешности измерений
|
Определяемый компонент |
Диапазон измерений довзрывоопасной концентрации, % НКПР |
Пределы допускаемой основной погрешности измерений довзрывоопасной концентрации | |
|
абсолютной в диапазоне измерений от 0 до 60 % НКПР включ., % НКПР |
относительной в диапазоне измерений св. 60 до 100 % НКПР, % | ||
|
метан (СН4) |
от 0 до 100 |
±3 |
±5 |
|
этилен (этен) (С2Н4) |
от 0 до 50 |
±3 |
_ |
|
2-пропанон (ацетон, диметилкетон) (СН3СОСН3) | |||
Продолжение таблицы 2
|
Определяемый компонент |
Диапазон измерений довзрывоопасно й концентрации, % НКПР |
Пределы допускаемой основной погрешности измерений довзрывоопасной концентрации | |
|
абсолютной в диапазоне измерений от 0 до 60 % НКПР включ., % НКПР |
относительной в диапазоне измерений св. 60 до 100 % НКПР, % | ||
|
пропан (С3Н8) |
от 0 до 100 |
±3 |
±5 |
|
гексан (СбН14) | |||
|
бутан (С4Н10) | |||
|
2-метилпропан (изобутан) (i-C4Hio) |
от 0 до 50 |
±3 |
_ |
|
н-пентан (С5Н12) | |||
|
циклопентан (С5Н10) |
±5 | ||
|
пропилен (СзНб) |
±3 | ||
|
метанол (метиловый спирт) (СНзОН) | |||
|
этанол (этиловый спирт) (С2Н5ОН) |
±5 | ||
|
этан (С2Н6) |
±3 | ||
|
2-бутанон (этилметилкетон, метил ацетон, метилэтилкетон) (С4Н9ОН) |
±5 | ||
|
1-бутен (n-бутилен, этилэтилен) (ПС4Н8) |
±3 | ||
Таблица 3 - Поверочные компоненты, диапазоны измерений и пределы допускаемой основной погрешности измерений
|
Поверочный компонент |
Диапазон измерений довзрывоопасной концентрации, % НКПР |
Пределы допускаемой основной погрешности измерений довзрывоопасной концентрации | |
|
абсолютной в диапазоне измерений от 0 до 60 % НКПР включ., % НКПР |
относительной в диапазоне измерений св. 60 до 100 % НКПР, % | ||
|
метан (СН4) |
от 0 до 100 |
±3 |
±5 |
|
пропан (С3Н8) | |||
Таблица 4 - Метрологические характеристики
|
Наименование характеристики |
Значение |
|
Вариация выходного сигнала, в долях от пределов допускаемой основной погрешности, не более |
1 |
|
Пределы допускаемой дополнительной погрешности измерений, вызванной отклонением температуры окружающей среды от нормальной на каждые 10 °С, в долях от пределов допускаемой основной погрешности |
±0,6 |
Продолжение таблицы 4
|
Наименование характеристики |
Значение |
|
Пределы допускаемой дополнительной погрешности измерений, вызванной отклонением давления окружающей среды в диапазоне от 80 до 120 кПа на каждые 3,3 кПа относительно нормального, в долях от пределов допускаемой основной погрешности |
±1 |
|
Пределы допускаемой дополнительной погрешности измерений, вызванной отклонением относительной влажности анализируемой среды от нормальной, в долях от пределов допускаемой основной погрешности |
±1 |
|
Время установления выходного сигнала t(90), с, не более |
60 |
Основные технические характеристики приведены в таблице 5.
Таблица 5 - Основные технические характеристики
|
Наименование характеристики |
Значение |
|
Напряжение питания постоянного тока, В |
от 5 до 36 |
|
Потребляемая мощность, Вт, не более |
1,2 |
|
Время прогрева, с, не более |
120 |
|
Нормальные условия измерений: - температура окружающей среды, °С - относительная влажность окружающей среды, %, не более - относительная влажность анализируемой среды, %, не более - атмосферное давление, кПа |
от +15 до +25 80 30 от 96,7 до 103,3 |
|
Рабочие условия применения: - температура окружающей среды, °С - относительная влажность окружающей среды и анализируемой среды без конденсации влаги, %, не более - атмосферное давление, кПа |
от -40 до +60 98 от 80 до 120 |
|
Габаритные размеры (высотахширинахдлина), мм, не более: - для варианта исполнения с КСВЗ - для варианта исполнения с ППК |
210x95x250 170x75x65 |
|
Масса, кг, не более: - для варианта исполнения с КСВЗ - для варианта исполнения с ППК |
2,5 1,5* |
|
Маркировка взрывозащиты: - для варианта исполнения с КСВЗ - для варианта исполнения с ППК |
1Ex db IIB T4 Gb 1Ex db IIB T4 Gb Х |
|
* Масса газосигнализатора для варианта исполнения с ППК указана при длине кабеля равной 2 м. Значение массы газосигнализатора при других значениях длин кабеля рассчитывается по следующей формуле: т = 1,3 + 0,1 • L, где т - масса газосигнализатора, кг; L - длина кабеля, м. | |
Знак утверждения типа
наносится на таблички газосигнализаторов методом металлографской печати и на титульные листы паспорта и руководства по эксплуатации в верхний правый угол типографским способом.
Комплектность
Комплектность приведена в таблице 6.
Таблица 6 - Комплектность средства измерений
|
Наименование |
Обозначение |
Количество |
|
Газосигнализатор |
СЕНС СГ-А2 |
1 шт. |
|
Комплект монтажных частей |
_ |
1 компл. |
|
Руководство по эксплуатации (на партию) |
СЕНС.413347.021 РЭ |
1 экз. |
|
Паспорт |
СЕНС.413347.021 ПС |
1 экз. |
Сведения о методах измерений
приведены в разделе 1.4 «Устройство и работа» руководства по эксплуатации СЕНС.413347.021 РЭ.
Нормативные документы
Приказ Росстандарта от 31.12.2020 № 2315 «Об утверждении государственной поверочной схемы для средств измерений содержания компонентов в газовых и газоконденсатных средах»
СЕНС.413347.021 ТУ Газосигнализатор СЕНС СГ-А2. Технические условия



