Устройства МСТ20
| Номер в ГРСИ РФ: | 77526-20 |
|---|---|
| Производитель / заявитель: | АО "ТеконГруп", г.Москва |
Устройства MCT20 (далее по тексту - устройство) предназначены для измерения (вычисления) параметров (средних значений объемного (массового) расхода, температуры и давления) и потребленного (отпущенного) количества теплоносителя, горячей и холодной воды, тепловой энергии в системах тепло- и водоснабжения, а также регистрации, хранения и передачи на верхний уровень автоматизации значений этих параметров.
Информация по Госреестру
| Основные данные | |
|---|---|
| Номер по Госреестру | 77526-20 |
| Действует | по 19.02.2030 |
| Наименование | Устройства |
| Модель | МСТ20 |
| Код идентификации производства |
ОС
СИ не соответствует критериям подтверждения производства на территории
РФ в соответствии с постановлением №719
|
| Характер производства | Серийное |
| Идентификатор записи ФИФ ОЕИ | e434d438-d71e-8fd7-6730-67bc5fc48007 |
Производитель / Заявитель
Акционерное общество «ТеконГруп» (АО «ТеконГруп»), г. Москва
РОССИЯ
Поверка
| Межповерочный интервал / Периодичность поверки |
4 года
|
| Зарегистрировано поверок | |
| Актуальность информации | 21.12.2025 |
Поверители
Скачать
|
77526-20: Описание типа
2021-77526-20.pdf
|
Скачать | 1.1 MБ | |
|
77526-20: Методика поверки
2020-mp77526-20.pdf
|
Скачать | 1.1 MБ |
Описание типа
Назначение
Устройства MCT20 (далее по тексту - устройство) предназначены для измерения (вычисления) параметров (средних значений объемного (массового) расхода, температуры и давления) и потребленного (отпущенного) количества теплоносителя, горячей и холодной воды, тепловой энергии в системах тепло- и водоснабжения, а также регистрации, хранения и передачи на верхний уровень автоматизации значений этих параметров.
Описание
Принцип действия устройства основан на преобразовании выходных электрических сигналов первичных измерительных преобразователей расхода, температуры и давления, осуществляющих измерение параметров и количества горячей и холодной воды и теплоносителя в трубопроводах с последующим определением на их основе тепловой энергии (мощности) в соответствии с установленными алгоритмами по МИ 2412-97.
Устройство является проектно-компонуемым изделием. Состав и количество измерительных каналов определяется при проектировании объекта контроля.
Устройство состоит из следующих функциональных составных частей:
- электронный блок;
- ультразвуковые преобразователи расхода (УПР) (до 6-ти каналов измерения);
- термопреобразователи сопротивления (до 8-ми каналов измерения);
- датчики давления (до 6-ти каналов измерения);
- кабели высокочастотные для подсоединения пьезоэлектрических преобразователей, входящих в состав УПР, к электронному блоку.
Электронный блок (далее - ЭБ) формирует импульсы, поступающие на пьезоэлектрические преобразователи (ПЭП), регистрирует сигналы, поступающие с ПЭП, термопреобразователей сопротивления и преобразователей давления, архивирует и передает данные в автоматизированную систему.
ЭБ содержит:
- управляющий 32-разрядный микроконтроллер с внутренней памятью программ и данных;
- блок расходомеров на 6 каналов;
- блок измерений температуры на 8 каналов;
- энергонезависимую память для хранения архивов;
- преобразователи питания;
- аккумулятор на 6 В;
- одну или две SIM-карты для организации каналов связи GSM;
- интерфейс GSM для подключения антенны связи с диспетчерским пунктом;
- два порта RS-232/485 для подключения внешних устройств;
- сервисный порт USB 2.0 type B для подключения ПК;
- светодиодные индикаторы режимов работы и индикации питания;
- батарейку.
При отключении от электросети питание электронного блока осуществляется от автономного встроенного источника электропитания, обеспечивающего работоспособность устройства в течение не менее 2 ч.
Обмен данными между устройством и персональным компьютером (ПК) осуществляется через сервисный порт USB, расположенный на лицевой панели ЭБ.
Связь устройства с системой верхнего уровня (СВУ) осуществляется с помощь GSM-модема. Обмен данными с СВУ выполняется через файлы на ftp-сервере.
Ультразвуковой преобразователь расхода (далее - УПР) состоит из измерительного участка и двух ПЭП. Принцип действия основан на методе измерения расхода воды при помощи ультразвукового зондирования, при котором ультразвуковые колебания, возбуждаемые электроакустическими преобразователями, распространяются в измеряемой среде по и против направления потока.
Измерительный участок представляет собой отрезок трубы, к торцам которой приварены два фланца по ГОСТ 33259-2015, с расположенными в центре под углом держателями для установки ПЭП.
В качестве преобразователей для измерения температуры воды используются платиновые термопреобразователи сопротивления (далее - ТС).
Типы ТС для измерения температуры воды в трубопроводах, которые могут входить в состав устройства, указаны в таблице 1. Конкретный тип ТС указывается при заказе устройства.
аблица 1 - Типы используемых термопреобразователей сопротивления
|
Тип используемого термопреобразователя сопротивления |
Регистрационный № |
Диапазон измерений, °С |
НСХ, класс допуска по ГОСТ 6651-2009 |
|
ТС-1088 ТС-1288 ТС-1388 ТС-0295 |
58808-14 |
от - 100 до + 450 (проволочный ЧЭ) |
Pt100, 100П (А) |
|
TC-1187Exd |
от - 50 до + 200 |
100М (А) | |
|
ТСП Метран-206 |
50911-12 |
от - 50 до + 150 |
100П (А) |
|
ТСПТ |
57175-14 |
Pt100, 100П (А) | |
|
ТПТ |
15420-06 |
от - 50 до + 150 |
Pt100, 100П (А) |
|
КТСП-1288 |
45368-10 |
от 0 до + 180 |
Pt100 (А) |
|
ТС-1088 ТС-1288 ТС-1388 ТС-0295 |
58808-14 |
от - 196 до + 600 (проволочный ЧЭ) |
Pt100, 100П (В) |
|
ТС-1187Ехd |
от - 50 до + 200 |
100М (В) | |
|
ТСП Метран-206 |
50911-12 |
от - 50 до + 150 |
100П (В) |
|
ТПТ |
15420-06 |
от - 50 до + 150 |
РН00,100П (В) |
|
ТСПТ |
57175-14 |
от - 50 до + 150 |
Pt100, 100П (В) |
|
ТСМТ |
57175-14 |
от - 50 до + 200 |
100М (В) |
|
ТСМ |
50911-12 |
от - 50 до + 150 |
|
Тип используемого термопреобразователя сопротивления |
Регистрационный № |
Диапазон измерений, °С |
НСХ, класс допуска по ГОСТ 6651-2009 |
|
Метран-203, Метран-204 | |||
|
ТМТ |
15422-06 |
от - 50 до + 150 |
Для измерения температуры наружного воздуха используются термопреобразователи сопротивления НСХ 100М по ГОСТ 6651 класса допуска В. Измерение температуры производится ТС, подключённым к устройству по четырехпроводной схеме.
В составе устройства МСТ20 используются преобразователи давления, измеряющие избыточное давление, отвечающие заданным требованиям точности измерения и условиям применения, преобразующие измеренное значение давления в цифровой сигнал на базе интерфейса RS-485 по протоколу обмена Modbus RTU.
Типы преобразователей давления для измерения давления в трубопроводах, которые могут входить в состав устройства, указаны в таблице 2. Конкретный тип преобразователя давления указывается при заказе устройства.
Таблица 2 - Типы используемых преобразователей давления
|
Тип используемого преобразователя давлений |
Регистрационный № |
Диапазон измерений, МПа |
Пределы допускаемой основной приведенной погрешности, % |
|
АИР-20/М2-МВ |
63044-16 |
от 0 до 2,5 |
± 0,5 |
|
МИДА-ДИ-15-064 |
50730-17 |
от 0 до 2,5 |
± 0,5 |
Глубина архива измерительной информации:
- 6-минутного - 3 суток;
- часового - 60 суток;
- суточного - 2 года;
- месячного - 12 лет.
- количество записей диагностической информации - 4096.
Общий вид и тип средств измерений, входящих в состав устройства MCT20, представлены на рисунках 1 - 3. Схема пломбировки от несанкционированного доступа, обозначение места нанесения знака поверки представлены на рисунке 4.
ТСП Метран-206 ТСМ Метран-203, -204
Рисунок 1 - Общий вид и тип преобразователей температуры, входящих в состав устройства.
ТС-1088
ТС-1288
ТС-1388
ТС-0295
Рисунок 1 - Общий вид и тип преобразователей температуры, входящих в состав устройства.
TC-1187Exd
КТСП-1288
ТСПТ ТСМТ
Рисунок 1 - Общий вид и тип преобразователей температуры, входящих в состав устройства.
ТПТ
Рисунок 1 - Общий вид и тип преобразователей температуры, входящих в состав устройства.
ТМГ-3-5 IMT-Згб ТМТ-3-9
Рисунок 1 - Общий вид и тип преобразователей температуры, входящих в состав устройства.
ГМТ-6-1 ТМГ-6-2 ГМТ-6-3
ТМТ
Рисунок 1 - Общий вид и тип преобразователей температуры, входящих в состав устройства.
АИР-20/М2-МВ
МИДА-ДИ-15-064
Рисунок 2 - Общий вид и тип преобразователей давления, входящих в состав устройства.
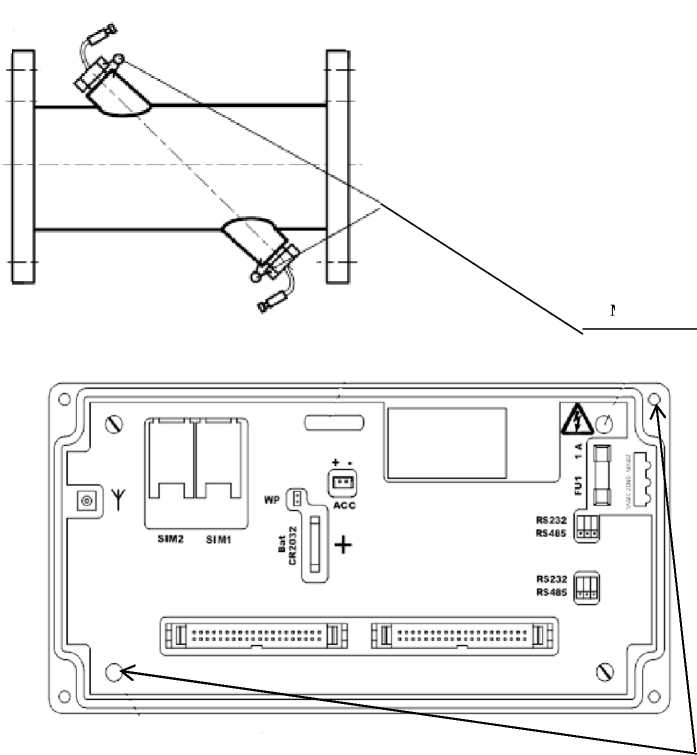
Рисунок 3- Общий вид преобразователя расхода и электронного блока
Места пломбировки
Рисунок 4 - Схема пломбировки от несанкционированного доступа и нанесения знака поверки
места нанесения знака поверки
Программное обеспечение
Программное обеспечение (ПО) устройства МСТ20 является встроенным и разделяется на метрологически значимую и метрологически не значимую части. Метрологически не значимая часть управляет измерительным процессом, обеспечивает хранение в энергонезависимой памяти результатов измерений и их передачу на верхний уровень. Метрологически значимая часть ПО выполняет измерения и расчеты по заданным алгоритмам. Идентификационные данные программного обеспечения приведены в таблице 3.
Уровень защиты программного обеспечения «высокий» в соответствии с Р. 50.2.077-2014 ГСИ.
Таблица 3 - Идентификационные данные метрологически значимой части программного обеспечения
|
Идентификационные данные (признаки) |
Значение |
|
Идентификационное наименование ПО |
misfw |
|
Номер версии (идентификационный номер) |
11.X |
Технические характеристики
Таблица 4 - Номинальные диаметры (DN) и соответствующие им значения расхода gmin, gt и gmax ДЛЯ УПР______________________________________________________________________
|
DN |
Объемный расход, м3/ч | ||
|
минимальный gmin |
переходный gt |
максимальный gmax | |
|
32 |
0,2 |
0,6 |
30,0 |
|
40 |
0,3 |
0,9 |
45,0 |
|
50 |
0,5 |
1,5 |
75,0 |
|
65 |
0,9 |
2,5 |
127,0 |
|
80 |
1,3 |
3,8 |
192,0 |
|
100 |
2,0 |
6,0 |
300,0 |
|
125 |
3,2 |
9,4 |
470,0 |
|
150 |
4,5 |
14,0 |
675,0 |
|
200 |
8,0 |
24,0 |
1200,0 |
Таблица 5 - Метрологические характеристики устройства МСТ20
|
Наименование |
Значение |
|
Пределы допускаемой относительной погрешности при измерении объемного расхода и объема (при прямом направлении потока), % |
± (1+0,01gmax/g) |
|
Диапазон измерений температуры наружного воздуха tнар, °С |
от - 50 до + 50 |
|
Пределы допускаемой абсолютной погрешности устройства при измерении температуры наружного воздуха tнар, °C |
± (0,3 + 0,0035^ |t|) |
|
Диапазон измерений температуры измеряемой среды tср, °С |
от + 1 до + 150 |
|
Пределы допускаемой абсолютной погрешности устройства при измерении температуры измеряемой среды, °C |
± (0,6 + 0,004-t) |
|
Разность температур теплоносителя в трубопроводах (минимальное значение) Л tmin, °С |
3 |
|
Разность температур теплоносителя в трубопроводах (максимальное значение) Л tmax, °С |
149 |
|
Пределы допускаемой относительной погрешности устройства при измерении разности температур теплоносителя в трубопроводах, % где At - измеренная разность температур в трубопроводах |
±(0,5+3-Atmin/At) |
|
Диапазон измерений избыточного давления ри, МПа |
от 0 до 2,5 |
|
Пределы допускаемой, приведенной к верхнему пределу, погрешности устройства при измерении избыточного давления, % |
± 2 |
|
Пределы допускаемой относительной погрешности устройства при измерении количества тепловой энергии, % |
± (2 + 4'Atmin/At + 0,01- gmax/g) |
|
Пределы допускаемой относительной погрешности устройства при измерении времени, % |
± 0,05 |
|
Рабочее давление не более, МПа |
2,5 |
Таблица 6 - Технические характеристики устройства МСТ20
|
Наименование |
Значение |
|
Параметры электрического питания: - напряжения переменного тока, В - частота переменного тока, Г ц |
220^ 50±5 |
|
Параметр питания от аккумуляторной батареи: - постоянное напряжение, В - емкость, А^ч |
6 1,2 |
|
Потребляемая мощность, Вт, не более |
5,5 |
|
Условия эксплуатации: Для электронного блока (ЭБ) температура окружающего воздуха, °С относительная влажность, %, атмосферное давление, кПа Для УПР температура окружающего воздуха, °С относительная влажность, %, атмосферное давление, кПа |
от +1 до +55 до 95 при температуре +25 °С от 84 до 106,7 от +1 до +50 до 95 при температуре +35 °С от 84 до 106,7 |
|
Г абаритные размеры ЭБ устройства, мм - высота - ширина - длина |
105 120 240/284 |
|
Масса ЭБ устройства, кг |
1,3 |
|
Степень защиты ЭБ по ГОСТ 14254-2015 |
IP54 |
|
Наработка на отказ, ч, не менее |
100000 |
|
Средний срок службы, лет, не менее |
15 |
Знак утверждения типа
наносится на лицевую панель электронного блока методом фотолитографии или иным печатным способом и на титульный лист руководства по эксплуатации и паспорт типографским способом.
Комплектность
Таблица 7 - Комплектность средства измерений
|
Наименование |
Обозначение |
Количество |
|
Электронный блок устройства МСТ20 |
- |
1 шт. |
|
Ультразвуковой преобразователь расхода (УПР): - измерительный участок с установленными ПЭП; - две уплотнительные прокладки; - Паспорт УПР |
- |
Согласно заказу |
|
Т ермопреобразователь сопротивления Паспорт РЭ |
- |
Согласно заказу |
|
Датчик давления Паспорт РЭ |
- |
Согласно заказу |
|
Руководство по эксплуатации Устройства МСТ20 |
БНРД.407811.001РЭ |
1 экз. |
|
Паспорт Устройство МСТ20 |
БНРД.407811.001ПС |
1 экз. |
|
Методика поверки Устройства МСТ20 |
БНРД.407811.001МП |
1 экз. |
Сведения о методах измерений
приведены в п.1.5 руководства по эксплуатации.
Нормативные документы
Приказ Росстандарта от 07.02.2018 г. № 256 Об утверждении Государственной поверочной схемы для средств измерения массы и объема жидкости в потоке, объема жидкости и вместимости при статических измерениях, массового и объемного расхода жидкости
ГОСТ Р 51649-2014 «Теплосчетчики для водяных систем теплоснабжения. Общие технические условия»
ГОСТ Р 52931-2008 «Приборы контроля и регулирования технологических процессов. Общие технические условия»
ТУ 26.51.52-008-54897848-2018 (БНРД.407811.001ТУ) - Устройства МСТ20.
Технические условия.
Смотрите также




















