Преобразователи термоэлектрические ЭнИ-300 ТНН, ЭнИ-300 ТХА, ЭнИ-300 ТХК, ЭнИ-300 ТЖК, ЭнИ-300 ТМК
| Номер в ГРСИ РФ: | 79691-20 |
|---|---|
| Производитель / заявитель: | ООО "ИТеК ББМВ", г.Челябинск |
Преобразователи термоэлектрические ЭнИ-300 ТНН, ЭнИ-300 ТХА, ЭнИ-300 ТХК, ЭнИ-300 ТЖК, ЭнИ-300 ТМК (далее по тексту - термопреобразователи или ТП) предназначены для измерений температуры жидких, газообразных, сыпучих сред, дисперсных сред и взвесей без налипания частиц, поверхностей, а также агрессивных сред, не разрушающих защитный корпус и защитную арматуру ТП.
Информация по Госреестру
| Основные данные | |
|---|---|
| Номер по Госреестру | 79691-20 |
| Действует | по 18.11.2030 |
| Наименование | Преобразователи термоэлектрические |
| Модель | ЭнИ-300 ТНН, ЭнИ-300 ТХА, ЭнИ-300 ТХК, ЭнИ-300 ТЖК, ЭнИ-300 ТМК |
| Характер производства | Серийное |
| Идентификатор записи ФИФ ОЕИ | dfc88227-acda-6b01-e489-cca2782a4c63 |
Производитель / Заявитель
Общество с ограниченной ответственностью "Инженерно-техническая компания ББМВ" (ООО "ИТеК ББМВ"), г. Челябинск
РОССИЯ
Поверка
| Межповерочный интервал / Периодичность поверки |
первичная поверка до ввода в эксплуатацию для многозонных ТП (модификация -10)
2 года
для ТП с верхним пределом диапазона измерений свыше 300 °С
3 года
для ТП с верхним пределом диапазона измерений до 300 °С
|
| Зарегистрировано поверок |
9953
|
| Найдено поверителей | |
| Успешных поверок (СИ пригодно) | 9920 (100%) |
| Неуспешных поверок (СИ непригодно) | 33 (0 %) |
| Актуальность информации | 19.04.2026 |
Поверители
Скачать
|
79691-20: Описание типа
2024-79691-20-1.pdf
|
Скачать | 1.4 MБ | |
|
79691-20: Методика поверки
2020-mp79691-20.pdf
|
Скачать | 3 MБ |
Описание типа
Назначение
Преобразователи термоэлектрические ЭнИ-300 ТНН, ЭнИ-300 ТХА, ЭнИ-300 ТХК, ЭнИ-300 ТЖК, ЭнИ-300 ТМК (далее - термопреобразователи или ТП) предназначены для измерений температуры жидких, газообразных, сыпучих сред, дисперсных сред и взвесей без налипания частиц, поверхностей, а также агрессивных сред, не разрушающих защитный корпус и защитную арматуру ТП.
Описание
Принцип работы термопреобразователей основан на явлении возникновения термоэлектродвижущей силы (далее - ТЭДС) в электрической цепи, состоящей из двух разнородных металлов или сплавов, места соединений (спаи) которых находятся при разной температуре. Величина термоэлектродвижущей силы определяется типом материалов чувствительных элементов (далее - ЧЭ) и разностью температур мест соединения (спаев) чувствительных элементов. В исполнениях ТП с измерительным преобразователем (далее - ИП) сигнал от ЧЭ преобразуется в токовый сигнал, либо в токовый сигнал с наложенным на него цифровым сигналом по протоколу HART, либо цифровой выходной сигнал по протоколу Profibus (PA), либо в цифровое значение температуры для получения визуальной информации об измеряемой температуре с применением жидкокристаллического индикатора (далее - ЖКИ).
ТП состоят из измерительной вставки, либо из проволочного ЧЭ в керамической изоляции установленного неразборно в защитную арматуру. Вставка конструктивно изготовлена из термопарного кабеля с минеральной изоляцией в металлической оболочке. ТП может иметь один, два или несколько ЧЭ с изолированными, в том числе открытыми, и неизолированными рабочими спаями с различными типами номинальной статической характеристики преобразования (далее - НСХ) по ГОСТ Р 8.585-2001. Многозонные ТП могут иметь от 2 до 30 конструктивно связанных ЧЭ.
ТП могут иметь защитную арматуру из металлов или других материалов. ТП могут быть выполнены без корпуса (соединительной головки) или с ним, в том числе выносным. В соединительную головку устанавливаются клеммные колодки и/или ИП.
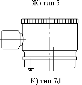
Корпуса имеют несколько модификаций, отличающихся конструкцией, материалом и степенью защиты оболочки по ГОСТ 14254-2015. Головки типа 1 - 6, 1d и 11 выполнены из алюминиевого сплава, типа 7, 7d, 7od - из нержавеющей стали, головки типа 8 - 10 -
из полимерного материала. Цифровая индикация в процессе измерений осуществляется с помощью встраиваемого в корпус типа 7od и 11 ЖКИ. Корпус типа 11 предназначен для установки ИП с ЖКИ или без ЖКИ.
ТП могут быть выполнены с удлинительными проводами или с разъемами, которые могут быть установлены на измерительной вставке, защитной арматуре ТП или на удлинительных проводах.
Для измерений температуры при высоких давлениях и скоростях потока предусмотрены защитные гильзы, конструкция и материал которых зависит от допускаемых параметров измеряемой среды.
Преобразователи термоэлектрические ЭнИ-300 ТНН, ЭнИ-300 ТХА, ЭнИ-300 ТХК, ЭнИ-300 ТЖК, ЭнИ-300 ТМК могут быть изготовлены (в соответствии с кодом заказа) в нескольких группах модификаций: -01, -02, -03, -04, -05, -06, -09, -10, отличающихся назначением и конструктивным исполнением.
Модификация -01 - ТП практически для всех отраслей промышленности. Могут использоваться как с непосредственным контактом с измеряемой средой, так и с различными защитными гильзами.
Модификация -02 - ТП предназначены, в зависимости от конструкции и материала защитной арматуры, для измерений температуры высокотемпературных газовых сред, в том числе агрессивных, например, температуры расплавленных цветных металлов и сплавов, расплавов солей. Могут изготавливаться как с металлической, так и с неметаллической защитной арматурой.
Модификация -03 - представляет собой малоинерционные ТП без соединительной головки. В зависимости от исполнения могут применяться для измерений, например, температуры в труднодоступных местах, где требуется изгиб ТП при монтаже, температуры различных поверхностей, температуры подшипниковых узлов, температуры корпусов и головок червячных прессов.
Модификация -04 - представляют собой малоинерционные ТП и применяются для измерений, например, температуры уходящих газов на газоперекачивающих агрегатах, температуры пара на ТЭС, температуры факела на вышках сжигания попутного газа.
Модификация -05 - кабельные ТП, имеют исполнения без присоединительного штуцера, с подвижным или неподвижным присоединительными штуцерами.
Модификация -06 - ТП предназначены для измерений температуры окружающего воздуха как внутри помещений, так и снаружи. Имеют исполнения с алюминиевыми или пластиковыми соединительными головками.
Модификация -09 - данные ТП могут применяться как самостоятельные изделия, так и в качестве термометрических вставок. Возможны исполнения с клеммной колодкой, свободными выводами, с ИП, с ИПс ЖКИ.
Модификация -10 - многозонные ТП, могут иметь от 2 до 30 конструктивно связанных ЧЭ. Могут применяться в самых разных областях для измерения температуры - от емкостей для жидкостей до доменных печей.
ТП могут изготавливаться во взрывозащищенном исполнении с видами взрывозащиты «искробезопасная электрическая цепь» и «взрывонепроницаемая оболочка».
Схема заказа ТП приведена в таблице 1.
Таблица 1 - Схема заказа ТП
Х Х -х -х -х -х -х -х -х -х -х -х -х -х -х х -х
|
1 2 |
3456789 10 11 |
12 13 14 15 16 17 | |
|
№ ячейки |
Параметр |
Код в ячейке в карте заказа |
Описание |
|
1 |
Тип ТП |
ЭнИ-300 ТНН ЭнИ-300 ТХА ЭнИ-300 ТХК ЭнИ-300 ТЖК ЭнИ-300 ТМК |
Преобразователи термоэлектрические |
|
2 |
Модификация |
-01,-02,-03,-04,-05, -06,-09,-10 |
Согласно нормативной документации (далее - НД) |
|
3 |
Вид взрывозащиты |
Не заполнено |
Общепромышленное исполнение |
|
Ех(х) |
Взрывозащищенное исполнение (согласно НД) | ||
|
4 |
Тип корпуса |
Не заполнено |
Модификации -03,-09 |
|
Согласно НД | |||
|
5 |
-Исполнение защитной арматуры |
Согласно НД |
Модификации -01,-02,-03, -04, -05,-06 |
|
-Конструктивное исполнение |
Модификации -09 | ||
|
-Конструктивное исполнение, присоединение к процессу |
Модификации -10 | ||
|
6 |
-Присоединение к процессу |
Не заполнено |
Модификации -06,-09,-10 |
|
Согласно НД |
Модификации -01,-02,-04,-05 | ||
|
-Присоединение к процессу или тип разъема |
Согласно НД |
Модификации -03 | |
|
7 |
-Материал погружаемой части |
Согласно НД | |
|
-Материал изоляции удлинительного кабеля |
Согласно НД |
Модификации -03 | |
|
8 |
Количество зон |
Не заполнено |
Модификации -01,-02,-03,04, -05,-06,-09 |
|
От 2 до 30 |
Модификация -10 | ||
|
9 |
-Длина монтажной части, мм |
Согласно НД |
Модификации -01,-02,-03,04, -05,-06,-09 |
|
-Монтажные длины зон, мм |
Модификация -10 | ||
|
10 |
-Длина шейки, мм |
Не заполнено |
Модификации -02 |
|
Согласно НД |
Модификации -01,-04,-05,-10 | ||
|
-Длина удлинительного кабеля, мм |
Не заполнено |
Модификации -01,-05,-06,-09 | |
|
Согласно НД |
Модификации -03,-04,-10 | ||
|
-Длина шейки или вылет чехла |
Не заполнено |
Модификации -01,-03,-04, -05,-06, -09 | |
|
Согласно НД |
Модификации -02 | ||
|
№ ячейки |
Параметр |
Код в ячейке в карте заказа |
Описание |
|
11 |
Диаметр погружаемой части или диаметр термоэлектродов проволочного ЧЭ, мм |
Согласно НД | |
|
12 |
Исполнение спая и количество ЧЭ или количество ЧЭ в зоне |
И |
Спай изолированный, 1 ЧЭ |
|
И2 |
Спай изолированный, 2 ЧЭ | ||
|
Н |
Спай неизолированный, 1 ЧЭ | ||
|
Х |
Спец. исполнение | ||
|
13 |
Класс допуска первичного преобразователя |
1, 2 |
Класс допуска по ГОСТ Р 8.585-2001, см. таблицу 3 |
|
14 |
Узел подключения к внешней цепи |
Не заполнено |
Модификации -03 |
|
А, В |
В соответствии с НСХ | ||
|
С, С1, D, D1, E, Е1 |
4-20 мА При заказе ТП с выходным сигналами 0-5 мА, 20-4 мА, выходной сигнал указывается в строке заказа дополнительно в скобках после обозначения узла подключения к внешней цепи, например, С (0-5) или Е (20-4) | ||
|
Н, Н1, Н2, НЗ |
4-20 мА+HART 4-20 мА+HART +ЖКИ | ||
|
Р, Р1 Р2 |
Profibus (РА) Profibus (РА)+ЖКИ | ||
|
15 |
Конструктивное исполнение первичного преобразователя |
Согласно НД | |
|
16 |
Диапазон измерений или настройки температуры, °С |
Согласно НД и таблицам 3-6 | |
|
17 |
Кабельные вводы |
Согласно НД | |
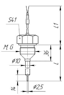
Общий вид конструктивного исполнения корпусов ТП приведен на рисунке 1.
А) тип 1
Б) тип 1d
В) тип 2
Г) тип 3
Д) тип 4
И) тип 7
М)тип 8
Р) тип 11
Рисунок 1 - Общий вид конструктивного исполнения корпусов ТП
П) тип 10
Н) тип 9
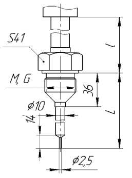
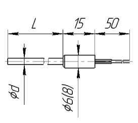
Исполнения защитной на рисунках 2 - 9.
арматуры для разных модификаций ТП приведены
А) исполнение 01
Б) исполнение 02
В) исполнение 03
Г) исполнение 04
Д) исполнение 05
Е) исполнение 06
Ж) исполнение 07
З) исполнение 08
И) исполнение 09
К) исполнение 10
Л) исполнение 11
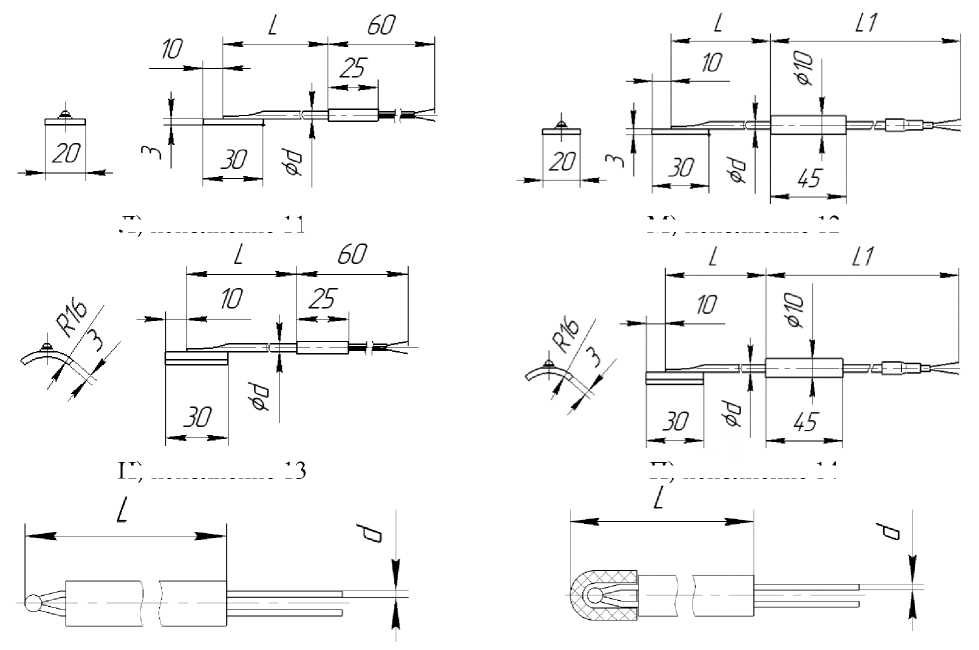
Рисунок 2 - Чертежи конструктивного исполнения защитной арматуры ТП модификации -01
В) исполнение 03
З) исполнение 08
И) исполнение 09 К) исполнение 10
Рисунок 3 - Чертежи конструктивного исполнения защитной арматуры ТП модификации -02
Ж) исполнение 07
Г) исполнение 04
А) исполнение 01
В) исполнение 03
Д)исполнение 05
Ж)исполнение 07
И) исполнение 09
Б) исполнение 02
Г) исполнение 04
Е)исполнение 06
З) исполнение 08
К) исполнение 10
Л) исполнение 11
М) исполнение 12
Н) исполнение 13
исполнение 14
Р) исполнение 15
С) исполнение 16
Рисунок 4 - Чертежиконструктивногоисполнениязащитной арматурыТПмодификации -03
А) исполнение 01
Б) исполнение 02
В) исполнение 03
Рисунок 5 - Чертежи конструктивного исполнения защитной арматуры ТП модификации -05
Рисунок 6 - Чертёж конструктивное
гуры исполнения 01 ТП
А) исполнение 01
Б)исполнение 02
В) исполнение 03
Г) исполнение 04
Д) исполнение 05
Е) исполнение 06
Ж) исполнение 07
З) исполнение 08
И) исполнение 09
Рисунок 7 - Чертежи конструктивного исполнения защитной арматуры ТП модификации -04
А) исполнение 01
Б) исполнение 02 В) исполнение 03 Г) исполнение 04
Рисунок 8 - Чертежи конструктивного исполнения защитной арматурыТПмодификации -09
А) многозонные ТП в исполнении без присоединительногоэлемента
Б) многозонные ТП в исполнении с фланцевым присоединением к процессу
В) многозонные ТП в исполнении со штуцерным присоединением к процессу
Г) многозонные ТП в исполнении с соединительной коробкой и фланцевым присоединением к процессу
Д) многозонные ТП в исполнении с соединительной коробкой и штуцерным присоединением к процессу
Рисунок 9 - Чертежи конструктивного исполнения многозонных ТП модификация -10
Фотографии внешнего вида некоторых модификаций ТП приведены на рисунке 10.
Модификация ТП -01
Корпус тип 1, исполнение защитной арматуры -01
Корпус тип 8, исполнение защитной арматуры -01
Корпус тип 7d, исполнение защитной арматуры -01
Корпус тип 9, исполнение защитной арматуры -02
Корпус тип 3, исполнение защитной арматуры -02
Корпус тип 11, исполнение защитной арматуры -02
Корпус тип 11, исполнение защитной арматуры -02
Модификация ТП -02
Корпус тип 3, исполнение защитной арматуры -01
Корпус тип 1, исполнение защитной арматуры -02
Корпус тип 3, исполнение защитной арматуры -04
Модификация ТП -03
Исполнение защитной Исполнение защитной Исполнение защитной
арматуры -01 арматуры -02 арматуры -03
Модификация ТП -04
Корпус тип 3, исполнение защитной арматуры -05
Корпус тип 11, исполнение защитной арматуры -05
Корпус тип 1, исполнение защитной арматуры -06
Модификация ТП -05
Корпус тип 3, исполнение защитной арматуры -01
Корпус тип 3, исполнение защитной арматуры -03
Модификация ТП -06
Корпус тип 6, исполнение защитной арматуры -01
Модификация ТП -09
Конструктивное исполнение -01
Конструктивное исполнение -02
Конструктивное исполнение -03
Рисунок 10 - Фотографии внешнего вида некоторых модификаций ТП
Допускается изготовление ТП с цветом корпуса и/или элементов корпуса, отличным от представленного на рисунке 10.
Заводской номер в виде цифрового обозначения, состоящего из арабских цифр, наносится методом, принятым на предприятии-изготовителе, на маркировочную табличку, прикрепляемую на корпусе (соединительной головке) ТП или к защитной арматуре.
Общий вид маркировочных табличек с указанием мест нанесения знака утверждения типа и заводского номера приведен на рисунке 11.
Конструкция не предусматривает нанесение знака поверки на средство измерений.
Пломбирование термопреобразователей не предусмотрено.
Рисунок 11 - Общий вид маркировочных табличек с указанием мест нанесения знака утверждения типа и заводского номера
Программное обеспечение
Термопреобразователи, комплектующиеся ИП, имеют только встроенное, метрологически значимое программное обеспечение (далее - ПО). Данное ПО устанавливается на заводе изготовителе во время производственного цикла. ПО предназначено для обработки сигнала ТЭДС и преобразования его в унифицированный сигнал и (или) цифровой сигнал. Конструкция ТП исключает возможность несанкционированного влияния на ПО и измерительную информацию.
Идентификационные данные встроенной части ПО термопреобразователей приведены в таблице 2.
Таблица 2 - Идентификационные данные программного обеспечения
|
Идентификационные данные (признаки) |
Значение |
|
Идентификационное наименование ПО |
Firmware |
|
Номер версии (идентификационный номер) ПО |
не ниже 01.01.00 |
|
Цифровой идентификатор ПО |
отсутствует |
Уровень защиты встроенной части ПО от непреднамеренных и преднамеренных изменений - «высокий» в соответствии с Р 50.2.077-2014: программное обеспечение защищено от преднамеренных изменений с помощью специальных программных средств.
Технические характеристики
Метрологические характеристики ТП приведены в таблицах 3-7. Основные технические характеристики ТП приведены в таблице 8.
Таблица 3 - Метрологические характеристики ЧЭ ТП без ИП
|
Условное обозначение НСХ |
Класс допуска |
Диапазон измерений температуры, °С (1) |
Пределы допускаемых отклонений ТЭДС ТП от НСХ, °С (где t - значение измеряемой температуры, °С) |
|
К |
1 |
от -40 до +375 включ. св. +375 до +1250 |
±1,5 ±0,0041 |
|
2 |
от -40 до +333 включ. св. +333 до +1250 |
±2,5 ±0,00751 | |
|
n |
1 |
от -40 до +375 включ. св. +375 до +1250 |
±1,5 ±0,0041 |
|
2 |
от -40 до +333 включ. св. +333 до +1250 |
±2,5 ±0,00751 | |
|
j |
1 |
от -40 до +375 включ. св.+375 до +750 |
±1,5 ±0,0041 |
|
2 |
от 0 до +333 включ. от +333 до +750 |
±2,5 ±0,00751 | |
|
t |
1 |
от -40 до +125 включ. св. +125 до +350 |
±0,5 ±0,0041 |
|
2 |
от -40 до +135 включ. св. +135 до +350 |
±1,0 ±0,00751 | |
|
l |
2 |
от -40 до +360 включ. от +360 до +600 |
±2,5 ±(0,7+ 0,0051) |
Примечание:
(1) Указаны предельные значения температуры, конкретный диапазон измерений,
не превышающий данные предельные значения, в зависимости от конструктивного исполнения указан в паспорте на СИ.
Таблица 4 - Метрологические . характеристики ТП с ИП с выходным сигналом постоянного тока
|
Обозначение типа ТП |
Условное обозначение НСХ |
Диапазон выходного сигнала, мА |
Диапазон измерений температуры, °С |
Пределы допускаемой основной приведенной погрешности (при температуре окружающей среды (€окр) от +18 до +22 °С включ.), % от диапазона измерений (1) (2) |
|
ЭнИ-300 ТНН |
N |
от 4 до 20, от 20 до 4, от 0 до 5 |
от -40 до +1250 |
±0,25; ±0,5; ±1,0 |
|
ЭнИ-300 ТХА |
К |
от-40 до +1250 |
±0,25; ±0,5; ±1,0 | |
|
ЭнИ-300 ТХК |
L |
от -40 до +600 |
±0,25; ±0,5; ±1,0 | |
|
ЭнИ-300 ТЖК |
J |
от-40 до +750 |
±0,5; ±1,0 | |
|
ЭнИ-300 ТМК |
Т |
от-40 до +350 |
±0,5; ±1,0 | |
|
Примечания: (1) Разность верхнего и нижнего пределов диапазона измерений должна быть: -не менее 400 °С для ТП с пределом допускаемой основной приведенной погрешности ±0,25 %, -не менее 200 °С для ТП с пределом допускаемой основной приведенной погрешности | ||||
|
Обозначение типа ТП |
Условное обозначение НСХ |
Диапазон выходного сигнала, мА |
Диапазон измерений температуры, °С |
Пределы допускаемой основной приведенной погрешности (при температуре окружающей среды (икр) от +18 до +22 °С включ.), % от диапазона измерений (1) (2) |
|
ЭнИ-300 ТНН |
N |
от 4 до 20 /HART |
от -40 до +1250 |
±0,3 ±0,4 ±0,5 ±1,0 |
|
ЭнИ-300 ТХА |
К |
от-40 до +1250 | ||
|
ЭнИ-300 ТХК |
L |
от -40 до +600 | ||
|
ЭнИ-300 ТЖК |
J |
от-40 до +750 | ||
|
ЭнИ-300 ТМК |
Т |
от-40 до +350 | ||
|
Примечания: (1) Разность верхнего и нижнего пределов диапазона измерений должна быть: - не менее 330 °С для ТП с пределом допускаемой основной приведенной погрешности ±0,3 %, - не менее 250 °С для ТП с пределом допускаемой основной приведенной погрешности ±0,4 % - не менее 200 °С для ТП с пределом допускаемой основной приведенной погрешности ±0,5 %, - не менее 100 °С для ТП с пределом допускаемой основной приведенной погрешности ±1 %. (2) У ТП с ИП типов ЭнИ-300 ТНН, ЭнИ-300 ТХА, имеющих нижний предел измерений температуры свыше плюс 800 °С, погрешность выбирается из приведенной погрешности, определенной при заказе, и абсолютной, равной ±4 °С, в зависимости от того, что больше. | ||||
Таблица 6 - Метрологические характеристики ТП с ИП с выходным цифровым сигналом
Profibus (РА)_________________________________________________________________________________
|
Обозначение типа ТП |
Условное обозначение НСХ |
Выходной сигнал |
Диапазон измерений температуры, °С |
Пределы допускаемой основной приведенной погрешности (при температуре окружающей среды (1окр) от +18 до +22 °С включ.), % от диапазона измерений (1) (2) |
|
ЭнИ-300 ТНН |
N |
Profibus (РА) |
от -40 до +1250 |
±0,25; ±0,5; ±1,0 |
|
ЭнИ-300 ТХА |
К |
от-40 до +1250 | ||
|
Примечания: (1) Разность верхнего и нижнего пределов диапазона измерений должна быть: - не менее 400 °С для ТП с пределом допускаемой основной приведенной погрешности ±0,25 %, - не менее 200 °С для ТП с пределом допускаемой основной приведенной погрешности ±0,5 %, - не менее 100 °С для ТП с пределом допускаемой основной приведенной погрешности ±1 %. (2) у ТП с ип типов ЭнИ-300 ТНН, ЭнИ-300 ТХА, имеющих нижний предел измерений температуры свыше плюс 800 °С, погрешность выбирается из приведенной погрешности, определенной при заказе, и абсолютной, равной ±4 °С, в зависимости от того, что больше. | ||||
Таблица 7 - Пределы допускаемой дополнительной приведенной погрешности ТП c ИП
|
Наименование характеристики |
Значение |
|
Пределы допускаемой дополнительной приведенной погрешности ТП с ИП при изменении температуры окружающей среды от нормальных условий (от +18 до +22 °С включ.), % от диапазона измерений на каждые 10 °С, не более - для ТП с пределами допускаемой основной приведенной погрешности ±0,25 %, ±0,3 % |
±0,15 |
|
- для ТП с пределами допускаемой основной приведенной погрешности ±0,4 %, ±0,5 % |
±0,25 |
|
- для ТП с пределами допускаемой основной приведенной погрешности ±1 % |
±0,5 |
Таблица 8 - Основные технические характеристики ТП
|
Наименование характеристики |
Значение |
|
Время термического срабатывания ЧЭ в водной среде (0,4 м/с)то,бз, с, не более |
от 0,35 до 180 |
|
Сопротивление электрической изоляции при температуре от +15 до +35 °С и относительной влажности от 30 до 80 %, при 100 В, МОм, не менее - для проволочных и с ИП - для кабельных |
100 500 |
|
Напряжение питания для ТП с ИП постоянного тока, в зависимости от исполнения ИП, В |
от 9 до 36 |
|
Наименование характеристики |
Значение |
|
Габаритные размеры корпуса ТП |
Согласно НД |
|
Диаметр измерительной вставки, мм |
1,5; 2; 3; 4; 4,5; 5; 6; 7 |
|
Диаметр термоэлектродов проволочного ЧЭ, мм |
0,5; 0,7; 0,81; 1,0; 1,2; 3,0; 3,2 |
|
Длина монтажной части, мм |
от 20 до 100000 |
|
Длина соединительного кабеля ТП, мм |
от 100 до 50000 |
|
Диаметр защитной арматуры, мм |
от 1,5 до 45 |
|
Масса, кг |
от 0,05 до 15,0 |
|
Вид климатического исполнения ТП по ГОСТ 15150-69 |
УХЛ3.1 или У1.1 |
|
Нормальные условия измерений: - температура окружающей среды, °С |
от +18 до +22 включ. |
|
Рабочие условия эксплуатации: - относительная влажность, %, не более - температура окружающей среды, °C - для ТП без ИП - общепромышленное исполнение - взрывозащищенное исполнение - для ТП с ИП - общепромышленное исполнение - взрывозащищенное исполнение - для ТП с ИП с ЖКИ - общепромышленное исполнение - взрывозащищенное исполнение - ТП с удлинительными проводами (без соединительной головки) - общепромышленное исполнение - взрывозащищенное исполнение - ТП с соединительной головкой с обогревом или термочехлом - общепромышленное исполнение - взрывозащищенное исполнение |
98 от -62 до +120 от -62 до +95; от -62 до +85 от -50 до +85 от -50 до +85 от -40 до +85 от -40 до +85; от -40 до +80 от -62 до +180 от -62 до +95; от -62 до +85 от -70 до +85 от -70 до +85; от -70 до +80 |
Таблица 9 - Показатели надежности
|
Условное обозначение НСХ |
Диапазон измерений температуры, °С(1) |
Средний срок службы, лет, не менее(2) |
Средняя наработка до отказа, ч |
|
N |
от-40 до +800 включ. |
10 |
50000 |
|
св. +800 до +1250 |
8 |
45000 | |
|
К |
от -40 до +600 включ. |
10 |
50000 |
|
св. +600 до +1250 |
8 |
45000 | |
|
L |
от -40 до +450 включ. |
10 |
50000 |
|
от +450 до 600 |
8 |
45000 | |
|
J |
от -40 до +600 включ. |
10 |
50000 |
|
от +600 до+750 |
8 |
45000 | |
|
Т |
от -40 до +350 |
10 |
50000 |
|
Условное обозначение НСХ |
Диапазон измерений температуры, °С(1) |
Средний срок службы, лет, не менее(2) |
Средняя наработка до отказа, ч |
|
Примечания: (1) Указаны предельные значения температуры применения. Конкретный диапазон измерений указан в паспорте на СИ. (2) Указан средний срок службы в средах, не разрушающих материал защитной арматуры, материал защитной оболочки ЧЭ. (3) Для многозонных ТП назначенный срок службы 10 лет. | |||
Знак утверждения типа
наносится на маркировочную табличку ТП способом, обеспечивающим долговечность маркировки, и на титульный лист паспорта и руководства по эксплуатации типографским способом.
Комплектность
Таблица 10 - Комплектность ТП
|
Наименование |
Обозначение |
Кол-во |
|
Преобразователь термоэлектрический ЭнИ-300 ТНН, ЭнИ-300 ТХА, ЭнИ-300 ТХК, ЭнИ-300 ТЖК, ЭнИ-300 ТМК |
в соответствии с заказом |
1 шт. |
|
Паспорт |
ББМВ800-00.001 ПС |
1 экз. |
|
Руководство по эксплуатации |
ББМВ800-00.001 РЭ |
1 экз. (1) |
|
Методика поверки |
- | |
|
Комплект монтажных частей |
- |
в соответствии с заказом |
Примечание:
(1) Допускается прилагать 1 экз. на партию ТП при поставке в один адрес
Сведения о методах измерений
приведены в разделе 2 «Использование по назначению» руководства по эксплуатации.
Нормативные документы
ГОСТ Р 52931-2008 Приборы контроля и регулирования технологических процессов. Общие технические условия;
ГОСТ 13384-93 Преобразователи измерительные для термоэлектрических преобразователей и термопреобразователей сопротивления. Общие технические требования и методы испытаний;
ГОСТ 6616-94 Преобразователи термоэлектрические. Общие технические условия;
ГОСТ Р 8.585-2001 ГСИ. Термопары. Номинальные статические характеристики преобразования;
ГОСТ 30232-94 Термопреобразователи с унифицированным выходным сигналом. Общие технические требования;
Приказ Федерального агентства по техническому регулированию и метрологии от 23 декабря 2022 г. № 3253 «Об утверждении Государственной поверочной схемы для средств измерений температуры»;
ТУ 26.51.51-014-59541470-2018 Преобразователи термоэлектрические ЭнИ-300 ТНН, ЭнИ-300 ТХА, ЭнИ-300 ТХК, ЭнИ-300 ТЖК, ЭнИ-300 ТМК и термопреобразователи сопротивления ЭнИ-300 ТСМ, ЭнИ-300 ТСП. Технические условия
Смотрите также




















